

QuickLink Low Voltage Kit Installation Instructions
Smart Direct Mount Downlights: RLDM QL6 and RLDM QL4
PACKAGING CONTENTS

ITEMS REQUIRED (Purchase separately)
- Safety Glasses
- Gloves
- Hole/Drywall Saw
- Wire Strippers
- Flathead Screwdriver
*Refer to the online Quick Start Guide for claiming and setup: support.BringHaloHome.com/SmartLight
OPTIONAL ITEMS
- Drill
- Screws for mounting (if required by local code)
- New Construction Mounting Frames
(4″: HL4RSMF; 6″: HL6RSMF)
IMPORTANT SAFETY INSTRUCTIONS
Read and follow these instructions and heed all warnings, including those on the product. Failure to do so may result in serious bodily injury or property damage When using the product, basic precautions should always be followed, including the following:
- The fixture should be installed by persons with experience in household wiring or by a qualified electrician. The electrical system, and the method of electrically connecting the fixture to it, must be in accordance with the National Electrical Code and local building codes.
- HALO™ recessed luminaires (fixtures) are designed to meet the latest NEC requirements and are certified in full compliance with UL. Before attempting installation of any recessed lighting luminaire checks your local electrical code. This code sets the wiring standards for your locality and should be carefully studied before starting.
- Do not make or alter any open holes in an enclosure of wiring or electrical components during kit installation.
- To prevent wiring damage or abrasion, do not expose wiring to edges of sheet metal or other sharp objects.
- Connect the fixture to a 120 volt, 60 Hz power source. Any other connection voids the warranty.
- WARNING – Risk of fire or electric shock. Install this kit only in luminaires that have the construction features and dimensions shown in the photographs and/or drawings and where the input rating of the retrofit kit does not exceed the input rating of the luminaire.
Risk of Fire – MINIMUM 90°C SUPPLY CONDUCTORS. If uncertain, consult an electrician.
Risk of Electric Shock
To avoid possible electrical shock, be sure that the power supply is turned off at the fuse box or circuit breaker before installing or servicing the luminaire.
Risk of Fire/Electric Shock – LED Retrofit Kit
Installation requires knowledge of luminaires’ electrical systems. If not qualified, do not attempt installation. Contact a qualified electrician. Luminaire wiring and electrical parts may be damaged when drilling for installation of LED retrofit kit. Check for enclosed wiring and components.
CAUTION
Edges may be Sharp Wear gloves while handling.
DIMMING OVERVIEW
HALO Home Smart Lights are designed for wireless dimming only. For best result, install with HALO Home Wireless Controllers like the Accessory Dimmer or Accessory Switch. Can be installed with standard ON/OFF switches but is not recommended due to accidental factory resets. DO NOT use with other manufacturer’s dimmers.
INSTALLATION
These downlights are canless and mount directly to the ceiling. They do not require an additional junction box or recessed housing and are rated for contact with insulation.
- Determine how many downlights (A) will be installed with the Remote Driver Box (max. 70 W)
Fixture Count Model Watts per
DownlightMaximum
DownlightsRLDM 4″ 6.2 W 11 RLDM 6″ 6.2 W 11 - Carefully measure where each fixture will be installed, trace the provided template, and cut openings in the ceiling.

| Hole Saw Sizing | Min to Max |
| RLDM 4″ | 4″ to 4-3/16″ |
| RLDM 6″ | 5-3/4″ to 6″ |
WIRING
- Unlatch the hinge on the Remote Driver (D) to open the cover of the junction box. Remove knockout using a flathead screwdriver, attach a wire clamp, and insert the supply wire(s).

- Connect the ground, white, and black wires from the wiring compartment to the appropriate supply wires using push-in connectors and close the cover.

- Place the Driver Box thru the opening and latch the junction box to the driver box. Mount to structure if required by code.*

- Route the low voltage cable to additional downlight locations. Pull enough slack through each hole to make connecting the fixtures easier. Adhere Power Supply Labels (G) at ~10-foot intervals by folding onto the cable then bundle and store the remaining length in the ceiling.

- Attach the termination cap to the end of the low voltage cable. Use the reusable cable tie to bundle the remaining cable and store it in the ceiling. DO NOT CUT.

- At each fixture, the location attaches the QuickLink Connector (C) to the low voltage cable.
i. Separate the connector by rotating the bottom piece counterclockwise.
ii. Slide the edge of the cable into the slot of the connector’s top. (It does not matter which edge.)
iii. Allowing the fixture to hang freely, align the metal pin on the bottom piece (attached to the light) with the metal insert in the top.
iv. Push together and rotate the bottom piece clockwise onto the top, until secure.
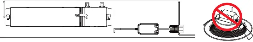
- Push the QuickLink Connector and Bluetooth Module (B) thru the ceiling opening and mount the Bluetooth Module according to local code if required*. Do not place Bluetooth Module or Remote Driver Box on top of the downlight.

*NOTE: If required by local code;
A. Attach Remote Driver box to structure so that it is at least 1/4″ (6 mm) from the Fixture. B. Attach Bluetooth Module to structure so that it is at least 1/4″ (6 mm) from the Fixture and the Remote Driver Box. - Rotate both spring clips upward and insert them through the hole in the ceiling.

- Continue to press the fixture through the cutout in the ceiling until the perimeter flange of the fixture is flush against the ceiling. The springs will rotate back into position and hold the fixture tight. Repeat steps 7-10 for each downlight.

- Using your smartphone/tablet, follow the online Quick Start Guide to pair your fixtures to your HALO Home account. support.BringHaloHome.com/SmartLight Risk of pinching Do not place hands under spring during removal of the LED module.

REMOVAL
- Simply pull down firmly on the fixture until spring clips begin to release from the ceiling.
- Reach through the ceiling to hold springs up and away from the ceiling as you continue to pull the fixture from its opening.
- Disconnect wiring.
CAUTION
Risk of pinching– Do not place hands spring during removal of the LED module.
FACTORY RESET
For factory reset steps visit: support.BringHaloHome.com/SmartLight
FCC STATEMENT
FCC Statement
- This device complies with Part 15 of the FCC Rules. Operation is subject to the following two conditions: ·
- (1) This device may not cause harmful interference.
- (2) This device must accept any interference received, including interference that may cause undesired operation.
Note: The grantee is not responsible for any changes or modifications not expressly
approved by the party responsible for compliance. Such modifications could void the user’s authority to operate the equipment. Note: This equipment has been tested and found to comply with the limits for a Class B digital device, pursuant to part 15 of the FCC Rules. These limits are designed to provide reasonable protection against harmful interference in a residential installation.
- This equipment generates uses and can radiate radio frequency energy and, if not installed and used in accordance with the instructions, may cause harmful interference to radio communications. However, there is no guarantee that interference will not occur in a particular installation. If this equipment does cause harmful interference to radio or television reception, which can be determined by turning the equipment off and on, the user is encouraged to try to correct the interference by one or more of the following measures:
- Reorient or relocate the receiving antenna.
- Increase the separation between the equipment and receiver.
- Connect the equipment into an outlet on a circuit different from that to which the receiver is connected.
- Consult the dealer or an experienced radio/TV technician for help
Supplier’s Declaration of Conformity
47 CFR § 2.1077 Compliance Information
Unique Identifier: 2AKCY-RLQLBLE
Responsible Party U.S. Contact Information
Cooper Lighting Solutions
1121 Highway 74 S
Peachtree City, GA 30269
RF Exposure Statement
- This equipment complies with FCC radiation exposure limits set forth for an uncontrolled environment. This equipment should be installed and operated with a minimum distance of 20 cm between the radiator and your body.
ISED Statement
- This device complies with Industry Canada license-exempt RSS standard(s). Operation is subject to the following two conditions: (1) this device may not cause harmful interference, and (2) this device must accept any interference received, including interference that may cause undesired operation.
ICES Statement
- This device complies with ISED ICES Standard Canada ICES-005(B) / NMB-005(B). ISED 20cm RF.
- This equipment complies with ISED radiation exposure limits set forth for an uncontrolled environment.
- This equipment should be installed and operated with a minimum distance of 20 cm between the radiator and your body.
- Do not make or alter any open holes in an enclosure of wiring or electrical components during kit installation.
4in FCC ID: 2AKCY-RLQLBLE
4in IC: 4706A-RLQLBLE
6in FCC ID: 2AKCY-RLQLBLE
6in IC: 4706A-RLQLBLE
IC Code – 4706A-RLQLBLE
SAVE THESE INSTRUCTIONS AND WARNINGS.
3-YEAR WARRANTY
THE FOLLOWING WARRANTY IS EXCLUSIVE AND IN LIEU OF ALL OTHER WARRANTIES, WHETHER EXPRESS, IMPLIED OR STATUTORY INCLUDING, BUT NOT LIMITED TO, ANY WARRANTY OF MERCHANTABILITY OR FITNESS FOR ANY PARTICULAR PURPOSE.
Cooper Lighting Solutions warrants to customers that, for a period of THREE years from the date of purchase, Cooper Lighting Solutions products will be free from defects in materials and workmanship. The obligation of Cooper Lighting Solutions under this warranty is expressly limited to the provision of replacement products. This warranty is extended only to the original purchaser of the product. A purchaser’s receipt or other proof of original purchase acceptable to Cooper Lighting Solutions is required before warranty performance will be rendered.
This warranty does not apply to Cooper Lighting Solutions products that have been altered or repaired or that have been subjected to neglect, abuse, misuse, or accident (including shipping damages). This warranty does not apply to products not manufactured by Cooper Lighting Solutions which have been supplied, installed, and/or used in conjunction with Cooper Lighting Solutions products. Damage to the product caused by replacement bulbs or corrosion or discoloration of brass components is not covered by this warranty.
LIMITATION OF LIABILITY:
IN NO EVENT SHALL Cooper Lighting Solutions BE LIABLE FOR SPECIAL, INDIRECT, INCIDENTAL, OR CONSEQUENTIAL DAMAGES (REGARDLESS OF THE FORM OF ACTION, WHETHER IN CONTRACT, STRICT LIABILITY, OR IN TORT INCLUDING NEGLIGENCE), NOR FOR LOST PROFITS; NOR SHALL THE LIABILITY OF Cooper Lighting Solutions FOR ANY CLAIMS OR DAMAGE ARISING OUT OF OR CONNECTED WITH THESE TERMS OR THE MANUFACTURE, SALE, DELIVERY, USE, MAINTENANCE, REPAIR OR MODIFICATION OF Cooper Lighting Solutions PRODUCTS, OR SUPPLY OF ANY REPLACEMENT PARTS, THEREFORE, EXCEED THE PURCHASE PRICE OF Cooper Lighting Solutions PRODUCTS GIVING RISE TO A CLAIM. NO LABOR CHARGES WILL BE ACCEPTED TO REMOVE OR INSTALL FIXTURES.
All returned products must be accompanied by a Return Goods Authorization Number issued by the Company and must be returned freight prepaid. Any product received without a Return Goods Authorization Number from the Company will be refused.
Cooper Lighting Solutions is not responsible for merchandise damaged in transit. Repaired or replaced products shall be subject to the terms of this warranty and are inspected when packed. Evident or concealed damage that is made in transit should be reported at once to the carrier making the delivery and a claim filed with them. Do not use with any other manufacturer’s dimmers.
Reproductions of this document without the prior written approval of Cooper Lighting Solutions are strictly prohibited.
For more information visit: cooperlighting.com/legal

Cooper Lighting Solutions
1121 Highway 74 South Peachtree City,
GA 30269 P: 770-486-4800
www.cooperlighting.com
© 2021 Cooper Lighting Solutions
All Rights Reserved.
6SHFLFDWLRQV and dimensions are subject to change without notice.
IL518129ML
May 26, 2021 3:11 PM


























