
DLE Edge Lit Surface Mount LED Downlight
INSTALLATION INSTRUCTIONS
Models: DLE43120SRDWH, DLE63120SRDWH
DLE63120SRDWH DLE Edge Lit Surface Mount LED Downlight
WARNING:
- Risk of electric shock. Disconnect power at fuse or circuit breaker before installing or servicing.
- To prevent early lamp failure, lamp should only be installed in operating environments between -20°C and + 40°C (104°F and -4°F)
- No user serviceable parts inside. To avoid electric shock, do not disassemble product.
- This product is not intended for use in emergency light fixtures or exit signs.
- Risk of fire or electrical shock. Install this kit only in luminaires that have the construction features and dimensions shown in the photographs and/or drawings.
- To prevent wiring damage or abrasion, do not expose wiring to edges of sheet metal or other sharp object
ATTENTION:
- Turn power off before inspection, installation, or removal.
- Suitable for use in dry, damp, or wet indoor and outdoor locations. Use only on 120 VAC, 60Hz circuits.
What’s In The Box

Tools & Materials Needed
This LED Recessed Downlight requires very few tools for installation. A drill or a screwdriver and a pair of wire cutters and appropriate fasteners for mounting surface

Optional Accessories

*Accessories not included, not required for installation.
General Steps
- Turn off power to appropriate circuit at the breaker box.

- Identify location for installation and cut hole in ceiling per the following table:
DLE4-RD: 4.25″ (108mm) diameter DLE6-RD: 6.50″ (165mm) diameter
Alternate: Install Rough in Plate to ceiling joist at desired location using appropriate fasteners (not provided). Install drywall to ceiling using appropriate fasteners (not provided) and cut out Rough in Plate opening.
- Open driver cover, remove knock-out, feed wires through knock-out and make wiring connections as show in wiring diagram, then close driver cover.

- For Colored Trim:
Place trim over downlight and bend down metal tabs to secure trim to downlight.
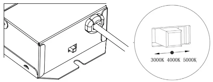
- To Set CCT: Slide switch on end of Junction Box to desired Color Temperature.

- Connect driver wire to DLE wire, ensuring the connectors are properly aligned and fully screwed down.
If using extension cables, insert cable between driver and DLE ensuring the connectors are properly aligned and fully screwed down. - Place driver box into ceiling.
(Optional: Mount using mounting tabs and screws)
- Push up spring arms on side of fixture, lift into ceiling, and release spring-arms.

- Turn on power and ensure fixture is lit.
LED EXPRESS LIMITED WARRANTY
Subject to the exclusions below, each NICOR LED product, including the LED electronics and components of a property-installed NICOR LED product, will be free from defect in materials and workmanship for a period of five (5) years from the original date of purchase. The product shall be considered defective only if 10% or more of the product’s LED components fail. NICOR LED product warranty covers the following performance criteria: LED Light Output will be maintained above 70% of initial output; LED color temperature will not shift more than 200K in CCT; LED driver will operate within NICOR specifications; and the fixture finish, excluding natural aluminum or brass products, will not exhibit cracking, peeling, excessive fading, or corrosion during the warranty period. Exceptions apply as defined in NICOR’s product specification sheets, which are incorporated by reference herein.
This limited warranty is provided to you, the purchaser of the product identified on Seller’s invoice, as your exclusive remedy and applies only to NICOR products that have been purchased from an authorized NICOR Distributor; the product was new and in an unopened NICOR package at the time of installation; and the NICOR product was installed by a licensed electrician or under the supervision of a licensed electrician and used by consumers in the United States or Canada when accompanied with this warranty. This warranty extends only to the first consumer purchaser and is not transferable. A consumer wishing to invoke the terms of this limited warranty must first obtain a RGA number within 30 days of discovery of the defect, and return the product to NICOR for inspection. Once verified to be covered by this limited warranty, NICOR will, at its sole discretion, repair, replace, or refund the purchase price of any product that does not conform to this limited warranty. If NICOR, at its sole discretion, determines that the product should be repaired or replaced, this warranty is limited to the reasonable, customary, and necessary costs and expenses associated with the repair/replacement.
This warranty requires that all repair/replacement estimates and costs, including but not limited to equipment rental (if any), and any other cost or expense to be incurred in the repair/replacement of the product, be approved in advance and in writing by NICOR.
FAILURE TO OBTAIN NICOR’S ADVANCE WRITTEN APPROVAL OF ALL REPAIR/REPLACEMENT COSTS AND EXPENSES IN WRITING SHALL VOID THIS LIMITED WARRANTY.
THIS LIMITED WARRANTY DOES NOT COVER THE FOLLOWING:
- Defects or damages resulting from improper installation, operation, storage, misuse or abuse, accident, or neglect;
- Defects or damages resulting from improper service, testing, adjustment, installation, maintenance, alteration, connection to out-of-specification electrical service, corrosive or damp environments, or connection to incompatible equipment or devices (e.g., connecting non-dimmable lighting products to dimmers);
- Damage which occurs in transit;
- Power surges or overheating due to external conditions
- Acts of nature including but not limited to lightning strikes
ANY IMPLIED WARRANTIES, INCLUDING WITHOUT LIMITATION, THE IMPLIED WARRANTIES OF MERCHANTABILITY AND FITNESS FOR A PARTICULAR PURPOSE SHALL BE LIMITED TO THE DURATION OF THIS LIMITED WARRANTY, OTHERWISE THE REPAIR, REPLACEMENT, OR REFUND AS PROVIDED UNDER THIS EXPRESS LIMITED WARRANTY IS THE EXCLUSIVE REMEDY OF THE CONSUMER, AND IS PROVIDED IN LIEU OF ALL OTHER WARRANTIES, EXPRESS OR IMPLIED. IN NO EVENT SHALL NICOR BE LIABLE, WHETHER IN CONTRACT OR IN TORT (INCLUDING NEGLIGENCE) FOR DAMAGES IN EXCESS OF THE PURCHASE PRICE OF THE PRODUCT, OR FOR ANY INDIRECT, INCIDENTAL, SPECIAL OR CONSEQUENTIAL DAMAGES OF ANY KIND, OR LOSS OF REVENUE OR PROFITS, LOSS OF BUSINESS OR OTHER FINANCIAL LOSS ARISING OUT OF OR IN CONNECTION WITH THE ABILITY OR INABILITY TO USE THE PRODUCT TO THE FULL EXTENT THESE DAMAGES MAY BE DISCLAIMED BY LAW.
This device complies with part 15 of the FCC Rules. Operation is subject to the following two conditions: (1) This device may not cause harmful interference, and (2) this device must accept any interference received, including interference that may cause undesired operation.
NOTE: This equipment has been tested and found to comply with the limits for a Class B digital device, pursuant to part 15 of the FCC Rules. These limits are designed to provide reasonable protection against harmful interference in a residential installation. This equipment generates, uses, and can radiate radio frequency energy and, if not installed and used in accordance with the instructions, may cause harmful interference to radio communications. However, there is no guarantee that interference will not occur in a particular installation. If this equipment does cause harmful interference to radio or television reception, which can be determined by turning the equipment off and on, the user is encouraged to try to correct the interference by one or more of the following measures:
- Reorient or relocate the receiving antenna.
- Increase the separation between the equipment and receiver.
- Connect the equipment into an outlet on a circuit different from that to which the receiver is connected.
- Consult the dealer or an experienced radio/TV technician for help.
THANK YOU
FOR YOUR PURCHASE
SHARE YOUR EXPERIENCE WITH US
SCAN the QR or visit www.nicorlighting.com/support/survey
FOLLOW US ![]()
NICOR, Inc. 2200 Midtown Place NE, Albuquerque, NM 87107 P: 800.821.6283 F: 800.892.8393 www.nicorlighting.com April 19, 2019 11:02 AM





If using extension cables, insert cable between driver and DLE ensuring the connectors are properly aligned and fully screwed down.




















