COOPER Lighting IB517071ML PR6 LED Retrofit

PR6 LED Retrofit Rough-in Section
(2) Spring clips
PR6M12x Low Lumen LED module
(packaged separately)
PR6M24x High Lumen LED module
(packaged separately)
IMPORTANT SAFETY INSTRUCTIONS
When using product, basic precautions should always be followed, including the following:
- Heed all warnings, including below warnings AND those included on product.
- HALO Commercial PR6 LED retrofits are designed to meet the latest NEC requirements. Before attempting installation of any recessed luminaire retrofit check your local electrical code. This code sets the wiring standards for your locality and should be carefully studied before starting.
WARNING:
- Read and follow these instructions.
Risk of Fire – MINIMUM 90°C SUPPLY CONDUCTORS. If uncertain, consult an electrician.
Risk of Electric Shock – To avoid possible electrical shock, be sure that power supply is turned off at fuse box or circuit breaker before installing or servicing luminaire.
Risk of Fire/Electric Shock -Please consult an electrician for installation if uncertain of luminaire electrical systems.
CAUTION:
Edges may be Sharp – Wear gloves while handling.
- Connect luminaire to a compatible AC power source. (Retrofit is universal voltage 120V-277V, 50- 60Hz.) Any other connection voids the warranty.
- This device complies with Part 15 of the FCC Rules. Operation is subject to the following two conditions:
- This device may not cause harmful interference, and
- This device must accept any interference received, including interference that may cause undesired operation.
SAVE THESE INSTRUCTIONS AND WARNINGS.
Retrofit Installation Instruction
To avoid possible electrical shock, be sure that power supply is turned off at fuse box or circuit breaker before installing or servicing fixture.
- Remove existing trim and lamp.

- Locate existing plaster frame/housing junction box (J-box) and remove the ballast /J-Box cover.
Note: Ballast exists only for CFL and HID housing. Disconnect connections to insulation detector if any. For CFL and HID housings, disconnect “line”, “common” and “ground” wires from ballast. Disconnect all red, blue and yellow wires to the socket cup from the ballast (Wire colors may vary). Ensure all the connections to the ballast are disconnected. For Incandescent fixture, disconnect “line”, “common” and “ground” wires to the socket cup. Ensure all connections to the socket cup are disconnected.
- Insert LED Retrofit rough-in section through ceiling cut-out figure 3.

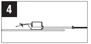
- It is recommended that the LED Retrofit rough-in section rest as shown on ceiling figure 4.

- In the existing plaster frame/housing jbox, remove appropriate round knock-out and attach supplied conduit whip connector into the existing housing / plaster frame junction box via knockout. Ensure the connector is fully inserted. Only those open holes indicated in the photographs and/or drawings may be made or altered as a result of kit installation. Do not leave any other open holes in an enclosure of wiring or electrical components. Do not make or alter any open holes in an enclosure of wiring or electrical components during kit installation. Connect white to white; black to black (in existing jbox box). Be sure no bare current carrying wire is exposed. Refer to the wiring diagram (figure 5 and 5A.) Ensure junction box cover is closed completely.

Wiring Diagram 1
* Constructions built before Jan 2022 may have gray wire for 0-10 dimming control present. In these cases, the installer will label the gray building wire as a 0-10 dimming wire and connect to our product’s pink 0-10V dimming control wire. Reference NFPA70 (2020 NEC), section 410.69.
Wiring Diagram 2




- Ceiling Thickness: The retrofit can be adapted to various ceiling thicknesses and plaster frame/housing heights by using the different slot locations for the mounting springs (figure 7.) PR6 ships with mounting springs in the lower slots to accommodate ceiling thickness up to 1.2”. No modifications are required for ceilings/plaster frame up to 1.2”. Modifications will be required for ceiling/plaster frame thickness greater than 1.2”. Remove the mounting springs (two places) by pushing it to the side. For ceiling thickness greater than 1.2” and less than 2” assemble the springs in the top slot (figure 6 & 7.)
- Unscrew and remove (4) Mounting screws and (2) torsion spring brackets (figure 8).


- Reuse screws from torsion spring bracket and additional #8-32 screws to install (2) Retrofit spring clips (figure 9 and 9A).
- Centering Tabs: To prevent the movement of the retrofit ring in larger housing / plaster frame opening, using a flat head screw driver pull (as necessary) out the pry out tab as shown in the figure 9A. Adjust all two tabs to center the module in the plaster frame.
SELECTABLE COLOR TEMPERATURE
Two switches down One switch up / one switch down Two switches up
SELECTABLE LUMENS
Two switches down One switch up / one switch down Two switches up
- Select desired correlated color temperature (CCT) on LED module if applicable (figures 11 to 13). And select desire lumen package (fig. 14 to 16). For dedicated CCT only selectable CCT toggle switches are available in the LED boards.*

HOUSING COMPATIBILITY
PR6Rx is designed to fit in housing openings 5-3/4” to 7-1/2” diameter and up to 7-5/8” ceiling cutout with an existing housing frame. Add OT400P accessory trim ring – sold separately (figure 10).
| Manufacturer | Brand | Series Open Frame Models Only | Ceiling Cut Out Aperture | Oversize Ring (Order Separately) |
| Cooper Lighting Solutions | Halo | H880 | 7.65” (7-5/8”) | OT400P |
| Cooper Lighting Solutions | Halo | H800 / H802 / H803 | 7.375” (7-3/8”) | OT400P |
| Cooper Lighting Solutions | Halo | M700T, H600T | 7.00” (7-0”) | |
| Cooper Lighting Solutions | PDS | PD6 (Not current Halo Commercial PD6) | 6.25” (6-1/4”) | |
| Cooper Lighting Solutions | Portfolio | C6, MD6, H760, HD6, LD6 | 6.375” (6-3/8”) | |
| Acuity Brands® | Gotham® | AF6, LG6 | 7.125” (7-1/8”) | |
| Acuity Brands® | Lithonia Lighting® | LF6N, LP6N, 6HF, 6VF, 6VI | 7.00” (7-0”) | |
| Acuity Brands® (Juno®) | Elate™ | A6, P6, C6, M6 | 6.875” (6-7/8”) | |
| Acuity Brands® | Juno® | CV6, CH6, M6, MX6, TC906 | 6.875” (6-7/8”) | |
| Signify N.V. | Lightolier® Lytecaster | 1102P1, 1102F1, 1102FH*, 1100FT, 1102D1, 1102DH*, 1102T*, 1102HF | 6.8125” (6-13/16”) | |
| Signify N.V. | Lightolier® Calculite | B600, S6132B, C670MH, 6213H, 6218H, C639M, C670M, C610M, C639T, C670T, C615T | 6.5625” (6-9/16”) | |
| Signify N.V. | Omega Lighting | OM6 | 6.625” (6-5/8”) | |
| Signify N.V. | Capri Llighting | CM6 | 6.75” (6-3/4”) | |
| Hubbell® | Prescolite® – Architecktur | CFT6, CFR6, CFCB6, CFQ6, INC600 | 6.25” (6-1/4”) | |
| Hubbell® | Prescolite® – Architecktur | RHD6 | 6.31” (6-5/16”) | |
| Hubbell® | Prescolite® – LiteFrame™ | LF6 | 6.25” (6-1/4”) |
DIMMING
The Halo Commercial PR6 LED luminaire can be dimmed using 0-10V analog dimming controls.
Updates in dimmer technology and special considerations may apply depending on the dimmer type being used (see Wiring Diagram
Fig.5.) For the latest information regarding dimmers for use with this LED luminaire, please see the Halo Commercial PR6 LED
Dimming Reference Sheet at www.cooperlighting.com. In addition, you may wish to consult the dimmer manufacturer for their latest dimmer configurations and product information.
Warranties and Limitation of Liability
Please refer to www.cooperlighting.com/legal for our terms and conditions.
FCC Statement
Note: This equipment has been tested and found to comply with the limits for a Class A digital device, pursuant to part 15 of the FCC Rules. These limits are designed to provide reasonable protection against harmful interference when the equipment is operated in a commercial environment. This equipment generates, uses, and can radiate radio frequency energy and, if not installed and used in accordance with the instruction manual, may cause harmful interference to radio communications. Operation of this equipment in a residential area is likely to cause harmful interference in which case the user will be required to correct the interference at his own expense.
- Reorient or relocate the receiving antenna.
- Increase the separation between the equipment and receiver.
- Connect the equipment into an outlet on a circuit different from that to which the receiver is connected.
- Consult the dealer or an experienced radio/TV technician for help.
- This device complies with Part 15 of the FCC Rules. Operation is subject to the following two conditions:
- This device may not cause harmful interference, and
- his device must accept any interference received, including interference that may cause undesired operation.
- This device complies with ISED ICES Standard Canada ICES-005(B) / NMB-005(B) or ICES-005(A) / NMB-005(A) depending on driver selected.
Any changes or modifications to this unit not expressly approved by the party responsible for compliance could void the user’s authority to operate the equipment.
Cooper Lighting Solutions
1121 Highway 74 South Peachtree City, GA 30269
P: 770-486-4800
www.cooperlighting.com
Canada Sales
5925 McLaughlin Road Mississauga, Ontario L5R 1B8 P: 905-501-3000
F: 905-501-3172
© 2021 Cooper Lighting Solutions All Rights Reserved
Printed in China
Publication No. IB517071ML
Cooper Lighting Solutions is a registered trademark.
All trademarks are property of their respective owners.
























