FIAMMA 98655-849 LED Lighting Kit

OVERVIEW

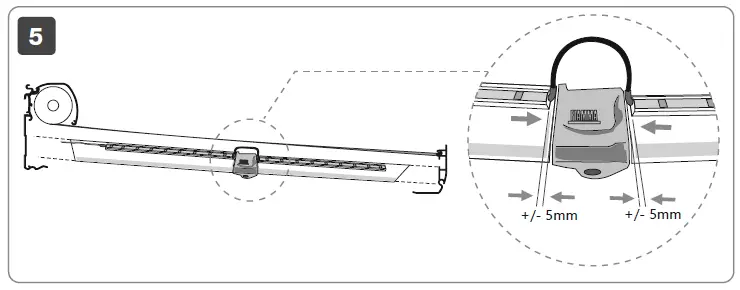
Package contents
Check that nothing has been damaged or deformed during transport. In the event of doubts or questions concerning the installation, use or limitations of the product, contact the dealer. We recommend that the installation is carried out by qualifi ed personnel and in compliance with current local regulations.








Read the following instructions and warnings carefully; failure to observe these installation and usage instructions as well as the laws for driving in the relevant country may cause severe harm or damage for which the manufacturer declines all responsibility. The product has been designed and manufactured exclusively for the illumination of recreational vehicles, is not suitable for the illumination of home environments. For safety reasons, it is advisable to always disconnect the negative terminal from the batteries on the vehicle and then work without power during installation. It is suggested to connect the power cable to the fuse box or to the terminal board and not directly to the battery. Use the correct fuse for connection to the vehicle power supply according to EN 1648-1 and EN 1648-2. Installing an oversized fuse can cause overheating which can result in a short circuit or malfunction of the entire electrical equipment. Choose the safest and shortest installation for the power cable. Reduce the length of the power cable as necessary. Use only cable clamps suitable for the diameter of the power cable for connection to the terminal board. If incorrect terminals are used, this could cause a voltage drop and increase the formation of heat on the terminal. It is strictly forbidden to go around with the LED lights on; connect the power supply in order to inhibit current fl ow while the vehicle is running. We do not recommend prolonged periods of viewing at close proximity of the LED strip. The manufacturer will not be held responsible for claims for damages resulting from the following:
- Defective installation or connection of the product.
- Damage to the product caused by mechanical infl uences and overvoltage.
- Alterations on the device without the express authorization of the manufacturer.
EU Declaration of Conformity (DoC)
We,
- Company name: Fiamma S.p.A.
- Postal address: Via San Rocco, 56
- Postcode and city: Cardano al Campo – (Varese)
- Telephone number: 0311/709111
- E-mail address: [email protected]
- Declare that the DoC is issued under our sole responsibility and belongs to the following product:
- Apparatus model Lighting systems
- Product: Trademark: Fiamma
- Model Type:
- 98655-850 Rafter Led
- 98655-902 Rafter Led Caravanstore
- 98655-914 Led Awning Case
- 98655-915 Kit ALed wning Case 50
- 98655-848 Led Awning Light
- 98655-883 Led Gar Lage light
- 98655A884 Led Sensor Do Lior got
- 98655-607 Led Awning Ligh Guttter
- 98655-849 Aw Awning Led
- 98655-886 Led Step
- 98655-471 Kit Awning Led
- 98655Z040 Kit SLed t Arip Awning
- 98655Z051 Kit SLed t Arip Awning
- 98655-885 Kit SLed t Arip and Brightness Led Warn Solar
- 98655Z098 Kit Led F65 Eagle
- 98655Z099 Kit Led F45 Eagle
The object of the declaration described above is in conformity with the relevant Union harmonisation legislation:
- 2014/30/EU Electro Magnetic Compatibility Directive (EMCD).
- 2014/35/EU Low Voltage Directive (LVD).
- 2011/65/EU Restriction of the use of certain hazardous substances Directive (RoHS Directive).
- 2012/1194EU Implementing Directive 2009/125/EC of the European Parliament and of the Council with regard to ecodesign requirements for directional lamps, light emitting diode lamps and related equipment.
- 2012/874/EU Supplementing Directive 2010/30/EU of the European Parliament and of the Council with regard to energy labelling of electrical lamps and luminaires.
- EN 60529 (1991) + A1 (2000) The IP code or Ingress Protection ratings are defined in international standard (IP grade 44)
- IEC 62471:2006 Photobiological safety of lamps and lamp systems.
The following harmonised standards and/or technical specifications have been applied
Warranty Fiamma
In case of defects with regards to materials and manufacturing, the customer is entitled to the warranty in accordance with local laws and regulations of the country in which the product was purchased.




















