COOPERS Lighting Solutions IB51827922 LED Panel

Packaging Contents
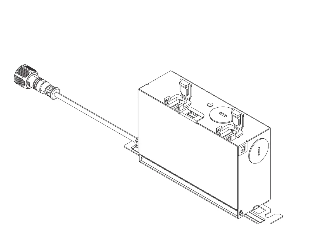
A. Packaging Contents

B. J-Box, selectable

C. J-Box, CCT selectable & Lumen selectable

CCT Selector Switch (D2W, 2700K, 3000K, 3500K, 4000K & 5000K)
Choose your favorite correlated color temperature (CCT) from 6 options using the switch

Lumens Selector Switch 600 &900 lumens for RL4-DM & 900/1200 lumens for RL6-DM
Choose your lumen option as per your requirement from 2 options using the switch.
Dim to Warm (D2W) Selector Switch (3000K-1800K)
Choose your favorite correlated color temperature (CCT) using the switch. Use compatible Dimmer to operate D2W functionality
ITEMS REQUIRED
(Purchase separately)
- Gloves
- Ladder
- Hole Saw
- Safety Glasses
IMPORTANT SAFETY INSTRUCTIONS
Read and follow these instructions and heed all warnings, including those on the product. Failure to do so may result in serious bodily injury or property damage.
When using product, basic precautions should always be followed, including the following:
- Read and follow these instructions.
- HALO® recessed luminaires (fixtures) are designed to meet the latest NEC requirements and are certified in full compliance with UL. Before attempting installation of any recessed lighting luminaire check your local electrical code. This code sets the wiring standards for your locality and should be carefully studied before starting.
- SAVE THESE INSTRUCTIONS AND WARNINGS.
![]()
Risk of Fire – MINIMUM 90°C SUPPLY CONDUCTORS. If uncertain, consult an electrician.
Risk of Electric Shock – To avoid possible electrical shock, be sure that power supply is turned off at fuse box or circuit breaker before installing or servicing luminaire.
Risk of Fire/Electric Shock
– LED DM fixture installation requires knowledge of luminaires electrical systems. If not qualified, do not attempt installation. Contact a qualified electrician. Luminaire wiring and electrical parts may be damaged when drilling for installation of LED DM fixture. Check for enclosed wiring and components.
- To prevent wiring damage or abrasion, do not expose wiring to edges of sheet metal or other sharp objects.
![]()
Edges may be Sharp – Wear gloves while handling.
- Connect fixture to a 120 volt, 60 Hz power source. Any other connection voids the warranty.
- Fixture should be installed by persons with experience in household wiring or by a qualified electrician. The electrical system, and the method of electrically connecting the fixture to it, must be in accordance with the National Electrical Code and local building codes.
- This device is not intended for use with emergency exits.
DIMMING
Halo RLDM is designed for dimming with many 120V Leading Edge (LE) and Trailing Edge (TE) phase control dimmers. Dimming capability may be enhanced with select dimmers that feature low end trim adjustment. (Consult dimmer manufacturer for specific load compatibility and application information. Note some dimmers require a neutral in the wallbox.) For the latest Halo RLDM product information, please refer to specifications online at www.cooperlighting.com
DETERMINING WHICH INSTALLATION METHOD TO USE
The RLDM models can be installed directly into a ceiling without requiring separate JBOX or recessed housings.
![]()
Risk of Electric Shock – To avoid possible electrical shock, be sure that power supply is turned off at fuse box or circuit breaker before installing or servicing luminaire.
WIRING
- Cut an opening in the ceiling by using the provided template to trace the module opening (see Figure 1). Make sure the opening is not larger than the outer flange of the LED module.

- Open the cover of the provided j box and insert the supply wires through the preferred strain reliefs in the provided j box (Figure 3). Make a 90° L shaped bend in the cable inside the box immediately after the plastic wire trap (Figure 4). Connect the bare copper (ground) wire from the box to the ground wire of the supply connection using the provided wire nut.


- Connect the black/white leads from the output of the driver to the appropriate supply side wiring using the provided wire nuts.
- Close the cover after properly securing the supply wire to the provided jbox on the rear of the LED module.
- Use the CCT selector switch to select the desired color temperature. Use the Lumen selector switch (depending upon model) to select the desired lumen level.
- Module is ready to install into ceiling. (See MOUNTING section for specific instructions).
MOUNTING
- Connect the remote driver box to the light fixture. (Figure 2)

- Place remote driver box thru the cut-out hole and mount according to local code as required.
- Bundle any excess wire and place into ceiling above the module according to local code as required.
- Rotate both mousetrap springs upward to allow passage through the cutout in the ceiling (Figure 5).

- Continue to press the module through the cutout in the ceiling until the perimeter flange of the module is flush against the ceiling.
- The springs will rotate back into position and hold the LED module tight to the ceiling.
![]()
Do not place hands under springs during removal of the LED module.
REMOVAL
- Simply pull down firmly on LED module until mousetrap springs release from the ceiling. Reach through the ceiling to hold mousetrap springs up and away from the ceiling as you continue to pull the module from it’s opening.
- Disconnect wiring.
5-YEAR LIMITED WARRANTY
Limited warranty for five years, based on up to 6 hours of usage per day. Additional terms and conditions apply. For more details, please visit:

www.cooperlighting.com/warranty
FCC Statement
Note: This equipment has been tested and found to comply with the limits for a Class B digital device, pursuant to part 15 of the FCC Rules. These limits are designed to provide reasonable protection against harmful interference in a residential installation. This equipment generates uses and can radiate radio frequency energy and, if not installed and used in accordance with the instructions, may cause harmful interference to radio communications. However, there is no guarantee that interference will not occur in a particular installation. If this equipment does cause harmful interference to radio or television reception, which can be determined by turning the equipment off an on, the user is encouraged to try to correct the interference by one or more of the following measures:
- Reorient or relocate the receiving antenna.
- Increase the separation between the equipment and receiver.
- Connect the equipment into an outlet on a circuit different from that to which the receiver is connected.
- Consult the dealer or an experienced radio/TV technician for help.
Any changes or modifications to this unit not expressly approved by the party responsible for compliance could void the user’s authority to operate the equipment.
- This device complies with Part 15 of the FCC Rules. Operation is subject to the following two conditions: (1) this device may not cause harmful interference, and (2) this device must accept any interference received, including interference that may cause undesired operation.
This device complies with ISED ICES Standard Canada ICES-005(B) / NMB-005 (B).
RLDM4 and RLDM6 Round Ceiling Templates

RLDM-4 – round cutout
RLDM-6 – round cutout
CUSTOMER SUPPORT
Cooper Lighting Solutions is a registered trademark. All trademarks are property of their respective owners.
© 2022 Cooper Lighting Solutions
All Rights Reserved
Printed in China
Imprimé en Chine
Impreso en China
Publication No. IB51827922
Cooper Lighting Solutions
1121 Highway 74 South
Peachtree City, GA 30269
P: 770-486-4800
www.cooperlighting.com
Canada Sales
5925 McLaughlin Road
Mississauga, Ontario L5R 1B8
P: 905-501-3000
F: 905-501-3172

























