
The Genuine. The Original.
41506.00XXX, 06/2021
UNIVERSAL REMOTE
INSTRUCTIONS
NOT FOR USE WITH ANY GARAGE DOOR OPENER MANUFACTURED PRIOR TO 1993.
SAFETY BEAMS (PHOTOCELLS) MUST BE IN PLACE AND OPERATIONAL.
MOVING DOORS CAN CAUSE SERIOUS INJURY OR DEATH.
| |
THINGS TO KNOW BEFORE STARTING:
- During programming, the garage door opener may operate. Ensure that the garage door opening is clear of personnel or any obstructions.
- Do not press the LEARN button for longer than the noted 2-3 seconds as it could cause your existing, operational remotes and keypads to no longer work.
Below are the brands and specifications that this remote is compatible with and the available methods that can be used to program them. Review Chart A for compatibility and method, then proceed to STEP 1.
Chart A
| AVAILABLE PROGRAM METHOD | LEARN METHOD ID# | |
| Brand Name | Specification Notes | Number of Button Presses (Mel |
| Genie’ | 315/390 MHz, Intellicode° 1,1995-current | 1 |
| Overhead Door° | 315/390 MHz, CodeDodger° 1,1995-current | 1 |
| Chamberlain° LiftMaster CraftsMan° | Purple Learn Button, Security 4-“, 2006-2014, 315 MHz | 2 |
| Orange/Red Learn Button, Security +a, 1996-2005, 390 MHz | 3 | |
| Yellow Learn Button, Security +2.0°, 2011-current, 390 MHz | 4 | |
| Green Learn Button, Billion Code”, 1993-1995, 390 MHz | 5 | |
| Genie° | 315/390 MHz, Intellicode° II, 2010-2011 | 6 |
| Overhead Door° | 315/390 MHz, CodeDodger° II, 2010-2011 | 6 |
| Sommer° | 310 MHz, Rolling Code | 7 |
| Li near° | 318 MHz, Mega Code’ | 8 |
| Wayne Dalton’ | 372.5 MHz, Rolling Code, 1999-current | 9 |
| Ryobi | 372.5 MHz, Rolling Code | 10 |
| Guardian° | 303 MHz, Fixed Learn Code | 11 |
| Xtreme brand | 303 MHz, Fixed Learn Code | 11 |
| Marantec° | 315 MHz, Fixed Learn Code | 12 |
| *Chamberlain’ | 390 MHz, 9 Switch/3 Position Dip Switch | For these dip switch instructions, visit www.overhead door.com• |
| *Stanley’ | 310 MHz, 10 Switch/2 position Dip Switch | |
| *Genie° | 390 MHz, 9 & 12 Switch/2 Position Dip Switch, 1993-1995 | |
| *Overhead Door | 390 MHz, 9 Switch/3 Position Dip Switch, 1993-1995 | |
*For instructions on these Overhead Door® specifications, visit www.overheaddoor.com/documents/universalremote-dip-switches.pdf
Overhead Door® and CodeDodger® are registered trademarks of Overhead Door Corporation. All other listed names and trademarks are the property of their respective owners.
NOTE: During programming, the garage door opener will operate. Ensure that the garage door opening is clear of personnel or any obstructions.
- Locate the brand and opener/receiver specifications for your device by consulting the label on the opener/receiver, the instruction manual, the current remote controls for the opener, or the original manufacturer of the opener/receiver.
- Find the LEARN/PROG button on your device – the shape, color, or name of this button could vary by brand.
For garage door openers, be sure to check under the light covers. For commercial or gate openers, this button may be on the circuit board of the opener. In some cases, this button could also be on an external receiver that is mounted on or nearby the product. Consult the device’s manual if needed.
*For Marantec® openers, reference operator manual to program remotes to the operator’s head.
LED – The LED will light with each button press and will also light in response to button presses during different programming modes.
Activation Tab: Pull tab to activate the remote.
STEP 3 – PROGRAMMING REMOTE
Review Chart A to find your specifications and available programming options. Each button can be programmed individually to operate up to 4 different brands of garage door openers and gate receivers
LEARN METHOD
- Find and remember the required number of button presses (ID#) in the LEARN METHOD column next to your brands/specifications in Chart A.
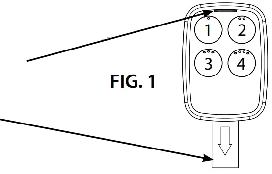
IMPORTANT: For ID#4 Chamberlain®/LiftMaster®/Craftsman® Yellow Learn Button ONLY – move immediately to instructions at right. For all other ID#s, proceed below. - On remote, press and hold down button #2. (Reference FIG. 1)
- While still holding down button #2, press button #4 on the remote four times.
- Release both buttons – BLUE LED will begin flashing.
- On remote, press the button of your choice the required number of times from Step 1. You will have 15 seconds to complete this task.
- Wait the remainder of the 15 seconds – BLUE LED will give a long blink and then go out.
- On the opener, press LEARN/PROGRAM button for 2-3 seconds and then release.
- Press and release button you just programmed once every 2 seconds until the garage door opener operates.
- Test the button – programming is complete.
TIP: Allow the LED light on the universal transmitter to stop flashing before your next button press.
LEARN METHOD (RECOMMENDED)
- On remote, press and hold down button #2. (Reference FIG. 1)
- While still holding down button #2, press button #4 on the remote four times.
- Release both buttons – BLUE LED will begin flashing.
- On remote, press button of your choice four times – wait remainder of 15 seconds – BLUE LED gives long blink and goes out.
- Press and hold down the same button you chose for 5 seconds – release the button after WHITE LED blinks 3 times and goes out.
- On the opener, press LEARN/PROGRAM button for 2-3 seconds and then release.
- On remote, press the button you chose ONE time. The opener will click.
- On the opener, press the LEARN/PROGRAM button again for 2-3 seconds then release.
- Press the button you chose ONE time again. The opener will click again.
- Test the button – programming is complete.
TIP: Allow the LED light on the universal transmitter to stop flashing before your next button press.
Changing The Battery
- Remove small Phillips head backing screw.
- Pry case open with small coin or screwdriver.
- Replace the battery with a CR2032 coin cell.
Programming Assistance:
If the opener does not activate after the steps shown, repeat steps or contact Customer Care by phone at: 1-800-929-3667 for programming assistance. You may also scan this QR code for additional information and links.
http://qr.w69b.com/g/mel6qgwbS
For Patent Information: www.overheaddoor.com/patents, ©2021, Overhead Door Corporation
FCC Part 15.21 Statement:
Changes or modifications not expressly approved by the party responsible for compliance could void the user’s authority to operate the equipment.
FCC / IC Statement:
This device complies with FCC Part 15 and Industry Canada licence-exempt RSS standard(s).
Operation is subject to the following two conditions:
(1) this device may not cause harmful interference, and
(2) this device must accept any interference received, including interference that may cause undesired operation of the device.





















