Nature POWER 37800 800 Watt Power Inverter

WARNING:
Read carefully and understand all assembly and operation instructions before operating. Failure to follow the safety rules and other basic safety precautions may result in serious personal injury.\
SAVE THESE INSTRUCTIONS
Thank you for choosing Nature Power Products
This product is designed for certain applications only. The distributor cannot be responsi-ble for issues arising from modification. We strongly recommend this product not be modified and/or used for any application other than that for which it was designed. If you have a question relative to a particular application, do not use the product until you have first contacted the distributor to determine if it can or should be performed on the product. For technical question please call 1-800-588-0590
Parts List
| Parts Description | Quantity |
| Inverter | 1 |
| Bare end to battery clamp cable | 1 |
| Bare end to 12V car plug cable | 1 |
| Ground wire | 1 |
| Manual | 1 |
WARNING
This product can expose you to chemicals, including Di (2-Ethylhexyl) phthalate (DEHP) which is known to the State of California to cause cancer, birth defects or other reproductive harm. For more information, go to www.p65warnings.ca.gov
Important Safety Instructions
- This manual contains important safety and operating instructions for power inverters. This manual will show you how to use your inverter safely and effectively. Please read, understand and follow these instructions and precautions carefully.
- Keep out of reach of children.
- Do not expose the inverter to rain or snow.
- Use of an attachment not recommended or sold by the unit manufacturer may result in a risk of fire, electric shock, or injury to persons.
- Do not disassemble the unit; take it to a qualified serviceman when service or repair is required. Incorrect reassembly may result in a risk of electric shock or fire.
- To reduce risk of electric shock, unplug the unit from the outlet before attempting any maintenance or cleaning. Turning off controls will not reduce this risk.
- For the most effective use, place the power inverter on a flat surface.
- Do not place the inverter on or near heating vents, radiators or other sources of heat of flammable materials.
- Do not place the inverter in direct sunlight. The ideal air temperature for operation is between 41° and 95°F.
- Only connect the power inverter to a 12V battery or power supply. Do not attempt to connect the inverter to any other power source, including an AC power source. Connecting to a 6V or 16V battery will cause damage to the inverter.
- Do not use the inverter with a product that draws a higher wattage than the inverter can provide, as this may cause damage to the inverter and product.
Intended Use
Power Inverters convert DC electricity to AC electricity then offer power to small electrical equipment and digital products. It has been widely used in cars, steamboats, mobile offices, post and telecommunications, public security and emergency.
Electrical equipment can be used:
- Office equipment: Compute, printer, facsimile printer, min-duplicator, projector, working light.
- Digital products: Most of the mobile phones / digital cameras / digital projectors, PDA, palm computers, recreational machines.
- Small house electrical equipment: TV, fan, water dispense, dust collector, small electric iron, hair drier.
- Hardware appliance: Portable electric drill, waxing machine, electric iron.
Electrical equipment can not be used:
- All electric appliances that exceed the rated power of the inverter
- Generally, capacitive load and perceptual load appliances are inapplicable: Air condition, high power electric drill, fridge, microwave oven, blender.
- Not recommend appliances which have strict requirements on power supply, such as precise equipment, if use ordinary power inverters with this kind of equipment will affect the measuring data.
USB charger
Some appliances must charge with the original charger, Please read the appliance’s manual before use.
Product diagram

- Fan
- Power indicate light (Green
- USB port
- DC input “+” terminal
- Fault light (Red)
- Earth stud
- DC input “-” terminal
- AC output plug
Power Source
- Your average automobile battery at full charge will provide an ample power supply to the inverter when the engine is on.
- Keep the car running at all times when using the inverter. The actual length of
time the inverter will function depends on the age and condition of the battery and the power demand being placed by the device being operated with the inverter. - When possible, recharge your batteries when they are not more than 50% discharged. This gives the batteries a much longer life cycle than recharging when they are more deeply discharged.
- The power inverter has a battery low voltage shutdown at 9.2-9.8VDC. With moderate to heavy loads, this will protect against over-discharging the battery. If the inverter is running only light loads it is advisable to recharge before the inverter’s low voltage shutdown point is reached.
IMPORTANT: The inverter draws low amperage from the battery with the main ON/OFF switch turned on and no load connected. To prevent battery discharge, turn the inverter off when you are not using it.
To Ground the Inverter
Make sure to connect your inverter only to a 12 volt power supply. To avoid electrical shock, it is necessary to ground the inverter as well as the device powering it. The inverter should be grounded
NOTE: Do not turn on the inverter or the power source until the inverter and the power source are grounded.
Vehicle: Connect to the chassis, unpainted frame part, or engine block of the vehicle. Fixed location: Connect to a ground rod or other appropriately rated ground.
Operating instruction
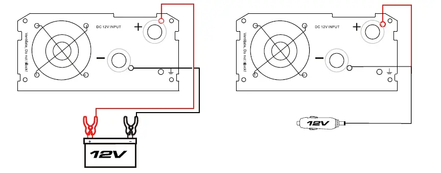
Connecting inverter to 12V battery / vehicle
- Locate the Positive and Negative terminals on the inverter
- From the POSITIVE (RED) and the NEGATIVE (BLACK) terminals, loose the screws,
- Place the cable’s POSITIVE (RED) bare end into the POSITIVE (RED) inverter terminal. Place the NEGATIVE (BLACK) bare end into the NEGATIVE (BLACK) inverter terminal.
- Tighten both terminal screws.
- Switch the inverter to OFF (O) position. Connect battery clamp to 12V battery, positive to positive, negative to negative. or use the 12V DC car plug connecting to the 12V outlet on the vehicle.

Operating
- Connect the inverter to power source (see inverter connecting section).
- Switch the inverter’s ON/OFF switch to the ON (I) position.
- The GREEN LED indicator will light, indicating the inverter is receiving power.
- Switch the inverter’s ON/OFF switch to the OFF (O) position.
- Make sure the device to be operated is turned OFF.
- Plug the device into the inverter’s AC outlet.
- Switch the inverter’s ON/OFF switch to the ON (I) position.
- Turn the device on.
- To disconnect, reverse the above procedure.
Note
If more than one device is to be powered, start one device at a time, to avoid a power surge and overloading the inverter. The surge load of each device should not exceed the inverter’s Continuous Operation wattage rate.
Load devices should not exceed 150 W when used in the vehicle.
Using the inverter with some rechargeable devices may damage the inverter and/or device. If you are using the inverter to operate a rechargeable device, monitor the temperature of the inverter for about10 minutes. If the inverter becomes abnormally hot, disconnect it from the device immediately; do not use the device with the inverter. Please use the inverter in ventilate condition and make sure the fan is not blocked. To save energy, the fan will not work unless the following two situations:
Load is exceed 30% of the related power of the inverter.
The temperature of the inverter exceeds 60ºC.
Fuse blows
Your power inverter is fitted with fuses, which should not have to be replaced under normal operating conditions. A blown fuse is usually caused by reverse polarity or a short circuit within the device or equipment being operated. If a fuse does blow, take the inverter to a qualified technician for repair.
TroubleShooting
| State description | Possible Cause | Reason/solution | ||
| LED Light | Alarm | AC Output | ||
| Green ON Red OFF | ON | YES | Input low voltage | Battery low, recharge or replace the battery |
| Green ON Red ON | ON | NO | Input low voltage shut down | Battery low, recharge or replace the battery |
| Green ON Red ON | OFF | NO | Input over-voltage shut down | Check battery voltage, Operating input voltage 11-15VDC |
| Green ON Red ON | OFF | NO | Overload protection | Use a higher capacity inverter or reduce the load or device on the inverter |
| Green ON Red ON | ON | NO | Over-temperature shut down | Allow inverter to cool, check for adequate ventilation. reduce the load to the rated continuous output |
| Green ON Red OFF | OFF | NO | Output short circuit | Check load devices or replace the load devices |
Note: USB output works normally under these protection conditions. A multimeter may be needed for troubleshooting.(Not included)
Specifications
- Operating input voltage ……………………………………………………………………..11-15 VDC
- Input voltage (Nominal) ………………………………………………………………..12.8-13.2 VDC
- Nominal output voltage …………………………………………………………………110±10% VAC
- Output frequency ………………………………………………………………………………….60±3 Hz
- Continuous output power ………………………………………………………………… Up to 800 W
- Surge output power………………… ………………………………………………………………1600W
- Waveform
- Efficiency (typical)…………………………………………………………………………………… > 80%
- No-load current……………………………………………………………………………………….<0.45A
……………………………………………………………………………. Modified sine wave - Input over-voltage shutdown ……………………………………………………………….15-16 VDC
- Input under-voltage alarm ……………………………………………………………..10.2-10.8 VDC
- Input low voltage shutdown……………………………………………………………….9.2-9.8 VDC
- Output power overload shutdown level ……………………………………………….900-1100 W
- Output Short circuit Protection……………………………………………………………………….Yes
- Over Temperature Shutdown…………………………………………………………………………Yes
- Fuse……………………………………………………………………………………………………..25A x 4
- Ideal working temperature…………………………………………………………..5-35ºC / 41-95ºF
- USB port …………………………………………………………………………………………….. 5V/2.1A
- AC receptacles……………………………………………………………………………..2x NEMA 5-15
Limited Warranty
Nature Power warrants our products to the original purchaser that this product is free from defects in materials and workmanship for the period of 1 year from date of purchase, In the case of product defect, contact Nature Power customer service to receive troubleshooting. If a defective part or unit should be returned, a Return Authorization Number must be issued by Nature Power and the defective part or unit should be returned to the authorized location at the purchasers’ expense. A dated proof of purchase is required to receive warranty service. Once received at authorized location and defect proves to be the result of defective material and workmanship, the defective part or unit will be replaced at warrantors’ option and returned to the original purchaser at warrantors’ expense. No refunds will be granted by the warrantor, in the event of buyer’s remorse please contact your point of purchase within and in adherence to their return policy. Refunds are granted at the retailers’ discretion.
Please contact Nature Power Products to acquire more information:
1-800-588-0590
[email protected]
[email protected]
Made in China
Page 12 of 12



















