castorama 3663602419013 Lobas Semi-Box Motorized Awning Instruction Manual
IMPORTANT: This is a combined document. Please ensure that the instruction manual and safety manual are split out and printed separately, including blank pages.
Installation
- WARNING: Important safety instructions. Please follow all the instructions because a faulty setup may result in serious injuries.
- Follow all safety instructions to avoid damage through improper use! Follow all warning notices on the appliance.
- Keep this instruction manual for future use. Should this appliance be passed on to a third party, this instruction manual must be included.
- Use this appliance only for its intended use.
- No responsibility is accepted for damage resulting from improper use or non-compliance with these instructions.
Assembly
- A horizontal distance of at least 0.4 m is to be maintained between fully unrolled driven part and any permanent object.
- Means for disconnection having a contact separation in all poles must be incorporated in the fixed wiring in accordance with the wiring rules.
- When you are ready to unpack and assemble the awning, make sure that you have the appropriate Ws, sufficient operators (3 persons are suggested) and space, and a dean and dry area to perform the installation.
- Switch the power off before cable installation.
Choosing a safe location
- Never install it in high and windy places, as the sunshade may drop and hurt people.
- The location for mounting your automation device: this location must allow for the automation device to pick up the signals easily to ensure maximum sensitivity of the command box.
- Do not use it In places that have vibrations or impulsions.
- In case of use of a command box, the electronics board must be set vertically and sheltered from the weather.
- The installation can be made by nonprofessionals assuming the instruction is followed correctly. Should you have any trouble during assembly, please consult a qualified person for help.
- Please use all the screws and nuts correctly during installation ash is very dangerous if you leave it loose.
- Be careful with your fingers during installation.
Electrical safety
- CAUTION: The setup must comply with the NCF 1 S-100 standard. For your safety please make sure that the electric current is switched off before carrying out any setup or connection operation.
- Before connecting the appliance to the power supply, check that the power supply voltage and current rating corresponds with the power supply details shown on the appliance rating label. A readily accessible disconnect device must be incorporated in the fixed wiring in compliance with setup regulations. Danger of electric shock! Do not attempt to repair the appliance yourself. In case of malfunction, repairs are to be conducted by qualified personnel only.
- If the supply cord Is damaged, it must be replaced by the manufacturer, its service agent or similarly qualified persons in order to avoid a hazard.
- For an inspection or maintenance of the electrical pads, the external blind shall be disconnected from the energy supply in a reliable way.
Use
- The max. load for non-retractable pad: 800 Pa.
- The actuating member is to be accessible from a height lower than 1.3 m.
- Do not modify the appliance in any way!
- Never open the electronic command box (this will void the warranty).
- Never use accessories which are not recommended by the manufacturer. They could pose a safety risk to the user and might damage the appliance. Only use original pads and accessories.
- Do not hang anything on the frame or on the folding arms as the awning may fall down and cause damage or personal injury.
- Do not use this appliance in adverse weather conditions. If wind speeds are stronger than 4 on the Beaufort wind force scale, retract the awning.
- Never use the appliance on rainy days.
- Do not use it in places of high temperature such as walls near furnaces.
- The operation in frosty conditions may damage the awning. 7 Save enough free space around the awning while rolling or unrolling.
- Do not barbecue under the awning or ignite a fire near to the awning.
- Check the awning every 3 months to ensure all fixing are tightened and no damage on the product.
- Frequently examine the installation for imbalance and signs of wear or damage to cables and springs. Do not use if repair or adjustment is necessary.
- Never use a damaged appliance! Disconnect the appliance from the power supply and contact your supplier if it is damaged.
- Unless advised to the contrary by a technician, do not attempt to use the awning if repair or adjustment is needed.
- Please take all necessary precautions when using the manual override device since an open roller shutter may fall down quickly due to weakened or broken springs.
- Please do not use the motor for any open in dosing operations beyond the assigned number of cycles (3000 times). Disconnect the awning from the supply when maintenance, such as window cleaning, is being carried out in the vicinity.
Child protection
Do not allow children to play with fixed controls. Keep remote controls away from children. Z Children should be supervised to ensure that they do not play with the appliance or the control.
Safety of switch box
- The actuating member of a biased-off switch is to be located with direct sight of the driven part but away from moving parts] is to be installed at a minimum height of 1,5 m and not accessible to the public
- WARNING: Important safety instructions it is important for the safety of persons to follow these instructions. Save these instructions.
- This appliance can be used by children aged from 8 years and above and persons with reduced physical, sensory or mental capabilities or lack of experience a nd knowledge if they have been given supervision or instruction concerning use of the appliance in a safe way and understand the hazards involved, Children shall not play with the appliance Cleaning and user maintenance shall not be made by children without supervision
- Before installing the drive, remove any unnecessary cords and disable any equipment not needed for powered operation
- Hazardous unprotected moving pads of the drive shall be installed higher than 2,5 m above the floor or other level that could provide access to it.
- Fixed controls have to be clearly visible after installation
- LpA 5 70 dB(A).
Maintenance
- Mention: Well finish the setting program already for all electric items, final client no need adjust the motor again.
- The user can adjust the limit of one direction at one lime, do not adjust two knobs at the same lime.
- Do not turn knobs fiercely, please check the limit with switch box per revolute about half cycle, and check if the setting you satisfied.
- Keep this product away from the reach of children.
- WARNING: The drive shall be disconnected from its power source during cleaning, maintenance and when replacing parts.
- Check to make sure that the awning is fixed tightly and securely before cleaning.
- Clean the metal surfaces of the awning with a slightly damp cloth.
- Clean the remote control and wall mount base with a slightly damp dot.
- Wipe off debris from the fabric cover using a dry, soft cloth when the awning is not clean or when it is not used for longer period of time.
- Do not use any abrasive cleansers like chemicals, benzene or alcohol.
- Do not roll-in the awning when wet.
- Dry the fabric cover naturally when ft is wet. Turn off the power when the awning is not used for a longer period of time. If a manual release is provided, the instructions shall state that the actuating member is to be accessible from a height lower than 1,50 m.
- The instructions shall state that the external blind shall be refracted in case the wind speed is higher than the speed declared by the manufacturer.
- The instructions shall state the maximum load for which the non-retractable parts of the external blinds have been designed.
- For external blinds, which can be operated from a position without view on the blind: the user shall take appropriate organizational measures for preventing operation of the blind when maintenance, such as window or wall cleaning, is being carried out in the vicinity.
IMPORTANT INSTRUCTIONS
Please read carefully the separate safety guide before use.

Required Tools







What’s in the box?









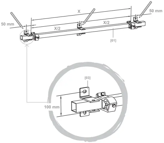
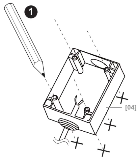
Installation










For Manual operation.







- Power cable (yellow/green)/ Engine (yellow/green)
- Engine (brown)
- Power cable (brown)
- Engine (black)
- Power cable (blue)/Engine (blue)







- A- Set awning opening range.
- B- Set Awning closing range.
Use
Care


Technical data
External use Resistance to wind : Class 1 EN13561:2004 / A1:2008 EN13561:2015 N° DOP_H66327_3663602419013_1 DOP_UKCA_H66327_3663602419013_1 EM3431 5×3.5m
230 V, — 50 Hz, 0.98 A 225 W 12 Rpm 50 Nm IPX4 HTM45-50/12M DC225
Waste electrical products should not be disposed of with household waste. Please recycle where facilities exist. Check with your Local Authority or local store for recycling advice.
Declaration of performance
| 1.EN – Unique identification code of the product-type :
| ||
| 3663602419013
EN – By extension, this declaration of performance also applies to any EAN product codes defiled in Appendix 1 | ||
| 2. EN – Intended use(s): FR
| ||
| EN — External use
| ||
| 3. EN – Manufacturer :
| ||
| Kingfisher International Products B.V., Rapenburgerstraat 175E, 1011 VM Amsterdam, The Netherlands | ||
| 4. EN – Authorised representative :
| ||
| 5. EN – System(s) of assessment and verification of constancy of performance :
| ||
| 6a) EN – Harmonized standard / Notified body/ies
| ||
| EN13561:2004/A1:2008
EN 13561:2015 | ||
| 6b) EN – European Assessment Document (EAD) – European Technical Assessment :
EN – Technical Assessment Body – Notified body/ies :
| ||
| EN – Resistance to wind :CIass1 FR
| ||
| 7. EN – Declared performance/s :
| ||
|
EN Essential Characteristics |
EN – Performance | EN – Standard / EAD
|
| Resistance to wind | Class 1 | EN 13561:2004/A1:2008 EN 13561:2015 |
| (NPD): No performance determined | ||
| 8. EN – Appropriate Technical Documentation and/or Specific Technical Documentation :
| ||
| 9. EN – The performance of the product identified above is in conformity with the set of declared performance/s. This declaration of performance is issued, in accordance with Regulation (EU) No 305/2011, under the sole responsibility of the manufacturer identified above
| ||
| Signed for and on behalf of the manufacturer by: Kingfisher International Products B.V. Rapenburgerstraat 175E, 1011 VM Amsterdam, The Netherlands
David Awe Group Quality Director Appendix EAN(s) | ||
(UK) DECLARATION OF PERFORMANCE
| ||||
| No DOP_UKCA_ 3663602419013 _1 | ||||
| Unique Identification code of the product type – EAN 3663602419013 | ||||
| • Product name – Electrical Awning semi cassette with adjustable valance • Product model – 3663602419013 | ||||
| Intended use: External use | ||||
| Manufacturer: Kingfisher International Products Limited, 3 Sheldon Square, London, W2 6PX, United Kingdom | ||||
| System(s) of assessment and verification of constancy of performance: 4 | ||||
| BS13561:2004/A1:2008 BS 13561:2015 | ||||
| Declared Performance | ||||
| Essential characteristics | Performance | Designated Standard / UKAD | ||
| Wind resistance | Class 1 | BS13561:2004/A1:2008 BS13561:2015 | ||
| The performance of the product identified above is in conformity with the set of declared performance/s. This declaration of performance is issued, in accordance with The Construction Products (Amendment etc ..) (EU Exit) Regulations 2019, under the sole responsibility of the manufacturer identified above | ||||
| Signed for and on behalf of: Kingfisher International Products Limited, 3 Sheldon Square, London, W2 6PX, United Kingdom | ||||
| David Awe Group Quality Director | Date of issue 21 /07/2021 | |||
| EAN 3663602419013 | ||||
| (EN) Product EM3431 5×3.5m
| ||||
| Üreticinin ve onun yetkili temsilcisinin adi ve adresi: | ||||
| Kingfisher International Products B.V., Rapenburgerstraat 175E, 1011 VM Amsterdam, The Netherlands | ||||
| Ürün | Model | EAN | ||
| (EN) Product EM3431 5×3.5m | (EN) Model 3663602419013 | |||
| (EN) 2014/30/EU Directive Electromagnetic compatibility 2014/35/EU Directive Electrical Safety: Low-voltage electrical equipment 2011/65/EC Directive RoHS Restriction of the use of certain hazardous substances in electrical and electronic equipment 2012/19/EU Directive WEEE Waste electrical and electronic equipment Regulation (EC) No 1907/2006 concerning the Registration, Evaluation, Authorisation and Restriction of Chemicals (REACH) 2009/125/EC Directive Ecodesign requirements for energy-related products 2010/30/EU Directive Energy labelling | ||||
| EN 55014-1:2017 EN 55014-2:2015 EN 61000-3-2:2014 EN 61000-3-3:2013 EN 60335-1:2012+A11:2014; EN 60335-2-97:2006+A11:2008+A2:2010+A12:2015; EN 62233: 2008; | ||||
| Kingfisher International Products B.V., Rapenburgerstraat 175E, 1011 VM Amsterdam, The Netherlands Tarih: [date of issue 15/09/2019]
David Awe | ||||
| (UK) EU DECLARATION OF CONFORMITY (FR) DÉCLARATION
| ||||
| Product/ | ||||
| (EN) Product EM3431 5×3.5m
| ||||
| Name and address of the manufacturer or his authorised representative:
| ||||
| Kingfisher International Products B.V., Rapenburgerstraat 175E, 1011 VM Amsterdam, The Netherlands | ||||
| This declaration of conformity is issued under the sole responsibility of the manufacturer.
| ||||
| Object of the declaration/Objet de la declaration/ | ||||
| Product/
| Model/
| EAN | ||
| (EN) Product EM3431 5×3.5m | (EN) Model 3663602419013 | |||
| The object of the declaration described above is in conformity with the relevant Union
| ||||
| (EN) 2014/30/EU Directive Electromagnetic compatibility 2014/35/EU Directive Electrical Safety: Low-voltage electrical equipment 2011/65/EC Directive RoHS Restriction of the use of certain hazardous substances in electrical and electronic equipment 2012/19/EU Directive WEEE Waste electrical and electronic equipment Regulation (EC) No 1907/2006 concerning the Registration, Evaluation, Authorisation and Restriction of Chemicals (REACH) 2009/125/EC Directive Ecodesign requirements for energy-related products 2010/30/EU Directive Energy labelling
| ||||
References to the relevant harmonised standards used or references to the other technical specifications in relation to which conformity is declared:
EN 55014-1:2017
EN 55014-2:2015
EN 61000-3-2:2014
EN 61000-3-3:2013
EN 60335-1:2012+A11:2014;
EN 60335-2-97:2006+A11:2008+A2:2010+A12:2015; EN 62233: 2008;
Signed for and on behalf of
Kingfisher International Products B.V.
Rapenburgerstraat 175E,
1011 VM Amsterdam,
The Netherlands
David Awe
Group Quality Director
| ||
| Product | ||
| • Electrical awning semi cassette BW26000 5×3.5m • Model/EAN: 3663602419013 | ||
| Name and address of the manufacturer or his authorised representative: | ||
| Kingfisher International Products Limited, 3 Sheldon Square, London, W2 6PX, United Kingdom | ||
| This declaration of conformity is issued under the sole responsibility of the manufacturer. | ||
| Object of the declaration | ||
| Product | Model | EAN |
| Electrical awning semi cassette BW26000 5×3.5m | 3663602419013 | 3663602419013 |
| The object of the declaration described above is in conformity with the relevant legislation: | ||
| Electrical Equipment (Safety) Regulation 2016 as amended Electromagnetic Compatibility Regulations 2016 as amended The Restriction of the use of Certain Hazardous Substances in Electrical and Electronic Equipment Regulations 2012 as amended The Ecodesign for Energy-Related Products and Energy Information (Amendment) (EU Exit) Regulations 2019 2014/30/EU as amended Directive Electromagnetic compatibility 2014/35/EU Directive Electrical Safety: Low-voltage electrical equipment 2011/65/EU as amended Directive Restriction of the use of certain hazardous substances in electrical and electronic equipment2009/125/EC as amended Directive on Eco-design Requirements for Energy-Related Products 2014/30 / | ||
| References to the relevant designated standards used or references to the other technical specifications in relation to which conformity is declared: | ||
| BS 55014-1: 2006/A2: 2011 BS 55014-2: 2015 BS 61000-3-2: 2014 BS 61000-3-3: 2013 BS 60335-1:2012/A11 :2014 BS 60335-2-97 :2006/A12 :2015 BS 62233:2008; EN62479 :2010 | ||
| Signed for and on behalf of: Kingfisher International Products Limited, 3 Sheldon Square, London, W2 6PX, United Kingdom
David Awe Group Quality Director Date of issue 21 /07/2021 | ||
Manufacturer
UK Manufacturer:
Kingfisher International Products Limited,
3 Sheldon Square, London, W2 6PX,
United Kingdom
EU Manufacturer:
Kingfisher International Products B.V.
Rapenburgerstraat 175E
1011 VM Amsterdam
The Netherlands
www.kingfisher.com/products
www.diy.com
www.screwfix.com
www.screwfix.ie
To view instruction manuals online,
visit www.kingfisher.com/products
References
Brico Depôt | Bricolaje, jardín, construcción y climatización
Brico Dépôt : Bricolage, construction, jardin, cuisine
Brico Depôt | Bricolage, construção, jardim e climatização
Каталог Castorama - купить товары для ремонта и обустройства дома и квартиры
Search Results | Search Results
Koçtaş | Evimi Çok Seviyorum
Screwfix | The UK's Leading Retailer of Trade Tools & Hardware | Screwfix
Power Tools, Electrical, Plumbing Supplies & More | Screwfix






















