Hard Head 791221 Patio Awning

Jula AB reserves the right to make changes to the product. Jula AB claims copyright on this documentation. It is not allowed to modify or alter this document in any way and the manual shall be printed and used as it is in relation to the product. For the latest version of operating instructions, refer to the Jula website.
WWW.JULA.COM
© JULA AB • 2022-06-30
JULA AB
BOX 363, 532 24 SKARA, SWEDEN
Introduction
Product Description
The product is a patio awning with acrylic fabric.
Intended use
The product is intended for outdoor use as a wall or roof-mounted sunscreen.
Product Overview

- Fixture
- Side cover
- Gearbox
- Crank handle
- Roller
- Rectangular tube
- Coupling
- Telescopic arm
- Cassette
- Fabric
- Front rail
- Front valance
- Expansion bolt x6
- Screw, washer, nut x3
Safety
Safety definitions
Warning! If you do not obey these instructions, there is a risk of death or injury.
Caution! If you do not obey these instructions, there is a risk of damage to the product, other materials or the adjacent area.
Note! Information that is necessary in a given situation.
Safety instructions for operation
Warning! If you do not obey these instructions, there is a risk of death or injury.
- Read and understand the instructions before you use the product.
- Assembly requires technical knowledge. Speak to a person with the necessary knowledge if:
- you are uncertain if the selected installation location is suitable.
- you do not understand all parts of the assembly instructions.
- you do not have all the necessary tools.
- you do not have the necessary technical knowledge.
- The product is large and heavy. It takes at least two adults to handle and install the product. Do not assemble the product alone. If the product falls it can cause serious personal injury and/or damage.
- Do not install the product if any parts are missing or damaged. Speak to an authorized service center.
- Keep children and pets at a suitable distance from the working area during installation and/or when adjustments are made.
- The product must be mounted on reinforced concrete or solid brick walls or ceilings.
- If the building has a veneer wall or an outer shell, facing bricks or a facing panel and additional insulation, the installation must be done by a person with the necessary knowledge.
- Do not attempt to change or modify the product without permission from the manufacturer.
- Do not operate the product when the temperature is below zero, this can damage the product.
- Do not operate the product when there is snow on it, this can damage the product.
- Do not climb on the product.
- Do not hang any objects from the product.
- Extreme weather or other extreme conditions can subject the expansion bolts to very strong forces. Do a check of the strength of the wall and the intended fixture points before installation.
- Speak to a person with the necessary knowledge if there are cracks in the wall.
- Make sure that the wall or ceiling is flat so that the fixtures can be securely fitted.
Installation
Installation tools
- Hammer drill
- 14 mm drill bit
- Spirit level
- 17 mm wrench
- Step ladder
- Tape measure
- Chalk or marker pen
To install the product



Warning! The installation requires at least 2 persons.
Warning! Do not drill into mortar joints. Mortar joints are not strong enough to hold the product.
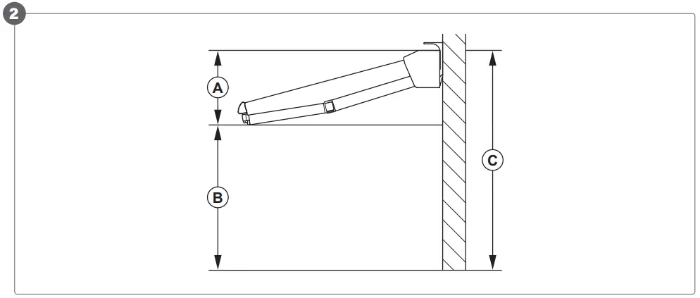
Caution! The minimum installation height is 2.5 m. Measured from the front rail as the product is fully extended.
- Select an installation place.
- Measure the required position (B) and add 60 cm (A) where the lower drill hole for the fixture will be when the product is at a 140 angle. The total height is 3.1 m (C). (Figure 2)
Note! If the product is installed above a balcony or a window, add at least 20 cm space above the frame. - Mark a horizontal line at the correct height in the selected area. Make sure that the line is level.
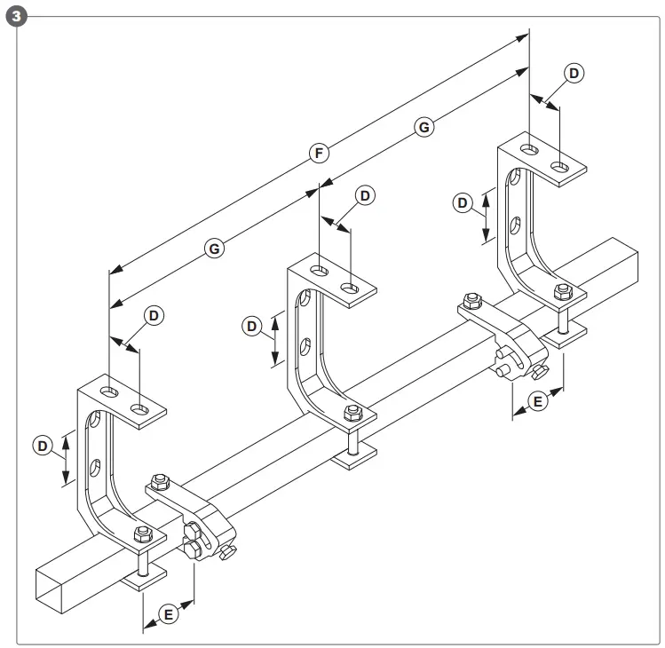
- Measure and mark the position of the fixtures (D) on the wall. (Figure 3)
Note! Make sure that the measurement (E) and (F) and (G) corresponds to your product. Refer to “8.1 Measurements” on page 22. - Hold a fixture with the lower fixture hole at the same height as the line and mark the drill holes.
- Drill 90 mm deep holes for the fixtures.
- Remove the nuts and washers from the expansion bolts.
- Insert the expansion bolts.
Note! Make sure that the expansion bolts are fully fitted in the holes. - Place the fixtures on the expansion bolts and install the washers and the nuts. Tighten firmly.
- Insert the awning into the fixtures. Make sure that the distance between the fixtures and the couplings are correct. Refer to “8.1 Measurements” on page 22. (Figure 4)
Note! If the rectangular tube does not fit correctly in the fixtures you can loosen the nuts for the expander bolts and fit it again. Make sure to tighten the nuts. - Install the screws, washers and nuts to lock the awning in place.
- Tighten the nuts for the expansion bolts again.
- Remove the band from the awning.
Operation
Caution! Remove the crank handle and keep it dry when the awning is not in use.
To set the angle of inclination


Warning! Do not turn the setting screws further than the end position. This can cause serious personal injury and damage the product.
Caution! Do not extend the product more than 1/4 before making the adjustment.
The recommended angle of 140 is set at the factory. The angle of inclination can be set between 140–500 (A–B) if it is necessary. (Figure 5)
- Extend the product. Refer to “4.2 To operate the product” on page 21.
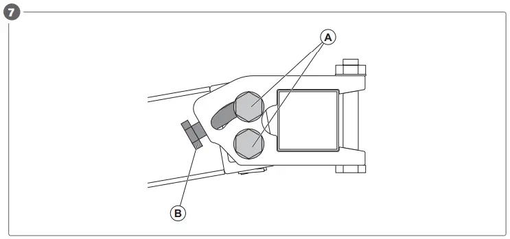
- Locate the coupling. (Figure 6)
- Loosen the lock nuts (A). (Figure 7)
- Turn the setting screw (B) clockwise to decrease the angle and counterclockwise to increase the angle of inclination.
- Fasten the lock nuts.
- Do the same adjustment on the opposite side.
To operate the product


Warning! Keep body parts and objects away from moving parts when the product is extended or retracted – risk of serious personal injury and damage to the product.
Caution! When the front rail touches the roller, do not retract any further.
Caution! Retract the product in the case of strong wind, rain, hail or snow.
- Install the crank handle (A) into the loop (B). (Figure 8)
- Turn the handle clockwise to extend and counterclockwise to retract the product.
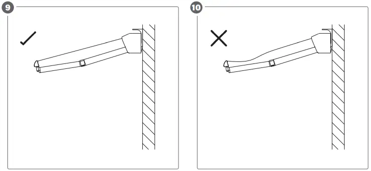
Note!
Make sure that the fabric is stretched tightly. (Figure 9–10)
Maintenance
To do maintenance on the product
Warning! Do not use the product if it is damaged.
- Make sure that the fixtures are securely attached. Tighten them if they are loose.
- Inspect the gearbox every 6 months. If the gearbox is damaged, it must be repaired or replaced before the product is used again.
- Inspect all screw connections every 6 months. Tighten if it is necessary.
- If the product is stiff or makes noises, lubricate the moving parts.
Caution! Do not use a petroleum-based lubricant.
Caution! Make sure to not lubricate the textile.
To clean the product
Caution! Do not use abrasive or corrosive detergents when you clean the product.
Caution! Do not dry the fabric with a hairdryer, fan or similar devices.
- Clean the frame with a damp cloth and mild detergent.
- Clean the fabric every 6 months with warm water and mild detergent. Let the fabric become dry.
Storage
- Make sure that the fabric is dry before the product is put in storage.
- Put the product in a clean and dry place.
- Put the product out of reach of children.
- Put the band on the awning to make sure it does not extend.
Disposal
To discard the product
Make sure that you follow local regulations when you discard the product. Do not burn the product.
Technical data
| Technical data | |
| Dimensions | 4.8×3 m |
| UV protection class | 50+ |
| Dimensions, packaging | 210x220x4860 mm |
| Light fastness rating | 6 |
Measurements
| 791221 | 791222 | 791223 | |
| D | 60 mm | 60 mm | 60 mm |
| E | 50 mm | 50 mm | 50 mm |
| F | 2600 mm | 3200 mm | 4400 mm |
| G | 1300 mm | 1600 mm | 2200 mm |


















