DOMETIC 9500EZ Power Case/Cassette Awning Installation Guide
Explanation of Symbols and Safety Instructions
This manual has safety information and instructions to help you eliminate or reduce the risk of accidents and injuries.
Recognize Safety Information
This is the safety alert symbol. It is used to alert you to potential physical injury hazards. Obey all safety messages that follow this symbol to avoid possible injury or death.
Understand Signal Words
A signal word will identify safety messages and property damage messages, and also will indicate the degree or level of hazard seriousness.
WARNING
Indicates a hazardous situation that, if not avoided, could result in death or serious injury.
CAUTION
Indicates a hazardous situation that, if not avoided, could result in minor or moderate injury.
NOTICE: Used to address practices not related to physical injury.
Indicates additional information that is not related to physical injury
Supplemental Directives
To reduce the risk of accidents and injuries, please observe the following directives before proceeding to install this product:
- Read and follow all safety information and instructions.
- Read and understand these instructions before installing this product.
- The installation must comply with all applicable local or national codes, including the latest edition of the following standards:
U.S.A.
- ANSI/NFPA70, National Electrical Code (NEC)
- ANSI/NFPA1192, Recreational Vehicles Code
Canada
- CSA C22.1, Parts l & ll, Canadian Electrical Code
- CSA Z240 RV Series, Recreational Vehicles
General Safety Messages
WARNING: ELECTRICAL SHOCK, FIRE, AND/ OR EXPLOSION HAZARD. Failure to obey the following warnings could result in death or serious injury:
- Use care when diagnosing and/or adjusting components on a powered unit.
- Use only Dometic replacement parts and components that are specifically approved for use with the appliance.
- Avoid improper installation, adjustment, alterations, service, or maintenance of the appliance. Service and maintenance must be done by a qualified service person only.
- Do not modify this product in any way. Modification can be extremely hazardous.
NOTICE: This product is for use with 12 VDC only.
Intended Use
The 12 VDC Power Case/Cassette Awning (hereinafter referred to as “awning,” or “product”) is designed and intended for use on a Recreational Vehicle (hereinafter referred to as “RV”) with straight sides. It is especially well-suited for RVs with an over-cab extension where there isn’t a sufficient surface for a bottom mounting bracket. Use these instructions to ensure the correct operation of the product. This product is only suitable for the intended purpose and application in accordance with these instructions.
This manual provides information that is necessary for proper installation of the product. Poor installation and/ or improper operating or maintenance will result in unsatisfactory performance and a possible failure. The manufacturer accepts no liability for any injury or damage to the product resulting from:
- Incorrect assembly or connection, including excess voltage
- Incorrect maintenance or use of spare parts other than original spare parts provided by the manufacturer
- Alterations to the product without express permission from the manufacturer
- Use for purposes other than those described in this manual
Dometic reserves the right to change product appearance and product specifications.
General Information
This section provides general information about the awning and its components.
The images used in this document are for reference purposes only. Components and component locations may vary according to specific product models. Measurements may vary ±0.38 in. (10 mm).
Tools and Materials
Dometic recommends that the following tools and materials be used while installing the awning.
| Included Parts (8-16 ft Models) | Quantity |
| Mounting Bracket | 1 |
| M6 x 50 mm L Carriage Bolt | 12 |
| M6 Split Lock Washer | 12 |
| M6 Flat Washer | 12 |
| M6 Locknut with Nylon Insert | 12 |
| #8-18 x 0.38 Self-Drilling Flat-Head Screw | 6 |
| Additional Included Parts (15-16 ft Models) | Quantity |
| M6 x 50 mm L Carriage Bolt | 4 |
| M6 Split Lock Washer | 4 |
| M6 Flat Washer | 4 |
| M6 Locknut with Nylon Insert | 4 |
| #8-18 x 0.38 Self-Drilling Flat-Head Screw | 2 |
| Installer-Supplied Parts | Quantity |
| Dometic Rocker Switch Kit | 1 |
| Wall Grommet or Heat-Shrink Tubing | 1 |
| Backing Plate1 | 1 |
| Carriage Bolts, Washers, and Nuts1,2 | 4 |
| Sleeves1 | 4 |
- Required parts if mounting the awning to a non-solid structure. See “Securing the Mounting Bracket to a Non-Solid Structure” on page 7.
- Carriage bolts must be grade 8.8 minimum and with a head that does not extend further than 0.125 in. (3 mm).
| Recommended Tools | |
| Drill | Sealant |
| De-burring Tool | 3 mm Hex Key, Driver, or Bit |
| Level | 6 mm Hex Key, Driver, or Bit |
| Phillips Screwdriver or Bit | 6 mm Hex Key Socket |
| Torque Wrench | 10 mm Socket |
Door Clearance

Door Clearance (Factory Presets)
- RV Door (Closed)
- 2.5 in.
- 5° Slope
- 22 in.
- RV Door (Open)
Allow for sufficient clearance between the awning fabric and the entry door to accommodate the awning pitch (slope).
The awning fabric adjusts up to a 15° slope. See “Adjusting the Fabric Slope” on page 10.
Awning Dimensions
WARNING: IMPACT OR CRUSH HAZARD.
Locate the mounting bolts behind each shoulder assembly (lateral arm attachment) to provide proper support. Otherwise, the awning may become unstable and could bend or collapse. Failure to obey this warning could result in death or serious injury.
Mounting Bolts and Shoulder Assemblies (15-16 ft Model)
- Mounting Bolt
- Shoulder Assembly

Awning Dimensions and Hole Pattern Locations (Rear View)
- Depth: 4.0 in. (10 cm)
- Right End: 1.4 in. (4 cm)
- 6.4 in. (16 cm)
- Left End: 1.4 in. (4 cm)
Hole Pattern Locations Awning Width 8 ft 10 ft 12 ft 13 ft 15 ft 16 ft 5 5.9 in. (15 cm) 6.4 in. (16 cm) 6 — 60.9 in. (155 cm) 7 48.4 in. (123 cm) 60.9 in. (155 cm) 69.3 in. (176 cm) 79.0 in. (201 cm) 116.4 in. (296 cm) 8 90.8 in. (231 cm) 115.3 in. (293 cm) 132.0 in. (335 cm) 151.6 in. (385 cm) 180.3 in. (458 cm) 191.0 in. (485 cm) 9 98.0 in. (249 cm) 121.6 in. (309 cm) 138.4 in. (352 cm) 158.0 in. (401 cm) 186.6 in. (474 cm) 197.4 in. (501 cm)
Specifications
This section provides the electrical specifications.
Electrical Rating
| Voltage | Current | Speed | Protection Index | |
| Power Supply | 12 VDC | 5 A | — | — |
| Motor Rating | 12 VDC | 3.7 A | 15 rpm | IP44 |
The duty cycle for the awning motor is intermittent and of three minutes duration. There are two cycle types: extend and retract.
To prevent overheating, after three minutes of constant operation, the awning motor briefly halts operation to cool.
Installation
WARNING: ELECTRICAL SHOCK, FIRE, EXPLOSION, IMPACT, AND/OR CRUSH HAZARD. Failure to obey the following warnings could result in death or serious injury:
- Make sure there are no obstacles, such as wires or pipes, inside the RV’s wall, roof, or floor before drilling or cutting into the RV.
- Shut off the gas supply, disconnect the 120 VAC power from the RV; and disconnect the positive (+) 12 VDC terminal from the supply battery.
- Do not install the awning without also installing an ignition/safety interlock system. Otherwise, accidental operation during transit could occur.
- Do not over-tighten fasteners. Applying too much torque may cause fasteners or threads to fail and could allow the awning to collapse.
NOTICE: Do not pinch the wiring or allow the wiring to rub against sharp edges. If the wiring is damaged, it must be replaced by a qualified service technician.
NOTICE: Always use sealant on (clean) parts and surfaces where wiring or fasteners enter the RV’s walls, roof, or floor. Otherwise, water leakage could occur.
This section describes how to install and test the awning.
Attaching the Mounting Brackets
WARNING: IMPACT OR CRUSH HAZARD.
Make sure the mounting surface on the RV is flat, has solid structural backing where the fasteners penetrate the surface, and will safely and securely support the awning. Otherwise, the awning may become unstable and could detach, bend, or collapse. Failure to obey this warning could result in death or serious injury.
Make sure the mounting surface on the RV is flat and vertical. Any tilt affects the awning slope and door clearance.
- Confirm the gas supply is shut off, and the 120 VAC power from the RV and the positive (+) 12 VDC terminal from the supply battery are disconnected.
- Determine the installation location for the awning mounting brackets. Consider the dimensions and clearance requirements when determining the location. See “General Information” on page 3.

Marking the Bracket Holes- Top Line
- Bottom Line
- Vertical Line
- Bracket Hole Mark
- Position the mounting bracket in the installation location.
- Mark the bracket holes using a pencil.
- Draw a horizontal line connecting the two outside top bracket holes.
- Draw a horizontal line connecting the two outside bottom bracket holes.
Due to the nature of long extruded parts, the mounting bracket may be slightly bowed. Some hole locations may be above or below the marked horizontal line. - Draw vertical lines from each remaining hole to the closest horizontal line and the mark the intersection point for drilling.
- Determine if the wall behind the location is solid or non-solid.
A solid structure reaches from the RV floor to the roof and matches the width of the mounting bolt pattern behind each shoulder assembly.- If the wall is solid, go to “Securing the Mounting Bracket to a Solid Structure” on page 7.
- If the wall is non-solid, go to “Securing the Mounting Bracket to a Non-Solid Structure” on page 7.
Securing the Mounting Bracket to a Solid Structure
- Drill 1/4 in. clearance holes at each intersecting point on the horizontal lines.

Applying the Sealant- Mounting Bracket
- Sealant
- Carriage Bolts
- Mounting Holes
- Apply the sealant to the edge of the mounting bracket and around the drilled holes.

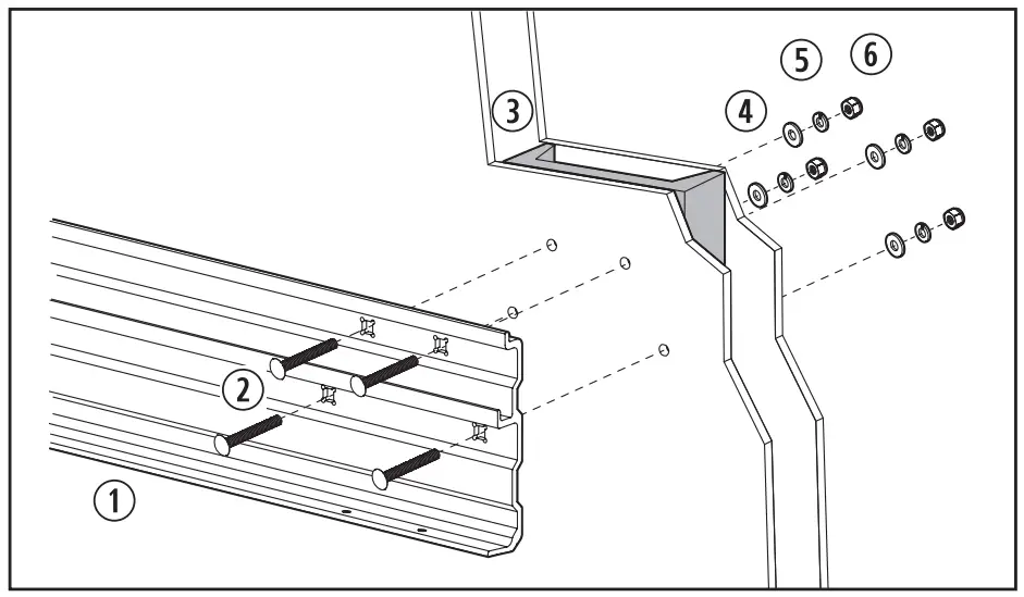
Securing the Mounting Bracket to a Solid Structure- Mounting Bracket
- Carriage Bolt
- RV Wall with Solid Structure
- Flat Washer
- Split Lock Washers
- Locknut with Nylon Insert
- Secure the mounting bracket to the RV wall.
- Torque the carriage bolts to 35 lb in. (±5 lb in.).
Securing the Mounting Bracket to a Non-Solid Structure
A non-solid structure requires the use of a backing plate on the inside RV wall in conjunction with sleeves and carriage bolts to support the awning.
Sleeves and carriage bolts (grade 8.8 minimum) must be cut to fit the RV wall, then remove any burrs (where cut) prior to installation.
Drill clearance holes large enough to accommodate the sleeves at each intersecting point on the horizontal lines.
Measuring Carriage Bolt and Sleeve Cuts
- Carriage Bolt
- Sleeve
- RV Wall
- 0.06 in. (2 mm)
- 0.56 in. (14 mm)
RV wall thicknesses over 1.44 in. (37 mm) require bolts longer than the provided M6 bolts, with a bolt head no taller than 0.13 in. (3.18 mm).

Applying the Sealant
- Mounting Bracket
- Sealant
- Carriage Bolts
- Mounting Holes

Securing the Mounting Bracket to a Non-Solid Structure
- Carriage Bolt
- Mounting Bracket
- RV Wall with Non Solid Structure
- Sleeve
- Flat Washer
- Split Lock Washer
- Locknut with Nylon Insert
Secure the mounting bracket to the RV wall.
Torque the carriage bolts to 35 lb in. (±5 lb in.).
Wiring the Switch
- Confirm the gas supply is shut off, and the 120 VAC power from the RV and the positive (+) 12 VDC terminal from the supply battery are disconnected.
The motor wire colors are blue (+) and brown (–).
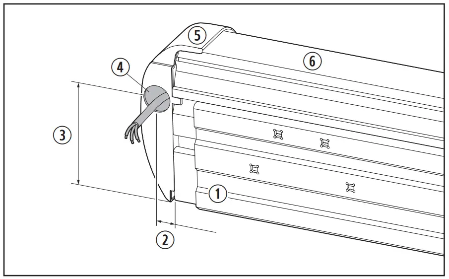
Measuring for Wiring Hole Location (Rear View)- Mounting Bracket
- Horizontal Distance
- 4.25 in. (108 mm)
- Wiring Hole
- RH End Cap
- Back Rail
- Calculate the horizontal distance: Subtract the mounting bracket length from the back rail length.
Divide the result by two. Add 0.63 in. (16 mm) to the result.
The distance from the end of the bracket to the end of the back rail may not be constant. - Measure the horizontal distance from the RH (righthand) end cap edge of the mounting bracket. Draw a vertical line.
- Measure 4.25 in. (108 mm) up from the bottom of the mounting bracket. Draw a horizontal line.
- Drill a 5/8 in. hole at the intersection of the horizontal and vertical lines.

Routing the Wiring (Rear View)- Mounting Bracket
- Grommet
- Wiring
- RV Wall
- Follow the installation instructions included in the Dometic rocker switch kit to wire the switch to the RV’s power supply. See “Installer-Supplied Parts” on page 4.
- Route the wiring through the RV wall using a grommet or heat-shrink tubing.
Mounting the Awning
WARNING: IMPACT AND/OR CRUSH HAZARD. Failure to obey the following warnings could result in death or serious injury:
- Do not operate, or leave the awning unattended until it is securely fastened to the mounting brackets.
Otherwise, the awning could dislodge and fall. - Take special care when extending the awning.
Otherwise, the awning could dislodge and fall.
CAUTION: LIFTING HAZARD.
Use proper lifting technique and control when lifting the awning. Failure to obey this caution could result in minor or moderate injury.
- Confirm the gas supply is shut off, and the 120 VAC power from the RV and the positive (+) 12 VDC terminal from the supply battery are disconnected.

Positioning the Awning- Awning
- Mounting Bracket
- Ask an assistant to help lift the awning up to the mounting bracket.

Hooking the Awning to the Mounting Bracket- Awning
- Wiring
- Mounting Bracket
- Back Rail
- Hook the awning to the mounting bracket.
- Follow the installation instructions included in the Dometic rocker switch kit to connect the switch wiring to the motorized arm assembly.
- Turn on the power supply to the RV.

Securing the Awning- Back Rail
- Mounting Bracket
- Self-Drilling Flatw Head Screw
- Extend the awning 1 in. (25 mm) to verify the back rail is contacting the mounting bracket
- Turn off the power supply to the RV.
- Secure the awning to the mounting bracket using the self-drilling flat-head screws.
Before securing the awning, confirm that the wiring connections are complete and that the wires are not caught between the awning and the RV wall.
Testing the Motor
CAUTION: PINCH HAZARD. Failure to obey the following cautions could result in minor or moderate injury:
- Keep clear of the arm assemblies while closing the awning. The arm assemblies close against the back rail.
- Maintain a horizontal distance of at least 16 in. (41 cm) between the fully opened awning and any permanent object.
- Turn on the power supply to the awning.
- Fully extend and retract the awning to verify that the awning is functioning correctly. Refer to the instructions in the 9500EZ Power Case/Cassette Awning Operation Manual.
Adjustments
This section provides instruction for performing optional adjustments to the awning.
Adjusting the Fabric Slope
WARNING: IMPACT OR CRUSH HAZARD.
Make sure the lateral arm assemblies are tied and supported securely with the lead rail before loosening fasteners. Otherwise the lead rail and lateral arm assemblies could shift and drop quickly and unexpectedly. Failure to obey this warning could result in death or serious injury.
CAUTION: PINCH HAZARD.
Keep clear of the pivot area while raising or lowering a lateral arm assembly. Failure to obey this warning could result in minor or moderate injury.
This section describes how to adjust the lead rail to increase or decrease the awning fabric pitch (slope).
Strapping the Lateral Arm Assemblies
- Shoulder Assembly
- 1 in. (25 mm)
- Wrist Assembly
- Lateral Arm Assembly
- Lead Rail
- Strapping
- Bottom of Awning
Support the weight of the lead rail and lateral arm assemblies before making adjustments.
- Extend the awning 1 in. (25 mm) and strap the lateral arm assemblies near the wrist and shoulder assemblies.
Adjust one lateral arm assembly at a time.
Adjusting the Lead Rail- Back Shoulder Collet
- Collet Clamp Screws
- Screw Lateral Arm Assembly
- Shoulder Bracket
- Pitch Adjustment
- Loosen the collet clamp screws and the pitch adjustment screw.
- Lower the lead rail to the desired position.
- Tighten the pitch adjustment screw until resistance is felt.
- Torque the collet clamp screws to 140 lb in.
- Repeat steps 2–4 for each lateral arm assembly.
- Remove all the strapping and support.
- Fully extend and retract the awning to verify that the awning is functioning correctly. Refer to the instructions in the 9500EZ Power Case/Cassette Awning Operation Manual.
Adjusting the Lateral Arm Assemblies
WARNING: IMPACT OR CRUSH HAZARD.
Do not completely remove fasteners, or loosen them so far that the shoulder base will disengage from the shoulder bracket. Otherwise, the lead rail and lateral arm assemblies could shift or drop unexpectedly, or the lateral arm assemblies could extend to the side, beyond the awning perimeter, quickly and unexpectedly. Failure to obey this warning could result in death or serious injury.
NOTICE: Do not allow the lateral arm assemblies to rub against the lower lip of the back rail when closing, or allow the awning fabric to contact the shoulder base when fully opened. Otherwise, premature wear and abrasions could occur.
This section describes how to adjust the lateral arm assembly closing height to raise or lower the elbow clearance.
Strapping the Lateral Arm Assemblies
- Shoulder Assembly
- 1 in. (25 mm)
- Wrist Assembly
- Lateral Arm Assembly
- Lead Rail
- Strapping
- Bottom of Awning
Support the weight of the lead rail and lateral arm assemblies before making adjustments.
- Extend the awning 1 in. (25 mm) and strap the lateral arm assemblies near the wrist and shoulder assemblies.

Loosening the Pivot Clamp Screws- Pivot Clam Screws)
- Lateral Arm Assembly
- Tilt Adjustment
Screw (Top-Front) - Tilt Adjustment
Screw (Bottom-Back) - Tilt Adjustment
Screw (Top-Back) - Tilt Adjustment Screw (Bottom-Front)
- Slightly loosen the pivot clamp screws for each lateral arm assembly requiring adjustment.
Adjust one lateral arm assembly at a time.
Retracting the Awning for Adjustment (Side View)- Shoulder Bracket
- Lateral Arm Assembly
- Top of Awning
- Back Rail
- Elbow Clearance
- Retract the awning until the lateral arm assembly elbow meets the top and back rail.
- Loosen the top-front and bottom-back tilt adjustment screws.
- Adjust the lateral arm assembly closing height as needed.
- Tighten the tilt adjustment screws.
- Repeat steps 4–6 until the elbow clearance is as desired.

Extending the Awning - Extend the awning 1 in. (25 mm).
- Torque the pivot clamp screws to 140 lb in.
- Repeat steps 2–9 for each lateral arm assembly.
- Remove all the strapping and support.
- Fully extend and retract the awning to verify that the awning is functioning correctly. Refer to the instructions in the 9500EZ Power Case/Cassette Awning Operation Manual.
Adjusting the Lead Rail Alignment
This section describes how to align the lead rail if it is not properly aligned with the top and end caps.
Adjusting the Lead Rail Alignment (Side View)
- Lead Rail
- Wrist Bracket
- RH End Cap
- Lateral Arm Assembly
- Adjustment Screw
- Wrist Pivot
- Extend the awning 6 in. (152 mm).
- Turn the adjustment screw on each lateral arm assembly.
- Turn clockwise to tilt the lead rail forward.
- Turn counter-clockwise to tilt the lead rail
backward.
- Retract the awning and check the lead rail alignment with the top and end caps.
- Repeat steps 2–3 as necessary.
Adjusting the Open and Close Limits
NOTICE: The motor should turn off and stop turning when the awning is fully closed. If the motor continues turning after the awning closes, damage to the motor or awning components may occur.
This section describes how to adjust how the front rail seats with the case and adjust the fabric extension.
Adjusting the Awning Fit
- RH End Cap (Bottom)
- Adjustment Screw Retraction
- Extension
Adjustment Screw
- Perform these actions to adjust the awning so that the front rail fits properly against the case when the awning is fully closed:
- To loosen the fit, turn the retraction adjustment screw clockwise (less awning retraction).
- To tighten the fit, turn the retraction adjustment
screw counterclockwise (more awning retraction).
- Perform these actions to adjust the awning so that the fabric is not overly taut or sagging when the awning is fully open:
- To loosen the fabric, turn the extension adjustment screw clockwise (less awning extension).
- To tighten the fabric, turn the extension adjustment screw counterclockwise (more awning extension).
Disposal
Place the packaging material in the appropriate recycling waste bins, whenever possible. Consult a local recycling center or specialist dealer for details about how to dispose of the product in accordance with all applicable national and local regulations.
LIMITED ONE-YEAR WARRANTY
LIMITED ONE-YEAR WARRANTY AVAILABLE AT DOMETIC.COM/EN-US/TERMS-ANDCONDITIONSCONSUMER/WARRANTY.
IF YOU HAVE QUESTIONS, OR TO OBTAIN A COPY OF THE LIMITED WARRANTY FREE OF CHARGE, CONTACT:
DOMETIC CORPORATION
CUSTOMER SUPPORT CENTER
5155 VERDANT DRIVE
ELKHART, INDIANA 46516
1-800-544-4881
CONTACT US
dometic.com/en-us/terms-and-conditions-consumer/contact-us
![]()































