DOMETIC 9500EZ Power Case or Cassette Awning

WARNING
Cancer and Reproductive Harm www.P65Warnings.ca.gov
Please read these instructions carefully and follow all instructions, guidelines, and warnings included in this product manual in order to ensure that you install, use, and maintain the product properly at all times. These instructions MUST stay with this product.
By using the product, you hereby confirm that you have read all instructions, guidelines, and warnings carefully and that you understand and agree to abide by the terms and conditions as set forth herein. You agree to use this product only for the intended purpose and application and in accordance with the instructions, guidelines, and warnings as set forth in this product manual as well as in accordance with all applicable laws and regulations. A failure to read and follow the instructions and warnings set forth herein may result in an injury to yourself and others, damage to your product, or damage to other property in the vicinity. This product manual, including the instructions, guidelines, and warnings, and related documentation, may be subject to changes and updates. For up-todate product information, please visit www.dometic.com.
Explanation of Symbols and Safety Instructions
This manual has safety information and instructions to help you eliminate or reduce the risk of accidents and injuries.
Recognize Safety Information
This is the safety alert symbol. It is used to alert you to potential physical injury hazards. Obey all safety messages that follow this symbol to avoid possible injury or death.
Understand Signal Words
A signal word will identify safety messages and property damage messages, and also will indicate the degree or level of hazard seriousness.
WARNING
Indicates a hazardous situation that, if not avoided, could result in death or serious injury.
CAUTION
Indicates a hazardous situation that, if not avoided, could result in minor or moderate injury.
NOTICE: Used to address practices not related to physical injury.
Indicates additional information that is not related to physical injury
Supplemental Directives
To reduce the risk of accidents and injuries, please observe the following directives before proceeding to operate or service this appliance:
- Read and follow all safety information and instructions.
- Read and understand these instructions before operating or servicing this product.
- The installation must comply with all applicable local or national codes, including the latest edition of the following standards:
- U.S.A.
- ANSI/NFPA70, National Electrical Code (NEC)
- ANSI/NFPA1192, Recreational Vehicles Code
- Canada
- CSA C22.1, Parts l & ll, Canadian Electrical Code
- CSA Z240 RV Series, Recreational Vehicles
General Safety Messages
WARNING: ELECTRICAL SHOCK, FIRE, AND/OR EXPLOSION HAZARD. Failure to obey the following warnings could result in death or serious injury:
- Use only Dometic replacement parts and components that are specifically approved for use with the appliance.
- Avoid improper installation, adjustment, alterations, service, or maintenance of the appliance. Service and maintenance must be done by a qualified service person only.
- Do not modify this product in any way. Modification can be extremely hazardous.
- Use care when diagnosing and/or adjusting components on a powered unit.
- Keep sources of heat and fire (barbecue grill, portable heater, etc.) away from the awning.
- Frequently examine this product for any imbalance (uneven fit, sagging, loose parts, etc.), and for signs of wear or damage to the wiring (if applicable) and other critical parts. Critical parts may include the awning fabric, cables, shoulder assemblies, etc. Do not use this product if adjustments or repairs are necessary.
- Disconnect the product from the power supply (if applicable), and do not operate the product when maintenance (such as window cleaning) is being carried out in the vicinity of the RV.
- Do not allow children to play with this product or with the fixed controls (if applicable). Keep remote controls (if applicable) away from children.
- Do not allow anyone (including children) with reduced physical, sensory, or mental capabilities, or a lack of experience and knowledge to use this product unless they have been given supervision or instruction (concerning the use of this product) by a person responsible for their safety.
WARNING: IMPACT OR CRUSH HAZARD. Failure to obey the following warnings could result in death or serious injury: - Never leave an open awning unattended. Keep the awning stowed (closed) when snow, heavy rain, wind, and severe weather conditions are expected.
- Do not allow water to pool, snow to accumulate, or heavy debris to remain on the awning fabric. Do not hang or place anything on the awning. The awning will become unstable and could bend or collapse.
CAUTION: PINCH HAZARD. Failure to obey the following cautions could result in minor or moderate injury: - Maintain a horizontal distance of at least 16 in. (41 cm) between the fully opened awning and any permanent object.
- Do not face the awning toward any permanent objects that may interfere with the awning’s operation.
- Keep clear of shoulder assemblies while the awning is open.
NOTICE: This product is for use with 12 VDC only
Intended Use
The 12 VDC Power Case/Cassette Awning (hereinafter referred to as “awning,” or “product”) is designed and intended for use on a Recreational Vehicle (hereinafter referred to as “RV”) with straight sides. It is especially wellsuited for RVs with an over-cab extension where there is not a sufficient surface for a bottom mounting bracket.
Use these instructions to ensure the correct operation of the product. This awning is only suitable for the intended purpose and application in accordance with these instructions.
This manual provides information that is necessary for proper operation of the awning. Poor installation and/or improper operating or maintenance will result in unsatisfactory performance and a possible failure.
The manufacturer accepts no liability for any injury or damage to the product resulting from:
- Incorrect assembly or connection, including excess voltage
- Incorrect maintenance or use of spare parts other than original spare parts provided by the manufacturer
- Alterations to the product without express permission from the manufacturer
- Use for purposes other than those described in this manual
Dometic reserves the right to change product appearance and product specifications.
Operation
WARNING: IMPACT OR CRUSH HAZARD.
Failure to obey the following warnings could result in death or serious injury:
- Do not travel in the RV if the awning fabric is torn or damaged, even if the awning closes fully. Damaged awning fabric can compromise the awning’s stability and could allow the awning to extend quickly and unexpectedly during transit.
- Verify that the ignition/safety interlock is working correctly before traveling in the RV. If the awning responds to the wall switch when the ignition is in the ON position, accidental operation during transit could occur. Disable the awning. Contact a qualified service technician.
CAUTION: PINCH HAZARD.
Keep clear of the shoulder assemblies while closing the awning. Shoulder assemblies close against the back rail. Failure to obey this caution could result in minor or moderate injury.
NOTICE: Do not allow the awning fabric to rest on the rafters. Wind can cause the awning fabric to rub against the shoulder assemblies, which could result in premature wear and abrasions.
This section describes how to operate, and adjust the awning.
Extending and Retracting the Awning
Switch appearance may vary.

Wall Switch Operation
① Wall Switch
② Extend/Retract Position
③ Stop Position
④ Extend/RetractPosition
- Locate the wall switch for the awning.
- Press and hold the switch to extend or retract the awning.
- Release the switch to stop the movement of the awning.
The awning automatically stops when the switch is released, regardless of the awning position at the time of release.
Testing the Awning Before Travel
Perform the following actions to check the awning function prior to any travel:
- Inspect the awning for damage. If the fabric is torn, tie the lateral arm assemblies tightly before travel.
Contact a qualified service technician for repairs. - Test the ignition/safety interlock system by turning the ignition to the ON position. Attempt to retract the awning. If the awning operates, contact a qualified service technician.
To prevent overheating, after three minutes of constant operation, the awning motor briefly halts operation to cool.
Closing the Awning Using an Auxiliary Power Method
WARNING: ELECTRICAL SHOCK HAZARD.
Disconnect the power from the product before working on any wiring connections. Problems may be present that mimic a power failure while the electric current is still present, or power may return unexpectedly. Failure to obey this warning could result in death or serious injury.

Disconnecting the Motor Connector
① Wiring Hole
② RV Wall
③ RH End Cap
④ Wiring
After the awning is closed, it will require service by a qualified service technician. Rule out simple causes for the power failure before proceeding.
Refer to “Troubleshooting” on page 8.
- Disconnect all power to the RV and the awning.
- Unplug the motor connector from the RV wiring connector inside the RH (right-hand) end cap.
3. Using one end of 16-gauge wire leads:
a. Connect the positive (+) lead wire to the BLUE motor wire.
b. Connect the negative (–) lead wire to the BROWN motor wire.
c. Secure the connections using electrical tape. - Connect the other end of the 16-gauge wire leads to the positive (+) and negative (–) terminals on an external 12 VDC power source.
a. If the awning retracts, disconnect the wire leads from the power source after the awning retracts fully.
b. If the awning does not retract, proceed to “Closing the Awning Manually” on page 5.
Closing the Awning Manually
Read the following information before proceeding with this section:
- Perform these steps only if the awning did not retract after performing the steps in “Testing the Awning Before Travel” on page 4.
- Use a 3/8 in. wrench (or drill) and a flat-bladed screwdriver to complete these steps.
- The awning may have up to a 4 in. (10 cm) gap when closed. To remove the gap, readjust the awning close limit after a qualified service technician has repaired the awning. See “Adjusting the Open and Close Limits” on page 6.
- Disconnect all power to the RV and the awning.
- Go to the RH end cap.
- Unplug the motor connector from the RV wiring connector inside the RH end cap. See Figure 2.

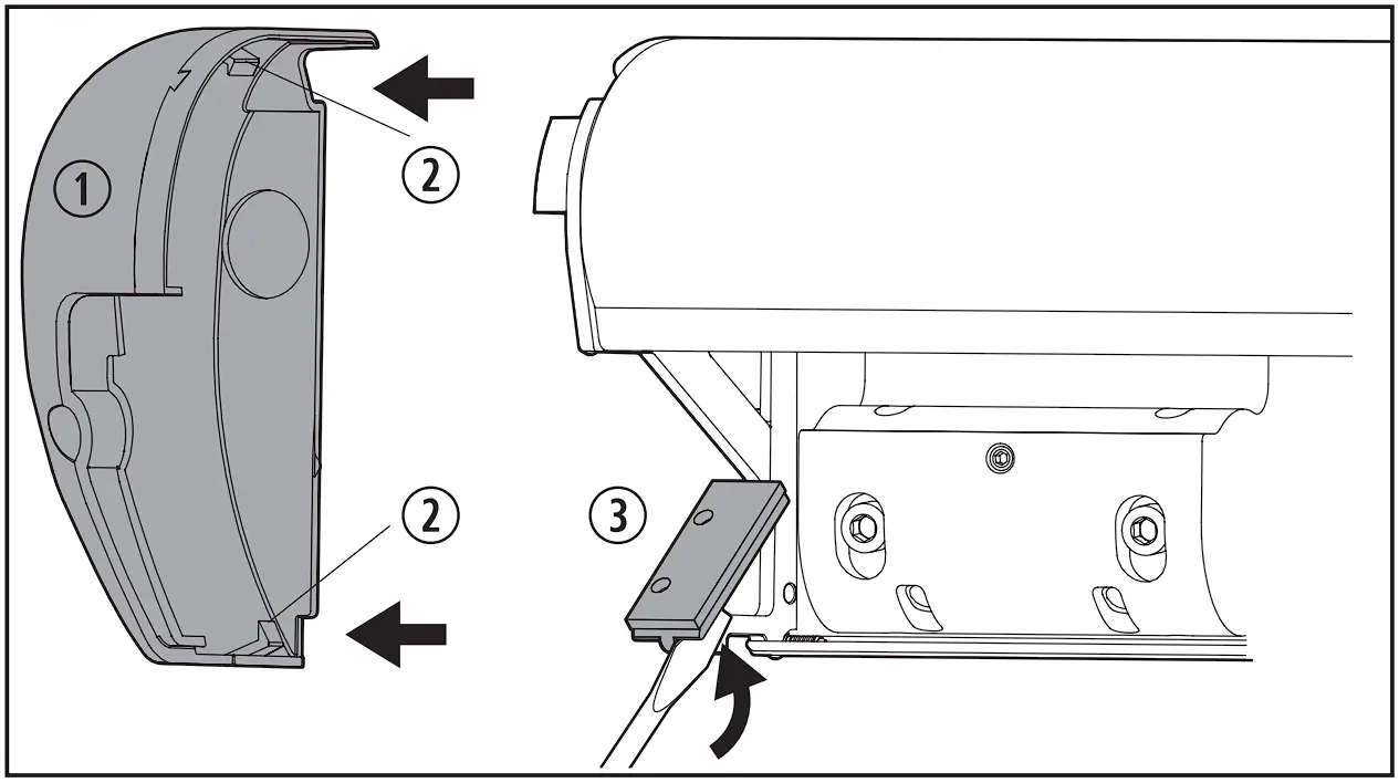
Removing the LH End Cap
① LH End Cap
② LH End Plate
③ Tab - Move to the LH (left-hand) end cap.
- Place a flat-bladed screwdriver under the LH end plate.
- Gently turn the screwdriver to lift the plate until the tabs on the LH end cap release.
- Pull the LH end cap away from the awning end.

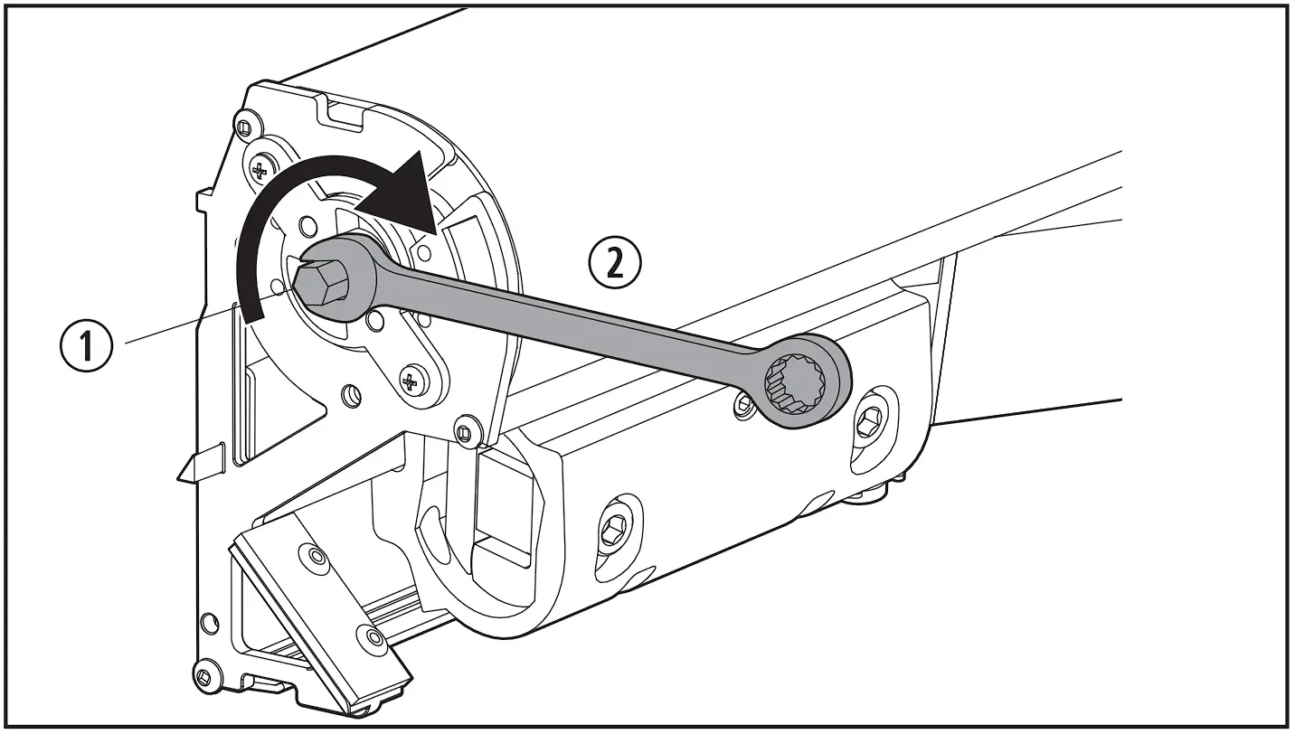
Closing the Awning
① Hex Rod
② 3/8 in. Wrench - Use a 3/8 in. wrench (or drill) to turn the hex rod until the awning is closed.
The awning may not close completely. Up to a 4 in. (10 cm) gap may exist between the lead rail and the awning case. - Reverse these steps to reinstall the LH end cap.
Adjusting the Open and Close Limits
NOTICE: The motor should turn off and stop turning when the awning is fully closed. If the motor continues turning after the awning closes, damage to the motor or awning components may occur.
This section describes how to adjust how the front rail seats with the case and adjust the fabric extension.

Adjusting the Awning Fit
① RH End Cap (Bottom)
② Retraction Adjustment Screw
③ Extension Adjustment Screw
- Perform these actions to adjust the awning so that the front rail fits properly against the case when the awning is fully closed:
– To loosen the fit, turn the retraction adjustment screw clockwise (less awning retraction).
– To tighten the fit, turn the retraction adjustment screw counterclockwise (more awning retraction). - Perform these actions to adjust the awning so that the fabric is not overly taut or sagging when the awning is fully open:
– To loosen the fabric, turn the extension adjustment screw clockwise (less awning extension).
– To tighten the fabric, turn the extension adjustment screw counterclockwise (more awning extension).
Maintenance
WARNING: ELECTRICAL SHOCK, FIRE, AND/OR EXPLOSION HAZARD. Failure to obey the following warnings could result in death or serious injury.
- Always disconnect the product from the power source before cleaning and/or servicing.
Maintenance must be done by a qualified service person only. - Do not use rechargeable batteries (NiMH, NiCD, etc.). Disposable Lithium or Alkaline batteries are recommended. Do not mix battery types.
- Make sure that the battery polarity is matched correctly to the battery compartment.
NOTICE: Failure to heed the following notices could result in product or property damage: - Do not use insecticides or other sprays near the awning fabric. These could cause stains, and could adversely affect the fabric’s ability to repel water.
- Do not use silicone sprays near labels as the adhesive bond to product surfaces could weaken.
- Do not expose the product to adverse environmental conditions, corrosive agents, or other harmful conditions.
- Do not allow the corner of the entry door to contact the awning fabric. Premature wear or tearing of the awning fabric could occur.
- Never close the awning for storage when wet. The combination of moisture and dirt could result in mildew, discoloration, and stains. If it is necessary to roll up the awning temporarily while wet, make sure to roll it out and let it dry (as soon as conditions allow) before rolling it up again.
- Do not allow dirt, leaves, or other debris to accumulate on the awning. This could cause abrasions, or mildew may grow on the organic debris and cause permanent discoloration, stains, and odors on the awning fabric.
- Do not use strong chemicals or abrasives to clean the awning parts as their protective surfaces can be damaged. Do not use abrasive or corrosive cleaners, mildew removers, or hard bristle brushes on the awning fabric.
- Remove any cleaning solution completely from the awning fabric. Bleach will degrade the awning fabric if not completely rinsed off.
The maintenance and cleaning instructions provided in this section should be performed at regular intervals, or as needed, depending on the use of the product.
Failure to properly maintain the product may void the warranty and could result in unsafe operation. Preventive maintenance is not covered under the warranty.
Maintaining the Hardware

Lubricating the Movable Awning Parts
① LH End Cap
② RH End Cap
③ Silicone Lubricant
Spray silicone lubricant on the moving parts of the awning.

Lubricating the Shoulder Assembly Joints
① Shoulder Assembly Joint
② Silicone Lubricant
Spray silicone lubricant at the joints of the shoulder assemblies.
Maintaining the Awning Fabric
Wrinkling is a normal characteristic of a vinyl awning. To minimize wrinkling, leave the awning open during warm weather. If a slight “travel line” appears where the door roller (if installed) contacts the fabric, the integrity of the fabric will not be affected.
Cleaning the Awning Fabric

Cleaning the Awning Fabric
① Awning Fabric
② Cleaning Solution
- Mix a cleaning solution of 1/4 cup dish soap and 1/4 cup bleach with five gallons of fresh water.
- Open the awning.
- Apply the cleaning solution.
- Close the awning for five minutes, then open the awning.
- Using clean water, completely remove the cleaning solution from the top and bottom of the awning fabric. Rinse thoroughly.
- Repeat the process as necessary.
- Verify that the awning fabric is dry before closing the awning.
Repairing the Awning Fabric
NOTICE: Never close the awning when vinyl liquid patch (VLP) is wet. Damage to other parts of the awning fabric (melting through layers) can occur.

Repairing the Awning Fabric
① VLP
② Pinhole Tear
To repair a pinhole or a spot flaked off of the coating:
- Apply a very small amount of VLP to a cotton swab.
- Gently roll the cotton swab around the pinhole.
The VLP melts the coating (on the fabric) and fills in the pinhole so it blends with the vinyl color. - Verify that the VLP is dry before closing the awning.
VLP is available from Dometic Corporation.
Troubleshooting
| Problem | Possible Cause | Recommended Solution |
| The awning motor does not respond to the wall switch operation. | The awning is disconnected from the power source. | Check all the power connections. |
| The RV or power source breaker is tripped, or the fuse is blown. | Reset the breaker, or replace the fuse as necessary. If the issue persists, contact a qualified service technician. | |
| A power line switch is off, or the ignition disconnect switch is ON. | Turn the power line switch ON, or the ignition disconnect switch OFF. | |
| The RV battery has discharged. | Recharge the RV battery. | |
| The awning motor is damaged or defective. | Close the awning manually and contact a qualified service technician. | |
| The awning does not fully extend, or extends too far (fabric edge sags). | The awning open limit is set incorrectly. | See “Adjusting the Open and Close Limits” on page 6 to reset the limit. |
Disposal
Place the packaging material in the appropriate recycling waste bins, whenever possible. Consult a local recycling center or specialist dealer for details about how to dispose of the product in accordance with all applicable national and local regulations.
LIMITED ONE-YEAR WARRANTY
LIMITED ONE-YEAR WARRANTY AVAILABLE AT
DOMETIC.COM/EN-US/TERMS-AND-CONDITIONSCONSUMER/WARRANTY.
IF YOU HAVE QUESTIONS, OR TO OBTAIN A COPY OF THE LIMITED WARRANTY FREE OF CHARGE, CONTACT:
DOMETIC CORPORATION CUSTOMER SUPPORT CENTER 5155 VERDANT DRIVE ELKHART, INDIANA 46516
1-800-544-4881
CONTACT US
dometic.com/en-us/terms-and-conditions-consumer/contact-us
![]()




















