Teufel T4000 Flat Subwoofer Active Subwoofer and Wireless Module Instruction Manual
General notes and information
Notice
The information in this document may change without prior notice and in no way constitutes any liability on the part of Lautsprecher Teufel GmbH.
No part of this instruction manual may be reproduced in any form or be broadcasted in any way electronically, mechanically, by photocopy or recording without the written permission of Lautsprecher Teufel GmbH.
© Lautsprecher Teufel GmbH
Version 3.0
March 2022
Original packaging
If you wish to exercise your right of return, we ask that you be absolutely sure to hold onto the packaging. We can only accept the return of the flat subwoofer WITH ORIGINAL PACKAGING.
Empty boxes are not available!
Complaints
In case of complaint we will need the following information to process your enquiry:
- Invoice number
Can be found on the sales slip (enclosed with the product) or on the order confirmation received as a PDF document, e.g. 4322543 - Serial number or batch number
Located on the back of the device, e.g. serial no.: KB20240129A-123.
Thank-you for your support!
Contact
Please contact our customer service with any questions, suggestions or criticism:
Lautsprecher Teufel GmbH
BIKINI Berlin
Budapester Str. 44
10787 Berlin (Germany)
Phone 00800 – 200 300 40 (toll-free)
Fax: +49 (0)30 / 300 930 930
Service: www.teufelaudio.com/service
Contact: www.teufelaudio.com/contact
Proper use
The T4000 Flat Subwoofer is intended exclusively for the playback of low tones and for use as part of a speaker system.
Only use the subwoofer as described in this instruction manual. Any other use will be deemed as not in accordance with the instructions and may lead to damage of property or even persons.
The manufacturer accepts no liability for damage caused by use not in accordance with the instructions.
The T4000 flat subwoofer is intended for private use.
To improve readability, the T4000 flat subwoofer will be referred to as the “subwoofer” in this instruction manual.
Before operating the subwoofer for the first time, please read the safety notes and instruction manual carefully. Only in this way, can you ensure that all functions are used in a safe and reliable manner. Store the instruction manual in a safe place and also be sure to pass it on to any subsequent owner.
For your safety
Signal terms
You will encounter the following signal terms in this instruction manual:
WARNING
This signal term indicates a moderate risk, which, if not avoided, may result in death or severe injury.
CAUTION
This signal term indicates a low risk, which, if not avoided, may result in minor or moderate injury.
NOTE
This signal term warns you of potential damage
Safety notes
WARNING
Improper electrical installation or excessive mains voltage may result in an electrical shock.
- The device is suitable for a mains voltage of 230 V ~ / 50 Hz. When connecting the device, make sure that the correct voltage is present. You can find more information in this respect on the nameplate.
- Check the device regularly for damage.
Immediately disconnect the mains plug and do not operate the device if its housing or mains cable is defective or exhibits other visible damages. - Please pull the mains plug to completely disconnect the device from the mains.
The mains plug must be easily accessible so that the device can be disconnected from the mains at any time. - If the device emits smoke, smells burnt or produces unusual sounds, immediately disconnect it from the mains and do not operate it further.
- Never open the device housing.
Repairs may only be carried out by an authorised specialist workshop. In the process, only parts that correspond to the original device data may be used. - Only use the accessory products specified by the manufacturer.
- Only use the device in indoor areas.
- Do not operate the device in wet rooms and pro tect it from dripping and splash water. Make sure that no vases or other vessels filled with liquid are located on the device or nearby in order to prevent liquid from penetrating the housing. If water or other debris ends up penetrating the housing, immediately pull the mains plug and take out any batteries. Then send the device to our service address.
- Never touch the mains plug with wet hands.
Children can become trapped in the packing film when playing and suffocate. - Do not allow children to play with the device or the packing film. Danger of suffocation.
- Ensure that children do not remove small parts from the device or take them off of the device (e.g. control knobs or plug adapters). They could swallow the parts and choke.
- Never let children use electrical equipment unsupervised.
Extended listening at high volumes may lead to hearing loss. - To avoid damage to health, avoid extended listening at high volumes.
- When the volume is set high, always keep a certain distance from the device and never place your ear directly on the speaker.
- If a speaker is set to full volume, this may produce very high sound pressure. This may have psychological consequences and also cause physical injury. Children and pets are particularly at risk.
Set your signal source device volume control to a low setting before turning on the power.
CAUTION
An unsuitable setup location could lead to damage.
- Do not use the device at extreme temperatures or in areas where there is a risk of fire or explosion.
- Never use the subwoofer unmounted in vehicles, in unstable locations, on wobbly tripods or furniture, on insufficiently dimensioned brackets etc.
The subwoofer could tip or fall down and cause injury to persons or be damaged itself. - Place the subwoofer in such a way that it cannot be knocked over inadvertently and make sure that the cables do not pose a trip hazard.
- Carefully follow the instruction manual.
In case of a wall mounting, proceed with caution and follow the instruction below:
- If mounting the subwoofer on the wall, make sure that this task is done in a professional manner.
- In case of a wall mounting, make sure that the walls have sufficient carrying capacity.
- Make sure that there are no cables or pipes in the drilling areas. Before you drill, use a metal detector to check the applicable areas. Otherwise, there is a risk of electrocution/short-circuiting!
NOTE
External influences may damage or destroy the device.
- If the device is to be left unsupervised for a long period (e.g. during a holiday), or if a thunderstorm is forecast, disconnect the power plug from the mains power supply. Otherwise, sudden overvoltage could cause the device to become defective.
- If the device is subjected to warm temperatures after being cold (e.g. after transport), condensation may occur inside of it. In this case, wait at least 2 hours before you connect and activate it.
Improper use may lead to damage or fire.
- Do not place open flames such as burning candles or similar on the device.
- Ensure sufficient ventilation.
- Do not place the device in direct sunlight.
The isolation pads can produce discolouration on sensitive surfaces.
On parquet, varnished wood and similar surfaces, you should stick felt gliders to the rubber feet of the subwoofer or put blankets or small carpets under them. This will prevent discolouration of the floor over the long term.
Explanation of symbols
| Safety class II Dual insulation |
| Risk of electrical shock – do not open the housing. Disconnect the mains cable before changing a fuse. |
| T2 AL / 250 V fuse |
Overview
Unpacking
NOTE
The 3 speakers of the subwoofer are located on its underside.
- When lifting the subwoofer out of the box, do not reach into the sensitive diaphragms.
- Carefully open the box and lift out the subwoofer and remove all packaging parts.
Product contents


- 1 x T4000 Flat Subwoofer
- 1 x mains cable
- 1 x cable tie
- 2 x isolation pads
Instruction manual
Warranty card
Optional accessories - 1 x wireless plug-in module
Checking the delivery
- Check that all items have been delivered and that nothing is damaged.
- If the delivery is incomplete or exhibits transport damages, please contact our service team (see page 3).
- Do not in any case operate the device if it is damaged.
Control elements and connections


Warning
SHOCK HAZARD!
DISCONNECT SUPPLY PLI BEFORE REPLACING FUS
RISK OF FIRE!
REPLACE FUSE AS MARKEC
| Item | Label | Description |
| 1 | POWER | Power LED (green = on, red = sleep mode/standby) |
| 2 | SUB LEVEL | Volume control for subwoofer |
| 3 | HIGH-PASS | Controller for frequency above which the subwoofer operates |
| 4 | CLIP | Overload indicator (red) |
| 5 | POWER | Mains switch |
| 6 | — | Mains connection jack |
| 7 | — | Mains fuse Switch for shifting the |
| 8 | PHASE | phase (shifts the subwoofer phase by 180°) |
| 9 | INPUT | Toggle for the subwoofer input (WIRELESS / SUB IN) |
| 10 | POWER | Automatic activation/deactivation or permanent activation |
| 11 | AUTO LEVEL | Activation sensitivity control for the automatic activation/ deactivation function |
| 12 | SUB IN | RCA input jack |
| 13 | PAIRING | Button for establishing the wireless connection |
| 14 | STATUS | Power LED for the wireless connection |
| 15 | Bay for the wireless plug-in module ® |
Setup/wall mounting
Setup location
The construction of the T4000 Flat Subwoofer offers a wide range of setup possibilities.
Location tips
- Select a stable, level base or a load-bearing wall.
- Make sure that the environment is clean and free from dust.
- Select a location away from heat sources and direct sunlight.
- Lay the connector cables so that they do not pose a tripping hazard.
- Do not place any heavy objects on the cables.
Suitable locations:
- directly under the TV set (observe the max. carrying capacity of 50 kg),
- under the sofa,
- securely mounted on the wall,
- generally, you can also set it up at any other location in the room as the human ear is unable to localize low tones.
Unsuitable locations
- However, do not set it up in the corner of the room as this may result in uncontrollable frequency rises.
Preparation

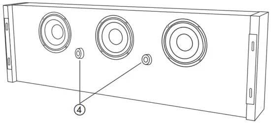
- Stick the two insulation pads ④ on the intermediate axis between the drivers.
They prevent vibrations and provide additional stability if the subwoofer is set up in a level position or wall mounted. - If the base is uneven (e.g. floorboards), you can also select other positions for the isolation pads so that the subwoofer is in a level position on the side support points and the isolation pads.
Wall mounting
You will need the following material to mount the subwoofer on a solid stone wall:
- 4 x dowels (ø 8 mm)
- 4 x flat headed screws, 5 x 50 mm
- 1 cable tie ③
Tools: - Spirit level
- Ruler
- Pencil or similar
- Drill with an 8 mm rock drill
- Screwdriver
- 4 mm Allen key
CAUTION
Make sure that there are no cables or pipes in the drilling areas. Before you drill, use a metal detector to check the applicable areas. Otherwise, there is a risk of electrocution / short circuit or a risk of water damage!
NOTE
Proceed with care when mounting the product on the wall and follow the instructions below.
- Only qualified persons may mount the subwoofer on the wall.
- The device may only be mounted on a suitable, solid wall. Special dowels or anchors may be necessary when mounting the product on lightweight walls. Consult a qualified professional in this case
- Unscrew the two side parts.
- If you want the drivers to be visible or turned up, you can unscrew the brackets, remove the red frame and remount both after a rotation by 180°.
- Transfer the positions of the keyhole openings of the angle brackets 17 to the wall where you would like to hang up the subwoofer. Use a ruler, pencil and spirit level for this.

- Use a metal detector to check the drill areas. If necessary, select another area for mounting the subwoofer.
- Use an 8 mm rock drill to drill holes, which are approx. 45 mm deep, at the marked positions.
- Insert the dowels (ø 8 mm) all the way into the drill holes.

- Screw the subwoofer securely onto the wall so that the screws are located in the small slot of the keyhole openings of the angle brackets 17 and the subwoofer is securely mounted on the wall.

- Mount the frame 18 again and screw the side parts securely back in place.
- Use the enclosed cable tie ③ to bundle the connector cables. Then pull the protective foil off of the baseplate of the cable tie and affix it to a suitable location.
Connection
Connecting to a power supply

- Ensure that the mains switch 5 is off (“OFF” position).
- Connect the mains connection jack 6 with a mains socket using the mains cable ③.
Audio connection

You can set the audio input of the subwoofer using the switch 9 “INPUT”:
- “WIRELESS” – If you have inserted a wireless plug-in module ⑤ and your amplifier supports a wireless connection with the subwoofer (you can find a list of compatible devices on www.teufel.de or www.teufelaudio.com).
- “SUB IN” – If you have connected the subwoofer to the subwoofer output on your amplifier.
Connection via SUB IN

- Use a mono RCA cable (not included in the product contents) to connect the jack 12 “SUB IN” to the subwoofer output on your amplifier.
Wireless connection
If you would like to establish a wireless connection between your compatible amplifier and the T4000, you can order a wireless plug-in module ⑤ and a corresponding transmitter unit in our web shop.
NOTE
Risk of damage!
Switch the subwoofer off and pull out the mains plug before you insert or pull out the module.
- Switch your T4000 Flat Subwoofer off and pull the mains plug.
- Insert the wireless plug-in module ⑤ in bay 15.
The module’s plug connector only fits the bay in one direction. Do not apply force. If necessary, turn the module around. - Switch on your subwoofer and your wireless-compatible amplifier.
The two devices will now connect automatically. An existing connection is indicated by the blue LED 14 “STATUS”.
Proceed as follows to connect for the first time or if the devices do not connect automatically or the connection is interrupted:- Hold the button 13 “PAIRING” down until the LED 14 “STATUS” blinks.
- Then perform the corresponding steps for your amplifier to establish the connection (for this, refer to the instruction manual for your amplifier).
Use and settings
Activating and deactivating

Use the mains switch 5 to switch the main power supply on or off. When the subwoofer is activated, the power LED 1 is green. If the subwoofer is in standby, it is red.
Automatic activation/deactivation

- You can toggle between the operating modes with the switch 10 “POWER”:
ON The subwoofer is permanently switched on.
AUTO The subwoofer switches itself on as soon as an audio signal is present. If there’s no audio signal for approx. 20 minutes, the subwoofer switches to standby. - If the auto-function doesn’t switch correctly, you can increase or decrease the sensitivity using the controller 11 “AUTO LEVEL” by turning it clockwise (to increase it) or counter-clockwise (to decrease it). You will need a small screwdriver to do this.
Adjusting the amplifier and subwoofer
Most amplifiers provide a menu with settings for the speakers (called “Speaker Setup” or similar).
Amplifier settings
If possible, use the amplifier’s calibration function so that it adjusts the levels, phase and run times to the room. If your receiver doesn’t provide an automatic calibration function, the following values are recommended:
- Subwoofer to “On”.
- Crossover frequency for subwoofer (cut-off frequency) to 80–150 Hz depending on the connected speaker system.
Subwoofer settings

- Move the switch 10 “POWER” to “AUTO”.
- Move the switch 9 “INPUT” to “SUB IN”.
- Set the volume control 2 “SUB LEVEL” to the medium setting (“0 dB”).
- Set the controller 3 “HIGH-PASS” to “20 Hz”. This determines the frequency at which the subwoofer starts to play back bass tones.
- Perform an audio test now and adjust the volume control 2 “SUB LEVEL” until the subwoofer can be “easily heard”. However, it must not drone.
- If any deep “hits” are too hard increase the setting of the controller 3 “HIGH-PASS”.
- Repeat these steps with different CDs and DVDs.
Care and cleaning
- Ideally, you should remove dust or small amounts of dirt with a dry, smooth leather cloth.
- Before you wipe off stubborn dirt with a damp cloth, pull the mains plug. Make sure that no liquid penetrates the housing.
- Then immediately wipe the damp surfaces off with a soft cloth without applying pressure.
Note
Risk of damage!
Using the wrong cleaning agents may damage the delicate surface of the case.
- If possible, only use plain water without any additives. In case of stubborn marks, a mild soap solution may be used.
- In no circumstances should caustic cleaning products, white spirit, thinners, petrol or similar be used for cleaning.
Troubleshooting
The following advice should help you to solve problems. If this does not help, you will find useful information in the detailed FAQs on our website. Otherwise, please contact our hotline (see page 3). Take note of the warranty instructions.
| Problem | Possible cause | Solution | |
| The subwoofer doesn’t work. | The subwoofer is off or doesn’t have any power. | Activate the subwoofer with the mains switch 5. Check the mains cable and socket. | |
| Input signal is too weak. | The following solutions are possible:
| ||
| The overload protection has been triggered and the indicator 4 “CLIP” is illuminated in red. | Let the device cool off and slightly reduce the level using the controller 2 “SUB LEVEL”. | ||
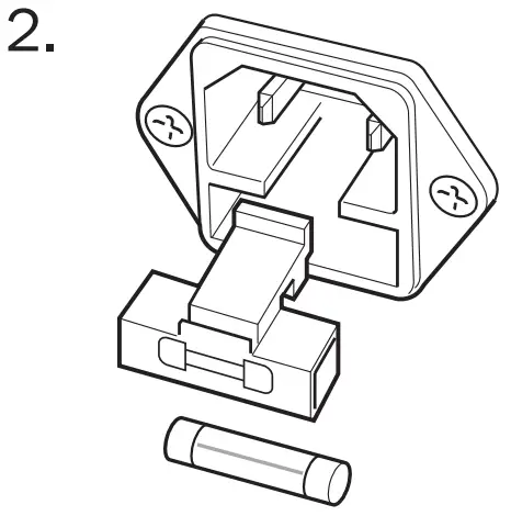
| Fuse defective. | ![]() Disconnect the mains cable. Carefully pull the fuse holder on the mains connection jack out. | ![]() Push the old fuse down and out. Insert a new fuse (2 A delayed action) and push the holder back. | |
| The subwoofer hums. | The subwoofer is connected to a different power circuit from the amplifier. | Connect the amplifier and T4000 Flat Subwoofer to the same power circuit. | |
| The humming is caused by problems with the power supply. | Buy a mains filter and connect the amplifier and subwoofer to it. | ||
| The humming is caused by a multiple socket strip. | Use a different multiple socket strip or connect the subwoofer directly to the wall socket. It may also help to insert the mains plug in the socket the other way around. | ||
| The subwoofer does not automatically turn off. | The switch 10 “POWER” is set to “ON”. | Set the switch 10 “POWER” to “AUTO”. | |
Technical data
| Dimensions (WxHxD) | 955 x 125 x 300 mm |
| Weight | 13.2 kg |
| Operating voltage | 230 V~/50 Hz |
| Max. power consumption | 250 watts |
| Maximum carrying capacity | 50 kg |
You can find further technical data on our website. Technical changes reserved!
Declaration of Conformity
Lautsprecher Teufel GmbH declares that this product complies with Directive 2014/53/EU. The full text of the EU Declaration of Conformity can be found at this web address:
www.teufel.de/konformitaetserklaerungen
www.teufelaudio.com/declaration-of-conformity
The following radio frequency bands and radio transmitters are used in this product:
| Radio network | Frequency bands in Mhz | Transmitter power mW/dBm |
| Avnera | 2405.35–2477.35 | 1/0 |
Important information in accordance with the Electrical and Electronic Equipment Act (Germany: ElektroG)
We advise owners of electrical and electronic appliances that old electrical and electronic devices must be handed in separately from municipal waste, in accordance with the applicable regulations. Batteries and rechargeable batteries that are not firmly enclosed in old electrical devices and lamps, and that can be removed from the old device without destroying them, must be separated from them in a non-destructive manner before they are handed to the collection point for their intended disposal. Please take note of our information on the Batteries Act
[Germany: BattG] below for disposing of batteries.
You make an important contribution to returning, recycling and further processing of old devices if you separate your old devices into the correct collection groups for recycling.
The symbol below of a crossed-out dustbin, applied to electrical and electronic appliances, also advises of the duty to separate collections:
Consumer electronics stores and supermarkets are obliged, under certain conditions, to take back ol electrical and electronic devices, in accordance with section 17 of the Electrical and Electronic Equipment Act. Stationary retailers must take back an old electrical device of the same type when a new electrical device is bought (1:1 return). This also applies to home deliveries. These retailers must also take back up to three small old electrical devices (≤ 25cm) without this being linked to a new purchase (0:1 return).
In accordance with the Electrical and Electronic Equipment Act, as online retailers of electrical devices and due to our product range, our obligation is limited to 1:1 return of large devices of > 50 cm when selling a new electrical or electronic device of the same type. We comply with the obligation of return of devices other than large devices through our service provider. You can find the exact contac data and collection points on our website www.Teufel.de/entsorgung. It is also possible to return old electrical and electronic appliances free o charge at an official delivery point run by the public waste disposal authorities.
Please contact our customer service department with any questions, suggestions, or complaints:
Lautsprecher Teufel GmbH BIKINI Berlin Budapester Str. 44
10787 Berlin (Germany)
www.teufelaudio.com
Phone.: 00800 200 300 40 (toll-free)
Fax: +49 (0)30 – 300 930 930
Service: www.teufelaudio.com/service
Contact: www.teufelaudio.com/contact
No responsibility is assumed for the correctness of this information.
Technical changes, typographical errors and other errors reserved.

Extended listening at high volumes may lead to hearing loss.























