Miele WSD323 WCS 8kg Washing Machine

OVERVIEW
Front view

① Water inlet hose (pressure tested to 7000 kPa)
② Mains connection cable
③ Flexible drain hose (with detachable swivel elbow)
④ Control panel
⑤ Detergent dispenser drawer
⑥ Door
⑦ Access to drain filters, drain pumps and emergency release
⑧ Four height-adjustable feet
Rear view

① Drain hose
② Transport clips for inlet and drain hoses and mains connection cable
③ Mains connection cable
④ Protruding lid for holding when moving the machine
⑤ Water inlet hose (pressure tested to 7000 kPa)
⑥ Safety caps for transit bars
⑦ Transport clips for inlet and drain hoses and for storing transit bars when not in use
Installation
Installation surface
A concrete floor is the most suitable installation surface. It is far less prone to vibration during the spin cycle than wooden floorboards or a carpeted surface.
Please note:
- The machine must be level and securely positioned.
- To avoid vibrations during spinning, the machine should not be installed on soft floor coverings.
If installing on a wooden joist floor:
- Install the machine on a plywood base (at least 59 x 52 x 3 cm). The base should span several joists and be bolted to the joists and not only to the floorboards. Check for the presence of pipes and cables first.
Tip: If possible, install the machine in a corner. This is usually the most stable part of the floor.
Injury can occur if the washing machine has not been adequately secured.
During installation, the washing machine must be secured on a plinth to be made available on site (concrete or brick), in order to ensure it cannot fall or slip. Secure the washing machine using a clamp/fastening bracket (MTS floor mounting kit – available from your Miele dealer or Miele spare parts department).
Transporting the washing machine to its installation site
Danger of injury due to unsecure lid.
Make sure the fixings at the back of the lid are secure. Otherwise there is a danger of the lid being pulled off when carrying the machine.
Before carrying the machine check that the lid is secure where it protrudes at the back of the machine.
- Carry the washing machine by the front feet and by the lid where it protrudes at the back of the appliance.
Removing the transit bars
Removing the left-hand transit bar
- Push the cover out and turn the left-hand transit bar 90° using the spanner supplied.

- Withdraw the transit bar.

- Push the cover out and turn the lefthand transit bar 90° using the spanner supplied.

- Withdraw the transit bar.

Covering holes
Risk of injury from sharp edges. There is a risk of injury from reaching into holes that are not covered. Cover the holes for the transit bars after they have been removed.
- Push the covers in firmly until they engage in position.

Securing the transit bars
- Secure the transit bars to the back of the washing machine. Make sure that the top catch is located above the
holder.
Risk of damage from incorrect transport.
The washing machine may become damaged if moved without the transit bars in place.
Keep the transit bars in a safe place. Fit them again if the machine is to be moved (e.g. when moving house).
Fitting the transit bars
Opening the covers
- Press against the retainer with a sharp object (a narrow screwdriver, for example). The cover opens.
Fitting the transit bars
- To fit the bars, follow the instructions for removing them in reverse order.
Tip: The bars will slide in more easily if you lift the drum slightly
Levelling the machine
The washing machine must stand perfectly level on all four feet to ensure safe and proper operation.
Incorrect installation may increase electricity and water consumption and may cause the machine to move about.
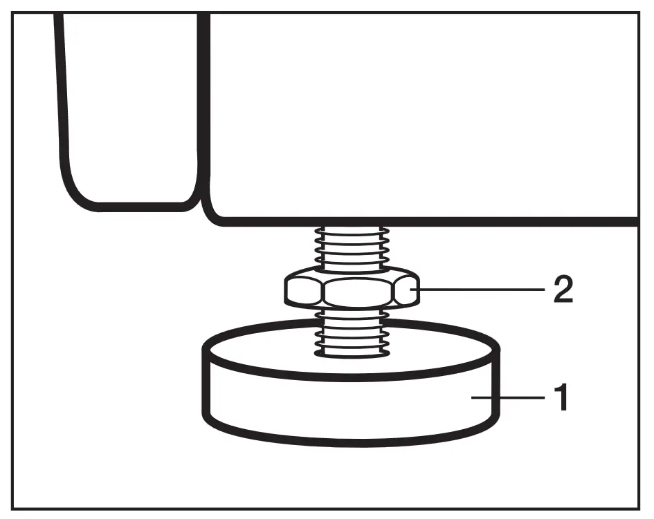
Screwing out and adjusting the feet
The four adjustable screw feet are used for levelling the washing machine. The machine is supplied with all four feet are screwed in.
- Using the spanner supplied, turn counter nut 2 in a clockwise direction. Then turn counter nut 2 together with foot 1 to unscrew.

- Use a level to check that the washing machine is standing level.

- Hold foot 1 securely with a pipe wrench. Turn counter nut 2 again using the spanner supplied until it sits firmly up against the housing.
Risk of damage due to incorrectly aligned washing machine.
There is a danger of the washing machine moving about if the feet are not secured.
Turn all four counter nuts for the feet until they sit firmly up against the housing. Please also check this for the feet which did not need adjustment.
Installing under a continuous worktop
Risk of electric shock due to exposed cables
There is a risk of coming into contact with live parts while the lid is removed.
Do not remove the washing machine lid.
This washing machine (with lid intact) can be pushed under a countertop if there is space to do so.
Washer-dryer stack
The washing machine can be combined with a Miele tumble dryer in a washerdryer stack. The appropriate “WTV” stacking kit* to match your dryer is required.
All parts marked* are available from your Dealer or Miele.
Please note:

a = at least 2 cm
b = WTV without drawer: 172 cm WTV with drawer: 181 cm
c = 65 cm
The water protection system
The Miele water protection system protects all parts of the washing machine from water damage.
The system consists of three main components:
– the inlet hose
– the electronic unit and drainage and overflow protection
– the drain hose
Inlet hose
– Protection against bursting
The inlet hose is tested to withstand pressure of at least 7,000 kPa.
Electronic unit and washing machine housing
– Sump Any leaking water is collected in a sump in the base of the machine. A float switches off the water inlet valves, preventing any more water from flowing into the machine and water in the suds container is pumped away.
– Overflow protection This prevents the washing machine taking in too much water. If the water level exceeds a certain level, the drain pump switches in and pumps the excess water away
Drain hose
The drain hose is protected by a ventilation system which prevents the washing machine from being emptied completely.
Connection to the water supply
Health risk and risk of damage due to contaminated incoming water.
The quality of the incoming water must correspond to the drinking water specification of the country in which the washing machine is being operated.
Always connect the washing machine to the mains water supply.
The washing machine should be connected to the mains water supply in accordance with current local and national safety regulations. The German authorities do not require it to have a non-return valve as the washing machine has been designed to comply with DIN regulations.
The water connection pressure needs to be between 100 kPa and 1000 kPa. If the water connection pressure exceeds 1000 kPa, a pressure reducing valve must be installed.
A stopcock with a ¾ inch threaded union is required for the connection. If this is not available, only a qualified installer may connect the washing machine to the mains water supply.
The connection point is subject to mains water pressure.
Turn on the stopcock slowly and check for leaks. Correct the position of the washer and the threaded union if necessary.
The washing machine is not suitable for connection to a hot water supply. The washing machine must not be connected to a hot water supply
Maintenance
Only use a genuine Miele hose that has been pressure tested to withstand at least 7,000 kPa should you ever need a replacement.
Damage caused by dirty water.
A filter is located in the open end of the inlet hose and another in the intake point to protect the inlet valve in the washing machine. These filters must not be removed.
Hose extension
Longer hoses 2.5 or 4.0 m in length are available from your Miele Dealer or Miele as optional extras.
Water drainage
The suds are drained through a drain pump with a 1 m delivery head. For the water to drain freely, the hose must be free of kinks.
If required, the hose can be extended to a length of up to 5 m. Accessories are available from Miele or from your Miele dealer.
For a delivery head of more than 1 m (up to a max. of 1.8 m) a replacement drain pump will need to be fitted. Please contact Miele for advice. For a delivery head of 1.8 m the hose can be extended to a length of up to 2.5 m. Accessories are available from Miele or from your Miele dealer.
Drainage options:
- Directed into a sink or basin:
Please note:
– Hook the hose over the edge and secure it.
– If the water is pumped into a washbasin, make sure that it can drain away freely. Otherwise there is a risk of water overflowing or of some of the drained water being sucked back into the machine. - Connected securely to a plastic drain pipe with a rubber nipple (there is no need to use a siphon).
- Connected securely to a floor drain (gully).
- Connected securely to a washbasin with plastic nipple.
Please note:

① Adapter
② Spigot nut
③ Hose clip
④ End of the hose
- Fit adapter ① to the sink drain outlet using nut ②.
- Attach the end of hose ④ to adapter ①.
- Use a screwdriver to tighten hose clip ③ up close to the nut.
Electrical connection
The washing machine is supplied with an electrical connection cable with molded plug ready for connection to a switched socket.
The socket must be easily accessible after the washing machine has been installed. If that is not possible, ensure that a suitable means of disconnection is provided on the installation side for each pole.
Risk of fire from overheating.
Connecting the washing machine to a multi-socket plug adapter or to an extension lead can overload the cable.
Do not use an extension lead or multi-socket plug adapter.
The electrical system must comply with local and national safety regulations (BS 7671 in the UK). We recommend the use of a suitable RCD
.
If the connection cable is damaged, it must only be replaced with a specific connection cable of the same type (available from the Miele Customer Service Department). For safety reasons, such replacement may only be carried out by a qualified technician or the Miele Customer Service Department.
The data plate indicates the nominal power consumption and the appropriate fuse rating. Compare the specifications on the data plate with those of the electricity supply and make sure that they match.
If in any doubt, consult a qualified electrician.
Temporary or permanent operation on an autonomous power supply system or a power supply system that is not synchronized with the mains power supply (e.g. island networks, back-up systems) is possible. A prerequisite for operation is that the power supply system complies with the specifications of EN 50160 or an equivalent standard. The function and operation of the protective measures provided in the domestic electrical installation and in this Miele product must also be maintained in isolated operation or in operation that is not synchronized with the mains power supply, or these measures must be replaced by equivalent measures in the installation. As described, for example, in the current version of BS OHSAS 18001–2 ISO 45001.
















