CHAMBERLAIN GAME TABLES PG-4007 Foosball Table Instruction Manual

Parts List



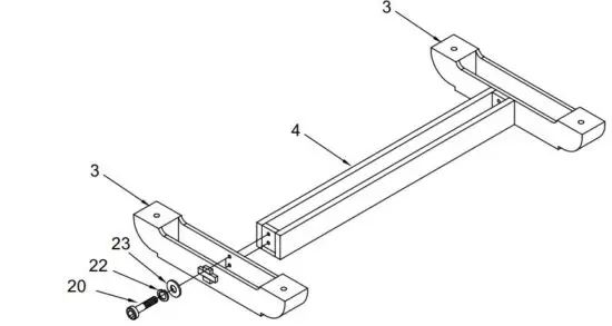
Step 1:

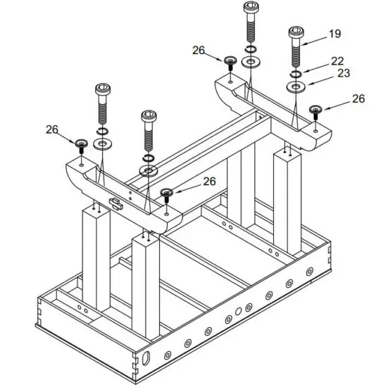
Step 2:

Step 3:




Read More About This Manual & Download PDF:




Step 1:

Step 2:

Step 3:




Read More About This Manual & Download PDF:
Download manual
Here you can download full pdf version of manual, it may contain additional safety instructions, warranty information, FCC rules, etc.