
INSTALLATION AND SERVICE MANUAL
HE Series
High Head Filtered
Effluent Pumps
![]()

NOTE! TO THE INSTALLER: Please make sure you provide this manual to the owner of the pumping equipment or to the responsible party who maintains the system.
293 WRIGHT STREET, DELAVAN, WI 53115 WWW.HYDROMATIC.COM
PH: 888-957-8677
269 TRILLIUM DRIVE, KITCHENER, ONTARIO, CANADA N2G 4W5
PH: 519-896-2163
© 2013 Pentair, Ltd. All Rights Reserved.
W-03-405 (Rev. 02/20/13)
General Information
Thank you for purchasing your Hydromatic® pump. To help ensure years of trouble-free operation, please read the following manual carefully.
Before Operation:
Read the following instructions carefully. Reasonable care and safe methods should be practiced. Check local codes and requirements before installation.
Attention:
This manual contains important information for the safe use of this product. Read this manual completely before using this product and refer to it often for continued safe product use. DO NOT THROW AWAY OR LOSE THIS MANUAL. Keep it in a safe place so that you may refer to it often.
WARNING: Before handling these pumps and controls, always disconnect the power first. Do not smoke or use sparkable electrical devices or flames in a septic (gaseous) or possible septic sump.
California Proposition
65 Warning
This product and related accessories contain chemicals known to the State of California to cause cancer, birth defects or other reproductive harm.
Pump Warning
To reduce risk of electrical shock:
1. Risk of Electrical Shock:
This pump has not been investigated for use in swimming pool areas.
2. Risk of Electrical Shock:
Connect only to a properly grounded receptacle.
Septic tank to be vented in accordance with local plumbing codes.
Do not smoke or use sparkable electrical devices or flame in a septic (gaseous) or possible septic sump.
If a septic sump condition may exist and if entry into sump is necessary, then (1) provide proper safety precautions per OSHA requirements and (2) do not enter sump until these precautions are strictly adhered to.
Do not install pump in location classified as hazardous per N.E.C., ANSI/NFPA 70 – 1999.
Failure to heed above cautions could result in injury or death.
1. Before installing or servicing your pump, BE CERTAIN THE PUMP POWER SOURCE IS TURNED OFF AND DISCONNECTED.
2. All installation and electrical wiring must adhere to state and local codes. Check with appropriate community agencies, or contact your local electrical and pump professionals for help.
WARNING: EXERCISE CAUTION WHEN HANDLING, SERVICING, OR INSTALLING PUMP. BE AWARE OF ANY ELECTRICAL HAZARDS AND LOCATION OF LIVE ELECTRICAL POWER. AVOID CONTACT WITH ELECTRICAL POWER.
3. CALL AN ELECTRICIAN WHEN IN DOUBT. Pump must be connected to a separate electrical circuit directly from the entrance box. There must be an appropriately sized fuse or circuit breaker in this line. Tying into existing circuits may cause circuit overloading, blown fuses, tripped circuit breakers, or a burned up motor.
4. Do not connect pump to a power supply until the pump is grounded. For maximum safety, a ground fault interrupter should be used.
CAUTION: FAILURE TO GROUND THIS UNIT PROPERLY MAY RESULT IN SEVERE ELECTRICAL SHOCK.
5. WARNING: Reduced risk of electric shock during operation of this pump requires the provision of acceptable grounding.
a) If the means of connection to the supply-connection box is other than grounded metal conduit, ground the motor back to the service by connecting a copper conductor, at least the size of the circuit conductors supplying the motor, to the ground screw provided within the wiring compartment.
b) This pump is provided with a means for grounding. To reduce the risk of electric shock from contact with adjacent metal parts, bond the supply box to the pump-motor grounding means including metal discharge pipes and the like by means of an equipment grounding conductor at least the size of the cable conductors, or the equivalent.
6. A clamp, a weld, or both if necessary, is secured to the equipment grounding lead, the equipment grounding terminal, or the grounding conductor on the pump housing. The equipment-grounding lead, if one is provided, is the conductor that has an outer surface of insulation that is green with or without one or more yellow stripes.
7. The voltage and phase of the power supply must match the voltage and phase of the pump.
8. Do not use an extension cord; splices must be made with an approved splice kit and should be checked for integrity before submerging in water; above ground joints must be made in an approved junction box.
9. Do not work on this pump or switch while the power is on.
10. Never operate a pump with a frayed or brittle power cord, and always protect it from sharp objects, hot surfaces, oil and chemicals. Avoid kinking the cord.
11. Never service a motor or power cord with wet hands or while standing in or near water or damp ground.
12. Do not use this pump in or near a swimming pool, pond, lake or river.
13. Motors are equipped with automatic resetting thermal protectors. The motor may restart unexpectedly causing the leads to energize or pump to turn.
14. Check for nicks in the wire and pump insulation by using an ohmmeter and checking resistance to ground before installing the pump and after installing pump. If in doubt on the proper procedure, check with a qualified electrician.
15. Do not pump gasoline, chemicals, corrosives, or flammable liquids; they could ignite, explode, or damage the pump, causing injury and voiding the warranty.
16. Do not run this pump with the discharge completely closed. This will create superheated water, which could damage the seal and shorten the life of the motor. This superheated water could also cause severe burns. Always use a pressure relief valve, set below the rating of the system.
17. Pump is capable of building pressures in excess of 100 psi. Always use a pressure relief valve.
18. The following may cause severe damage to the pump and void warranty. It could also result in personal injury:
- Running the pump dry.
- Failure to protect the pump from below freezing temperatures.
- Running the pump with the discharge completely closed.
- Pumping chemicals or corrosive liquids.
19. Never work on the pump or system without relieving the internal pressure.
20. Do not pump water above 120° Fahrenheit.
21. Never exceed the pressure rating of any system component.
Read this guide completely before installation.
Hydromatic recommends an experienced serviceman to install new systems.
Please read this entire guide before installing your Hydromatic submersible pump.
CAUTION: Do not run unit dry. Unit can be severely damaged if run dry.
Pump Selection and Inspection
1. To select the proper effluent submersible pump size and model for your system, determine the gallons per minute needed and pressure required.
2. Inspect your new pump. After purchase, check the pump and other contents of the shipping container for possible damage. DO NOT lift the Hydromatic Effluent Submersible Pump by its attached electric motor cables.
The entire pump was tested thoroughly at the factory. However, to make sure there is no hidden damage caused during shipment, we suggest checking for free rotation of the shaft prior to installation:
a) Insert a screwdriver in the slot in the end of the shaft and check to see if the pump shaft turns freely; a slight drag is permissible. See Figure A.
b) Again: Do NOT run unit out of water.
Figure A 
3. Model Number Designation
HE20-51

- Flow rate:
8 = 8 gpm
12 = 12 gpm
20 = 20 gpm
25 = 25 gpm
30 = 30 gpm
35 = 35 gpm - VOLTAGE:
1 = 115V
2 = 230V - HP:
5 = 1/2 HP
7 = 3/4 HP
10 = 1 HP
15 = 1-1/2 HP - Model Designation
- 2 Wire High Head Effluent
Electrical Preparation
1. Motor Voltage:
Hydromatic Effluent Submersible Pumps operate on a 115 or 230 volt, single phase current. The motor is NOT dual voltage.
4 inch Motor Minimum Service requirements
| HP | Volts | Wire | Min. Service |
| 1/2 | 115 | 2W | 200 amp |
| 1/2 | 230 | 2W | 60 amp |
| 3/4 | 230 | 2W | 100 amp |
| 1 | 230 | 2W | 100 amp |
| 1-1/2 | 230 | 2W | 200 amp |
2. Cable Size:
Submersible pump cable is not just ordinary wire; the copper cable is well insulated to withstand many years of complete submersion in water.
Selection of proper size cable is very important. Undersized cable results in too low a voltage supply to the motor and ultimate motor failure. Oversized cable will cost much more than proper-sized cable. See chart of proper-sized cable (in chart, the smaller the AWG number, the larger the cable wire size).
For Canadian installations:
a) type RWU, TWU, SGOW or SWOW power supply cables recommended.
b) The motor case shall be bonded to the main A-C ground.
NOTE: Ground wire size should be equal to connector size.
3. Length of Cable:
The maximum cable length specified for each horsepower size and minimum AWG cable wire size referred to in chart means the total distance from the submerged pump motor to the electrical motor control box as shown in this diagram.
Hydromatic warranty is void if undersized AWG cable is used or if cable lengths longer than specified for each cable wire size are used.
Maximum Cable Length in Feet
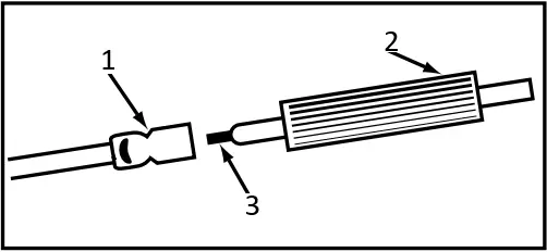
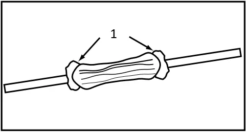
4. Splicing Power Cables to Pump:
After making sure your power cables are the proper AWG size and specified length, splice them to the pump cables (see illustrations):

- Motor Lead
- Shrink Tube
- Power Cable
a. Slip shrink tube over end of each power cable.

b. Match pump cables to power cables and crimp connectors on each pair.

c. Slide shrink tubes over center of crimped connectors and apply heat (from propane torch) from center to both ends of shrink tubes.

- Sealant
d. Splice is complete when sealant flows from ends of shrink tubes. NOTE: Splice kits are not included with pumps.
5. Motor grounding instructions:
WARNING: Reduced risk of electric shock during operation of this pump requires the provision of acceptable grounding:
This pump is provided with a means for grounding. To reduce the risk of electric shock from contact with adjacent metal parts, bond supply box to the pump-motor-grounding means including metal discharge pipes, and the like, by means of (1) an equipment-grounding conductor at least the size of the cable conductors, (2) a clamp, a weld, or both if necessary, secured to the equipment-grounding lead, the equipment-grounding terminal, or the grounding conductor on the pump housing. The equipment grounding lead, if one is provided, is the conductor that has an outer surface of insulation that is green with or without one or more yellow stripes.
NOTE: N.E.C. requires that submersible pumps be grounded at installation.
WARNING: Failure to ground this unit properly may result in severe electrical shock.
Grounding your new submersible motor is accomplished by running a copper grounding wire from the green pigtail lead to the main electrical system ground. Following is the recommended grounding procedure:
The grounding wire to be used must be the same size as the power conductor wires. Insulated stranded or insulated solid copper wire may be used. Aluminum wire is NOT suitable for this application.
Pump Troubleshooting
The vast majority of service calls on these systems are caused by problems that are electrical in nature.
Never operate the pump for long periods of time with the discharge valve closed. This could cause overheating resulting in damage to the pump and its motor. A properly sized relief valve should be installed before the tank to prevent the pump from operating with the discharge valve closed. Familiarize yourself with potential problems and troubleshooting solutions.
Pump won’t run
1. Blown fuse, broken (or loose) electrical connections.
- Check fuses, capacitor, relays and all electrical connections.
2. Motor overload protection contacts open.
- Contacts will close automatically within short time.
3. Improper wiring connections.
- Check wiring diagram.
4. Low voltage.
- Check voltage at control box.
Pump runs, but no water pumped
1. Check valve installed backward.
- Reverse and reinstall.
2. Pump impeller plugged or intake strainer clogged.
- Pull pump and clean.
Reduced capacity
1. Strainer or impellers partially clogged or plugged.
- Pull pump and clean.
Any or all the above
1. All known causes are checked but system won’t work properly.
- Call your Hydromatic dealer or your serviceman.
For your reference
Fill in the following information and keep this Installation & Operation Guide among your important papers. Information about your Hydromatic Submersible Pump will be found on the owner’s information-plate. Whenever necessary to contact your dealer or installer, give him this information.
Motor Model No. ________________________ Pump Model No. __________________
HP____________ Phase____________ Volts__________ Cycles ___________________
Amps: L1______________ L2_____________Date of Installation __________________
Well depth________________________ft. Pump depth______________________ ft.
Name of dealer installer from whom pump was bought ___________________________
_________________________________ Date of purchase ________________________
Pump Notes
______________________________________________ ______________________________________________ ______________________________________________ ______________________________________________ ______________________________________________ ______________________________________________ ______________________________________________ ______________________________________________ ______________________________________________ ______________________________________________ ______________________________________________ ______________________________________________ ______________________________________________ ______________________________________________ ______________________________________________ ______________________________________________ ______________________________________________ ______________________________________________ ______________________________________________ ______________________________________________ ______________________________________________ ______________________________________________ ______________________________________________ ______________________________________________
Limited Warranty
HYDROMATIC warrants to the original consumer purchaser (“Purchaser” or “You”) of HYDROMATIC Sump Pumps, Effluent Pumps, Sewage Pumps (other than 2-1/2″), and Package Systems, that they will be free from defects in material and workmanship for the Warranty Period of 36 months from date of manufacture.
Our warranty will not apply to any product that, in our sole judgement, has been subject to negligence, misapplication, improper installation, or improper maintenance. Without limiting the foregoing, operating a three phase motor with single phase power through a phase converter will void the warranty. Note also that three phase motors must be protected by three-leg, ambient compensated, extra-quick trip overload relays of the recommended size or the warranty is void.
Your only remedy, and HYDROMATIC’s only duty, is that HYDROMATIC repair or replace defective products (at HYDROMATIC’s choice). You must pay all labor and shipping charges associated with this warranty and must request warranty service through the installing dealer as soon as a problem is discovered. No request for service will be accepted if received after the Warranty Period has expired. This warranty is not transferable.
EXCEPTIONS: Hydromatic Special Application Pumps, Battery Back-Up Sump Pumps, Filtered Effluent Pumps, Grinder Pumps, and 2-1/2″ Sewage Pumps are warranted for a period of 12 months from date of purchase or 18 months from date of manufacture, whichever comes first.
HYDROMATIC SHALL NOT BE LIABLE FOR ANY CONSEQUENTIAL, INCIDENTAL, OR CONTINGENT DAMAGES WHATSOEVER.
THE FOREGOING LIMITED WARRANTIES ARE EXCLUSIVE AND IN LIEU OF ALL OTHER EXPRESS AND IMPLIED WARRANTIES, INCLUDING BUT NOT LIMITED TO IMPLIED WARRANTIES OF MERCHANTABILITY AND FITNESS FOR A PARTICULAR PURPOSE. THE FOREGOING LIMITED WARRANTIES SHALL NOT EXTEND BEYOND THE DURATION PROVIDED HEREIN.
Some states do not allow the exclusion or limitation of incidental or consequential damages or limitations on the duration of an implied warranty, so the above limitations or exclusions may not apply to You. This warranty gives You specific legal rights and You may also have other rights which vary from state to state.
This Limited Warranty is effective June 1, 2011 and replaces all undated warranties and warranties dated before June 1, 2011.
HYDROMATIC
293 Wright Street, Delavan, WI 53115 Phone: 888-957-8677 • Fax: 800-426-9446 • Web Site: hydromatic.com



















