WOLF Dual Fuel Range Installation Guide
Dual Fuel Range
Features and specifications are subject to change at any time without notice. Visit wolfappliance.com/specs for the most up-to-date information.
Important Note
To ensure this product is installed and operated as safely and efficiently as possible, take note of the following types of highlighted information throughout this guide:
IMPORTANT NOTE highlights information that is especially important.
CAUTION indicates a situation where minor injury or product damage may occur if instructions are not followed.
WARNING states a hazard that may cause serious injury or death if precautions are not followed.
IMPORTANT NOTE: Throughout this guide, dimensions in parentheses are millimeters unless otherwise specified.
IMPORTANT NOTE: Save these instructions for the local electrical inspector.
Product Information
Important product information, including the model and serial number, are listed on the product rating plate. The rating plate is located on the bottom of the control panel, at the far right, just above the oven door. Refer to the illustration below.
If service is necessary, contact Wolf Factory Certified
Service with the model and serial number. For the name of the nearest Wolf Factory Certified Service or for questions regarding the installation, visit the Product Support section of our website, wolfappliance.com, or call Wolf Customer Care at 800-222-7820.
Rating plate location
Safety Precautions
IMPORTANT INSTRUCTIONS
WARNING
A child or adult can tip this appliance and be killed.
Verify the anti-tip device has been properly installed and engaged. Ensure the anti-tip device is re-engaged when this appliance is moved. Refer to the illustrations below for how to verify correct installation.
Do not operate this appliance without the anti-tip device in place and engaged. Failure to do so can result in death or serious burns to children or adults.
To reduce the risk of burns, do not move this appliance while hot.
Anti-tip device location
Anti-tip device engaged
- This appliance is equipped with casters on two or more legs and must be installed on 1/8″ (3) thick commercial grade vinyl composition floor finishing materials or equivalent.
- This appliance is not approved for downward airflow ventilation or air curtain equivalent.
Specifications
Installation Requirements
IMPORTANT NOTE: When installing against a combustible surface, a minimum 10″ (254) riser is required for a 36″ dual fuel range with charbroiler or griddle and all 48″ and 60″ models. Follow all minimum clearances to combustible surfaces shown in the illustration.
Electrical Requirements
Installation must comply with all applicable electrical codes.
Locate the electrical supply flush with the wall or floor
and within the shaded area shown in the illustration on page 7. A separate circuit servicing only this appliance is required.
If a power supply cord is used, the cord must be designated for use with ranges and rated for 240 V, 30 or 50 amps (refer to the chart below), and must include 3 or 4 conductors. A 4-conductor cord is required for installations where grounding through the neutral is prohibited.
Performance may be compromised if the electrical supply is less than 240 volts.
ELECTRICAL REQUIREMENTS—SINGLE OVEN
Electrical Supply: grounded, 240/208 VAC, 60 Hz
Service: 30 amp dedicated circuit
Total Amps: 21
Max Connected Load: 5.2 kW
ELECTRICAL REQUIREMENTS—DOUBLE OVEN
Electrical Supply: grounded, 240/208 VAC, 60 Hz
Service: 50 amp dedicated circuit
Total Amps: 42.5
Max Connected Load: 10.2 kW
Gas Supply
Installation must comply with local codes, or in the absence of local codes, with the National Fuel Gas Code.
Locate the gas supply within the shaded area shown in the illustration on the following page.
The range is equipped for use with natural or liquid propane (LP) gas. The product rating plate has information on the type of gas that should be used. For rating plate location, refer to the illustration below. If this information does not agree with the type of gas available, check with the local gas supplier. The gas pressure regulator is built into the unit.
GAS REQUIREMENTS
NATURAL GAS: WC
Supply Pressure: 5″ (12.5 mb)
Min Line Pressure: 7″ (17.5 mb)
Max Regulator Pressure: 14″ (34.9 mb), .5 psi (3.5 kPa)
LP GAS:l WC
Supply Pressure: 10″ (25 mb)
Min Line Pressure: 11″ (27.4 mb)
Max Regulator Pressure: 14″ (34.9 mb), .5 psi (3.5 kPa)
Rating plate location
The range must be connected to a regulated gas supply.
The supply line must be equipped with an approved external gas shut-off valve located near the range in an accessible location. Do not block access to the shut-off valve.
Refer to the illustration below.
A gas supply of 3/4″ (19) ID line must be provided to the range. If local codes permit, a certified, 3′ (.9 m) long, 1/2″ (13) or 3/4″ (19) ID flexible metal appliance connector is recommended to connect the units 1/2″ NPT female inlet to the gas supply line. Pipe joint compounds suitable for use with natural or LP gas should be used.
The appliance and its shut-off valve must be disconnected from the gas supply piping system during any pressure testing of the system at test pressures in excess of .5 psi (3.5 kPa). The appliance must be isolated from the gas supply piping system by closing its individual manual shutoff valve during any pressure testing of the system at test pressures equal to or less than .5 psi (3.5 kPa).
Wolf natural gas ranges will function up to 10,250′ (3124 m) in altitude without adjustment and LP gas ranges will function up to 8,600′ (2621 m). If the installation exceeds these elevations, contact an authorized Wolf dealer for a high altitude conversion kit.
Gas shut-off valve
INSTALLATION

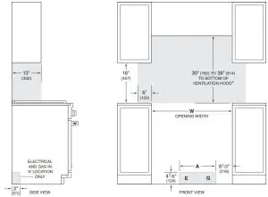
*Without ventilation hood, 36″(914) minimum clearance countertop to combustible materials, 44 (1118) for charbroiler.
NOTE: Shaded area above countertop indicates minimum clearance to combustible surfaces, combustible materials cannot be located within this area.
For island installation, 12″(305) minimum clearance back of range to combustible rear wall above countertop.
OPENING WIDTH | W | A |
30″ Range | 30″ (762) | 10 1/4″ (260) |
| 36″ Range | 36″ (914) | 16 1/4″ (413) |
48″ Range | 48″ (1219) | 18 1/4″ (464) |
| 60″ Range | 60″ (1524) | 18 1/4″ (464) |
Preparation
Before moving the range, protect any finished flooring and secure the oven door(s) closed to prevent damage.
OVEN DOOR REMOVAL
To lighten the load or to fit through a doorway, the oven door(s) can be removed. Remove only if necessary. Do not remove the griddle or any other component. Door removal should be done only by a certified installer or service technician. Do not lift or carry the oven door by the door handle.
To remove, open the door completely. Rotate both hinge locks forward to the open position, remove the screw closest to the hinge on both sides of the door, and pull the door forward. Refer to the illustration below.
To reinstall, slide the door onto the hinges. Rotate the
hinge locks back completely and install the screws.
Oven door removal
Placement
The range has rear casters which allow for easy movement by lifting the front of the unit. Do not lift or carry the range by the oven door handle.
Use an appliance dolly to move the range near the opening. Place the appliance dolly on the side or back to prevent damage. Remove and recycle packing materials. Do not discard the anti-tip bracket supplied with the range.
If a riser has been specified, refer to the installation instructions packaged with the riser. The riser must be installed before the range is installed.
Leveling
Raise the range to its desired height by adjusting the front legs and rear casters. Use a 3/4″ socket to adjust the rear casters. The front legs can be adjusted by rotating the leg clockwise to raise and counterclockwise to lower.
IMPORTANT NOTE: For 48″ and 60″ models, equally distribute the load to all three front legs and rear casters.
Anti-Tip Bracket
To prevent the range from tipping forward, the anti-tip bracket must be installed. To ensure the anti-tip bolt engages the bracket, refer to the illustration below to determine proper placement.
INSTALL BRACKET
- Drywall application: After properly positioning the anti-tip bracket, mark the holes, then use a Phillips screwdriver or a low rpm power drill to drive the wall anchor into the surface of the wallboard until flush. Pre-drill the holes if needed. For hard wallboard or double-board construction, use a 1/4″ drill bit. For solid plaster, use a 7/16″ drill bit.
Use the provided #8 screws and flat washers to fasten the bracket to the wall. - Wood floor application: After properly positioning the antitip bracket, drill 3/16″ (5) pilot holes through the floor. Use the provided #12 screws and flat washers to secure the bracket to the floor.
- Concrete floor application: After properly positioning the anti-tip bracket, drill 3/8″ (10) holes into the concrete a minimum of 1 1/2″ (38) deep. Use the provided 3/8″ wedge anchors to secure the bracket to the floor.
Anti-tip bracket location
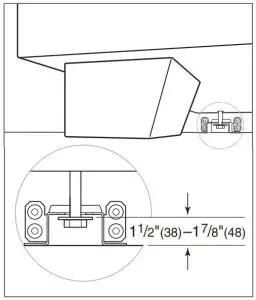
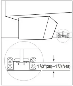
- ANTI-TIP BOLT ADJUSTMENT
Once the bracket is secure, adjust the anti-tip bolt so the top of the washer is 1 1/2″ (38) to 1 7/8″ (48) from the floor.
Slide the range into the opening and verify the anti-tip bolt is engaged. Refer to the illustration below.
Anti-tip bolt engaged
Electrical Connection
The terminal block on the back of the range allows for a 3-wire or 4-wire installation. Remove the terminal block cover to expose the screws with corresponding numbers.
Route the wires through the strain relief and to the terminal block.
THREE-WIRE INSTALLATION
- Move the metal ground strap to positions one and two.
Refer to the illustration below. - Connect green/ground to position one.
- Connect red/L2 to position three.
- Connect black/L1 to position four.
- Tighten the screws on the strain relief and install the terminal block cover.
FOUR-WIRE INSTALLATION
- Remove the metal ground strap.
- Connect green/ground to position one.
- Connect white/neutral to position two.
- Connect red/L2 to position three.
- Connect black/L1 to position four.
- Tighten the screws on the strain relief and install the terminal block cover.
Three- and four-wire
Three-wire only
Door Alignment
To adjust the door, follow these steps:
- Remove the skirt by extracting the screws.
- Open the door, and loosen the nut. Refer to the illustration below.
- Close the door, and turn the screw clockwise to raise and counterclockwise to lower the door.
- Open the door, and tighten the nut.
- Close the door, and reinstall the skirt.
Door alignment
Troubleshooting
IMPORTANT NOTE: If the range does not operate properly, follow these troubleshooting steps:
- Verify electrical power is supplied to the range.
- Verify the gas supply shut-off valve is in the open position.
- If the range does not operate properly, contact Wolf Factory Certified Service. Do not attempt to repair the range. Wolf is not responsible for service required to correct a faulty installation.
Sub-Zero, Sub-Zero & Design, Sub-Zero & Snowflake Design, Dual Refrigeration, The Living Kitchen, Great American Kitchens The Fine Art of Kitchen Design, Wolf, Wolf &
Design, Wolf Gourmet, W & Design, red colored knobs, Cove, and Cove & Design are registered trademarks and service marks of Sub-Zero Group, Inc. and its subsidiaries.
All other trademarks are property of their respective owners in the United States and other countries.





















