61522
1/2 Ton Capacity
Pickup Truck
CRANE WITH CABLE WINCH
Vehicle Not Included
Visit our website at: http://www.harborfreight.com
Email our technical support at: [email protected]
Save This Manual Keep this manual for the safety warnings and precautions, assembly, operating, inspection, maintenance, and cleaning procedures. Write the product’s serial number in the back of the manual near the assembly diagram (or month and year of purchase if the product has no number).
Keep this manual and the receipt in a safe and dry place for future reference.
When unpacking, make sure that the product is intact and undamaged. If any parts are missing or broken, please call 1-888-866-5797 as soon as possible.
Copyright© 2020 by Harbor Freight Tools®. All rights reserved.
No portion of this manual or any artwork contained herein may be reproduced in any shape or form without the express written consent of Harbor Freight Tools.
Diagrams within this manual may not be drawn proportionally. Due to continuing improvements, the actual product may differ slightly from the product described herein.
Tools required for assembly and service may not be included.
WARNING
Read this material before using this product. Failure to do so can result in serious injury.
SAVE THIS MANUAL.
WARNING SYMBOLS AND DEFINITIONS
![]() | This is the safety alert symbol. It is used to alert you to potential personal injury hazards. Obey all safety messages that follow this symbol to avoid possible injury or death. |
DANGER | Indicates a hazardous situation that, if not avoided, will result in death or serious injury. |
| Indicates a hazardous situation that, if not avoided, could result in death or serious injury. | |
CAUTION | Indicates a hazardous situation that, if not avoided, could result in minor or moderate injury. |
| NOTICE CAUTION | Addresses practices not related to personal injury. |
IMPORTANT SAFETY INFORMATION
![]()
Read all safety warnings and instructions.
Failure to follow the warnings and instructions may result in serious injury.
Save all warnings and instructions for future reference.
General Safety Warnings
- The study, understand, and follow all instructions before installing or operating this device.
- Attach to the frame of the truck bed according to manual instructions only. Verify that the installation surface has no hidden components or brake lines before drilling or driving screws.
- Engage parking brake before use. Do not move the vehicle with the load attached to Crane.
- Do not exceed rated capacity.
- Use only slings or chains with a rated capacity greater than the weight of the load being lifted.
- Do not allow the load to swing or drop violently while lowering or moving.
- Lift and lower load with hydraulic ram only. Use the winch to extend or retract the cable while unloaded only.
- No alterations shall be made to this product. Do not adjust the safety valve.
- Keep clear from underneath the suspended load. Do not lift people or lift a load over people.
- Capacity decreases as the boom lengthen. Follow capacities marked on the boom.
- Replacement ram must have the same rating, mounting points, and maximum length.
- Wear ANSI-approved safety goggles, heavy-duty work gloves, and steel-toed work boots during installation and use.
- Do not use it for aircraft purposes.
- Inspect before every use; do not use if parts lose or damaged.
- Before driving the vehicle, retract Winch Cable completely, lower boom and position over truck’s wheel well, then insert Post Pin to prevent the boom from swiveling.
- Stay alert. Watch what you are doing, and use common sense when operating Crane.
- Do not use Crane while tired or under the influence of drugs, alcohol, or medication. A moment of inattention may result in serious personal injury.
- Keep children and bystanders away while operating the Crane. Distractions can cause you to lose control.
- Has Crane been serviced by a qualified repair person using only identical replacement parts? This will ensure that the safety of the Crane is maintained.
- Maintain labels and nameplates. These carry important information. If unreadable or missing, contact Harbor Freight Tools for a replacement.
- The warnings, precautions, and instructions discussed in this manual cannot cover all possible conditions and situations that may occur. The operator must understand that common sense and caution are factors, which cannot be built into this product but must be supplied by the operator.
Ram Safety Warnings.
- Attach securely to Crane before use.
- Do not exceed rated capacity.
- Do not adjust the safety valve.
- Keep clear of load while lifting and lowering.
- Lower load slowly.
- Be aware of dynamic loading! The sudden load movement may briefly create excess load causing product failure.
Winch Safety Warnings
- USE TO EXTEND OR RETRACT CABLE WHILE UNLOADED ONLY.
- Keep clear of the mechanism when operating.
- Keep at least 4 full turns of cable on the reel.
- Before driving the vehicle, retract the winch cable completely, position the boom over the truck′s wheel well, and insert Post Pin to prevent the boom from swiveling.
- Attach load to Hook securely by properly rated, suitable means, such as chains, shackles, hooks, lifting slings, etc. Load must be attached to prevent accidental disconnection.
- Properly seat sling or another device in Hook and fully close Hook’s safety clasp. Do not allow Hook hitch to support any part of the load. Do not apply load to the point of the Hook.
- Do not operate Crane with a twisted, kinked, or damaged cable.
Inspect cable carefully before every use.
SAVE THESE INSTRUCTIONS.
Specifications
| Rated Capacity | 1,000 lb. |
| Boom Length, max. | 53-1/2″ |
| Boom Length, min. | 33″ |
| Winch Cable | Ø13/64″ steel, 25′ L with 7/8″ locking hook |
Assembly Instructions
Read ENTIRE IMPORTANT SAFETY INFORMATION section at beginning of this manual including all text under subheadings therein before setup or use of this product.
- Note: Remove Post (2) and Boom (3) before mounting Base.
- Locate a mounting position so the Crane will be near the end of the truck bed and can be attached to the frame.
WARNING! The Base must be securely bolted to the frame of the truck bed. Bolting the Base to the truck bed will not provide necessary support and could result in product failure and serious bodily injury.
Note: Verify that the installation surface has no hidden components or brake lines before drilling or driving screws. - Use Base to mark drilling holes. Drill holes.
- Mount Base to frame using Nuts (18), Lock Washers (17), Washers (16), Mounting Plates (19) and Bolts (15). (See Figure A.)

- Slide Post (2) onto Base and secure using Post Pin (14) and R-Pin (10). (See Figure B.)

- Attach Ram (6) to Lower Post Bracket using Pin (13) and R-Pin (10). (See Figure C.)

- Attach Boom (3), Bracket facing down, to Upper Post Bracket using Pin (13) and R-Pin (10).
- Connect Boom Bracket to Ram using Pin (12) and R-Pin (10). (See Figure D.)

- Slide Boom Extension (4) into Boom. Secure with Boom Pin (11) and R-Pin (10). (See Figure E.)
Note: You may need to pull out cable from Winch reel to expose bolt holes on Winch base. - 10. Attach Winch (5) to Boom with Bolts (7), and Lock Washers (8).
- Thread Grease Fitting (21) into Post. (See Figure F.)

Note: Tighten ALL Bolts before initial operation.
Operating Instructions
Read ENTIRE IMPORTANT SAFETY INFORMATION section at beginning of this manual including all text under subheadings therein before setup or use of this product.
Note: Once Assembly is complete, tighten ALL Bolts before initial operation.
Bleeding Instructions
IMPORTANT! Before first use, check for proper hydraulic fluid level and thoroughly test the Crane. If it does not work properly, bleed air from its hydraulic system as follows:
- Remove Fluid Fill Plug. Fill with hydraulic fluid (sold separately) to full level, if necessary.
- Open Release Valve by turning counterclockwise with Ram Handle.
- Insert Ram Handle into Fulcrum, apply downward pressure to Boom and pump Handle quickly several times.
- Check fluid level and, if necessary, top off with hydraulic fluid.
- Close Release Valve and replace Fluid Fill Plug.
- Test Crane several times for proper operation before attempting to lift a load.
- If, after bleeding, the Crane still does not appear to be working properly, do not use until repaired by a qualified service technician.
Operating Instructions
WARNING! The Boom Extension has four positions. Do not lift more than rated capacity. Be aware of dynamic loading! The sudden load movement may briefly create excess load causing product failure and serious bodily injury.

Loading
WARNING! TO PREVENT SERIOUS INJURY: Engage parking brake before use. Do not move vehicle with load attached to Crane.
- Remove Post Pin and swivel Boom so Hook is overloaded. If necessary, remove Boom Pin, adjust Boom Extension, then replace Boom Pin.
CAUTION! Do not attempt to extend or retract Boom while the load is attached. - Make sure Boom will handle the load when it is extended. (See Figure H.)
Capacity (Lb.) Boom Length 500 53-1/2″ 600 47″ 700 40-1/2″ 1,000 33″ Figure H
- Lower Boom to bottom of its movement range.
- Attach Hook to properly secure the load, giving specific attention to load balancing.
- Adjust slack on Winch Cable until no slack remains:
a. To tighten, push Pawl forward and turn to Handle clockwise.
b. To loosen, pull Pawl back and turn the Handle counterclockwise. - Before lifting the load, make sure the cable is not kinked or twisted.
WARNING! Do not lift the load with Winch. The winch is for adjusting slack only. Lift load with hydraulic Ram only. - To lift load:
a. Make sure Release Valve is closed by turning clockwise with Ram Handle.
b. Pump Ram Handle until the load has been lifted high enough to clear the truck bed. - To move load: Swivel Boom until the load is directly over the truck bed.
WARNING! Do not lower load with Winch. The winch is for adjusting slack only. Lower load with hydraulic Ram only. - To lower load: Slowly open Release Valve by turning counterclockwise with Ram Handle.
- Retract Winch Cable and remove Hook only after the load has been lowered completely.
- Before driving the vehicle, retract Winch Cable completely, lower Boom and position over truck’s wheel well, then insert Post Pin to prevent Boom from swiveling.
Unloading
WARNING! TO PREVENT SERIOUS INJURY: Engage parking brake before use. Do not move the vehicle with load attached to Crane.
- Remove Post Pin.
- Lift Boom to just below the top of its movement range and swivel Boom so Hook is overload. If necessary, remove Boom Pin, adjust Boom Extension, then replace Boom Pin.
CAUTION! Do not attempt to extend or retract Boom while the load is attached. - Make sure Boom will handle the load when it is extended. (See Figure I.)
Capacity (Lb.) Boom Length 500 53-1/2″ 600 47″ 700 40-1/2″ 1,000 33″ Figure I
- Attach Hook to properly secure the load, giving specific attention to load balancing.
- Adjust slack on Winch Cable until no slack remains:
a. To tighten, push Pawl forward and turn to Handle clockwise.
b. To loosen, pull Pawl back and turn the Handle counterclockwise. - is not kinked or twisted.
WARNING! Do not lift load with Winch. Winch is for adjusting slack only. Lift load with hydraulic Ram only. - To lift load:
a. Make sure Release Valve is closed by turning clockwise with Ram Handle.
b. Pump Ram Handle until the load has raised high enough to just clear the truck bed. - To move load: Swivel Boom until a load is safely away from the truck bed and over a level, flat surface.
WARNING! Do not lower load with Winch. The winch is for adjusting slack only. Lower load with hydraulic Ram only. - To lower load: Slowly open Release Valve by turning counterclockwise with Ram Handle.
- Release Winch Cable and remove Hook only after load has been lowered completely.
- Before driving the vehicle, retract Winch Cable completely, lower Boom and position over truck’s wheel well, then insert Post Pin to prevent Boom from swiveling.
Maintenance and Servicing
Procedures not specifically explained in this manual must be performed only by a qualified technician.
![]()
TO PREVENT SERIOUS INJURY FROM ACCIDENTAL OPERATION: Do not use damaged equipment. If abnormal noise or vibration occurs, have the problem corrected before further use.
Cleaning, Maintenance, and Lubrication
- BEFORE EACH USE, inspect the general condition of the tool. Check for:
• loose hardware,
• misalignment or binding of moving parts,
• cracked or broken parts,
• proper ram and winch operation,
• frayed, kinked, or damaged winch cable, and
• any other condition that may affect its safe operation. - Lubricate the Grease Fitting with a grease gun once a month, or when the Boom becomes difficult to swivel on the Post.
- Clean and lubricate all moving parts of Winch, including gears, ratchets, shafts, and cable to ensure safe operation.
Note: If Crane will be exposed to wet conditions, more frequent lubrication may be necessary to prevent the buildup of rust. - Change the hydraulic fluid at least once every year:
a. Remove Ram from Crane. Lower ram completely.
b. Remove Fluid Fill Plug.
c. Tip Ram to allow old hydraulic fluid to completely drain out.
d. Dispose of old hydraulic fluid in accordance with local regulations.
e. With the Ram upright, fill with hydraulic fluid (sold separately) to full level.
f. Open Valve Release Screw and pump the Handle to bleed air from the system.
g. Reinstall Fluid Fill Plug.
h. Reinstall Ram to Crane. - Top assembly may be removed and stored indoors in a dry, safe place out of the reach of children.
Troubleshooting
TO PREVENT SERIOUS INJURY: Use caution when troubleshooting malfunctioning Crane. Stay clear of supported load. Completely resolve all problems before use. If solutions presented in the Troubleshooting guide do not solve the problem, have a qualified technician inspect and repair Crane before use. After Crane is repaired: Test it carefully without a load by raising and lowering it fully, checking for proper operation, BEFORE RETURNING CRANE TO OPERATION.
DO NOT USE A DAMAGED OR MALFUNCTIONING CRANE!
| POSSIBLE SYMPTOMS | PROBABLE SOLUTION (Make certain that the Crane is not supporting a load while attempting a solution.) | |||||
| Ram lift at its weight capacity | will not Hook lowers under load | Pump stroke feels spongy | will not lift all the way | Handle moves up when Ram is under load | Fluid leaking from Fill Plug | |
| X | X | Check that Release Valve is closed fully. Bleed air from the system. | ||||
| X | X | X | Valve may be blocked and may not close fully. To flush the valve: 1.Lower the Boom and securely close the Release Valve. 2.Manually lift the Boom several inches. 3. Open the Release Valve and force the Boom down as quickly as possible. | |||
| X | X | X | Ram may be low on fluid. Check the fluid level and refill if needed. | |||
| Ram may require bleeding – see Bleeding Instructions on page 6. | ||||||
| X | The unit may have too much hydraulic fluid inside; check fluid level and adjust if needed. | |||||
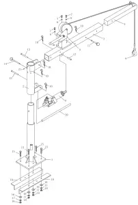
Parts List and Diagram
PLEASE READ THE FOLLOWING CAREFULLY THE MANUFACTURER AND/OR DISTRIBUTOR HAS PROVIDED THE PARTS LIST AND ASSEMBLY DIAGRAM IN THIS MANUAL AS A REFERENCE TOOL ONLY. NEITHER THE MANUFACTURER OR DISTRIBUTOR MAKES ANY REPRESENTATION OR WARRANTY OF ANY KIND TO THE BUYER THAT HE OR SHE IS QUALIFIED TO MAKE ANY REPAIRS TO THE PRODUCT, OR THAT HE OR SHE IS QUALIFIED TO REPLACE ANY PARTS OF THE PRODUCT. IN FACT, THE MANUFACTURER AND/OR DISTRIBUTOR EXPRESSLY STATES THAT ALL REPAIRS AND PARTS REPLACEMENTS SHOULD BE UNDERTAKEN BY CERTIFIED AND LICENSED TECHNICIANS, AND NOT BY THE BUYER. THE BUYER ASSUMES ALL RISK AND LIABILITY ARISING OUT OF HIS OR HER REPAIRS TO THE ORIGINAL PRODUCT OR REPLACEMENT PARTS THERETO, OR ARISING OUT OF HIS OR HER INSTALLATION OF REPLACEMENT PARTS THERETO
Parts List
| Part | Description | Qty |
| 1 | Base | 1 |
| 2 | Post | 1 |
| 3 | Boom | 1 |
| 4 | Boom Extension | 1 |
| 5 | Winch | 1 |
| 6 | Ram | 1 |
| 7 | Bolt | 3 |
| 8 | Lock Washer | 3 |
| 9 | Hook | 1 |
| 10 | R-Pin | 5 |
| 11 | Boom Pin | 1 |
| 12 | Pin | Qty |
| 13 | Pin | 1 |
| 14 | Post Pin | 2 |
| 15 | Bolt | 1 |
| 16 | Washer | 4 |
| 17 | Lock Washer | 4 |
| 18 | Nut | 4 |
| 19 | Mounting Plate | 4 |
| 20 | Ram Handle | 2 |
| 21 | Grease Fitting | 1 |
| 1 |
Record Product’s Serial Number Here:……………………
Note: If the product has no serial number, record the month and year of purchase instead.
Note: Some parts are listed and shown for illustration purposes only, and are not available individually as replacement parts. Specify UPC 792363615228 when ordering parts.
Assembly Diagram

Limited 90 Day Warranty
Harbor Freight Tools Co. makes every effort to assure that its products meet high quality and durability standards, and warrants to the original purchaser that this product is free from defects in materials and workmanship for the period of 90 days from the date of purchase. This warranty does not apply to damage due directly or indirectly, to misuse, abuse, negligence or accidents, repairs or alterations outside our facilities, criminal activity, improper installation, normal wear, and tear, or to lack of maintenance. We shall in no event be liable for death, injuries to persons or property, or for incidental, contingent, special or consequential damages arising from the use of our product. Some states do not allow the exclusion or limitation of incidental or consequential damages, so the above limitation of exclusion may not apply to you. THIS WARRANTY IS EXPRESSLY IN LIEU OF ALL OTHER WARRANTIES, EXPRESS OR IMPLIED, INCLUDING THE WARRANTIES OF MERCHANTABILITY AND FITNESS. To take advantage of this warranty, the product or part must be returned to us with transportation charges prepaid. Proof of purchase date and an explanation of the complaint must accompany the merchandise.
If our inspection verifies the defect, we will either repair or replace the product at our election or we may elect to refund the purchase price if we cannot readily and quickly provide you with a replacement. We will return repaired products at our expense, but if we determine there is no defect, or that the defect resulted from causes not within the scope of our warranty, then you must bear the cost of returning the product.
This warranty gives you specific legal rights and you may also have other rights which vary from state to state.
Item 61522
For technical questions, please call 1-888-866-5797.
26541 Agoura Road • Calabasas, CA 91302 • 1-888-866-5797




Note: You may need to pull out cable from Winch reel to expose bolt holes on Winch base.

















