![]()
PITTSBURGH 58794 1 TON Foldable Shop Crane Owner’s Manual

Save This Manual Keep this manual for the safety warnings and precautions, assembly, operating, inspection, maintenance and cleaning procedures. Write the product’s serial number in the back of the manual (or month and year of purchase if product has no number). Keep this manual and the receipt in a safe and dry place for future reference.

Visit our website at: http://www.harborfreight.com
Email our technical support at: [email protected]
When unpacking, make sure that the product is intact and undamaged. If any parts are missing or broken, please call 1-888-866-5797 as soon as possible.
Copyright© 2022 by Harbor Freight Tools®. All rights reserved. No portion of this manual or any artwork contained herein may be reproduced in any shape or form without the express written consent of Harbor Freight Tools. Diagrams within this manual may not be drawn proportionally. Due to continuing improvements, actual product may differ slightly from the product described herein. Tools required for assembly and service may not be included.
WARNING
Read this material before using this product. Failure to do so can result in serious injury. SAVE THIS MANUAL.
SAFETY

IMPORTANT SAFETY INFORMATION
General Safety Warnings
- Study, understand, and follow all instructions before operating this device.
- Do not exceed rated capacity.
- Use only on hard, level surface capable of supporting the load.
- Before moving, lower the load to the lowest possible height.
- Failure to heed these markings may result in personal injury and/or property damage.
- Use only sling or chains with a rated capacity greater than the weight of the load being lifted.
- Do not allow load to swing or drop violently while lowering or moving.
- No alterations shall be made to this product. Do not adjust safety valve.
- Properly extend leg extensions and secure boom in proper setting before use.
- Follow capacities marked on boom; capacity decreases as boom lengthens.
- Wear ANSI-approved safety goggles and heavy-duty work gloves during use.
- Verify replacement ram has same rating, mounting points and maximum length.
- Do not use for aircraft purposes.
- Inspect before every use; do not use if parts loose or damaged.
- Keep your work area clean and well lit. Cluttered work areas invite accidents.
- Keep bystanders, children, and visitors away while operating Engine Crane. Distractions can cause you to lose control.
- Stay alert. Watch what you are doing, and use common sense when operating a ram. Do not use a ram while tired or under the influence of drugs, alcohol, or medication. A moment of inattention while operating rams may result in serious personal injury.
- Follow instructions in the “Inspection, Maintenance, And Cleaning” section of this manual. Use of unauthorized parts or failure to follow maintenance instructions may create a risk of injury and may void any applicable warranty.
- Maintain labels and nameplates on the Engine Crane. These carry important information. If unreadable or missing, contact Harbor Freight Tools for a replacement.
- Before use, read manufacturer’s instruction manual for the object you will lift.
- Industrial applications must follow OSHA requirements.
- The warnings, precautions, and instructions discussed in this manual cannot cover all possible conditions and situations that may occur. The operator must understand that common sense and caution are factors, which cannot be built into this product, but must be supplied by the operator.
SAVE THESE INSTRUCTIONS.
SETUP
Specifications

Assembly
Bolt Shaft Identification Chart

WARNING TO PREVENT SERIOUS INJURY AND DEATH:
The correct bolts must be used during assembly. Carefully compare bolts to Bolt Identification illustration above and the measurements shown in the parts list and assembly diagrams near the end of this manual to make sure that the correct bolts are used in the correct place.
For safety and ease of assembly, use two people to assemble the Shop Crane.
NOTICE: DO NOT TIGHTEN ANY BOLTS UNTIL YOU ARE FULLY FINISHED WITH ASSEMBLY. OTHERWISE PARTS WILL NOT LINE UP PROPERLY.



OPERATION
Operating Instructions
Read ENTIRE IMPORTANT SAFETY INFORMATION section at beginning of this manual including all text under subheadings therein before set up or use of this product.
Note: Once Assembly is complete, tighten ALL Bolts before initial operation.
Lifting and Lowering
- Locate the hole on the Boom with a weight limit higher than the weight you will be lifting. For example: Locate the 1/2 TON hole on the Boom for a load that is under 1/2 Ton. See Figure F.
- Adjust the Boom Extension(24) so the hole farthest from the hook-end aligns with the chosen hole on the Boom(23). Secure into place by inserting the Boom Pin(30) through all aligned holes and securing in place with the R-Pin(14). See Figure F.
WARNING! Keep clear of the object that is being lifted by the Shop Crane. Be aware of the possibility of a load slipping off the Hook and Chain. An item that falls from the Crane can cause serious injury. - Move the Shop Crane so that the Chain / Hook(26) are directly above the Load to be lifted. See Figure F.
- Securely attach the Chain / Hook(26) to the Load. See Figure F.

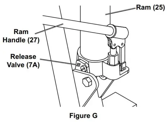
5. To raise the Boom, turn the Ram’s Release Valve(7A) fully clockwise (right). Insert the Ram Handle(27) into the Ram(25) and pump (up and down) repeatedly until the Load has been lifted to the desired height. See Figure G.
Note: Fully tighten the Release Valve(7A) or else the Ram(25) may lower or may not be able to reach the full height.
6. To lower the Shop Crane, SLOWLY turn the Release Valve(7A) counterclockwise (left). See Figure G.

Folding the Frame
WARNING! Do not fold the Shop Crane while loaded.
- Lower the Shop Crane by turning the Release Valve(7A) counterclockwise (left). See Figure H.
- Remove R-Pins(14) from the front Leg Pins(11). Remove the front Leg Pins(11). Leave rear Leg Pins(11) in. See Figure H.
- Raise the Legs until they rest against the Ram Handle(27). Insert a front Leg Pin(11) into the middle hole of the Base(25), for each Leg(29), and reinsert R-Pins(14). See Figure H.

Bleeding Instructions
IMPORTANT! Before first use, check for proper hydraulic oil level and thoroughly test the equipment.
If it does not work properly, bleed excess air from its hydraulic system as follows:
- Open the Release Valve(7A) and lower the Ram(25) completely. See Figure I.
- Remove Oil Plug(26A) and fill with hydraulic oil (sold separately) to full level. See Figure I.
- Apply downward pressure to the Boom(23) and Pump the Ram Handle(27) quickly several times. See Figure I.
- Check the Oil Fill Hole and, if necessary, top off the Oil Fill Hole with hydraulic oil. See Figure I.
- Replace the Oil Plug(26A) and close the Release Valve(7A). See Figure I.

6. Test the equipment several times for proper operation before attempting to lift a load. If, after bleeding, the equipment still does not appear to be working properly, do not use the equipment until it has been repaired by a qualified service technician.
Maintenance and Servicing
Procedures not specifically explained in this manual must be performed only by a qualified technician.
WARNING TO PREVENT SERIOUS INJURY FROM ACCIDENTAL OPERATION:
Do not use damaged equipment. If abnormal noise or vibration occurs, have the problem corrected before further use.
Cleaning, Maintenance, and Lubrication
- BEFORE EACH USE, inspect the general condition of the tool. Check for:
• loose hardware,
• misalignment or binding of moving parts,
• cracked or broken parts, and
• any other condition that may affect its safe operation. - Before each use, thoroughly test the Ram(25) for proper operation prior to its actual use.
If the Ram(25) appears to not be working properly, follow Bleeding instructions on page 8. - Change the hydraulic oil at least once every three years:
a. With the Ram(25) fully lowered, remove the Oil Plug(26A) on the side of the Oil Tank(25A).
b. Tip the Ram(25) to allow the old hydraulic oil to drain out of the Oil Tank(25A) completely, and dispose of the old hydraulic oil in accordance with local regulations.
c. With the Ram(25) upright, completely fill the Oil Tank(25A) with a high quality hydraulic oil (not included) until the oil just begins to run out of the Oil Fill Hole.
d. Open the Release Valve(7A) and pump the Ram Handle(27) to bleed air from the system.
e. Reinstall the Oil Plug(26A). - Wipe dry with a clean cloth. Then, store the Shop Crane in a safe, dry location out of reach of children and other non-authorized people.
Troubleshooting
WARNING
TO PREVENT SERIOUS INJURY: Use caution when troubleshooting malfunctioning ram. Stay clear of supported load. Completely resolve all problems before use.
If solutions presented in Troubleshooting guide do not solve the problem, have a qualified technician inspect and
repair ram before use. After ram is repaired: Test it carefully without a load by raising and lowering it fully, checking for proper operation, BEFORE RETURNING RAM TO OPERATION.
DO NOT USE A DAMAGED OR MALFUNCTIONING RAM!

PLEASE READ THE FOLLOWING CAREFULLY
THE MANUFACTURER AND/OR DISTRIBUTOR HAS PROVIDED THE PARTS LIST AND ASSEMBLY DIAGRAM IN THIS MANUAL AS A REFERENCE TOOL ONLY. NEITHER THE MANUFACTURER OR DISTRIBUTOR MAKES ANY REPRESENTATION OR WARRANTY OF ANY KIND TO THE BUYER THAT HE OR SHE IS QUALIFIED TO MAKE ANY REPAIRS TO THE PRODUCT, OR THAT HE OR SHE IS QUALIFIED TO REPLACE ANY PARTS OF THE PRODUCT. IN FACT, THE MANUFACTURER AND/OR DISTRIBUTOR EXPRESSLY STATES THAT ALL REPAIRS AND PARTS REPLACEMENTS SHOULD BE UNDERTAKEN BY CERTIFIED AND LICENSED TECHNICIANS, AND NOT BY THE BUYER. THE BUYER ASSUMES ALL RISK AND LIABILITY ARISING OUT OF HIS OR HER REPAIRS TO THE ORIGINAL PRODUCT OR REPLACEMENT PARTS THERETO, OR ARISING OUT OF HIS OR HER INSTALLATION OF REPLACEMENT PARTS THERETO.
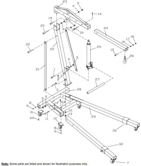
Parts Lists and Diagrams
Crane Parts List and Diagram


and are not available individually as replacement parts. Specify UPC 193175446725 when ordering parts.
Ram Parts List and Diagram


Record Product’s Serial Number Here:
Note: If product has no serial number, record month and year of purchase instead.
Note: Some parts are listed and shown for illustration purposes only, and are not available individually as replacement parts. Specify UPC 193175446725 when ordering parts.
Limited 90 Day Warranty
Harbor Freight Tools Co. makes every effort to assure that its products meet high quality and durability standards, and warrants to the original purchaser that this product is free from defects in materials and workmanship for the period of 90 days from the date of purchase. This warranty does not apply to damage due directly or indirectly, to misuse, abuse, negligence or accidents, repairs or alterations outside our facilities, criminal activity, improper installation, normal wear and tear, or to lack of maintenance. We shall in no event be liable for death, injuries to persons or property, or for incidental, contingent, special or consequential damages arising from the use of our product. Some states do not allow the exclusion or limitation of incidental or consequential damages, so the above limitation of exclusion may not apply to you. THIS WARRANTY IS EXPRESSLY IN LIEU OF ALL OTHER WARRANTIES, EXPRESS OR IMPLIED, INCLUDING THE WARRANTIES OF MERCHANTABILITY AND FITNESS.
To take advantage of this warranty, the product or part must be returned to us with transportation charges prepaid. Proof of purchase date and an explanation of the complaint must accompany the merchandise. If our inspection verifies the defect, we will either repair or replace the product at our election or we may elect to refund the purchase price if we cannot readily and quickly provide you with a replacement. We will return repaired products at our expense, but if we determine there is no defect, or that the defect resulted from causes not within the scope of our warranty, then you must bear the cost of returning the product.
This warranty gives you specific legal rights and you may also have other rights which vary from state to state.
![]()
26677 Agoura Road • Calabasas, CA 91302 • 1-888-866-5797
Read More About This Manual & Download PDF:


















