BOSCH PHO 1500 82mm Electric Corded Planer 230V

Safety Instructions
General Power Tool Safety Warnings
WARNING Read all safety warnings, instruc-tions, illustrations and specifications provided with this power tool. Failure to follow all in-structions listed below may result in electric shock, fire and/or serious injury. Save all warnings and instructions for future reference. The term “power tool” in the warnings refers to your mains-operated (corded) power tool or battery-operated (cord-less) power tool.
Work area safety
- Keep work area clean and well lit. Cluttered or dark areas invite accidents.
- Do not operate power tools in explosive atmospheres, such as in the presence of flammable liquids, gases or dust. Power tools create sparks which may ignite the dust or fumes.
- Keep children and bystanders away while operating a power tool. Distractions can cause you to lose control.
Electrical safety
- Power tool plugs must match the outlet. Never modify the plug in any way. Do not use any adapter plugs with earthed (grounded) power tools. Unmodified plugs and matching outlets will reduce risk of electric shock.
- Avoid body contact with earthed or grounded surfaces, such as pipes, radiators, ranges and refrigerators. There is an increased risk of electric shock if your body is earthed or grounded.
- Do not expose power tools to rain or wet conditions. Water entering a power tool will increase the risk of electric shock.
- Do not abuse the cord. Never use the cord for carrying, pulling or unplugging the power tool. Keep cord away from heat, oil, sharp edges or moving parts. Damaged or entangled cords increase the risk of electric shock.
- When operating a power tool outdoors, use an extension cord suitable for outdoor use. Use of a cord suitable for outdoor use reduces the risk of electric shock.
- If operating a power tool in a damp location is unavoidable, use a residual current device (RCD) protected supply. Use of an RCD reduces the risk of electric shock.
Personal safety
- Stay alert, watch what you are doing and use common sense when operating a power tool. Do not use a power tool while you are tired or under the influence of drugs, alcohol or medication. A moment of inattention while operating power tools may result in serious personal injury.
- Use personal protective equipment. Always wear eye protection. Protective equipment such as a dust mask, non-skid safety shoes, hard hat or hearing protection used for appropriate conditions will reduce personal injuries.
- Prevent unintentional starting. Ensure the switch is in the off-position before connecting to power source and/or battery pack, picking up or carrying the tool. Carrying power tools with your finger on the switch or energising power tools that have the switch on invites accidents.
- Remove any adjusting key or wrench before turning the power tool on. A wrench or a key left attached to a rotating part of the power tool may result in personal injury.
- Do not overreach. Keep proper footing and balance at all times. This enables better control of the power tool in unexpected situations.
- Dress properly. Do not wear loose clothing or jewellery.
Keep your hair and clothing away from moving parts. Loose clothes, jewellery or long hair can be caught in moving parts. - If devices are provided for the connection of dust extraction and collection facilities, ensure these are connected and properly used. Use of dust collection can reduce dust-related hazards.
- Do not let familiarity gained from frequent use of tools allow you to become complacent and ignore tool safety principles. A careless action can cause severe injury within a fraction of a second.
Power tool use and care
- Do not force the power tool. Use the correct power tool for your application. The correct power tool will do the job better and safer at the rate for which it was designed.
- Do not use the power tool if the switch does not turn it on and off. Any power tool that cannot be controlled with the switch is dangerous and must be repaired.
- Disconnect the plug from the power source and/or remove the battery pack, if detachable, from the power tool before making any adjustments, changing accessories, or storing power tools. Such preventive safety measures reduce the risk of starting the power tool accidentally.
- Store idle power tools out of the reach of children and do not allow persons unfamiliar with the power tool or these instructions to operate the power tool. Power tools are dangerous in the hands of untrained users.
- Maintain power tools and accessories. Check for misalignment or binding of moving parts, breakage of parts and any other condition that may affect the power tool’s operation. If damaged, have the power tool repaired before use. Many accidents are caused by poorly maintained power tools.
- Keep cutting tools sharp and clean. Properly maintained cutting tools with sharp cutting edges are less likely to bind and are easier to control.
- Use the power tool, accessories and tool bits etc. in accordance with these instructions, taking into account the working conditions and the work to be performed. Use of the power tool for operations different from those intended could result in a hazardous situation.
- Keep handles and grasping surfaces dry, clean and free from oil and grease. Slippery handles and grasping surfaces do not allow for safe handling and control of the tool in unexpected situations.
Service
Have your power tool serviced by a qualified repair person using only identical replacement parts. This will ensure that the safety of the power tool is maintained.
Safety instructions for planers
- Wait for the cutter to stop before setting the tool down. An exposed rotating cutter may engage the surface leading to possible loss of control and serious injury.
- Hold the power tool by insulated gripping surfaces, because the cutter may contact its own cord. Cutting a “live” wire may make exposed metal parts of the power tool “live” and could give the operator an electric shock.
- Use clamps or another practical way to secure and support the workpiece to a stable platform. Holding the workpiece by your hand or against the body leaves it unstable and may lead to loss of control.
- Only bring the power tool into contact with the workpiece when switched on. Otherwise there is danger of kickback if the cutting tool jams in the workpiece.
- Do not allow the chip ejector to come into contact with your hands. You may be injured by rotating parts.
- Never plane over metal objects, nails or screws. Cutters and cutter shafts could become damaged and cause increased vibration.
- Use suitable detectors to determine if utility lines are hidden in the work area or call the local utility company for assistance. Contact with electric lines can lead to fire and electric shock. Damaging a gas line can lead to explosion. Penetrating a water line causes property damage or may cause an electric shock.
- While working, always hold the planer in such a way that the planer base plate lies flat against the workpiece. Otherwise the planer could slip and cause injury.
Products sold in GB only:
Your product is fitted with an BS 1363/A approved electric plug with internal fuse (ASTA approved to BS 1362). If the plug is not suitable for your socket outlets, it should be cut off and an appropriate plug fitted in its place by an authorised customer service agent. The replacement plug should have the same fuse rating as the original plug. The severed plug must be disposed of to avoid a possible shock hazard and should never be inserted into a mains socket elsewhere. Hold the power tool firmly with both hands and make sure you have a stable footing. The power tool can be more securely guided with both hands.
PARTS


Product Description and Specifications
Read all the safety and general instructions. Failure to observe the safety and general instructions may result in electric shock, fire and/or serious injury. Please observe the illustrations at the beginning of this operating manual
Intended use
The power tool is intended for planing wood-based materials such as beams and boards while resting firmly on the workpiece. It is also suitable for chamfering edges and for rebating.
Product features
The numbering of the product features refers to the diagram of the power tool on the graphics page.
- Chip ejector (PHO 2000: either right or left)
- Knob for setting the cutting depth (insulated gripping surface)
- Cutting depth scale
- Changeover lever for chip ejector direction (PHO 2000)
- Lock-off switch for on/off switch
- On/off switch
- Storage compartment
- V-grooves
- Planer base plate
- Handle (insulated gripping surface)
- Blade head
- Clamping element for planer blade
- Fastening screw for planer blade
- HM/TC planer blade
- Hex key
- Vacuum hose (dia. 35 mm) a)
- Dust/chip bag a)
- Parallel guide a)
- Scale for rebate width a)
- Locking nut for rebate width setting a)
- Fastening screw for parallel/angle guide a)
- Angle guide a)
- Locking nut for angle setting a)
- Fastening screw for rebate depth guide a)
- Rebate depth guide a)
- Parking rest
Accessories shown or described are not included with the product as standard. You can find the complete selection of accessories in our accessories range
Technical Data
| Article number | 3 603 BA4 0.. | 3 603 BA4 1.. | |
| Rated power input | W | 550 | 680 |
| Power output | W | 280 | 400 |
| No-load speed | min–1 | 19 500 | 19 500 |
| Cutting depth | mm | 0–1.5 | 0–2.0 |
| Rebate depth | mm | 0–8 | 0–8 |
| Max. planing depth | mm | 82 | 82 |
| Weight according to EPTA-Procedure 01:2014 | kg | 2.4 | 2.4 |
| Protection class | /II | /II |
The specifications apply to a rated voltage [U] of 230 V. These specifications may vary at different voltages and in country-specific models.
Noise/vibration information
Noise emission values determined according to EN 62841‑2‑14. Typically, the A-weighted noise level of the power tool is: Sound pressure level 86 dB(A); sound power level 97 dB(A). Uncertainty K = 3 dB. Wear hearing protection! Vibration total values ah (triax vector sum) and uncertainty K determined according to EN 62841‑2‑14: ah = 4,5 m/s2, K = 1,5 m/s2.
The vibration level and noise emission value given in these instructions have been measured in accordance with a standardised measuring procedure and may be used to compare power tools. They may also be used for a preliminary estimation of vibration and noise emissions. The stated vibration level and noise emission value represent the main applications of the power tool. However, if the power tool is used for other applications, with different application tools or is poorly maintained, the vibration level and noise emission value may differ. This may significantly increase the vibration and noise emissions over the total working period. To estimate vibration and noise emissions accurately, the times when the tool is switched off or when it is running but not actually being used should also be taken into account. This may significantly reduce vibration and noise emissions over the total working period. Implement additional safety measures to protect the operator from the effects of vibration, such as servicing the power tool and application tools, keeping their hands warm, and organising workflows correctly.
Fitting
Pull the plug out of the socket before carrying out any work on the power tool.
Changing the tool
Take care when changing the planer blade. Do not pick up the planer blade by the cutting edges. You may be injured by the sharp cutting edges.
Use only original Bosch HM/TC planer blades. The hard metal (HM/TC) planer blade has two cutting edges and can be turned. If both cutting edges become blunt, the planer blade (14) needs to be changed. The HM/TC planer blade must not be resharpened.
Removing the planer blade
To turn or replace the planer blade (14), turn the blade head (11) until it is parallel to the planer base plate (9).

- Loosen the two fastening screws (13) using the hex key (15) (approx. 1–2 turns).
- If necessary, loosen the clamping element (12) by lightly striking it with an appropriate implement, e.g. a wooden wedge.
- Use a piece of wood to push the planer blade (14) to the side and out of the blade head (11).
Fitting the planer blade
The guide groove on the planer blade ensures a constant, even height setting when changing or turning the blade. If necessary, clean the knife seat in the clamping element (12) and the planer blade (14). When fitting the planer blade, ensure that it is securely seated in the mounting guide of the clamping element (12) and is aligned flush with the side edge of the planer base plate (9) at the rear. Then tighten the two fastening screws (13) with the hex key (15).
Note: Check that the fastening screws (13) are firmly tightened before start-up. Turn the blade head (11) by hand and ensure that the planer blade is not brushing against anything.
Dust/Chip Extraction
The dust from materials such as lead paint, some types of wood, minerals and metal can be harmful to human health. Touching or breathing in this dust can trigger allergic reactions and/or cause respiratory illnesses in the user or in people in the near vicinity. Certain dusts, such as oak or beech dust, are classified as carcinogenic, especially in conjunction with wood treatment additives (chromate, wood preservative). Materials containing asbestos may only be machined by specialists.
- Use a dust extraction system that is suitable for the material wherever possible.
- Provide good ventilation at the workplace.
- It is advisable to wear a P2 filter class breathing mask.
The regulations on the material being machined that apply in the country of use must be observed. Avoid dust accumulation at the workplace. Dust can easily ignite. Clean the chip ejector (1) regularly. Clean a clogged chip ejector using a suitable tool, e.g. a piece of wood, compressed air, etc. Do not allow the chip ejector to come into contact with your hands. You may be injured by rotating parts. Always use an external dust extraction device or chip/dust bag to guarantee optimum suction.
External dust extraction

An extraction hose (dia. 35 mm) (16) (accessory) can be connected to the chip ejector on either side (PHO 2000) or a single side only (PHO 1500). Connect the dust extraction hose (16) to a dust extractor (accessory). You will find an overview of how to connect various dust extractors at the end of these operating instructions. The dust extractor must be suitable for the material being worked. When extracting dry dust that is especially detrimental to health or carcinogenic, use a special dust extractor.
Self-generated dust extraction
A chip/dust bag (accessory) (17) can be used for smaller jobs. Insert the dust bag nozzle of the chip/dust bag firmly into the chip ejector (1). Empty the chip/dust bag (17) at regular intervals to maintain optimum dust collection.
Selectable chip ejection (PHO 2000)
Using the changeover lever (4), the chip ejector can be (1) adjusted to the right or left. Push the changeover lever (4) all the way towards the end position until it clicks into place. The selected chip ejector direction is indicated by an arrow symbol on the changeover lever (4).
Operation
Start-up
- Pay attention to the mains voltage. The voltage of the power source must match the voltage specified on the rating plate of the power tool. Power tools marked with 230 V can also be operated with 220 V.
- Products that are only sold in AUS and NZ: Use a residual current device (RCD) with a nominal residual current of 30 mA or less.
Setting the cutting depth
Using the knob (2), the cutting depth can be continuously adjusted between 0–1,5 mm (PHO 1500) or 0–2,0 mm (PHO 2000) with the aid of the cutting depth scale (3) (scale division = 0,25 mm).
Switching on/off
Make sure that you are able to press the On/Off switch without releasing the handle. To start the power tool, first press the lock-off switch (5), then press and hold the on/off switch (6). To switch off the power tool, release the on/off switch (6).
Note: For safety reasons, the on/off switch (6) cannot be locked; it must remain pressed during the entire operation.
Practical advice
Pull the plug out of the socket before carrying out any work on the power tool.
Service station
- The service station in the case can be used as a mounting fixture for the planer, e.g. for changing the blade.
- Do not use the service station for stationary operation of the planer.
Parking rest
The parking rest (26) makes it possible to put down the power tool directly after working, without any danger of damaging the workpiece or planer blade. During the work process, the parking rest (26) is highly pivoted and the rear section of the planer base plate (9) is released.

Note: The parking rest (26) must not be removed.
Planing Procedure
Set the required cutting depth and position the power tool with the front section of the planer base plate (9) on the workpiece Only bring the power tool into contact with the workpiece when switched on. Otherwise there is danger of kickback if the cutting tool jams in the workpiece. Switch on the power tool and guide it over the surface of the workpiece, applying uniform feed. To achieve high-quality surfaces, apply only a low feed rate and exert pressure on the middle of the planer base plate. For the processing of hard materials, such as hardwood, and also when utilising the maximum planing width, set only a low cutting depth and reduce the planer feed as appropriate. Excessive feed reduces the quality of the surface finish and can lead to the chip ejector quickly becoming blocked. Only sharp planer blades achieve good cutting performance and make the power tool last longer. The integrated parking rest (26) also enables a continuation of the planing procedure following interruption at any point on the workpiece:
- Place the power tool – with parking rest folded down onto the area of the workpiece that you will continue to work on.
- Switch the power tool on.
- Shift the contact pressure onto the front of the planer base plate and slowly slide the power tool forward (➊). In doing so, the parking rest will swivel upwards and out of the way (➋), meaning that the rear section of the planer base plate is in contact with the workpiece again.
- Guide the power tool over the surface of the workpiece, applying uniform feed (➌).
Chamfering edges
The V-grooves in the front of the planer base plate enable quick and easy chamfering of workpiece edges. Select the Vgroove that corresponds to your chamfering width. Then position the planer with the V-groove onto the edge of the workpiece and guide it along

Planing with the Parallel/Angle Guide



Attach the parallel guide (18) or the angle guide (22) to the power tool with the fastening screw (21). Depending on the application, attach the rebate depth guide (25) to the power tool with the fastening screw (24). Loosen the locking nut (20) and set the desired rebate width on the scale (19). Retighten the locking nut (20). Set the desired rebate depth accordingly using the rebate depth guide (25). Carry out the planing procedure several times until the desired rebate depth has been achieved. Guide the planer with sideways contact pressure.
Chamfering with angle guide
Use the angle setting (23) to set the necessary helix angle when chamfering grooves and surfaces.

Storage compartment
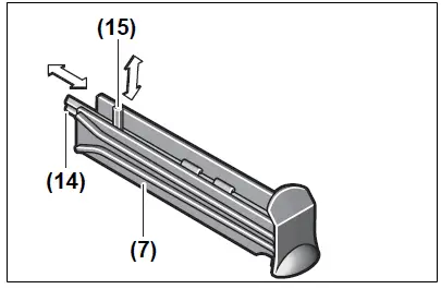
In the storage compartment (7), you can store a planer blade (14) (only on PHO 2000) and a hex key (15) as shown in the illustration. To remove the compartment contents, pull the storage compartment (7) completely out of the planer

Maintenance and Service
Maintenance and Cleaning
- Pull the plug out of the socket before carrying out any work on the power tool.
- To ensure safe and efficient operation, always keep the power tool and the ventilation slots clean.
In order to avoid safety hazards, if the power supply cord needs to be replaced, this must be done by Bosch or by an after-sales service centre that is authorised to repair Bosch power tools. Keep the parking rest (26) clear and clean it regularly
After-Sales Service and Application Service
Our after-sales service responds to your questions concerning maintenance and repair of your product as well as spare parts. You can find explosion drawings and information on spare parts at: www.bosch-pt.com The Bosch product use advice team will be happy to help you with any questions about our products and their accessories. In all correspondence and spare parts orders, please always include the 10‑digit article number given on the nameplate of the product.
Great Britain
Robert Bosch Ltd. (B.S.C.) P.O. Box 98 Broadwater Park North Orbital Road Denham Uxbridge UB 9 5HJ
At www.bosch-pt.co.uk you can order spare parts or arrange the collection of a product in need of servicing or repair.
- Tel. Service: (0344) 7360109
- E-Mail: [email protected]
You can find further service addresses at: www.bosch-pt.com/serviceaddresses
Disposal
The power tool, accessories and packaging should be recycled in an environmentally friendly manner. Do not dispose of power tools along with household waste
Only for EU countries:
According to the European Directive 2012/19/EU on Waste Electrical and Electronic Equipment and its implementation into national law, power tools that are no longer usable must be collected separately and disposed of in an environmentally friendly manner. If disposed incorrectly, waste electrical and electronic equipment may have harmful effects on the environment and human health, due to the potential presence of hazardous substances.
Only for United Kingdom:
According to The Waste Electrical and Electronic Equipment Regulations 2013 (SI 2013/3113) (as amended), products that are no longer usable must be collected separately and disposed of in an environmentally friendly manner.
Declaration of Conformity
We declare under our sole responsibility that the stated products comply with all applicable provisions of the directives and regulations listed below and are in conformity with the following standards. Technical file at:
- 2006/42/EC
- 2014/30/EU
- 2011/65/EU
- EN 62841-1:2015
- EN 62841-2-14:2015
- EN 55014-1:2017+A11:2020
- EN 55014-2:2015
- EN IEC 61000-3-2:2019
- EN 61000-3-3:2013+A1:2019
- EN IEC 63000:2018
Robert Bosch Power Tools GmbH, 70538 Stuttgart, GERMANY Stuttgart, 01.10.2020
References
Skånevik Ølen Kraftlag AS
Bosch Power Tools | Bosch Power Tools
Select your country | Bosch Power Tools
Service worldwide
Bosch Elektrowerkzeuge und Zubehör | Bosch Elektrowerkzeuge
Bosch-sähkötyökalut | Bosch-sähkötyökalut
Outillage électroportatif Bosch | Outillage électroportatif Bosch
Invented for life | Bosch Global
Ana Sayfa | Bosch Türkiye
Loading...













