MAXIM LIGHTING 21833 WARREN 4 Lights Chandelier

Before Getting Started
- Reed the instructions carefully prior to assembling the product
- When you open the package with a sharp tool like cutter knife, be careful not to demerge the Components inside.
- Carefully remove all packaging materials and retain for future use.
- Keep all hardware parts and packaging out of roach of small children.
- Choose a clean, level, spacious assembly area. Avoid hard surfaces that may damage the product
- Ensure that you have all required Oostende for complete assembly.
- Take care when lairing. Assemble the product in close proximity to where you ident to potion the fem..
- Do not over tighten the screwed and bolls as this may damage the threads.
- Do not let children’s play with the product.
- Risk of suocationl Keep any packaging materials away from children.
Lamp Care Instructions
- Carefully read through the instruction sheet before assembly and using the product
- Caution there is a risk of shock. Disconnect from power source before assembling or cleaning.
- Caution there is a risk of shock. Disconnect from power source before assembling or cleaning.
- Switch off, unplug and allow bulb to cool before replacing bulb or cleaning.
- Only use the recommended bulb type and do not exceed the maximum wattage as it could cause fire.
- Do not plug the product in if cod is torn or frayed.
Cleaning & Maintenance
- On polished finishes, often using talc powder reduces the appearance of fingerprints and other smudges.
- For respective shade surfaces, use the appropriate cleansers, i.e. glass cleaner, acrylic polish, and wood polish.
- Clean with soft cloth and a mild detergent DO not use abrasive cleaner.
- Periodically (every 90 days) make sure that the screws are fully tightened.
- Prolonged exposure to heat sources may cause glazing, melting and scorching, or even cause color to fade.
- Prolonged exposure to heat sources may cause glazing, melting and scorching, or even cause color to fade.
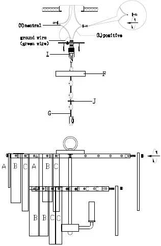
Before getting. started, ensure the package contains the following components:


Chain installation

Ceiling installation

















