Translation of the original instructions
TK 2100
55168
Please read the instructions carefully before starting the machine.
DELIVERED ITEMS



Assembly

HANDWHEEL

SAWBLADE CHANGE

RIP FENCE

TABLE EXTENSION

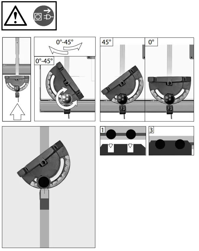
MITRE FENCE

OPERATION

WORKPIECE HOLDER

Cleaning / Maintenance

Assembly


HANDWHEEL


SAWBLADE CHANGE


SAWBLADE CHANGE


RIP FENCE


TABLE EXTENSION


MITRE FENCE


OPERATION


WORKPIECE HOLDER


Cleaning / Maintenance

Technical Data
Circular table saw ………………………………………..GTK 2100
Art. No …………………………………………………. 55168
| Service connection ………………..230 V/ 50 Hz | |
| Rated input ………………..1200W S6 40% | |
| Idle speed ………………………..4500 min -1 | |
| Saw blade dia. x hole dia ……………. 210 x 30 mm, HM 24 Z | |
| Cutting depth max. 90° ……………..62 mm | |
| Cutting depth max. 45° ………………..43 mm | |
| Weight …………………. 14,5 kg | |
| Dimensions LxWxH (in mm) ………..525 x 470 x 440 mm |
Noise and Vibration Information
Guaranteed sound power level LWA 2) ………………………………. 105,4 (A)
Wear ear protectors!
- Measured according to EN ISO 11202:1995/AC:1997, under load, Uncertainty K=3 dB (A)
- The values stated are emission values and as such do not necessarily constitute values that are safe for the workplace. Although there is a correlation between emission levels and environmental impact levels, whether further precautions are necessary cannot be derived from this. Factors influencing the actually present environmental impact level in the workplace include the characteristics of the work area and other noise sources, i.e. the number of machines and other neighboring work processes- es. The permitted workplace values can likewise vary from country to country. This information is intended to assist the user in estimating hazards and risks.
- The appliance meets EN 61000-3-11 requirements and is subject to special connection conditions. That means that users on optionally selected connection points are inadmissible. The appliance can lead to occasional voltage fluctuations under unfavorable power conditions. The appliance is only designated to be used for connection points not exceeding the maximum allowed impedance of Zmax = 0,233 Ω. As a user, you must make sure the connection point on which you want to use the appliance eets the above-mentioned requirements – after agreement with your electricity supplier if necessary.
- Read and understand the operating instructions before using the appliance. Abide by all the safety measures stated in the service manual. Act responsibly toward third parties. In case of any doubts about connection and operation refer, please to our customer centre
Specified Conditions Of Use
The circular saw is only intended to cut wood and wood-like products.
Do not use this product in any other way as stated for normal use.
Not observing general regulations in force and instructions from this manual does not make the manufacturer liable for damages.
Requirements for operating staff
The operating staff must carefully read the Operating Instructions before using the appliance.
Because wrong using of the appliance can be risky, only competent persons are allowed to operate it.
The operator must be trained properly concerning adjustment, operation and appliance use.
Qualification: Apart from the detailed instructions by a professional, no special qualification is necessary for appliance use.
Minimum age: The product has been designed to be used by persons over 16 years of age: If the product is to be used by children below the age of 8 or persons with reduced physical, sensory or mental skills or with a lack of experience and knowledge, they must be supervised or instructed in the safe use of the appliance and understand the resulting risks.
Children must not play with the appliance. Cleaning and user maintenance must not be performed by children without supervision.
Training: Using the appliance only requires corresponding training by a professional or the Operating Instructions. No special training is necessary. The operator is responsible for accidents or risks to third parties.
Residual risks
The danger of injury!
Always keep hands away from the path of the saw blade.
In spite of compliance with all relevant design regulations, dangers may still present themselves when the machine is operated, e.g.:
– workpiece parts being thrown off
– parts of damaged tools being thrown off
– noise emissions
– wood dust emissions
Emergency procedure
Conduct a first-aid procedure adequate to the injury and summon qualified medical attendance as quickly as possible. Protect the injured person from further harm and calm them down. For the sake of eventual accident, in accordance with DIN 13164, a workplace has to be fitted with a first-aid kit. It is essential to replace any used material in the first-aid kit immediately after it has been used.
If you seek help, state the following pieces of information:
- Accident site
- Accident type
- A number of injured persons
- Injury type(s)
Disposal
The disposal instructions are based on icons placed on the appliance or its package. The description of the meanings can be found in the “Marking” chapter.
Transport packaging disposal
The packaging protects the appliance against damage during transport. The packaging materials are usually selected depending on their environmental friendliness and disposal manner and can therefore be recycled. Returning the packaging into circulation sav
Do not put electrical appliances into household waste – use collection centres in your town. Ask the municipality authorities where such collection centres can be found. If electrical appliances are disposed of in an uncontrolled manner, hazardous substances can get into groundwater through the weather and as
a result, penetrate the food chain or poison the flora and fauna for a number of years. When the appliance is to be changed for a new one, the seller is legally obliged to accept the old appliance, at least for free disposal.
Symbols
Caution!
Read the Operating Instructions
Before carrying out any work on the machine, disconnect the plug from the socket.
Wear ear protectors! Wear eye protective goggles!
Wear protective gloves!
Always keep your hands away from the path of the saw blade.
Protect against humidity Never expose the tool to rain.
Cable pulling/transport prohibited
Forbidden operation for persons with chainlet
Forbidden operation for persons with long hair.
Keep a distance from persons Observe to keep out of the dangerous zone
If the power cord of the appliance gets damaged, it must be replaced by the manufacturer or its customer service or a similarly qualified person to avoid danger.
Warning against dangerous electric voltage
Warning against hand injuries
Warning against bounced subjects
| Any damaged or disposed electric or electronic devices must be delivered to appropriate collection centres. | |
| Protect against humidity | |
| This side up |
General instructions for electric tool
Warnings
Read all safety instructions and manuals. Failure to follow the safety instructions and manuals may result in electric shock, fire and/or serious injuries.
Save all warnings and instructions for future reference.
The term „electric tools“ used in the safety instructions refers to electricity-powered tools (including electric cable)
and battery-powered tools (without electric cable).
- Safety in the place of work
a) Keep the place of your work clean and well-lit. Mess or an unlit workplace may lead to injuries.
b) Do not work with electric tools in conditions with flammable liquids, gases or dust. Electric tools produce sparks able to ignite dust or fumes.
c) Keep children and other persons outside the place where the electric tools are used. When not concentrated, you may lose control over the machine. - Electrical safety
a) The plug of an electric tool must strictly correspond to the socket. The plug must not be altered in any case. Do not use any adapters together with earthed electric tools. Unaltered plugs and appropriate sockets reduce the risk of electric shock.
b) Prevent contact of your body with earthed surfaces, such as tubes, heating, cookers and fridges. There is an increased risk of electric shock if your body is earthed.
c) Do not expose electric tools to rain and moisture. Water entered into electric tools increases the risk of electric shock.
d) Do not use the cable in conflict with its designation, to carry or hang electric tools or to pull the plug out of the socket. Protect the cable against high temperatures, oil, sharp edges, or moving parts of the machine. Damaged or entangled cables increase the risk of electric shock.
e) When working with electric tools outdoors, use extension cables suitable for outdoor use. Using an extension cable suitable for outdoor use reduces the risk of electric shock.
f) If operating electric tools in wet conditions cannot be avoided, use a safety switch against a stray current. Using a safety switch against stray current reduces the risk of electric shock. - Safety of persons
a) Be careful, pay attention to what you are doing, and use common sense when working with electric tools. Do not use electric tools when you are tired or under the influence of drugs, alcohol or pharmaceuticals. A moment of inattention when using electric tools may lead to serious injuries.
b) Use personal protective equipment and protective glasses at all times. Using personal protective equipment, such as a respirator, non-slip shoes, protective helmet or ear protectors, depending on the type and use of electric tools reduces the risk of injuries.
c) Prevent the machine from unintentional starting. Before plugging and/or connecting the machine to the battery, handling or carrying, make sure the electric tools are switched off. Having a finger on the switch when carrying the electric tool or when the machine is on when plugging it may lead to injuries.
d) Before starting any electric tool, remove any adjusting wrenches and screwdrivers. A tool or a wrench present in the rotating part of the machine may lead to injuries.
e) Avoid any abnormal body posture. Provide good stability and keep the balance at all times. By this, electric tools are better controlled in unexpected situations. f) Wear appropriate clothing. Do not wear loose clothing and jewels. Keep hair, clothing, and gloves out of rotating parts. Loose clothing, jewels and long hair may get caught by moving parts.
g) If dust exhausters and catchers are to be installed, make sure they are fitted and used properly. Using a dust exhauster may reduce the exposure to dust. - Use and treatment of electric tools
a) Do not overload the machine. Use appropriate electric tools for your work. Working with appropriate electric tools is better and safer when within the specified power range.
b) Do not use electric tools with a defective switch. An electric tool that cannot be switched on or off is dangerous and must be repaired.
c) Unplug the machine and/or remove the battery before any machine adjustment, replacement of accessory equipment and storing of the machine. This safety measure prevents the unintentional starting of the electric tool.
d) Keep any electric tool that is not being used out of reach of children. The machine must not be used by persons not familiarised with its use and not having read these Instructions. Electric tools are dangerous if used by inexperienced persons.
e) Treat electric tools carefully. Check whether the moving parts work perfectly and do not drag, whether not broken or damaged to such an extent that the functioning of electric tools could be affected. Have any damaged parts been repaired before using the machine? Poor maintenance of electric tools is a cause of many injuries.
f) Keep cutting tools sharp and clean. Properly maintained cutting tools with sharp cutting edges are less likely to bind and are easier to control.
g) Electric tools, accessory equipment, extensions, etc. to be used in accordance with these Instructions. Consider the working conditions and the activity being performed. Using electric tools for purposes other than those specified may lead to dangerous situations. - Service a) Have your electric tools repaired by qualified authorized staff only, using original spare parts only. The safety of electric tools will be maintained by this.
Safety instructions Circular table saw
Operation is only allowed with a safety switch against stray current (RCD max. stray current of 30mA).
Wear ear protectors. Exposure to noise can cause hearing loss.
Warning Wear gloves when handling saw blades and rough materials. Warning The dust produced when using this tool may be harmful to health. Do not inhale the dust. Use a ust absorption system and wear a suitable dust protection mask. Remove deposited dust thoroughly, e.g. with a vacuum cleaner.
The machine must be during operating inside buildings connected to external devices dedusting chips and dust. A dedusting device must be put in operation prior to the work start. Before use check the machine, cable, and plug for any damages or material fatigue. Repairs should only be carried out by authorized Service Agents.
Always use the protective shields on the machine. For security, use devices such as safety- and pressure devices, guide slides, rip fences, etc.
During round timber cutting it is necessary to fix the workpiece against rotation by means of a fixing tool and use a circular saw type suitable for cross cuts. Do not use circular saws or cutting slots (grooves in the workpiece).
Cutting rebates or grooves is only permitted with a suitable protective device fitted, e.g. a protective tunnel over the saw table.
Support large panels to minimize the risk of blade pinching and kickback. Large panels tend to sag under their own weight. Supports must be placed under the panel on both sides, near the line of cut, and near the edge of the panel.
Warning Sawdust and splinters must not be removed while the machine is running.
Replace the table insert when worn Do not use saw blades that are damaged or deformed
The teeth thickness or the set of the teeth must be thicker than the body of the blade and the riving knife.
Do not remove the riving knife. It is necessary to select a saw blade that is suitable for the material being cut. Do not use saw blades not corresponding to the key data given in these instructions for use. Only use tools that meet standard EN 847-1. Only use saw blades that have been properly sharpened. It is essential to adhere to the maximum speed specified on the saw blade.
Do not use saw blades made of high-speed steel. Transport and store the tools in a suitable container;
Maintenance
efore carrying out any work on the machine, disconnect the plug from the socket.
Prior to every use, visually check the machine to rule out any defects, in particular on the power cable and the plug.
WARNING The machine must not be used under any circumstances if the machine or the safety devices are damaged.
Refer all servicing to customer service.
Use only original accessories and original spare parts. Only a regularly maintained and treated appliance can serve as a satisfactory aid. insufficient maintenance and care can lead to unforeseen accidents and injuries.
Guarantee
The warranty period of 12 months applies to commercial use and 24 months applies to private use and commences on the day of purchase of the device.
The guarantee solely covers inadequacies caused by material defects or manufacturing defects. An original payment voucher with the date of the sale needs to be submitted for any claim in the guarantee period.
The warranty does not cover unprofessional use such as device overload, violent use, damage caused by a third party or foreign materials, failure to comply with operations and assembly manual, and normal wear and tear.
Service
Do you have any technical questions? Any claim? Do you need any spare parts or operating instructions? We will quickly help you and without needles bureaucracy at our web pages at www.guede.com in the Servicing part. Please help us be able to help you. In order to identify your device in case of claim we need the serial No., product No. and year of production. All this data can be found on the type label. Please enter it here for future reference:
Serial No.:
: Art. No:
: Year of production:
: Important information for the customer
Please be sure to know that returning the product in or after the warranty period must be made in the original packaging.
EC-DECLARATION OF CONFORMITY
We, hereby declare the conception and construction of the below-mentioned appliances correspond – at the type of construction being launched – to the appropriate basic safety and hygienic requirements of EC Directives. In case of any change to the appliance not discussed with us, the Declaration expires.
Article No.
# 55168 /GTK 2100
# /
# /
# /
Appropriate EU Directives
2006/95/EC 2004/108/EC
2009/105/EC 1907/2006/EC
2011/65/EC ROHS 2009/142/EC
2006/42/EC
Annex IV
Notified Body:
Type Ex. Cert.-No.:
2000/14/EC_2005/88/EC
Noise: guaranteed LWA dB (A)97/68/EC_
Emission No.:
Harmonized standards used
EN 61029-1:2009+A11
EN 61029-2-1:2012
ZEK 01.4-08/11.11
EN 55014-1:2006+A1+A2
EN 55014-2:1997+A1+A2
EN 61000-3-2:2006+A1+A2
EN 61000-3-3:2008
GÜDE GmbH & Co. KG
Birkichstrasse 6
74549 Wolpertshausen
Deutschland![]()
Technical documentation
Managing Director
Wolpertshausen,
26/08/2014![]()
GÜDE GmbH & Co. KG
Birkichstrasse 6
74549 Wolpertshausen
Deutschland
Tel.: +49-(0)7904/700-0
Fax.: +49-(0)7904/700-250
eMail: [email protected]

















