makita 2712 Table Saw

SPECIFICATIONS
| Model | 2712 | ||
| Arbor hole | 30 mm | ||
| Blade diameter | 315 mm | ||
| Blade body thickness | 2 mm or less | ||
| Max. cutting capacities | Thickness at 90° | 85 mm | |
| Thickness at 45° | 58 mm | ||
| Width | 1,600 mm | ||
| No load speed | 2,950 (min-1) (50 Hz) | 3,400 (min-1) (60 Hz) | |
| Table size (L x W) | 550 mm x 1,600 mm with sub table (back) | ||
| Net weight | 52.9 kg | ||
| Safety class | Class I | ||
- Due to our continuing program of research and development, the specifications herein are subject to change without notice.
- Specifications may differ from country to country.
- Weight according to EPTA-Procedure 01/2003
Symbols
The following show the symbols used for the equipment.
Be sure that you understand their meaning before use.
・ Read instruction manual.
・ Wear safety glasses.
・ Do not place hand or fingers close to the blade.
・ Only for EU countries
- Do not dispose of electric equipment together with household waste material!
- In observance of the European Directive, on Waste Electric and Electronic Equipment and its implementation in accordance with national law, electric equipment that have reached the end of their life must be collected separately and returned to an environmentally compatible recycling facility.
Intended use
The tool is intended for cutting in wood.
Power supply
The tool should be connected only to a power supply of the same voltage as indicated on the nameplate, and can only be operated on single-phase AC supply. This tool should be grounded while in use to protect the operator from electric shock. Use only three-wire extension cords which have three-prong grounding-type plugs and three-pole receptacles which accept the tool’s plug.
SAFETY INSTRUCTIONS
WARNING! When using electric tools, basic safety precautions, including the following, should always be followed to reduce the risk of fire, electric shock and personal injury. Read all these instructions before operating this product and save these instructions.
For safe operations:
- Keep work area clean.
Cluttered areas and benches invite injuries. - Consider work area environment.
Do not expose power tools to rain. Do not use power tools in damp or wet locations. Keep work area well lit. Do not use power tools where there is risk to cause fire or explosion. - Guard against electric shock.
Avoid body contact with earthed or grounded surfaces (e.g. pipes, radiators, ranges, refrigerators). - Keep children away.
Do not let visitors touch the tool or extension cord. All visitors should be kept away from work area. - Store idle tools.
When not in use, tools should be stored in a dry, high or locked up place, out of reach of children. - Do not force the tool.
It will do the job better and safer at the rate for which it was intended. - Use the right tool.
Do not force small tools or attachments to do the job of a heavy duty tool. Do not use tools for purposes not intended; for example, do not use circular saws to cut tree limbs or logs. - Dress properly.
Do not wear loose clothing or jewellery, they can be caught in moving parts. Rubber gloves and non-skid footwear are recommended when working outdoors. Wear protecting hair covering to contain long hair. - Use safety glasses and hearing protection.
Also use face or dust mask if the cutting operation is dusty. - Connect dust extraction equipment.
If devices are provided for the connection of dust extraction and collection facilities ensure these are connected and properly used. - Do not abuse the cord.
Never carry the tool by the cord or yank it to disconnect it from the socket. Keep the cord away from heat, oil and sharp edges. - Secure work.
Use clamps or a vice to hold the work. It is safer than using your hand and it frees both hands to operate the tool. - Do not overreach.
Keep proper footing and balance at all times. - Maintain tools with care.
Keep cutting tools sharp and clean for better and safer performance. Follow instructions for lubrication and changing accessories. Inspect tool cord periodically and if damaged have it repaired by an authorized service facility. Inspect extension cords periodically and replace, if damaged. Keep handles dry, clean and free from oil and grease. - Disconnect tools.
When not in use, before servicing and when changing accessories such as blades, bits and cutters. - Remove adjusting keys and wrenches.
Form the habit of checking to see that keys and adjusting wrenches are removed from the tool before turning it on. - Avoid unintentional starting.
Do not carry a plugged-in tool with a finger on the switch. Ensure switch is off when plugging in. - Use outdoor extension leads.
When tool is used outdoors, use only extension cords intended for outdoor use. - Stay alert.
Watch what you are doing. Use common sense. Do not operate tool when you are tired. - Check damaged parts.
Before further use of the tool, a guard or other part that is damaged should be carefully checked to determine that it will operate properly and perform its intended function. Check for alignment of moving parts, free running of moving parts, breakage of parts, mounting and any other conditions that may affect its operation. A guard or other part that is damaged should be properly repaired or replaced by an authorized service center unless otherwise indicated in this instruction manual. Have defective switches replaced by an authorized service facility. Do not use the tool if the switch does not turn it on and off. - Warning.
The use of any accessory or attachment, other than those recommended in this instruction manual or the catalog, may present a risk of personal injury. - Have your tool repaired by a qualified person. This electric tool is in accordance with the relevant safety requirements. Repairs should only be carried out by qualified persons using original spare parts, otherwise this may result in considerable danger to the user.
ADDITIONAL SAFETY RULES FOR TOOL
- Wear eye protection.
- Do not use the tool in presence of flammable liquids or gases.
- NEVER use the tool with an abrasive cut-off wheel installed.
- Check the blade carefully for cracks or damage before operation. Replace cracked or damaged blade immediately.
- Use only saw blades recommended by the manufacturer and which conform to EN847-1, and observe that the riving knife must not be thicker than the width of the cut by the saw blade and not thinner than the body of the blade.
- Always use accessories recommended in this manual. Use of improper accessories such as abrasive cut-off wheels may cause an injury.
- Select the correct saw blade for the material to be cut.
- Do not use saw blades manufactured from high speed steel.
- To reduce the emitted noise, always be sure that the blade is sharp and clean.
- Use correctly sharpened saw blades. Observe the maximum speed marked on the saw blade.
- Clean the spindle, flanges (especially the installing surface) and hex nut before installing the blade. Poor installation may cause vibration/wobbling or slippage of the blade.
- Use saw-blade guard and riving knife for every operation for which it can be used, including all through sawing operations. Always install the blade guard following the instructions out-lined in this manual. Through sawing operations are those in which the blade cuts completely through the workpiece as in ripping or cross cutting. NEVER use the tool with a faulty blade guard or secure the blade guard with a rope, string, etc. Any irregular operation of the blade guard should be corrected immediately.
- Immediately reattach the guard and riving knife after completing an operation which requires removal of the guard.
- Do not cut metal objects such as nails and screws. Inspect for and remove all nails, screws and other foreign material from the workpiece before operation.
- Remove wrenches, cut-off pieces, etc. from the table before the switch is turned on.
- NEVER wear gloves during operation.
- Keep hands out of the line of the saw blade.
- NEVER stand or permit anyone else to stand in line with the path of the saw blade.
- Make sure the blade is not contacting the riving knife or workpiece before the switch is turned on.
- Before using the tool on an actual workpiece, let it run for a while. Watch for vibration or wobbling that could indicate poor installation or a poorly balanced blade.
- The tool should not be used for slotting, rabbeting or grooving.
- Replace table insert when worn.
- NEVER make any adjustments while tool is running. Disconnect tool before making any adjustments.
- Use a push stick when required. Push sticks MUST be used for ripping narrow workpieces to keep your hands and fingers well away from the blade.
- Always store the push-stick when it is not in use.
- Pay particular attention to instructions for reducing risk of KICKBACK. KICKBACK is a sudden reaction to a pinched, bound or misaligned saw blade. KICKBACK causes the ejection of the workpiece from the tool back towards the operator. KICKBACKS CAN LEAD TO SERIOUS PERSONAL INJURY. Avoid KICKBACKS by keeping the blade sharp, by keeping the rip fence parallel to the blade, by keeping the riving knife and blade guard in place and operating properly, by not releasing the workpiece until you have pushed it all the way past the blade, and by not ripping a workpiece that is twisted or warped or does not have a straight edge to guide along the fence.
- Do not perform any operation freehand. Freehand means using your hands to support or guide the workpiece, in lieu of a rip fence or miter gauge.
- NEVER reach around or over saw blade. NEVER reach for a workpiece until the saw blade has completely stopped.
- Avoid abrupt, fast feeding. Feed as slowly as possible when cutting hard workpieces. Do not bend or twist workpiece while feeding. If you stall or jam the blade in the workpiece, turn the tool off immediately. Unplug the tool. Then clear the jam.
- NEVER remove cut-off pieces near the blade or touch the blade guard while the blade is running.
- Knock out any loose knots from workpiece BEFORE beginning to cut.
- Do not abuse cord. Never yank cord to disconnect it from the receptacle. Keep cord away from heat, oil, water and sharp edges.
- Some dust created from operation contains chemicals known to cause cancer, birth defects or other reproductive harm. Some examples of these chemicals are:
- lead from lead-based-painted material and,
- arsenic and chromium from chemically-treated lumber.
- Your risk from these exposures varies, depending on how often you do this type of work. To reduce your exposure to these chemicals: work in a well ventilated area and work with approved safety equipment, such as those dust masks that are specially designed to filter out microscopic particles.
- When using the tool indoors, always connect the tool to an external dust extraction system. Switched on the dust extraction system before starting the tool
- The guard can be lifted during workpiece setup and for ease of cleaning. Always make sure that guard hood is down and flat against sawtable before plugging in the tool.
- Wear gloves against the hazard of cutting when handling saw blades, feeding wood into the tool or doing maintenance.
- Never try to remove chips while the saw blade is running or the tool is switched on.
- Never try to use the tool unless all guards and other safety devices necessary for tool are in good working order.
- Operators must be adequately trained in the assembly, adjustment and operation of the tool.
- Never use the blades which maximum speed is lower than the no load speed of the tool.
- Keep work area well lit.
INSTALLATION
PREPARATION
Check contents of package for the following components. Please inform Makita service center of any part missing in the package immediately.
- Table saw (1 unit)
- Leg (4 pcs)
- Foot (4 pcs)
- Countersunk screw for foot (4 pcs)
- Hex nut for foot (4 pcs)
- Leg support (long) (2 pcs)
- Leg support (short) (2 pcs)
- Tire complete (1 pc)
- Dust nozzle (1 pc)
- Carrying handle (2 pcs)
- Square neck bolt for guide rail (4 pcs)
- Hex bolt for guide rail (4 pcs)
- Guide rail (long) (1 pc)
- Guide rail (short) (1 pc)
- Sub table (1 pc)
- Stay (long) (2 pc)
- Stay (short) (2 pc)
- Hook (1 pc)
- Blade guard (1 pct)
- Tapping screw (3 pcs)
- Hex bolt (38 pcs)
- Hex nut (38 pcs)
- Hex w rench (1 pc)
- Wrench (1 pc)
- Push stick (1 pc)
- Push block (1 pc)
- Fence (for Rip fence) (1 pc)
- Rip fence (1 pc)
Installing table saw
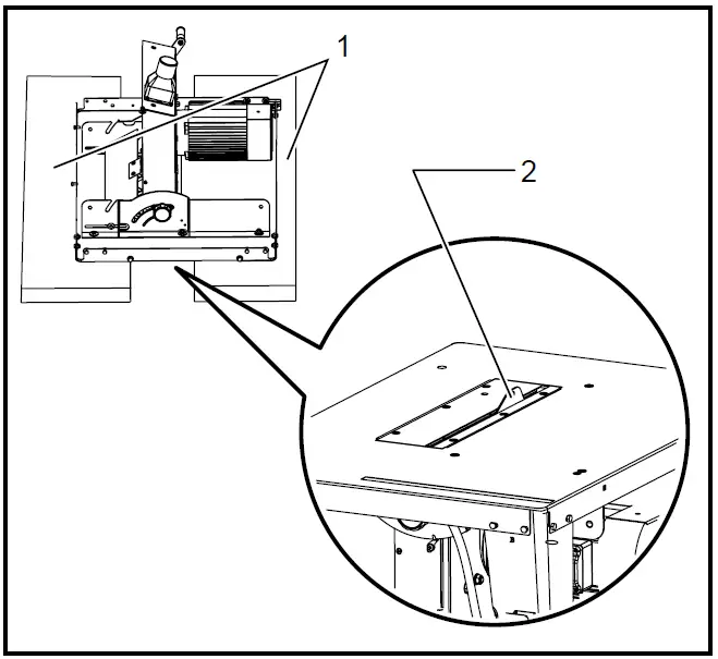
Overturn the table saw on two boards. Check the riving knife positions the space between two boards.

- Board
- Riving knife
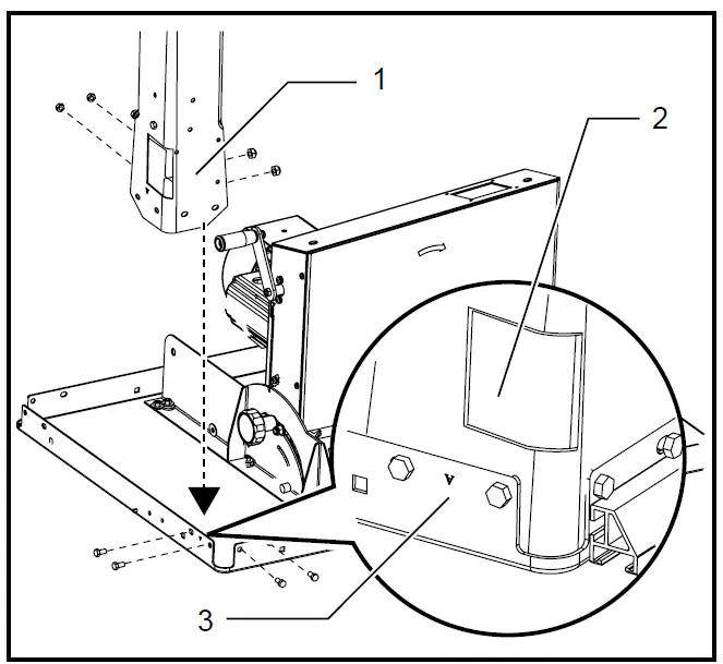
Attach the four legs to the inside of base edge. Attach the leg with the hole for the switch to the side with the sign “A “on the base. Secure the four legs temporarily, do not tighten the screws firmly yet.

- Leg
- Switch hole
- Sign A
Attach the leg supports (long) to the legs and then attach the leg supports (short) to the legs. Secure the legs and leg supports with the screws firmly. Always check the direction of support legs.
Install the feet at the bottoms of the legs. Secure them with countersunk screws and hex nuts.

- Leg support (long)
- Leg support (short)
- Foot
- Wider side
Install the tire complete to the legs and secure them with screws and hex nuts.

Install the dust nozzle.
Adjust the motor part to the 0°position and secure it by tightening the knob. Secure the power cord with the cord clamp.

Turn the table saw back and then attach the carrying handles.

Install the switch to the leg and secure it with the tapping screws.

Install the saw blade and blade guard. When installing them, refer to the Section “Removing or installing saw blade” and “Installing blade guard”.
Install the guide rail (short) to the front side of the table saw and the guide rail (long) to the left side of the base.

- Guide rail
- Square neck bolt
Install the sub-table to the base. Select the proper length stays depending on the position.

- Sub table
- Stay (long)
- Stay (short)

- Sub table
- Stay (short)
- Stay (long)
Install the hook to the leg.

Locate the table saw in a well lit and level area where you can maintain good footing and balance. It should be installed in an area that leaves enough room to easily handle the size of your workpieces.
If there is any tendency for the table saw to tip over, slide or move during operation, the table saw should be secured to the floor.

Push stick and wrenches can be stored on the right side of the tool.
FUNCTIONAL DESCRIPTION
CAUTION: Always be sure that the tool is switched off and unplugged before adjusting or checking function on the tool.
Adjusting the depth of cut

The depth of cut may be adjusted by turning the handle. Turn the handle counterclockwise to raise the blade or clockwise to lower it.
NOTE: Use a shallow depth setting when cutting thin materials in order to obtain a cleaner cut.
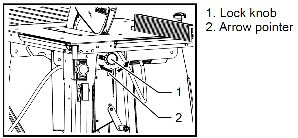
Adjusting the bevel angle

Loosen the lock knob counterclockwise and the desired angle (0° – 45°) is obtained. The arrow pointer indicates the bevel angle.
After obtaining the desired angle, tighten the lock knob clockwise to secure the adjustment.
CAUTION: After adjusting the bevel angle, be sure to tighten the lock knob securely.
Switch action
CAUTION:
- Remove workpiece from the table.
- Before plugging in the tool, always be sure that the tool is switched off.
ASSEMBLY
CAUTION: Always be sure that the tool is switched off and unplugged before carrying out any work on the tool.
The tool is shipped from the factory with the saw blade and blade guard not in the installed condition.
Removing or installing saw blade
CAUTION:
- Always be sure that the tool is switched off and unplugged before installing or removing the blade.
- Use only the Makita hex wrench provided to install or remove the blade. Failure to do so may result in overtightening or insufficient tightening of the hex bolt. This could cause an injury.
- Use the following saw blade. Do not use saw blades which do not comply with the characteristics specified in these instructions.
| Model | Dia. | Blade thickness | Kerf |
| 2712 | 315 mm | 2 mm or less | 2.8 mm or more |

- Hex wrench
- Wrench
- Loosen
To remove the saw blade, remove the table insert on the table. Hold the outer flange with the wrench and loosen the hex bolt clockwise with the hex wrench. Then remove the outer flange.

- Inner flange
- Saw blade
- Outer flange
- Washer
- Hex bolt
To install the saw blade, assemble the inner flange, saw blade, outer flange, washer and hex bolt onto the arbor. Make sure that the teeth of the blade are pointing down at the front of the table.
CAUTION: Keep the flange surface clean of dirt or other adhering matter; it could cause blade slippage. Be sure that the blade is installed so that the teeth are aligned in the cutting (turning) direction.
To secure the blade in place, hold the outer flange with the wrench, then tighten the hex bolt counterclockwise with the hex wrench. BE SURE TO TIGHTEN THE HEX BOLT SECURELY.
- Hex wrench
- Wrench
- Hex bolt
- Tighten

CAUTION: Be sure to hold the hex bolt carefully with the hex wrench. If your grip should slip, the hex wrench may come off the hex bolt, and your hand could strike the sharp blade edges.
Installing blade guard
CAUTION: Before installing the blade guard, adjust the depth of cut to its maximum elevation.

1. Blade guard
2. Riving knife

Place the blade guard into the groove on the riving knife. Secure the blade guard by pivoting the lever on the blade guard.
CAUTION:
- If the blade and riving knife are not aligned properly, a dangerous pinching condition may result during operation. Make sure they are properly aligned. You could suffer serious personal injury while using the tool without a properly aligned riving knife.
- If they are not aligned for any reasons, always have Makita authorized service center repair it.
- Don’t remove the riving knife.

There must be a clearance of about 4 – 5 mm between the riving knife and the blade teeth. Adjust the riving knife accordingly and tighten the hex nut securely. Attach the table insert on the table, then check to see that the blade guard works smoothly before cutting.
Installing and adjusting rip fence

Install the rip fence on the table so that the rip fence holder engages with the guide rail. Tighten the knob of the rip fence firmly clockwise.

To check that the rip fence is parallel with the blade, secure the rip fence 2 – 3 mm from the blade.
Raise the blade up to maximum elevation. Measure the distance (A) and (B) between the rip fence and blade. These two measurements should be identical.
If the rip fence is not parallel with the blade, proceed as follows;
- Loosen the knob of the rip fence.
- Adjust the rip fence until it becomes parallel with the blade.
- Tighten the knob.
CAUTION: Make sure that the rip fence is parallel with the blade, or a dangerous kickback condition may occur.
Connecting to vacuum cleaner

Cleaner operations can be performed by connecting the tool to Makita vacuum cleaner or dust collector.
OPERATION
CAUTION:
- Always use “work helpers” such as push sticks and push blocks when there is a danger that your hands or fingers will come close to the blade.
- Always hold the workpiece firmly with the table and the rip fence or miter gauge. Do not bend or twist it while feeding. If the workpiece is bent or twisted, dangerous kickbacks may occur.
- NEVER withdraw the workpiece while the blade is running. If you must withdraw the workpiece before completing a cut, first switch the tool off while holding the workpiece firmly. Wait until the blade has come to a complete stop before withdrawing the workpiece. Failure to do so may cause dangerous kickbacks.
- NEVER remove cut-off material while the blade is running.
- NEVER place your hands or fingers in the path of the saw blade. Be especially careful with bevel cuts.
- Always secure the rip fence firmly, or dangerous kickbacks may occur.
- Always use “work helpers” such as push sticks and push blocks when cutting small or narrow workpieces.
Work helpers
Push sticks, push blocks or auxiliary fence are types of “work helpers”. Use them to make safe, sure cuts without the need for the operator to contact the blade with any part of the body.
Auxiliary fence

Make auxiliary fence from 9.5 mm and 19 mm plywood pieces.
Ripping
CAUTION: When cutting long or large workpieces, always provide adequate support behind the table. DO NOT allow a long board to move or shift on the table. This will cause the blade to bind and increase the possibility of kickback and personal injury. The support should be at the same height as the table.

- Adjust the depth of cut a bit higher than the thickness of the workpiece.
- Position the rip fence to the desired width of rip and secure it in place by tightening the knob.
- Turn the tool on and gently feed the workpiece into the blade along with the rip fence.
- When the width of rip is 150 mm or wider, carefully use your right hand to feed the workpiece. Use your left hand to hold the workpiece in position against the rip fence.
- When the width of rip is 65 mm – 150 mm wide, use the push stick to feed the workpiece.

- When the width of rip is narrower than 65 mm, the push stick cannot be used because the push stick will strike the blade guard. Use the auxiliary fence and push block. Attach the auxiliary fence to the rip fence with two “C” clamps.

Feed the workpiece by hand until the end is about 25 mm from the front edge of the table. Continue to feed using the push block on the top of the auxiliary fence until the cut is complete.

Cross cutting
CAUTION:
- When making a crosscut, remove the rip fence from the table.
- When cutting long or large workpieces, always provide adequate support to the sides of the table. The support should be at the same height as the table.
- Always keep hands away from path of blade.
Slide the rip fence into the rail on the table. Loosen the knob on the fence and align to desired angle (0° to 60°). Bring stock flush up against fence, secure it with the clamp on the rip fence and feed gently forward into the blade.
Carrying tool

Make sure that the tool is unplugged.
Carry the tool by holding the tool part shown in the figure.
CAUTION:
- Always secure all moving portions before carrying the tool.
- Always make sure that the blade guard is installed in place before carrying the tool.
MAINTENANCE
CAUTION:
- Always be sure that the tool is switched off and unplugged before attempting to perform inspection or maintenance.
- If the push block handle or push sticks is broken, contact Makita service center to get the replacement.
NOTICE: Never use gasoline, benzine, thinner, alcohol or the like. Discoloration, deformation or cracks may result.
Cleaning
Clean out sawdust and chips from time to time. Carefully clean the blade guard and moving parts inside the table saw.
OPTIONAL ACCESSORIES
CAUTION: These accessories or attachments are recommended for use with your Makita tool specified in this manual. The use of any other accessories or attachments might present a risk of injury to persons. Only use accessory or attachment for its stated purpose.
If you need any assistance for more details regarding these accessories, ask your local Makita Service Center.
• Rip fence
• Wrench
• Hex wrench
NOTE: Some items in the list may be included in the tool package as standard accessories. They may differ from country to country.



















