Makita 2704N Table Saw
SPECIFICATIONS
| Model: | 2704N | |
| Arbor hole (Country specific) | 30 mm / 25.4 mm | |
| Blade diameter | 260 mm | |
| Max. cutting capacities | bevel 0° | 93 mm |
| bevel 45° | 64 mm | |
| No-load speed | 5,200 min-1 | |
| Table size (L x W) | with sub tables (R) and (back) | 1,045 mm x 1,066 mm (tables extended) 665 mm x 753 mm (tables stored) |
| with sub-table (R) without sub table (back) | 567 mm x 1,066 mm (table extended) 567 mm x 753 mm (table stored) | |
| Dimensions (L x W x H) with table(s) not extended | with sub tables (R) and (back) | 715 mm x 753 mm x 483mm |
| with sub-table (R) without sub table (back) | 665 mm x 753 mm x 483 mm | |
| Net weight | 35.2 kg – 37.0 kg | |
| Safety class | /II | |
- Due to our continuing program of research and development, the specifications herein are subject to change without notice.
- Specifications may differ from country to country.
- The weight may differ depending on the attachment(s). The lightest and heaviest combinations, according to EPTA-Procedure 01/2014, are shown in the table.
Symbols
The following show the symbols used for the equipment. Be sure that you understand their meaning before use.
- Read the instruction manual.
- DOUBLE INSULATION
- Wear safety glasses.
- Do not place hands or fingers close to the blade.
- Only EU countries Do not dispose of electric equipment together with household waste material! In observance of the European Directive, on Waste Electric and Electronic Equipment and its implementation in accordance with national law, electric equipment that has reached the end of its life must be collected separately and returned to an environmentally compatible recycling facility.
Intended use
The tool is intended for cutting wood. Straight cutting, bevel cutting, and miter cutting are available with this tool. This tool is not designed for non-through cutting.
Power supply
The tool should be connected only to a power supply of the same voltage as indicated on the nameplate, and can only be operated on a single-phase AC supply. They are double-insulated and can, therefore, also be used from sockets without earth wire.
Noise
- The typical A-weighted noise level is determined according to EN62841:
- Sound pressure level (LpA): 94 dB(A)
- Sound power level (LWA): 107 dB (A)
- Uncertainty (K): 3 dB(A)
- WARNING: Wear ear protection.
EC Declaration of Conformity
For European countries, only The EC declaration of conformity is included as Annex A to this instruction manual.
SAFETY WARNINGS
General power tool safety warnings
WARNING: Read all safety warnings, instructions, illustrations, and specifications provided with this power tool. Failure to follow all instructions listed below may result in electric shock, fire, and/or serious injury.
Save all warnings and instructions for future reference
The term “power tool” in the warnings refers to your mains-operated (corded) power tool or battery-operated (cordless) power tool.
Safety instructions for table saws
Guarding related warnings
- Keep guards in place. Guards must be in working order and be properly mounted. A guard that is loose, damaged, or not functioning correctly must be repaired or replaced.
- Make sure the saw blade is not contacting the guard, riving knife, or the workpiece before the switch is turned on. Inadvertent contact of these items with the saw blade could cause a hazardous condition.
- Adjust the riving knife as described in this instruction manual. Incorrect spacing, positioning, and alignment can make the riving knife ineffective in reducing the likelihood of kickback.
- For the riving knife and anti-kickback pawls to work, they must be engaged in the workpiece. The riving knife and anti-kickback pawls are ineffective when cutting workpieces that are too short to be engaged with the riving knife and anti-kickback pawls. Under these conditions, a kickback cannot be prevented by the riving knife and antikickback pawls.
- Use the appropriate saw blade for the riving knife. For the riving knife to function properly, the saw blade diameter must match the appropriate riving knife and the body of the saw blade must be thinner than the thickness of the riving knife and the cutting width of the saw blade must be wider than the thickness of the riving knife.
Cutting procedures warnings
- DANGER: Never place your fingers or hands in the vicinity or in line with the saw blade. A moment of inattention or a slip could direct your hand towards the saw blade and result in serious personal injury.
- Need the workpiece into the saw blade only against the direction of rotation. Feeding the workpiece in the same direction that the saw blade is rotating above the table may result in the workpiece, and your hand, being pulled into the saw blade.
- Never use the miter gauge to feed the workpiece when ripping and do not use the rip fence as a length stop when crosscutting with the miter gauge. Guiding the workpiece with the rip fence and the miter gauge at the same time increases the likelihood of saw blade binding and kickback.
- When ripping, always apply the workpiece feeding force between the fence and the saw blade. Use a push stick when the distance between the fence and the saw blade is less than 150 mm, and use a push block when this distance is less than 50 mm. “Work helping” devices will keep your hand at a safe distance from the saw blade.
- Use only the push stick provided by the manufacturer or constructed in accordance with the instructions. This push stick provides sufficient distance of the hand from the saw blade. Never use a damaged or cut push stick. A damaged push stick may break causing your hand to slip into the saw blade.
- Do not perform any operation “freehand”. Always use either the rip fence or the miter gauge to position and guide the workpiece. “Freehand” means using your hands to support or guide the
- workpiece, in lieu of a rip fence or miter gauge. Freehand sawing leads to misalignment, binding, and kickback.
- Never reach around or over a rotating saw blade. Reaching for a workpiece may lead to accidental contact with the moving saw blade.
- Provide auxiliary workpiece support to the rear and/or sides of the saw table for long and/or wide workpieces to keep them level. A long and/or wide workpiece has a tendency to pivot on the table’s edge, causing loss of control, saw blade binding, and kickback.
- Feed workpiece at an even pace. Do not bend or twist the workpiece. If jamming occurs, turn the tool off immediately, unplug the tool then clear the jam. Jamming the saw blade by the workpiece can cause kickback or stall the motor.
- 11. Do not remove pieces of cut-off material while the saw is running. The material may become trapped between the fence or inside the saw blade guard and the saw blade pulling your fingers into the saw blade. Turn the saw off and wait until the saw blade stops before removing the material.
- Use an auxiliary fence in contact with the tabletop when ripping workpieces less than 2 mm thick. A thin workpiece may wedge under the rip fence and create a kickback.
Kickback causes and related warnings
Kickback is a sudden reaction of the workpiece due to a pinched, jammed saw blade or misaligned line of cut in the workpiece with respect to the saw blade or when a part of the workpiece binds between the saw blade and the rip fence or other fixed object. Most frequently during kickback, the workpiece is lifted from the table by the rear portion of the saw blade and is propelled toward the operator. Kickback is the result of saw misuse and/or incorrect operating procedures or conditions and can be avoided by taking proper precautions as given below .
- Never stand directly in line with the saw blade. Always position your body on the same side of the saw blade as the fence. Kickback may propel the workpiece at high velocity towards anyone standing in front and in line with the saw blade.
- Never reach over or in the back of the saw blade to pull or support the workpiece. Accidental contact with the saw blade may occur or kickback may drag your fingers into the saw blade.
- Never hold and press the workpiece that is being cut off against the rotating saw blade. Pressing the workpiece being cut off against the saw blade will create a binding condition and kickback.
- Align the fence to be parallel with the saw blade. A misaligned fence will pinch the workpiece against the saw blade and create kickback.
- Use extra caution when making a cut into blind areas of assembled workpieces. The protruding saw blade may cut objects that can cause kickback.
- Support large panels to minimize the risk of saw blade pinching and kickback. Large panels tend to sag under their own weight. Support(s) must be placed under all portions of the panel overhanging the tabletop.
- Use extra caution when cutting a workpiece that is twisted, knotted, warped, or does not have a straight edge to guide it with a miter gauge or along the fence. A warped, knotted, or twisted workpiece is unstable and causes misalignment of the kerf with the saw blade, binding and kickback.
- Never cut more than one workpiece, stacked vertically or horizontally. The saw blade could pick up one or more pieces and cause kickback.
- When restarting the saw with the saw blade in the workpiece, center the saw blade in the kerf so that the saw teeth are not engaged in the material. If the saw blade binds, it may lift up the workpiece and cause kickback when the saw is restarted.
- Keep saw blades clean, sharp, and with sufficient set. Never use warped saw blades or saw blades with cracked or broken teeth. Sharp and properly set saw blades minimize binding, stalling, and kickback.
Table saw operating procedure warnings
- Turn off the table saw and disconnect the power cord when removing the table insert, changing the saw blade or making adjustments to the riving knife, anti-kickback pawls, or saw blade guard, and when the machine is left unattended. Precautionary measures will avoid accidents.
- Never leave the table saw running unattended. Turn it off and don’t leave the tool until it comes to a complete stop. An unattended running saw is an uncontrolled hazard.
- Locate the table saw in a well-lit and level area where you can maintain good footing and balance. It should be installed in an area that provides enough room to easily handle the size of your workpiece. Cramped, dark areas and uneven slippery floors invite accidents.
- Frequently clean and remove sawdust from under the saw table and/or the dust collection device. Accumulated sawdust is combustible and may self-ignite.
- The table saw must be secured. A table saw that is not properly secured may move or tip over.
- Remove tools, wood scraps, etc. from the table before the table saw is turned on. Distraction or a potential jam can be dangerous.
- Always use saw blades with the correct size and shape (diamond versus round) of arbor holes. Saw blades that do not match the mounting hardware of the saw will run off-center, causing a loss of control.
- Never use damaged or incorrect saw blade mounting means such as flanges, saw blade washers, bolts or nuts. These mounting means were specially designed for your saw, for safe operation and optimum performance.
- Never stand on the table saw, do not use it as a stepping stool. Serious injury could occur if the tool is tipped or if the cutting tool is accidentally contacted.
- Make sure that the saw blade is installed to rotate in the proper direction. Do not use grinding wheels, wire brushes, or abrasive wheels on a table saw. Improper saw blade installation or use of accessories not recommended may cause serious injury.
Additional instructions
- Only use the saw blades that are marked with a speed equal or higher than the speed marked on the tool.
- Select the correct saw blade for the material to be cut.
- Wear gloves when handling saw blades.
- Clean the spindle, flanges (especially the installing surface) and hex nut before installing the blade. Poor installation may cause vibration/wobbling or slippage of the blade.
- Do not cut metal objects such as nails and screws. Inspect for and remove all nails, screws and other foreign material from the workpiece before operation.
- NEVER permit anyone else to stand in line with the path of the saw blade.
- Before using the tool on an actual workpiece, let it run for a while. Watch for vibration or wobbling that could indicate poor installation or a poorly balanced blade.
- The tool should not be used for slotting, rab-betting or grooving.
- Replace the table insert when worn.
- Always store the push stick when it is not in use.
- Knock out any loose knots from the workpiece BEFORE beginning to cut.
- Some dust created from operations contains chemicals known to cause cancer, birth defects or other reproductive harm Some examples of these chemicals are:
- lead from lead-based-painted material and,
- arsenic and chromium from chemically treated lumber. Your risk from these exposures varies, depending on how often you do this type of work. To reduce your exposure to these chemicals: work in a well-ventilated area and work with approved safety equipment, such as those dust masks that are specially designed to filter out microscopic particles.
- Always make sure that sub guard is down and flat against the saw-table before plugging in the tool.
- Inspect extension cords periodically and replace if damaged. (For European countries only) Use only saw blades recommended by the manufacturer and which conform to EN847-1.
INSTALLATION
Positioning table saw
- Hole diameter 8 mm

- 6 mm Std. washer 2. No.10 wood screw 40

- 1. 6 mm Std. washer 2. 6 mm Mounting bolt & Nut tighten securely Locate the table saw in a well lit and level area where you can maintain good footing and balance. It should be installed in an area that leaves enough room to easily handle the size of your workpieces. The table saw should be secured with four screws or bolts to the workbench or table saw stand using the holes provided in the bottom of the table saw. When securing the table saw on the workbench, make sure that there is an opening in the top of the workbench the same size as the opening in the bottom of the table saw so the sawdust can drop through. If during operation there is any tendency for the table saw to tip over, slide, or move, the workbench or table saw stand should be secured to the floor.

Storing accessories
- 1. Miter gauge

- 1 Rip fence 2. Push stick 3. Anti-kickback pawls The miter gauge, saw blade and wrenches can be stored on the left side of the base. Also, the rip fence, push stick, and anti-kickback pawls can be stored on the right side of the base.

FUNCTIONAL DESCRIPTION
CAUTION: Always be sure that the tool is switched off and unplugged before adjusting or checking function on the tool.
Blade guard
- WARNING: Never defeat or remove the blade guard. An exposed blade as a result of defeated guarding may result in serious personal injury during operation.
- WARNING: Never use the tool if the blade guard is damaged, faulty or removed. Operation of the tool with a damaged, faulty or removed guard may result in serious personal injury.
- 1. Blade guard 2. Sub guard

When cutting, push the workpiece toward the blade with the lower edge of the sub guard contacting with the main table. As the workpiece is fed, the blade guard and the sub guard goes over the edge of the workpiece.In the interest of your personal safety, always maintain the blade guard and sub guard in good condition. Any irregular operation of the blade guard and sub guard should be corrected immediately. Check to assure that the blade guard and the sub guard are down and the lower edge of the sub guard contacts with the main table when the workpiece is not fed. If the see-through parts become dirty, or sawdust adheres to them in such a way that the blade and/or workpiece is no longer easily visible, unplug the tool and clean the see-through parts carefully with a damp cloth. Do not use solvents or any petroleum-based cleaners because this may cause damage to the parts. If see-through parts become discolored through age or UV light exposure, contact a Makita service center for a new part. DO NOT DEFEAT OR REMOVE THE BLADE GUARD AND SUB GUARD.
Adjusting the depth of cut
Handle The depth of the cut may be adjusted by turning the handle. Turn the handle clockwise to raise the saw blade or counterclockwise to lower it.
NOTE: Use a shallow depth setting when cutting thin materials in order to obtain a cleaner cut.
Adjusting the bevel angle
Lock lever 2. Arrow pointer 3. Handwheel 
Loosen the lock lever counterclockwise and turn the handwheel until the desired angle (0° – 45°) is obtained. The bevel angle is indicated by the arrow pointer. After obtaining the desired angle, tighten the lock lever clockwise to secure the adjustment.
CAUTION: After adjusting the bevel angle, be sure to tighten the lock lever securely.
Adjusting positive stops
90°Adjusting screw 2. 45°
Adjusting screw
The tool is equipped with positive stops at 90° and 45° to the table surface. To check and adjust the positive stops, proceed as follows: Move the handwheel as far as possible by turning it. Place a triangular rule on the table and check to see if the saw blade is at 90° or 45° to the table surface. If the saw blade is at an angle shown in Fig. A, turn the adjusting screws clockwise; if it is at an angle shown in Fig. B, turn the adjusting screws counterclockwise to adjust the positive stops. After adjusting the positive stops, set the saw blade at 90° to the table surface. Then adjust the arrow pointer so that its right edge is aligned to the 0° graduation.
Arrow pointer
Switch action
Switch
CAUTION: Before the operation, make sure that the tool is turned on and off.
- To start the tool, press the ON ( I ) button.
- To stop it, press the OFF ( O ) button.
Sub fence (rip fence)
- Clamping screw
- Rip fence
- Sub

- fence 4. Rail If the rip fence comes close to the saw blade, use the sub fence to support the workpiece. Loosen the clamping screw and slide the sub fence out of the rail. Attach the sub fence as illustrated and tighten the clamping screws. When the rip fence is attached to the left side of the saw blade, switch the sub fence position. Remove the clamping screws, sub fence, and rail from the rip fence. Loosely attach the rail on the right side of the rip fence using the removed clamping screws. After that, attach the sub fence and tighten the clamping screws.
- Rip fence
- Sub fence
- Clamping
- screw Rail

Sub table (R)
- Lever

- Sub table (R)

This tool is provided with the sub table (R) on the right side of the main table. To use the sub table (R), raise both levers on the front right side, pull out the table (R) fully, and then lower the levers to secure them. When using the sub table (R ), locate the scale plate on the sub-table after loosening the screw on it with a screwdriver so that it becomes successive with the scale plate on the main table.
- Scale plate
- Screw

Sub table (back)
Optional accessory
Sub table (back) 2. Screw To use the sub table (back), loosen the screws on the left and right-hand sides under the table and pull it out back to the desired length. At the desired length, tighten the screws securely.
NOTE: When using the sub table (back) during use of the rip fence, pull out the sub table (back) more than 50 mm so that it does not hit against the top end of the rip fence.
Sub table (L)
Optional accessory
- Screw
- Sub table (L)
Anti-kickback pawls
WARNING: Use the Antikickback pawls whenever possible during the through cutting operations. This will help prevent the material from being pushed forward into the operator during a kickback situation which may result in serious personal injury.
- Antikickback pawl
- Clamp

To remove the anti-kickback pawls from the tool, loosen the clamp on the root of the antikickback pawls and then pull them out. To install, perform the removal procedure in reverse.
ASSEMBLY
CAUTION: Always be sure that the tool is switched off and unplugged before carrying out any work on the tool.
Installing or removing the saw blade
- CAUTION: Always be sure that the tool is switched off and unplugged before installing or removing the saw blade.
- CAUTION: Use only the Makita wrench pro-vided to install or remove the saw blade. Failure to do so may result in overtightening or insufficient tightening of the hex bolt. This could cause an injury.
- CAUTION: Use the following saw blade. Do not use saw blades that do not comply with the characteristics specified in these instructions.
Diameter Blade thickness Kerf 260 mm Less than 1.9 mm More than 2.1 mm
- Loosen the screw on the table insert and remove it.
- Hold the outer flange with the offset wrench and loosen the hex nut counterclockwise with the wrench. Then remove the outer flange.
- Offset wrench
- Hex nut
- Wrench

- Assemble the inner flange, ring, saw blade, outer flange, and hex nut onto the arbor, making sure that the teeth of the blade are pointing down at the front of the table. Always install the hex nut with its recessed side facing the outer flange.
- Inner flange
- Ring
- Saw blade
- Outer flange
- Hex nut

CAUTION: Be sure that the saw blade is installed so that the teeth are aligned in the cutting (turning) direction.
CAUTION: Check the arbor hole diameter of the saw blade before installing the saw blade. Always use the correct ring for the arbor hole of the saw blade you intend to use. The size of the supplied ring(s) varies depending on the country.
- For tool for a 30 mm hole-diameter saw blade, the ring of 30 mm in outer diameter is provided.
- For tool for a 25.4 mm and 25 mm, hole-diameter saw blade, the silver and black rings are provided.
- Use the silver ring for 25.4 mm hole-diameter saw blade and the black ring for the 25 mm hole-diameter saw blade
To secure the saw blade in place, hold the outer flange with the offset wrench, then tighten the hex nut clockwise with the wrench. BE SURE TO TIGHTEN THE HEX NUT SECURELY. Offset wrench Wrench
CAUTION: Keep the flange surface clean of dirt or other adhering matter; it could cause blade slippage.
CAUTION: Be sure to hold the hex nut carefully with the wrench. If your grip should slip, the wrench may come off the hex nut, and your hand could strike the sharp blade edges.
Attach the table insert in place with the screw.
Adjusting the riving knife
- CAUTION: If the saw blade and riving knife are not aligned properly, a dangerous pinching condition may result during operation. Make sure they are properly aligned. You could suffer a serious personal injury while using the tool without a properly aligned riving knife.
CAUTION: NEVER make any adjustments while the tool is running. Disconnect the tool before making any adjustments. - CAUTION: Don’t remove the riving knife.
- Blade guard
- Riving knife
- Screw

The riving knife position is factory-adjusted so that the saw blade and riving knife will be in a straight line. However, you need to adjust it if the saw blade and riving knife are not in a straight line.
Loosen the screw on the table insert and remove it from the main table. Loosen the hex bolts (B) and adjust the blade guard mounting portion (stay) so that the riving knife is aligned directly behind the saw blade. Then tighten the hex bolts (B) to secure the stay and put the table insert in place. Blade 2. These two clearances should be equal. 3. Riving knife 4. Hex bolts (B) 5. Hex bolts (A)
There must be a clearance of about 4 – 5 mm between the riving knife and the blade teeth. Loosen the hex bolts (A), adjust the riving knife accordingly and tighten the hex bolts (A) securely. Attach the table insert on the table with the screw, then check to see that the blade guard works smoothly before cutting. Riving knife 2. Blade guard 3. 4 mm -5mm clearance
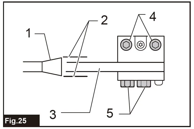
Installing and adjusting rip fence
Hook 2. Knob 3. Guide rail
- Fit the hook on the tip of the rip fence into the far guide rail on the table or sub-table (R) and install and push the rip fence forward so that the fence holder engages with the nearest guide rail.
- To slide the rip fence on the guide rail sideways, return the knob on the fence holder fully without pulling the lever on the knob. To secure the rip fence, pivot fully the knob on the fence holder.
- To remove the rip fence, pull the lever on the knob and pivot the knob fully forward while pulling the lever. To check if the rip fence is parallel with the saw blade, secure the rip fence 2 – 3 mm from the saw blade. Raise the blade up to maximum elevation. Mark one of the blade teeth with a crayon. Measure the distance (A) and (B) between the rip fence and saw blade. Take both measurements using the tooth marked with the crayon. These two measurements should be identical. If the rip fence is not parallel with the saw blade, proceed as follows:
- Scale

- Position the rip fence in the sliding position.

- Loosen the two hex bolts on the rip fence with the hex wrench provided.
- Scale
Hex bolts
- Adjust the rip fence until it becomes parallel with the saw blade.
- Pivot down the knob on the rip fence toward the operator.
- Tighten the two hex bolts on the rip fence

CAUTION: Be sure to adjust the rip fence so that it is parallel with the saw blade, or a dangerous kickback condition may occur.
When the rip fence cannot be secured solidly, adjust it according to the following procedure. Set the rip fence on the table and then pivot the knob on halfway through its travel (moving position). Tighten the screw (A) until the rip fence is immobilized. Then loosen a 1/4 to 1/2 turn. Rip fence 2. Released position 3. Moving position 4. Lock position
- Rip fence
- Moving position
- Screw (B)
- Screw (A)
- Tighten the screw (B) fully and then loosen about 2 full revolutions.

- Lock the rip fence by fully pivoting the knob on the fence holder (lock position).
- Make sure that the rip fence can be installed and removed in the original position (released position).
- Make sure that the rip fence can be slid smoothly with no wobble when the knob is on halfway through its travel.
NOTICE: Be careful not to tighten screws with more than the tightening amount specified in the above instructions. Failure to do so may damage the fastened parts.
Bring the rip fence up flush against the side of the saw blade. Make sure that the guideline on the fence holder points to the 0 graduations. If the guideline does not point to the 0 graduations, loosen the screw on the scale plate and adjust the scale plate. Guideline Screws
Connecting to vacuum cleaner
Cleaner operations can be performed by connecting the tool to a Makita vacuum cleaner or dust collector.
OPERATION
CAUTION
- Always use “work helpers” such as push sticks and push blocks when there is a danger that your hands or fingers will come close to the saw blade.
- Always hold the workpiece firmly with the table and the rip fence or miter gauge. Do not bend or twist it while feeding. If the workpiece is bent or twisted, dangerous kickbacks may occur.
- NEVER withdraw the workpiece while the saw blade is running. If you must withdraw the workpiece before completing a cut, first switch the tool off while holding the workpiece firmly. Wait until the saw blade has come to a complete stop before withdrawing the workpiece. Failure to do so may cause dangerous kickbacks.
- NEVER remove cut-off material while the saw blade is running.
- NEVER place your hands or fingers in the path of the saw blade. Be especially careful with bevel cuts.
- Always secure the rip fence firmly, or dangerous kickbacks may occur.
- Always use “work helpers” such as push sticks and push blocks when cutting small or narrow workpieces.
Work helpers
Push sticks, push blocks or auxiliary fence are types of “work helpers”. Use them to make safe, sure cuts without the need for the operator to contact the saw blade with any part of the body.
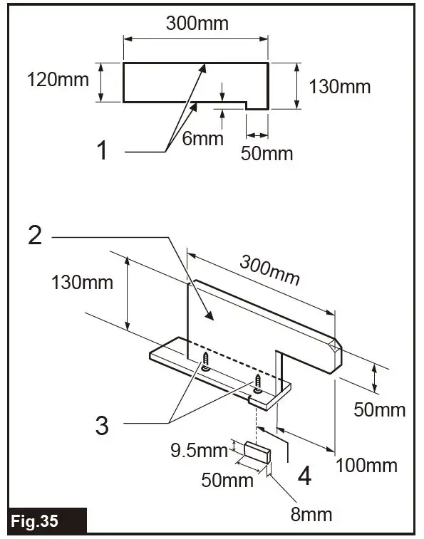
Push block Face/edge parallel Handle Wood
screw 4. Glue together Use a 19 mm piece of plywood. The handle should be in center of the plywood piece. Fasten with glue and wood screws as shown. Small piece of 9.5 mm x 8 mm x 50 mm of wood must always be glued to plywood to keep the saw blade from dulling if the operator cuts into the push block by mistake. (Never use nails in push block.) Auxiliary fence
Face/edge parallel Make auxiliary fence from 9.5 mm and 19 mm plywood pieces.
Ripping
CAUTION: When ripping, remove the miter gauge from the table.
CAUTION: When cutting long or large workpieces, always provide adequate support behind the table. DO NOT allow a longboard to move or shift on the table. This will cause the saw blade to bind and increase the possibility of kickback and personal injury. The support should be at the same height as the table.
CAUTION: Do not perform bevel ripping on the bevelling side of the saw blade.
- Adjust the depth of cut a bit higher than the thickness of the workpiece.

- Position the rip fence to the desired width of rip and lock it in place by pivoting the knob. Before ripping, make sure the rear end of the rip fence is secured firmly. If it is not secured enough, follow the procedures in the section titled “Installing and adjusting rip fence”.
- Turn the tool on and gently feed the workpiece into the saw blade along with the rip fence.
When the width of the rip is 150 mm and wider, carefully use your right hand to feed the workpiece. Use your left hand to hold the workpiece in position against the rip fence. When the width of the rip is 65 mm – 150 mm wide, use the push stick to feed the workpiece.
Push stick When the width of rip is narrower than 65 mm, the push stick cannot be used because the push stick will strike the blade guard.
Use the auxiliary fence and push block. Attach the auxiliary fence to the rip fence with two “C” clamps. Feed the workpiece by hand until the end is about 25 mm from the front edge of the table. Continue to feed using the push block on the top of the auxiliary fence until the cut is complete.
Push block 2. Auxiliary fence
Cross cutting
CAUTION: When making a crosscut, remove the rip fence from the table.
CAUTION: When cutting long or large work pieces, always provide adequate support to the sides of the table. The support should be at the same height as the table.
CAUTION: Always keep hands away from the path of the blade.
Miter gauge
Cross-cutting 2. Mitering 3. Bevel cutting Compound mitering (angles) Use the miter gauge for the 4 types of cutting shown in the figure.
CAUTION: Secure the knob on the miter gauge carefully.
CAUTION: Avoid creep of workpiece and gauge by firm workholding arrangement, espe-cially when cutting at an angle.
CAUTION: NEVER hold or grasp the intended “cut-off” portion of the workpiece.
CAUTION: Always adjust the distance between the end of the miter gauge and the saw blade not to exceed 15 mm.
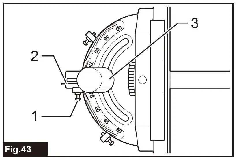
Miter gauge positive stop
Screw for positive stop 2. Small plate Knob Miter gauge is provided with positive stops at 90°, 45°right and left miter angles for quick setting of miter angles. To set the miter angle, loosen the knob on the miter gauge. Raise the small plate on the miter gauge for free setting. Turn the miter gauge to the desired miter angle. Return the small plate on the miter gauge to the original posi-tion and tighten the knob clockwise securely.
Use of miter gauge
Slide the miter gauge into the thick grooves in the table. Loosen the knob on the gauge and align to the desired angle (0° to 60°). Bring stock flush up against fence and feed gently forward into the saw blade.
Sub gauge (miter gauge)
The sub gauge on the miter gauge prevents the workpiece from wobbling. Loosen the screw on the miter gauge and adjust the sub gauge position.
Carrying tool
Make sure that the tool is unplugged. Carry the tool by holding the tool part shown in the figure.
CAUTION: Always secure all moving portions before carrying the tool.
CAUTION: Before the carrying the tool, make sure that the blade guard and the sub guard are down and the lower edge of the sub guard con-tacts with the main table.
MAINTENANCE
CAUTION: Always be sure that the tool is switched off and unplugged before attempting to perform inspection or maintenance.
NOTICE: Never use gasoline, benzine, thinner, alcohol or the like. Discoloration, deformation or cracks may result.
Cleaning
Clean out sawdust and chips from time to time. Carefully clean the blade guard and moving parts inside the table saw. When removing the sawdust accumulated under the saw blade, remove the table insert and use an air duster to blow out the sawdust from the connector for a vacuum cleaner.
Lubrication
To keep the table saw in tip-top running condition, and to assure maximum service life, oil or grease the moving parts and rotating parts from time to time. Lubrication places:
- Threaded shaft to elevate the saw blade
- Hinge to rotate the frame
- Elevation guide shafts on motor
- Gear to elevate the saw blade
- Guide rails for the rip fence
- The shaft of the sub-table (R) locking levers
- Sliding part of the sub-table (R)
Replacing carbon brushes
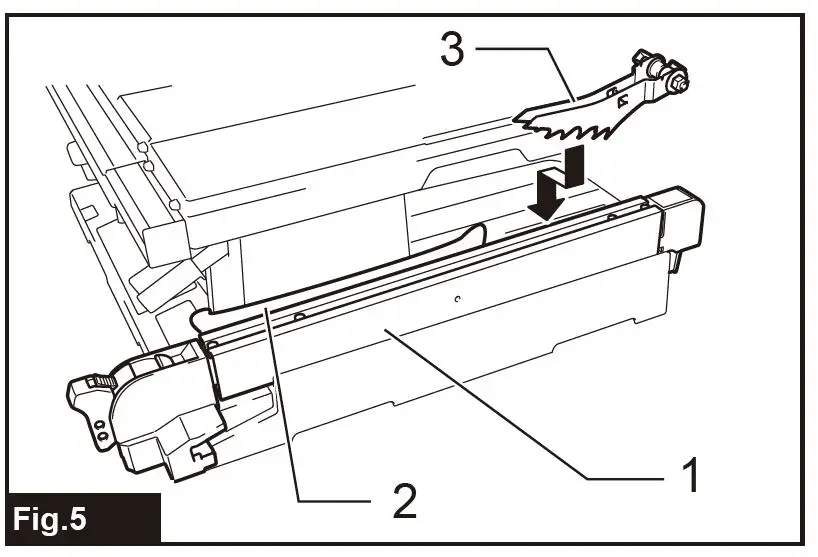
Check the carbon brushes regularly. Replace them when they wear down to the limit mark. Keep the carbon brushes clean and free to slip in the holders. Both carbon brushes should be replaced at the same time. Use only identical carbon brushes. Limit mark1. Store the sub table (R). Remove the rip fence if it is stored. 2. Loosen the lock lever and turn the handwheel until the saw head is tilted to 45° bevel angle. After that, tighten the lock lever.
Rip fence 2. Lock lever 3. Handwheel 3. Stand the tool on its right side.
- Loosen the screws on the bottom plate and remove them.
- Loosen the brush holder caps using a screwdriver and remove the worn carbon brushes.

Bottom plate 2. Brush holder cap Screwdriver Insert the new carbon brushes and secure the brush holder caps. Attach the bottom plate with screws and carefully lay the tool on its bottom. Store the rip fence if removed.
OPTIONAL ACCESSORIES
CAUTION: These accessories or attachments are recommended for use with your Makita tool specified in this manual. The use of any other accessories or attachments might present a risk of injury to persons. Only use accessory or attachment for its stated purpose.
If you need any assistance for more details regarding these accessories, ask your local Makita Service Center.
Steel & Carbide-tipped saw blades
- Sub table (L)
- Sub table (back)
- Rip fence
- Miter gauge
- Offset wrench 13-22
- Wrench 19
- Hex wrench 5
- Joint (for connecting to dust collector)
- Table stand set
Refer to the instruction manual for table saw stand that is provided with the table saw stand as an optional accessory.
NOTE: Some items in the list may be included in the tool package as standard accessories. They maydiffer from country to country.



















Hex bolts





















