makita M2300 Compound Miter Saw Instruction Manual
SPECIFICATIONS
| Model: | M2300 | |
| Blade diameter | 255 mm | |
| Hole diameter | For all countries other than European countries | 25.4 mm or 30 mm (country specific) |
| For European countries | 30 mm | |
| Max. kerf thickness of the saw blade | 3.2 mm | |
| No load speed | 4,200 min-1 | |
| Dimensions (L x W x H) | 610 mm x 485 mm x 515 mm | |
| Net weight | 13.8 kg | |
| Safety class | /II | |
- Due to our continuing program of research and development, the specifications herein are subject to change without notice.
- Specifications may differ from country to country.
- Weight according to EPTA-Procedure 01/2014
Cutting capacities (H x W) with blade 255 mm in diameter
| Bevel angle | Miter angle | |
| 0° | 45° (left and right) | |
| 0° | 75 mm x 130 mm | 75 mm x 90 mm |
| 45° (left) | 48 mm x 120 mm | 48 mm x 90 mm |
Symbols
The followings show the symbols which may be used for the equipment. Be sure that you understand their meaning before use.
Read instruction manual.
DOUBLE INSULATION
To avoid injury from flying debris, keep holding the saw head down, after making cuts, until the blade has come to a complete stop.
Do not place hand or fingers close to the blade.
Always set SUB-FENCE to left position when performing left bevel cuts. Failure to do so may cause serious injury to operator.
Only for EU countries
Due to the presence of hazardous components in the equipment, used electrical and electronic equipment may have a negative impact on the environment and human health.
Do not dispose of electrical and electronic appliances with household waste! In accordance with the European Directive on waste electrical and electronic equipment and its adaptation to national law, used electrical and electronic equipment should be collected separately and delivered to a separate collection point for municipal waste, operating in accordance with the environmental protection regulations.
This is indicated by the symbol of the crossed-out wheeled bin placed on the equipment.
Intended use
The tool is intended for accurate straight and miter cutting in wood. With appropriate saw blades, aluminum can also be sawed.
Power supply
The tool should be connected only to a power supply of the same voltage as indicated on the nameplate, and can only be operated on single-phase AC supply. They are double-insulated and can, therefore, also be used from sockets without earth wire.
Noise
The typical A-weighted noise level determined according to EN62841-3-9:
Sound pressure level (LpA) : 89 dB(A)
Sound power level (LWA) : 102 dB (A)
Uncertainty (K) : 3 dB(A)
NOTE: The declared noise emission value(s) has been measured in accordance with a standard test method and may be used for comparing one tool with another.
NOTE: The declared noise emission value(s) may also be used in a preliminary assessment of exposure.
WARNING: Wear ear protection.
WARNING: The noise emission during actual use of the power tool can differ from the declared value(s) depending on the ways in which the tool is used especially what kind of workpiece is processed.
WARNING: Be sure to identify safety measures to protect the operator that are based on an estimation of exposure in the actual conditions of use (taking account of all parts of the operating cycle such as the times when the tool is switched off and when it is running idle in addition to the trigger time).
EC Declaration of Conformity
For European countries only
The EC declaration of conformity is included as Annex A to this instruction manual.
SAFETY WARNINGS
General power tool safety warnings
WARNING: Read all safety warnings, instructions, illustrations and specifications provided with this power tool. Failure to follow all instructions listed below may result in electric shock, fire and/or serious injury.
Save all warnings and instructions for future reference.
The term “power tool” in the warnings refers to your mains-operated (corded) power tool or battery-operated (cordless) power tool.
Safety instructions for mitre saws
- Mitre saws are intended to cut wood or woodlike products, they cannot be used with abrasive cut-off wheels for cutting ferrous material such as bars, rods, studs, etc. Abrasive dust causes moving parts such as the lower guard to jam. Sparks from abrasive cutting will burn the lower guard, the kerf insert and other plastic parts
- Use clamps to support the workpiece whenever possible. If supporting the workpiece by hand, you must always keep your hand at least 100 mm from either side of the saw blade. Do not use this saw to cut pieces that are too small to be securely clamped or held by hand. If your hand is placed too close to the saw blade, there is an increased risk of injury from blade contact.
- The workpiece must be stationary and clamped or held against both the fence and the table. Do not feed the workpiece into the blade or cut “freehand” in any way. Unrestrained or moving workpieces could be thrown at high speeds, causing injury.
- Never cross your hand over the intended line of cutting either in front or behind the saw blade. Supporting the workpiece “cross handed” i.e. holding the workpiece to the right of the saw blade with your left hand or vice versa is very dangerous.
Fig.1
- Do not reach behind the fence with either hand closer than 100 mm from either side of the saw blade, to remove wood scraps, or for any other reason while the blade is spinning. The proximity of the spinning saw blade to your hand may not be obvious and you may be seriously injured.
- Inspect your workpiece before cutting. If the workpiece is bowed or warped, clamp it with the outside bowed face toward the fence.
Always make certain that there is no gap between the workpiece, fence and table along the line of the cut. Bent or warped workpieces can twist or shift and may cause binding on the spinning saw blade while cutting. There should be no nails or foreign objects in the workpiece. - Do not use the saw until the table is clear of all tools, wood scraps, etc., except for the workpiece. Small debris or loose pieces of wood or other objects that contact the revolving blade can be thrown with high speed.
- Cut only one workpiece at a time. Stacked multiple workpieces cannot be adequately clamped or braced and may bind on the blade or shift during cutting.
- Ensure the mitre saw is mounted or placed on a level, firm work surface before use. A level and firm work surface reduces the risk of the mitre saw becoming unstable.
- Plan your work. Every time you change the bevel or mitre angle setting, make sure the adjustable fence is set correctly to support the workpiece and will not interfere with the blade or the guarding system. Without turning the tool “ON” and with no workpiece on the table, move the saw blade through a complete simulated cut to assure there will be no interference or danger of cutting the fence.
- Provide adequate support such as table extensions, saw horses, etc. for a workpiece that is wider or longer than the table top. Workpieces longer or wider than the mitre saw table can tip if not securely supported. If the cut-off piece or workpiece tips, it can lift the lower guard or be thrown by the spinning blade.
- Do not use another person as a substitute for a table extension or as additional support. Unstable support for the workpiece can cause the blade to bind or the workpiece to shift during the cutting operation pulling you and the helper into the spinning blade
- The cut-off piece must not be jammed or pressed by any means against the spinning saw blade. If confined, i.e. using length stops, the cut-off piece could get wedged against the blade and thrown violently.
- Always use a clamp or a fixture designed to properly support round material such as rods or tubing. Rods have a tendency to roll while being cut, causing the blade to “bite” and pull the work with your hand into the blade.
- Let the blade reach full speed before contacting the workpiece. This will reduce the risk of the workpiece being thrown.
- If the workpiece or blade becomes jammed, turn the mitre saw off. Wait for all moving parts to stop and disconnect the plug from the power source and/or remove the battery pack. Then work to free the jammed material. Continued sawing with a jammed workpiece could cause loss of control or damage to the mitre saw.
- After finishing the cut, release the switch, hold the saw head down and wait for the blade to stop before removing the cut-off piece. Reaching with your hand near the coasting blade is dangerous.
- Hold the handle firmly when making an incomplete cut or when releasing the switch before the saw head is completely in the down position. The braking action of the saw may cause the saw head to be suddenly pulled downward, causing a risk of injury.
- Only use the saw blade with the diameter that is marked on the tool or specified in the manual. Use of an incorrectly sized blade may affect the proper guarding of the blade or guard operation which could result in serious personal injury.
- Only use the saw blades that are marked with a speed equal or higher than the speed marked on the tool.
- Do not use the saw to cut other than wood, aluminum or similar materials.
- (For European countries only) Always use the blade which conforms to EN847-1.
Additional instructions
- Make workshop kid proof with padlocks.
- Never stand on the tool. Serious injury could occur if the tool is tipped or if the cutting tool is unintentionally contacted.
- Never leave the tool running unattended. Turn the power off. Do not leave tool until it comes to a complete stop.
- Do not operate saw without guards in place. Check blade guard for proper closing before each use. Do not operate saw if blade guard does not move freely and close instantly. Never clamp or tie the blade guard into the open position.
- Keep hands out of path of saw blade. Avoid contact with any coasting blade. It can still cause severe injury.
- Always secure all moving portions before carrying the tool.
- Stopper pin which locks the cutter head down is for carrying and storage purposes only and not for any cutting operations.
- Check the blade carefully for cracks or damage before operation. Replace cracked or damaged blade immediately. Gum and wood pitch hardened on blades slows saw and increases potential for kickback. Keep blade clean by first removing it from tool, then cleaning it with gum and pitch remover, hot water or kerosene. Never use gasoline to clean blade.
- Use only flanges specified for this tool.
- Be careful not to damage the arbor, flanges (especially the installing surface) or bolt. Damage to these parts could result in blade breakage.
- Make sure that the turn base is properly secured so it will not move during operation.
Use the holes in the base to fasten the saw to a stable work platform or bench. NEVER use tool where operator positioning would be awkward. - Make sure the shaft lock is released before the switch is turned on.
- Be sure that the blade does not contact the turn base in the lowest position.
- Hold the handle firmly. Be aware that the saw moves up or down slightly during start-up and stopping.
- Make sure the blade is not contacting the workpiece before the switch is turned on.
- Before using the tool on an actual workpiece, let it run for a while. Watch for vibration or wobbling that could indicate poor installation or a poorly balanced blade.
- Stop operation immediately if you notice anything abnormal.
- Do not attempt to lock the trigger in the “ON” position.
- Always use accessories recommended in this manual. Use of improper accessories such as abrasive wheels may cause an injury.
- Some material contains chemicals which may be toxic. Take caution to prevent dust inhalation and skin contact. Follow material supplier safety data.
Additional safety rules for the laser
LASER RADIATION, DO NOT STARE INTO THE BEAM OR VIEW DIRECTLY WITH OPTICAL INSTRUMENTS, CLASS 2M LASER PRODUCT.
SAVE THESE INSTRUCTIONS.
WARNING: DO NOT let comfort or familiarity with product (gained from repeated use) replace strict adherence to safety rules for the subject product. MISUSE or failure to follow the safety rules stated in this instruction manual may cause serious personal injury
INSTALLATION
When the tool is shipped, the handle is locked in the lowered position by the stopper pin. Loosen the bolt with a wrench provided with the tool and move the saw head to the right angle. Remove the bolt and secure the saw head with the knob.
- Fig.2: 1. Wrench

- Fig.3: 1. Knob

Installing auxiliary plate
Installing the auxiliary plate using the hole in the tool’s base and secure it by tightening the screw.
Fig.4:

- Auxiliary plate
- Screw
- Base
Bench mounting
When the tool is shipped, the handle is locked in the lowered position by the stopper pin. Release the stopper pin by lowering the handle slightly and pulling the stopper pin.
Fig.5:

- . Stopper pin
This tool should be bolted with four bolts to a level and stable surface using the bolt holes provided in the tool’s base. This will help prevent tipping and possible injury.
Fig.6:
- Bolt
FUNCTIONAL DESCRIPTION
CAUTION: Always be sure that the tool is switched off and unplugged before adjusting or checking function on the tool.
Blade guard
Fig.7

- Blade guard
When lowering the handle, the blade guard rises automatically. The guard is spring loaded so it returns to its original position when the cut is completed and the handle is raised. NEVER DEFEAT OR REMOVE THE BLADE GUARD OR THE SPRING WHICH ATTACHES TO THE GUARD.
In the interest of your personal safety, always maintain the blade guard in good condition. Any irregular operation of the blade guard should be corrected immediately. Check to assure spring loaded return action of guard. NEVER USE THE TOOL IF THE BLADE GUARD OR SPRING IS DAMAGED, FAULTY OR REMOVED. DOING SO IS HIGHLY DANGEROUS AND CAN CAUSE SERIOUS PERSONAL INJURY.
If the see-through blade guard becomes dirty, or sawdust adheres to it in such a way that the blade and/or workpiece is no longer easily visible, unplug the saw and clean the guard carefully with a damp cloth. Do not use solvents or any petroleum-based cleaners on the plastic guard.
If the blade guard is especially dirty and vision through the guard is impaired, use the supplied wrench to loosen the hex bolt holding the center cover. Loosen the hex bolt by turning it counterclockwise and raise the blade guard and center cover. With the blade guard so positioned, cleaning can be more completely and efficiently accomplished. When cleaning is complete, reverse procedure above and secure bolt. Do not remove spring holding blade guard. If guard becomes discolored through age or UV light exposure, contact a Makita service center for a new guard. DO NOT DEFEAT OR REMOVE GUARD.
Fig.8:
- Blade guard

Kerf board
This tool is provided with the kerf board in the turn base to minimize tearing on the exit side of a cut. If the kerf groove has not yet been cut in the kerf board by the factory, you should cut the groove before actually using the tool to cut a workpiece. Switch on the tool and lower the blade gently to cut a groove in the kerf board.
Fig.9:

- Kerf board
Maintaining maximum cutting capacity
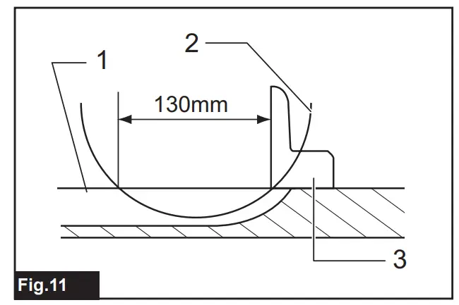
This tool is factory adjusted to provide the maximum cutting capacity for a 255 mm saw blade. When installing a new blade, always check the lower limit position of the blade and if necessary, adjust it as follows:
First, unplug the tool. Lower the handle completely. Use the wrench to turn the adjusting bolt until the periphery of the blade extends slightly below the top surface of the turn base at the point where the front face of the guide fence meets the top surface of the turn base.
Fig.10:

- Adjusting bolt
With the tool unplugged, rotate the blade by hand while holding the handle all the way down to be sure that the blade does not contact any part of the lower base. Re-adjust slightly, if necessary.
Fig.11:

- Top surface of turn base
- Periphery of blade
- Guide fence
CAUTION: After installing a new blade, always be sure that the blade does not contact any part of the lower base when the handle is lowered completely. Always do this with the tool unplugged.
Adjusting the miter angle
Fig.12:

- Lock lever
- Grip
Loosen the grip by turning counterclockwise. Turn the turn base while pressing down the lock lever. When you have moved the grip to the position where the pointer points to the desired angle on the miter scale, securely tighten the grip clockwise.
CAUTION: When turning the turn base, be sure to raise the handle fully.
CAUTION: After changing the miter angle, always secure the turn base by tightening the grip firmly
Adjusting the bevel angle
Fig.13:

- Knob
To adjust the bevel angle, loosen the knob at the rear of the tool counterclockwise.
Fig.14:

- Pointer
Push the handle to the left to tilt the saw blade until the pointer points to the desired angle on the bevel scale. Then tighten the knob clockwise firmly to secure the arm.
CAUTION: When tilting the saw blade, be sure to raise the handle fully.
CAUTION: After changing the bevel angle, always secure the arm by tightening the knob clockwise.
Switch action
WARNING: Before plugging in the tool, always check to see that the switch trigger actuates properly and returns to the “OFF” position when released. Operating a tool with a switch that does not actuate properly can lead to loss of control and serious personal injury.
WARNING: NEVER use tool without a fully operative switch trigger. Any tool with an inoperative switch is HIGHLY DANGEROUS and must be repaired before further usage or serious personal injury may occur
Fig.15:

- Switch trigger
- Lock-off button
To prevent the switch trigger from being accidentally pulled, a lock-off button is provided. To start the tool, press in the lock-off button and pull the switch trigger. Release the switch trigger to stop.
ASSEMBLY
CAUTION: Always be sure that the tool is switched off and unplugged before carrying out any work on the tool.
Installing or removing saw blade
CAUTION: Always be sure that the tool is switched off and unplugged before installing or removing the blade.
CAUTION: Use only the Makita wrench provided to install or remove the blade. Failure to do so may result in overtightening or insufficient tightening of the hex bolt. This could cause an injury.
When removing or installing the blade, keep the handle in the raised position.
To remove the blade, use the wrench to loosen the hex bolt holding the center cover by turning it counterclockwise. Raise the blade guard and center cover.
Fig.16:

- Wrench
- Center cover
Fig.17:

- Hex bolt
Press the shaft lock to lock the spindle and use the wrench to loosen the hex bolt clockwise. Then remove the hex bolt, outer flange and blade.
Fig.18:

- Hex bolt
- Wrench
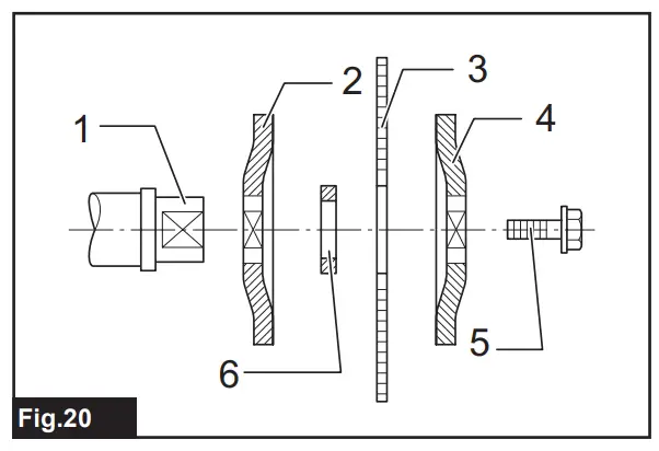
To install the blade, mount it carefully onto the spindle, making sure that the direction of the arrow on the surface of the blade matches the direction of the arrow on the blade case.
Fig.19:

- Blade case
- Arrow
- Arrow
- Saw blade
Install the outer flange and hex bolt, and then use the wrench to tighten the hex bolt (left-handed) securely counterclockwise while pressing the shaft lock.
Fig.20:

- Spindle
- Flange
- Saw blade
- Flange
- Hex bolt
- Ring
CAUTION: The ring 25.4 mm or 30 mm in outer diameter is factory-installed onto the spindle. Before mounting the blade onto the spindle, always be sure that the correct ring for the arbor hole of the blade you intend to use is installed onto the spindle.
Return the blade guard and center cover to its original position. Then tighten the hex bolt clockwise to secure the center cover. Lower the handle to make sure that the blade guard moves properly. Make sure shaft lock has released spindle before making cut.
Sub-fence
Country specific
WARNING: When performing left bevel cuts, flip the sub-fence outward. Otherwise, it may contact the blade or a part of the tool, and may result in serious injury to the operator.
Fig.21:

- Sub-fence
This tool is equipped with the sub-fence. Usually position the sub-fence inside. However, when performing left bevel cuts, flip it outward.
Connecting a vacuum cleaner
When you wish to perform clean cutting operation, connect a Makita vacuum cleaner.
Fig.22

Dust bag
Fig.23:

- Dust bag
Fig.24:

- fastener
The use of the dust bag makes cutting operations clean and dust collection easy. To attach the dust bag, fit it onto the dust nozzle.
When the dust bag is about half full, remove the dust bag from the tool and pull the fastener out. Empty the dust bag of its contents, tapping it lightly so as to remove particles adhering to the insides which might hamper further collection.
Securing workpiece
WARNING: It is extremely important to always secure the workpiece properly and tightly with the vise. Failure to do so can cause the tool to be damaged and/or the workpiece to be destroyed. PERSONAL INJURY MAY ALSO RESULT. Also, after a cutting operation, DO NOT raise the blade until the blade has come to a complete stop.
CAUTION: When cutting long workpieces, use supports that are as high as the top surface level of the turn base. Do not rely solely on the vertical vise and/or horizontal vise to secure the workpiece. Thin material tends to sag. Support workpiece over its entire length to avoid blade pinch and possible KICKBACK.
Fig.25:

- Support
- Turn base
Vertical vise
Fig.26:

- Vise knob
- Screw
- Vise arm
- Vise rod
The vertical vise can be installed in two positions on either the left or right side of the guide fence. Insert the vise rod into the hole in the guide fence and tighten the screw to secure the vise rod.
Position the vise arm according to the thickness and shape of the workpiece and secure the vise arm by tightening the screw. Make sure that no part of the tool contacts the vise when lowering the handle all the way. If some part contacts the vise, re-position the vise. Press the workpiece flat against the guide fence and the turn base. Position the workpiece at the desired cutting position and secure it firmly by tightening the vise knob.
CAUTION: The workpiece must be secured firmly against the turn base and guide fence with the vise during all operations.
OPERATION
CAUTION: Before use, be sure to release the handle from the lowered position by pulling the stopper pin.
CAUTION: Make sure the blade is not contacting the workpiece, etc. before the switch is turned on.
CAUTION: Do not apply excessive pressure on the handle when cutting. Too much force may result in overload of the motor and/or decreased cutting efficiency. Press down handle with only as much force as necessary for smooth cutting and without significant decrease in blade speed.
CAUTION: Gently press down the handle to perform the cut. If the handle is pressed down with force or if lateral force is applied, the blade may vibrate and leave a mark (saw mark) in the workpiece and the precision of the cut may be impaired.
CAUTION: Do not release the saw head uncontrolled from the fully down position. Uncontrolled saw head may hit you and it will result in personal injury
Press cutting
Fig.27:

- Vertical vise
Secure the workpiece with the vise. Switch on the tool without the blade making any contact and wait until the blade attains full speed before lowering. Then gently lower the handle to the fully lowered position to cut the workpiece. When the cut is completed, switch off the tool and WAIT UNTIL THE BLADE HAS COME TO A COMPLETE STOP before returning the blade to its fully elevated position.
Miter cutting
Refer to the section for adjusting the miter angle.
Bevel cut
Fig.28

Loosen the knob and tilt the saw blade to set the bevel angle (Refer to the previously covered “Adjusting the bevel angle”). Be sure to retighten the knob firmly to secure the selected bevel angle safely. Secure the workpiece with a vise. Switch on the tool without the blade making any contact and wait until the blade attains full speed. Then gently lower the handle to the fully lowered position while applying pressure in parallel with the blade. When the cut is completed, switch off the tool and WAIT UNTIL THE BLADE HAS COME TO A COMPLETE STOP before returning the blade to its fully elevated position.
CAUTION: Always be sure that the blade will move down to bevel direction during a bevel cut. Keep hands out of path of saw blade.
CAUTION: During a bevel cut, it may create a condition whereby the piece cut off will come to rest against the side of the blade. If the blade is raised while the blade is still rotating, this piece may be caught by the blade, causing fragments to be scattered which is dangerous. The blade should be raised ONLY after the blade has come to a complete stop.
CAUTION: When pressing the handle down, apply pressure parallel to the blade. If the pressure is not parallel to the blade during a cut, the angle of the blade might be shifted and the precision of the cut will be impaired.
CAUTION: (Only for tools with sub-fence) Always set the sub-fence outside when performing left bevel cuts.
Compound cutting
Compound cutting is the process in which a bevel angle is made at the same time in which a miter angle is being cut on a workpiece. Compound cutting can be performed at the angle shown in the table.
| Bevel angle | Miter angle |
| 45° | Left and Right 0° – 45° |
When performing compound cutting, refer to “Press cutting”, “Miter cutting” and “Bevel cut” explanations.
Cutting crown and cove moldings
Crown and cove moldings can be cut on a compound miter saw with the moldings laid flat on the turn base. There are two common types of crown moldings and one type of cove moldings; 52/38° wall angle crown molding, 45° wall angle crown molding and 45° wall angle cove molding.
Fig.29:

- 52/38° type crown molding
- 45° type crown molding
- 45° type cove molding
There are crown and cove molding joints which are made to fit “Inside” 90° corners ((a) and (b) in the figure) and “Outside” 90° corners ((c) and (d) in the figure.)
Fig.30:

- Inside corner
- Outside corner
Fig.31:

- Inside corner
- Outside corner
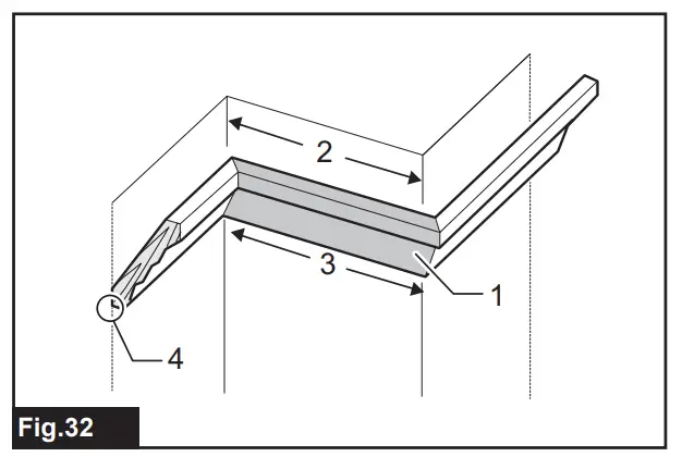
Measuring
Measure the wall width, and adjust the width of the workpiece according to it. Always make sure that width of the workpiece’s wall contact edge is the same as wall length.
Fig.32:

- Workpiece
- Wall width
- Width of the workpiece
- Wall contact edge
Always use several pieces for test cuts to check the saw angles.
When cutting crown and cove moldings, set the bevel angle and miter angle as indicated in the table (A) and position the moldings on the top surface of the saw base as indicated in the table (B).
In the case of left bevel cut
Fig.33:

- Inside corner
- Outside corner
Table (A)
| – | Molding position in the figure | Bevel angle | Miter angle | ||
| 52/38° type | 45° type | 52/38° type | 45° type | ||
| For inside corner | (a) | Left 33.9° | Left 30° | Right 31.6° | Right 35.3° |
| (b) | Left 31.6° | Left 35.3° | |||
| For outside corner | (c) | ||||
| (d) | Right 31.6° | Right 35.3° | |||
Table (B)
| – | Molding position in the figure | Molding edge against guide fence | Finished piece |
| For inside corner | (a) | Ceiling contact edge should be against guide fence. | Finished piece will be on the Left side of blade. |
| (b) | Wall contact edge should be against guide fence. | ||
| For outside corner | (c) | Finished piece will be on the Right side of blade. | |
| (d) | Ceiling contact edge should be against guide fence. |
Example
In the case of cutting 52/38° type crown molding for position (a) in the above figure:
- Tilt and secure bevel angle setting to 33.9° LEFT.
- Adjust and secure miter angle setting to 31.6° RIGHT.
- Lay crown molding with its broad back (hidden) surface down on the turn base with its CEILING CONTACT EDGE against the guide fence on the saw.
- The finished piece to be used will always be on the LEFT side of the blade after the cut has been made.
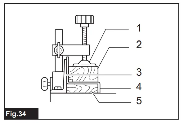
Cutting aluminum extrusion
Fig.34:

- Vise
- Spacer block
- Guide fence
- Aluminum extrusion
- Spacer block
When securing aluminum extrusions, use spacer blocks or pieces of scrap as shown in the figure to prevent deformation of the aluminum. Use a cutting lubricant when cutting the aluminum extrusion to prevent build-up of the aluminum material on the blade.
CAUTION: Never attempt to cut thick or round aluminum extrusions. Thick aluminum extrusions may come loose during operation and round aluminum extrusions cannot be secured firmly with this tool.
Wood facing
WARNING: Use screws to attach the wood facing to the guide fence. The screws should be installed so that the screw heads are below the surface of the wood facing so that they will not interfere with the positioning of the material being cut. Misalignment of the material being cut can case unexpected movement during the cutting operation which may result in a loss of control and serious personal injury.
CAUTION: Use the straight wood of even thickness as the wood facing.
Use of wood facing helps to assure splinter-free cuts in workpieces. Attach a wood facing to the guide fence using the holes in the guide fence. See the figure concerning the dimensions for a suggested wood facing.
Fig.35:

- Holes
NOTICE: When the wood facing is attached, do not turn the turn base with the handle lowered. The blade and/or the wood facing will be damaged
NOTE: The maximum cutting width will be smaller by the width of wood facing.
Cutting repetitive lengths
When cutting several pieces of stock to the same length, ranging from 240 mm to 380 mm, use the set plate (optional accessory). Install the set plate on the holder (optional accessory) as shown in the figure.
Fig.36:

- Set plate
- Holder
- Screw
Align the cutting line on your workpiece with either the left or right side of the groove in the kerf board, and while holding the workpiece, move the set plate flush against the end of the workpiece. Then secure the set plate with the screw.
When the set plate is not used, loosen the screw and turn the set plate out of the way.
NOTE: Use of the holder-rod assembly (optional accessory) allows cutting repetitive lengths up to 2,200 mm approximately.
Carrying tool
Fig.37:

- Stopper pin
Make sure that the tool is unplugged. Secure the blade at 0° bevel angle and the turn base at left miter angle fully. Lower the handle fully and lock it in the lowered position by pushing in the stopper pin. Carry the tool by carrying grip as shown in the figure. If you remove the holders, dust bag, etc., you can carry the tool more easily.
Fig.38

CAUTION: Always secure all moving portions before carrying the tool.
CAUTION: Stopper pin is for carrying and storage purposes only and not for any cutting operations.
MAINTENANCE
WARNING: Always be sure that the blade is sharp and clean for the best and safest performance. Attempting a cut with a dull and /or dirty blade may cause kickback and result in a serious personal injury.
CAUTION: Always be sure that the tool is switched off and unplugged before attempting to perform inspection or maintenance.
NOTICE: Never use gasoline, benzine, thinner, alcohol or the like. Discoloration, deformation or cracks may result.
Adjusting the cutting angle
This tool is carefully adjusted and aligned at the factory, but rough handling may have affected the alignment. If your tool is not aligned properly, perform the following:
Miter angle
Fig.39:

- Hex bolt
Loosen the grip which secures the turn base. Turn the turn base so that the pointer points to 0° on the miter scale. Tighten the grip and loosen the hex bolts securing the guide fence using the wrench. If the pointer does not point to 0° on the miter scale, loosen the screw which secures the pointer and move and secure the pointer plate so that the pointer points to 0° on the miter scale.
Lower the handle fully and lock it in the lowered position by pushing in the stopper pin. Square the side of the blade with the face of the guide fence using a triangular rule, try-square, etc. Then securely tighten the hex bolts on the guide fence in the order from the right side.
Fig.40:

- Triangular rule
Bevel angle
0° bevel angle
Fig.41:

- 0° bevel angle adjusting bolt
Lower the handle fully and lock it in the lowered position by pushing in the stopper pin.
Loosen the knob at the rear of the tool.
Loosen the hex nut and turn the 0° bevel angle adjusting bolt on the right side of the turn base two or three revolutions clockwise to tilt the blade to the right.
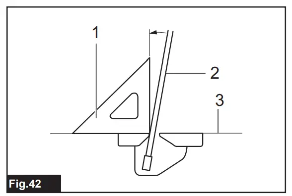
Carefully square the side of the blade with the top surface of the turn base using the triangular rule, trysquare, etc. by turning the 0° bevel angle adjusting bolt counterclockwise. Then tighten the hex nut to secure the 0° bevel angle adjusting bolt and tighten the knob securely.
Make sure that the pointer on the arm points to 0° on the bevel scale. If it does not point to 0° on the bevel scale, loosen the screw which secures the pointer and move and secure the pointer plate so that the pointer points to 0° on the bevel scale.
Fig.42:

- Triangular rule
- Saw blade
- Top surface of turn base
Fig.43:

- Pointer
45° bevel angle
Fig.44:

- 45° bevel angle adjusting bolt
- Pointer
Adjust the 45° bevel angle only after performing 0° bevel angle adjustment.
To adjust left 45° bevel angle, loosen the knob and tilt the blade to the left fully.
Make sure that the pointer on the arm points to 45° on the bevel scale on the arm.
If the pointer does not point to 45°, turn the 45° bevel angle adjusting bolt on the left side of the arm until the pointer points to 45°.
Replacing carbon brushes
Fig.45

Remove and check the carbon brushes regularly.
Replace when they wear down to 3 mm in length. Keep the carbon brushes clean and free to slip in the holders. Both carbon brushes should be replaced at the same time. Use only identical carbon brushes.
Use a screwdriver to remove the brush holder caps. Take out the worn carbon brushes, insert the new ones and secure the brush holder caps.
Fig.46:

- Brush holder cap
- Screwdriver
After use
After use, wipe off chips and dust adhering to the tool with a cloth or the like. Keep the blade guard clean according to the directions in the previously covered section titled “Blade guard”. Lubricate the sliding portions with machine oil to prevent rust.
To maintain product SAFETY and RELIABILITY, repairs, any other maintenance or adjustment should be performed by Makita Authorized or Factory Service Centers, always using Makita replacement parts.
OPTIONAL ACCESSORIES
CAUTION: These accessories or attachments are recommended for use with your Makita tool specified in this manual. The use of any other accessories or attachments might present a risk of injury to persons. Only use accessory or attachment for its stated purpose.
If you need any assistance for more details regarding these accessories, ask your local Makita Service Center.
Steel & Carbide-tipped saw blades (Refer to our website or contact your local Makita dealer for the correct saw blades to be used for the material to be cut.)
NOTE: Some items in the list may be included in the tool package as standard accessories. They may differ from country to country.
Makita Europe N.V.
Jan-Baptist Vinkstraat 2, 3070 Kortenberg, Belgium
Makita Corporation
3-11-8, Sumiyoshi-cho, Anjo, Aichi 446-8502 Japan





















