LS0815F Slide Compound Miter Saw
Instruction Manual
IMPORTANT: Read Before Using.
SPECIFICATIONS
| Model | LS0815F /LS0815FL |
| Blade diameter | 216 mm (8-1/2″) |
| Hole diameter | 15.88 mm (5/8″) |
| Max. Miter angle | Left 50° Right 60° |
| Max. Bevel angle | Left 48° Right 5° |
| Max. Cutting capacities (H x W) with 216 mm (8-1/2″) in diameter | |
| Miter angle | Bevel angle | ||
| 45° (left) | 5° (right) | 0° | |
| 0° | 50 mm x 305 mm (2″ x 12″) | 60 mm x 305 mm (2-3/8″ x 12″) | 65 mm x 305 mm (2-9/16″ x 12″) |
| 45° | 50 mm x 215 mm (2″ x 8-1/2″) | – | 65 mm x 215 mm (2-9/16″ x 8-1/2″) |
| 60° (right) | – | – | 65 mm x 150 mm (2-9/16″ x 5-7/8″) |
| No load speed (RPM) | 5,000 /min |
| Laser Type (LS0815FL only) | Wavelength 650 nm, Maximum output 1mW (Laser Class II) |
| Dimensions (L x W x H) | 755 mm x 450 mm x 488 mm |
| (29-3/4″ x 17-3/4″ x 19-1/4″) | |
| 14.1 kg (31.1 lbs) |
Net weight
- Due to our continuing program of research and development, the specifications herein are subject to change without notice.
- Specifications may differ from country to country.
- Weight according to EPTA-Procedure 01/2003
For Your Own Safety Read Instruction Manual
Before Operating Tool Save it for future reference
GENERAL SAFETY PRECAUTIONS
(For All Tools)
- KNOW YOUR POWER TOOL. Read the owner’s manual carefully. Learn the tool’s applications and limitations, as well as the specific potential hazards peculiar to it.
- KEEP GUARDS IN PLACE and in working order.
- REMOVE ADJUSTING KEYS AND WRENCHES.
Form habit of checking to see that keys and adjusting wrenches are removed from the tool before turning it on. - KEEP WORK AREA CLEAN. Cluttered areas and benches invite accidents.
- DO NOT USE IT IN A DANGEROUS ENVIRONMENT.
Do not use power tools in damp or wet locations, or expose them to rain. Keep work area well lighted. Do not use tools in presence of flammable liquids or gases. - KEEP CHILDREN AWAY. All visitors should be kept at a safe distance from the work area.
- MAKE WORKSHOP KID PROOF with padlocks, master switches, or by removing starter keys.
- DO NOT FORCE TOOL. It will do the job better and safer at the rate at which it was designed.
- USE THE RIGHT TOOL. Do not force tool or attachment to do a job for which it was not designed.
- WEAR PROPER APPAREL. Do not wear loose clothing, gloves, neckties, rings, bracelets, or other jewelry which may get caught in moving parts. Nonslip footwear is recommended.
Wear protective hair covering to contain long hair. - ALWAYS USE SAFETY GLASSES. Also, use a face or dust mask if the cutting operation is dusty. Everyday eyeglasses only have impact-resistant lenses, they are NOT safety glasses.
- SECURE WORK. Use clamps or a vise to hold work when practical. It’s safer than using your hand and it frees both hands to operate tool.
- DO NOT OVERREACH. Keep proper footing and balance at all times.
- MAINTAIN TOOLS WITH CARE. Keep tools sharp and clean for best and safest performance. Follow instructions for lubricating and changing accessories.
- DISCONNECT TOOLS before servicing; when changing accessories such as blades, bits, cutters, and the like.
- REDUCE THE RISK OF UNINTENTIONAL STARTING. Make sure the switch is in an off position before plugging in.
- USE RECOMMENDED ACCESSORIES.
Consult the owner’s manual for recommended accessories. The use of improper accessories may cause a risk of injury to persons. - NEVER STAND ON TOOL. Serious injury could occur if the tool is tipped or if the cutting tool is unintentionally contacted.
- CHECK DAMAGED PARTS. Before further use of the tool, a guard or other part that is damaged should be carefully checked to determine that it will operate properly and perform its intended function – check for alignment of moving parts, binding of moving parts, breakage of parts, mounting, and any other conditions that may affect its operation.
A guard or other part that is damaged should be properly repaired or replaced. - DIRECTION OF FEED. Feed work into a blade or cutter against the direction of rotation of the blade or cutter only.
- NEVER LEAVE THE TOOL RUNNING UNATTENDED.
TURN POWER OFF. Do not leave the tool until it comes to a complete stop. - REPLACEMENT PARTS. When servicing, use only identical replacement parts.
- POLARIZED PLUGS. To reduce the risk of electric shock, this equipment has a polarized plug (one blade is wider than the other). This plug will fit in a polarized outlet only one way.
If the plug does not fit fully in the outlet, reverse the plug. If it still does not fit, contact a qualified electrician to install the proper outlet. Do not change the plugin anyway.
VOLTAGE WARNING: Before connecting the tool to a power source (receptacle, outlet, etc.) be sure the voltage supplied is the same as that specified on the nameplate of the tool. A power source with voltage greater than that specified for the tool can result in SERIOUS INJURY to the user- as well as damage to the tool. If in doubt, DO NOT PLUG IN THE TOOL. Using a power source with voltage less than the nameplate rating is harmful to the motor.
USE PROPER EXTENSION CORD. Make sure your extension cord is in good condition. When using an extension cord, be sure to use one heavy enough to carry the current your product will draw. An undersized cord will cause a drop in line voltage resulting in loss of power and overheating. Table 1 shows the correct size to use depending on cord length and nameplate ampere rating. If in doubt, use the next heavier gauge. The smaller the gauge number, the heavier the cord.
Table 1: Minimum gage for cord
| Ampere Rating | Volts | The total length of cord in feet | ||||
| 120 V | 25 ft. | 50 ft. | 100 ft. | 150 ft. | ||
| More Than | Not More Than | AWG | ||||
| 0 | 6 | 18 | 16 | 16 | 14 | |
| 6 | 10 | 18 | 16 | 14 | 12 | |
| 10 | 12 | 16 | 16 | 14 | 12 | |
| 12 | 16 | 14 | 12 | Not Recommended | ||
ADDITIONAL SAFETY RULES
DO NOT let comfort or familiarity with product (gained from repeated use) replace strict adherence to slide compound saw safety rules. If you use this tool unsafely or incorrectly, you can suffer serious personal injury.
- Wear eye protection.
- Keep hands out of the path of the saw blade. Avoid contact with any coasting blade. It can still cause severe injury.
- Do not operate saw without guards in place.
Check blade guard for proper closing before each use. Do not operate saw if blade guard does not move freely and close instantly. Never clamp or tie the blade guard into the open position. - Do not perform any operation freehand. The workpiece must be secured firmly against the turn base and guide fence with a vise during all operations. Never use your hand to secure the workpiece.
- Never reach around saw blade.
- Turn off the tool and wait for the saw blade to stop before moving the workpiece or changing settings.
- Unplug the tool before changing the blade or servicing.
- To reduce the risk of injury, return the carriage to the full rear position after each crosscut operation.
- Always secure all moving portions before carrying the tool.
- The stopper pin which locks the cutter head down is for carrying and storage purposes only and not for any cutting operations.
- Do not use the tool in the presence of flammable liquids or gases. The electrical operation of the tool could create an explosion and fire when exposed to flammable liquids or gases.
- Check the blade carefully for cracks or damage before operation. Replace cracked or damaged blade immediately. Gum and wood pitch hardened on blades slows saw and increases the potential for kickback. Keep the blade clean by first removing it from the tool, then cleaning it with gum and pitch remover, hot water, or kerosene. Never use gasoline to clean the blade.
- While making a slide cut, KICKBACK can occur.
KICKBACK occurs when the blade binds in the workpiece during a cutting operation and the saw blade is driven rapidly towards the operator. Loss of control and serious personal injury can result. If the blade begins to bind during a cutting operation, do not continue to cut and release the switch immediately. - Use only flanges specified for this tool.
- Be careful not to damage the arbor, flanges (especially the installing surface) or bolt. Damage to these parts could result in blade breakage.
- Make sure that the turn base is properly secured so it will not move during operation. Use the holes in the base to fasten the saw to a stable work platform or bench. NEVER use tool where operator positioning would be awkward.
- For your safety, remove the chips, small pieces, etc. from the table top before operation.
- Avoid cutting nails. Inspect for and remove all nails from the workpiece before operation.
- Make sure the shaft lock is released before the switch is turned on.
- Be sure that the blade does not contact the turn base in the lowest position.
- Hold the handle firmly. Be aware that the saw moves up or down slightly during start-up and stopping.
- Make sure the blade is not contacting the workpiece before the switch is turned on.
- Before using the tool on an actual workpiece, let it run for a while. Watch for vibration or wobbling that could indicate poor installation or a poorly balanced blade.
- Wait until the blade attains full speed before cutting.
- Stop operation immediately if you notice anything abnormal.
- Do not attempt to lock the trigger in the “ON” position.
- Be alert at all times, especially during repetitive, monotonous operations. Do not be lulled into a false sense of security. Blades are extremely forgiving.
- Always use accessories recommended in this manual. Use of improper accessories such as abrasive wheels may cause an injury.
- NEVER hold the workpiece on the right side of the blade with the left hand or vice versa. This is called cross-armed cutting and exposes the user to the risk of SERIOUS PERSONAL INJURY as shown in the figure. ALWAYS use the vise to secure the workpiece.

- Do not abuse the cord. Never yank the cord to disconnect it from the receptacle. Keep cord away from heat, oil, water, and sharp objects.
- NEVER stack workpieces on the tabletop to speed cutting operations. Cut only one piece at a time.
- Some material contains chemicals that may be toxic. Take caution to prevent dust inhalation and skin contact. Follow material supplier safety data.
SAVE THESE INSTRUCTIONS.
WARNING:
MISUSE or failure to follow the safety rules stated in this instruction manual may cause serious personal injury.
ADDITIONAL SAFETY RULES FOR THE LASER
CAUTION:
- LASER RADIATION DOES NOT STARE INTO THE BEAM.
- AVOID EXPOSURE – LASER RADIATION IS EMITTED FROM APERTURE.
- USE OF CONTROLS OR ADJUSTMENTS OR PERFORMANCE OF PROCEDURES OTHER THAN THOSE SPECIFIED HEREIN MAY RESULT IN HAZARDOUS RADIATION EXPOSURE.

INSTALLATION
Bench mounting

1. Stopper pin
When the tool is shipped, the handle is locked in the lowered position by the stopper pin. Release the stopper pin by simultaneously applying slight downward pressure on the handle and pulling the stopper pin.
WARNING:
- Ensure that the tool will not move on the supporting surface. Movement of the miter saw on the supporting surface while cutting may result in loss of control and serious personal injury.

1. Bolts
This tool should be bolted with four bolts to a level and stable surface using the bolt holes provided in the tool’s base. This will help prevent tipping and possible injury.

1. Adjusting bolt
Turn the adjusting bolt clockwise or counterclockwise so that it comes into contact with the tool surface to keep the tool stable.
FUNCTIONAL DESCRIPTION
WARNING:
- Always be sure that the tool is switched off and unplugged before adjusting or checking the function on the tool. Failure to switch off and unplug the tool may result in serious personal injury from accidental start-up.
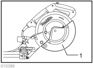
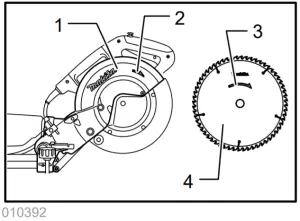
Blade guard

1. Blade guard
When lowering the handle, the blade guard rises automatically. The blade guard returns to its original position when the cut is completed and the handle is raised.
WARNING:
- Never defeat or remove the blade guard or the spring which attaches to the guard. An exposed blade as a result of defeated guarding may result in serious personal injury during operation.
In the interest of your personal safety, always maintain the blade guard in good condition. Any irregular operation of the blade guard should be corrected immediately. Check to assure spring-loaded return action of the guard.
WARNING:
- Never use the tool if the blade guard or spring are damaged, faulty or removed. Operation of the tool with a damaged, faulty or removed guard may result in serious personal injury.
If the see-through blade guard becomes dirty, or sawdust adheres to it in such a way that the blade and/or workpiece is no longer easily visible, unplug the saw and clean the guard carefully with a damp cloth. Do not use solvents or any petroleum-based cleaners on the plastic guard because this may cause damage to the guard.
If the blade guard becomes dirty and needs to be cleaned for proper operation follow the steps below: With the tool switched off and unplugged, use the supplied socket wrench to loosen the hex bolt holding the center cover. Loosen the hex bolt by turning it counterclockwise and raise the blade guard and center
cover. With the blade guard so positioned, cleaning can be more completely and efficiently accomplished. When cleaning is complete reverse the procedure above and secures the bolt. Do not remove the spring holding blade guard.
If the guard becomes damaged through age or UV light exposure, contact a Makita service center for a new guard. DO NOT DEFEAT OR REMOVE THE GUARD.

1. Blade guard
Positioning kerf board

- Kerf board
- Screw

- Saw blade
- Blade teeth
- Kerf board
- Left bevel cut
- Straight cut
This tool is provided with the kerf boards in the turn base to minimize tearing on the exit side of a cut. The kerf boards are factory adjusted so that the saw blade does not contact the kerf boards. Before use, adjust the kerf boards as follows:
First, unplug the tool. Loosen all the screws (3 each on left and right) securing the kerf boards. Re-tighten them only to the extent that the kerf boards can still be easily moved by hand. Lower the handle fully and push in the stopper pin to lock the handle in the lowered position. Loosen the screw which secures the slide poles. Pull the carriage toward you fully. Adjust the kerf boards so that the kerf boards just contact the sides of the blade teeth. Tighten the front screws (do not tighten firmly). Push the carriage toward the guide fence fully and adjust the kerf boards so that the kerf boards just contact the sides of blade teeth. Tighten the rear screws (do not tighten firmly).
After adjusting the kerf boards, release the stopper pin and raise the handle. Then tighten all the screws securely.
NOTICE:
- After setting the bevel angle to ensure that the kerf boards are adjusted properly. Correct adjustment of the kerf boards will help provide proper support of the workpiece minimizing workpiece tear out.
Maintaining maximum cutting capacity
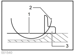
This tool is factory adjusted to provide the maximum cutting capacity for a 216 mm (8-1/2″) saw blade.
Unplug the tool before any adjustment is attempted. When installing a new blade, always check the lower limit position of the blade and if necessary, adjust it as follows:

- Adjusting bolt
- Turn base

- The top surface of the turn base
- Periphery of blade
- Guide fence
First, unplug the tool. Push the carriage toward the guide fence fully and lower the handle completely. Use the hex. wrench to turn the adjusting bolt until the periphery of the blade extends slightly below the top surface of the turn base at the point where the front face of the guide fence meets the top surface of the turn base.
With the tool unplugged, rotate the blade by hand while holding the handle all the way down to be sure that the blade does not contact any part of the lower base. Readjust slightly, if necessary.
WARNING:
- After installing a new blade and with the tool unplugged, always be sure that the blade does not contact any part of the lower base when the handle is lowered completely. If a blade makes contact with the base it may cause kickback and result in serious personal injury.
Stopper arm

- Stopper arm
- Adjusting screw
The lower limit position of the blade can be easily adjusted with the stopper arm. To adjust it, move the stopper arm in the direction of the arrow as shown in the figure. Adjust the adjusting screw so that the blade stops at the desired position when lowering the handle fully.
Adjusting the miter angle

- Miter scale
- Pointer
- Lock lever
- Grip
Loosen the grip by turning counterclockwise. Turn the turn base while pressing down the lock lever. When you have moved the grip to the position where the pointer points to the desired angle on the miter scale, securely tighten the grip clockwise.
CAUTION:
- After changing the miter angle, always secure the turn base by tightening the grip firmly.
NOTICE:
- When turning the turn base, be sure to raise the handle fully.
Adjusting the bevel angle

1. Lever
To adjust the bevel angle, loosen the lever at the rear of the tool counterclockwise. Unlock the arm by pushing the handle somewhat strongly in the direction that you intend to tilt the saw blade.
NOTE:
- The lever can be adjusted to a different lever angle by removing the screw holding the lever and securing the lever at the desired angle.

- Lever
- Arm
- Pointer
- Bevel scale
Tilt the saw blade until the pointer points to the desired angle on the bevel scale. Then tighten the lever clockwise firmly to secure the arm.

- Pointer
- Release button
- Bevel scale
To tilt the saw blade to right 5 ゚ or left 48 ゚: set the saw blade to 0 ゚ for right 5 ゚, or 45 ゚ for left 48 ゚. Then slightly tilt the saw blade to the opposite side. Push the
release button and tilt the saw blade to the desired position. Tighten the lever to secure the arm.
CAUTION:
- After changing the bevel angle, always secure the arm by tightening the lever clockwise.
NOTICE:
- When tilting the saw blade be sure the handle is fully raised.
- When changing bevel angles, be sure to position the kerf boards appropriately as explained in the “Positioning kerf boards” section.
Slide lock adjustment

- Locking screw
To lock the slide pole, turn the locking screw clockwise.
Switch action
To prevent the switch trigger from being accidentally pulled, a lock-off button is provided. To start the tool, press in the lock-off button and pull the switch trigger. Release the switch trigger to stop.
WARNING:
- Before plugging in the tool, always check to see that the switch trigger actuates properly and returns to the “OFF” position when released. Do not pull the switch trigger hard without pressing the lock-off button. This can cause switch breakage. Operating a tool with a switch that does not actuate properly can lead to loss of control and serious personal injury.
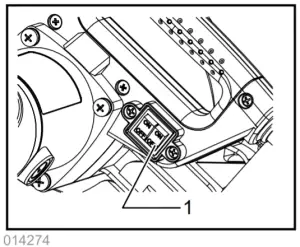
A hole is provided in the switch trigger for the insertion of a padlock to lock the tool off.

- Lock-off button
- Switch trigger
- Hole for padlock
WARNING:
- Do not use a lock with a shank or cable any smaller than 6.35 mm (1/4″) in diameter. A smaller shank or cable may not properly lock the tool in the off position and unintentional operation may occur resulting in serious personal injury.
- NEVER use the tool without a fully operative switch trigger. Any tool with an inoperative switch is
HIGHLY DANGEROUS and must be repaired before further usage or serious personal injury may occur. - For your safety, this tool is equipped with a lock-off button which prevents the tool from unintended starting. NEVER use the tool if it runs when you simply pull the switch trigger without pressing the lock-off button. A switch in need of repair may result in unintentional operation and serious personal injury. Return the tool to a Makita service center for proper repairs BEFORE further usage.
- NEVER defeat the lock-off button by taping down or some other means. A switch with a defeated lock-off button may result in unintentional operation and serious personal injury.
Electric brake
This tool is equipped with an electric blade brake. If the tool consistently fails to quickly stop the blade after the switch trigger is released, have the tool serviced at a Makita service center.
CAUTION:
- The blade brake system is not a substitute for the blade guard. Never use the tool without a functioning blade guard. An unguarded blade may result in serious personal injury.
Electronic function
Soft start feature
- This function allows the smooth start-up of the tool by limiting the start-up torque.
Laser beam action
For model LS0815FL only
NOTE:
- Before the first use, install the dry cells provided separately from the tool in the cell box. Refer to the section titled “Replacing the dry cells for laser unit” for the installment.
CAUTION:
- When not in use, be sure to turn off the laser

- Switch for laser
CAUTION:
- LASER RADIATION
Do not stare into the beam. - Before shifting the laser line or performing maintenance adjustment, be sure to unplug the tool.
To turn on the laser beam, press the upper position(ON) of the switch. To turn off the laser beam, press the lower position (OFF) of the switch.
The laser line can be shifted to either the left or right side of the saw blade by loosening the screw holding the laser unit box and shifting it in the desired direction. After shifting, be sure to tighten the screw.

The laser line is factory adjusted so that it is positioned within 1 mm (0.04″) from the side surface of the blade (cutting position).
NOTE:
- When the laser line appears dim and hard to see because of direct sunlight, relocate the work area to a place where there is less direct sunlight. Cleaning of the lens for the laser light If the lens for the laser light becomes dirty, or sawdust adheres to it in such a way that the laser line is no longer easily visible, unplug the saw and remove and clean the lens for the laser light carefully with a damp, soft cloth. Do not use solvents or any petroleum-based cleaners on the lens.
NOTE:
- When the laser line is dim and almost or entirely invisible because of the direct sunlight in the indoor or outdoor window-by work, relocate the work area to a place not exposed to the direct sunlight.
Light action


- Switch for the light
To turn on the light, press the upper position (ON) of the switch. To turn off the light, press the lower position (OFF) of the switch.
CAUTION:
- Do not look in the light or see the source of light directly.
NOTE:
- Use a dry cloth to wipe the dirt off the lens of the lamp.
- Be careful not to scratch the lens of the lamp, or it may lower the luminance.
ASSEMBLY
WARNING:
- Always be sure that the tool is switched off and unplugged before working on the tool. Failure to switch off and unplug the tool may result in serious personal injury.
Storage of socket wrench with hex wrench on its other end

- Socket wrench with hex wrench on its other end
- Wrench holder
The socket wrench is stored as shown in the figure. When the socket wrench is needed it can be pulled out of the wrench holder. After using the socket wrench it can be stored by returning it to the wrench holder.
Installing or removing saw blade
WARNING:
- Always be sure that the tool is switched off and unplugged before installing or removing the blade. Accidental start-up of the tool may result in serious personal injury.
- Use only the Makita socket wrench provided to install or remove the blade. Failure to use the wrench may result in overtightening or insufficient tightening of the hex bolt and serious personal injury.

- Stopper pin
Lock the handle in the raised position by pushing in the stopper pin.

- Socket wrench
- Blade case
- Center cover
- Hex bolt
- Blade guard
To remove the blade, use the socket wrench to loosen the hex bolt holding the center cover by turning it counterclockwise. Raise the blade guard and center cover.

- Blade case
- Socket wrench
- Hex bolt
- Arrow
- Shaft lock
Press the shaft lock to lock the spindle and use the socket wrench to loosen the hex bolt clockwise. Then remove the hex bolt, outer flange and blade.
NOTE:
- If the inner flange is removed be sure to install it on the spindle with its protrusion facing away from the blade. If the flange is installed incorrectly the flange will rub against the machine.
WARNING:
- Before mounting the blade onto the spindle, always be sure that the correct ring for the blade’s arbor hole you intend to use is installed between the inner and the outer
flanges. Use of the incorrect arbor hole ring may result in the improper mounting of the blade causing blade movement and severe vibration resulting in possible loss of control during operation and in serious personal injury.

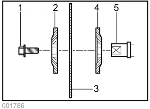
- Blade case
- Arrow
- Arrow
- Saw blade

- Hex bolt
- Outer flange
- Saw blade
- Inner flange
- Spindle
To install the blade, mount it carefully onto the spindle, making sure that the direction of the arrow on the surface of the blade matches the direction of the arrow on the blade case.
Install the outer flange and hex bolt, and then use the socket wrench to tighten the hex bolt (left-handed) securely counterclockwise while pressing the shaft lock.

- Socket wrench
- Blade case
- Center cover
- Hex bolt
- Blade guard
Return the blade guard and center cover to their original position. Then tighten the hex bolt clockwise to secure the center cover. Release the handle from the raised position by pulling the stopper pin. Lower the handle to make sure that the blade guard moves properly. Make sure the shaft lock has a released the spindle before making the cut.
Dust bag

- Dust nozzle
- Dust bag
- Fastener
The use of the dust bag makes cutting operations cleaner and dust collection are easier. To attach the dust bag, fit it onto the dust nozzle.
When the dust bag is about half full, remove the dust bag from the tool and pull the fastener out. Empty the dust bag of its contents, tapping it lightly so as to remove particles adhering to the insides which might hamper further collection.
NOTE:
If you connect a vacuum cleaner to your saw, cleaner operations can be performed.
Securing workpiece
WARNING:
- It is extremely important to always secure the workpiece correctly with the proper type of vise or crown molding stoppers. Failure to do so may result in serious personal injury and cause damage to the tool and/or the workpiece.
- After a cutting operation does not raise the blade until it has come to a complete stop. The raising of a coasting blade may result in serious personal injury and damage to the workpiece.
- When cutting a workpiece that is longer than the support base of the saw, the material should be supported the entire length beyond the support base and at the same height to keep the material level. Proper workpiece support will help avoid blade pinch and possible kickback which may result in serious personal injury. Do not rely solely on the vertical vise and/or horizontal vise to secure the workpiece. Thin material tends to sag. Support workpiece over its entire length to avoid blade pinch and possible KICKBACK.

Guide fence (SLIDING FENCES) adjustment

- Sliding fence
- Clamping screw
CAUTION:
- Before operating the tool, make sure that the sliding fence is secured firmly.
- Before bevel-cutting, make sure that no part of the tool, contacts the sliding fence. when fully lowering and raising the handle in any position and while moving the carriage through its full range of travel.

- Sliding fence
CAUTION:
- When performing bevel cuts, slide the sliding fence to the left and secure it as shown in the figure.
This tool is equipped with a sliding fence which should ordinarily be positioned as shown in the figure. However, when performing left bevel cuts, set it to the left position as shown in the figure if the tool head contacts it.
When bevel-cutting operations are complete, don’t forget to return the sliding fence to the original position and secure it by firmly tightening the clamping screw.
Vertical vise

- Vise arm
- Vise knob
- Vise rod
- Screw
- Guide fence
The vertical vise can be installed on either the left or right side of the guide fence. Insert the vise rod into the hole in the guide fence and tighten the screw on the back of the guide fence to secure the vise rod.
Position the vise arm according to the thickness and shape of the workpiece and secure the vise arm by tightening the screw. If the screw to secure the vise arm contacts the guide fence, install the screw on the opposite side of the vise arm. Make sure that no part of the tool contacts the vise when lowering the handle fully and pulling or pushing the carriage all the way. If some part contacts the vise, re-position the vise. Press the workpiece flat against the guide fence and the turn base. Position the workpiece at the desired cutting position and secure it firmly by tightening the vise knob.
WARNING:
- The workpiece must be secured firmly against the turn base and guide fence with the vise during all operations. If the workpiece is not properly secured against the fence, the material may move during the cutting operation causing possible damage to the blade, causing the material to be thrown and loss of control resulting in serious personal injury.
Holders

- Holder
- Screw
The holders can be installed on either side as a convenient means of holding workpieces horizontally. Slip fully the holder rods into the holes in the base. Then tighten the holders securely with the screws.
WARNING:
- Always support a long workpiece so it is level with the top surface of the turn base for an accurate cut and to prevent dangerous loss of tool control. Proper workpiece support will help avoid blade pinch and possible kickback which may result in serious personal injury.
OPERATION
NOTICE:
- Before use, be sure to release the handle from the lowered position by pulling the stopper pin.
- Do not apply excessive pressure on the handle when cutting. Too much force may result in an overload of the motor and/or decreased cutting efficiency. Push down handle with only as much force as is necessary for smooth cutting and without a significant decrease in blade speed.
- Gently press down the handle to perform the cut. If the handle is pressed down with force or if lateral force is applied, the blade will vibrate and leave a mark (saw mark) in the workpiece and the precision of the cut will be impaired.
- During a slide cut, gently push the carriage toward the guide fence without stopping. If the carriage movement is stopped during the cut, a mark will be left in the workpiece and the precision of the cut will be impaired.
WARNING:
- Make sure the blade is not contacting the workpiece, etc. before the switch is turned on.
Turning the tool on with the blade in contact with the workpiece may result in kickback and serious personal injury.
Press cutting (cutting small workpieces)

Workpieces up to 90 mm (3-1/2″) high and 60 mm
(2-3/8″) wide can be cut in the following manner.
Push the carriage toward the guide fence fully and tighten the locking screw clockwise to secure the carriage. Secure the workpiece correctly with the proper type of vise. Switch on the tool without the blade making any contact and wait until the blade attains full speed before lowering. Then gently lower the handle to the fully lowered position to cut the workpiece. When the cut is completed, switch off the tool and WAIT UNTIL THE BLADE HAS COME TO A COMPLETE STOP before returning the blade to its fully elevated position.
WARNING:
- Firmly tighten the knob clockwise so that the carriage will not move during operation. Insufficient tightening of the knob may cause a possible kickback which may result in serious personal injury.
Slide (push) cutting (cutting wide workpieces)

Loosen the locking screw counterclockwise so that the carriage can slide freely. Secure the workpiece with the proper type of vise. Pull the carriage toward you fully. Switch on the tool without the blade making any contact and wait until the blade attains full speed. Press the handle down and PUSH THE CARRIAGE TOWARD THE GUIDE FENCE AND THROUGH THE WORKPIECE. When the cut is completed, switch off the tool and WAIT UNTIL THE BLADE HAS COME TO A COMPLETE STOP before returning the blade to its fully elevated position.
WARNING:
- Whenever performing a slide cut, first pull the carriage full towards you and press the handle all the way down, then push the carriage toward the guide fence. Never start the cut with the carriage not pulled fully toward you. If you perform the slide cut without the carriage pulled fully toward you unexpected kickback may occur and serious personal injury may result.
- Never attempt to perform a slide cut by pulling the carriage towards you. Pulling the carriage towards you while cutting may cause unexpected kickback resulting in possible serious personal injury.
- Never perform the slide cut with the handle locked in the lowered position.
- Never loosen the locking screw which secures the carriage while the blade is rotating. A loose carriage while cutting may cause unexpected kickback resulting in possible serious personal injury.
Miter cutting
Refer to the previously covered “Adjusting the miter angle”.
Bevel cut

Loosen the lever and tilt the saw blade to set the bevel angle (Refer to the previously covered “Adjusting the bevel angle”). Be sure to retighten the lever firmly to secure the selected bevel angle safely. Secure the workpiece with a vise. Make sure the carriage is pulled all the way back toward the operator. Switch on the tool without the blade making any contact and wait until the blade attains full speed. Then gently lower the handle to the fully lowered position while applying pressure in parallel with the blade and PUSH THE CARRIAGE TOWARD THE GUIDE FENCE TO CUT THE WORKPIECE. When the cut is completed, switch off the tool and WAIT UNTIL THE BLADE HAS COME TO A COMPLETE STOP before returning the blade to its fully elevated position.
WARNING:
- After setting the blade for a bevel cut, before operating the tool ensure that the carriage and blade will have free travel throughout the entire range of the intended cut. Interruption of the carriage or blade travel during the cutting operation may result in kickback and serious personal injury.
- While making a bevel cut keep hands out of the path of the blade. The angle of the blade may confuse the operator as to the actual blade path while cutting and contact with the blade will result in serious personal injury.
- The blade should not be raised until it has come to a complete stop. During a bevel cut, the piece cut off may come to rest against the blade. If the blade is raised while it is rotating the cut-off piece may be ejected by the blade causing the material to fragment which may result in serious personal injury.
NOTICE:
- When pressing down the handle, apply pressure in parallel with the blade. If a force is applied perpendicularly to the turn base or if the pressure direction is changed during a cut, the precision of the cut will be impaired.
- Before bevel-cutting, an adjustment of the sliding fence may be required. Refer to the section titled “Guide fence adjustment”.
Compound cutting
Compound cutting is the process in which a bevel angle is made at the same time in which a miter angle is being cut on a workpiece. Compound cutting can be performed at the angle shown in the table.
| Miter angle | Bevel angle |
| Left and Right 0° – 45° | Left 0° – 45° |
When performing compound cutting, refer to “Press cutting”, “Slide cutting”, “Miter cutting” and “Bevel cut” explanations.
Cutting crown and cove moldings
Crown and cove moldings can be cut on a compound miter saw with the moldings laid flat on the turn base.
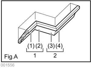
There are two common types of crown moldings and one type of cove moldings; 52/38° wall angle crown molding, 45° wall angle crown molding and 45° wall angle cove molding. See illustrations.

- 52/38 ゚ type crown molding
- 45 ゚ type crown molding
- 45 ゚ type cove molding
There are the crown and cove molding joints which are made to fit “Inside” 90° corners ((1) and (2) in Fig. A) and “Outside” 90° corners ((3) and (4) in Fig. A).

- Inside corner
- Outside corner

- Inside corner
- Outside corner
Measuring
Measure the wall length and adjust the workpiece on the table to cut the wall contact edge to the desired length. Always make sure that the cut workpiece length at the back of the workpiece is the same as the wall length. Adjust cut length for the angle of cut. Always use several pieces for test cuts to check the saw angles.
When cutting crown and cove moldings, set the bevel angle and miter angle as indicated in table (A) and position the moldings on the top surface of the saw base as indicated in table (B).
In the case of left bevel cut
Table (A)
| Moldingposition in Fig. A | Bevel angle | Miter angle | |||
| 52/38° type | 45° type | 52/38° type | 45° type | ||
| For inside corner | (1) | Left 33.9° | Left 30° | Right 31.6° | Right 35.3° |
| (2) | Left 31.6° | Left 35.3° | |||
| For outside corner | (3) | ||||
| (4) | Right 31.6° | Right 35.3° | |||
Table (B)
| Molding position in Fig. A | Molding edge against the guide fence | Finished piece | |
| For inside corner | (1) | The ceiling contact edge should be against the guide fence. | The finished piece will be on the Left side of the blade. |
| (2) | Wall contact edge should be against the guide fence. | ||
| For outside corner | (3) | The finished piece will be on the Right Side of the blade. | |
| (4) | The ceiling contact edge should be against the guide fence. |
Example:
In the case of cutting 52/38° type crown molding for the position (1) in Fig. A:
- Tilt and secure bevel angle setting to 33.9° LEFT.
- Adjust and secure miter angle setting to 31.6° RIGHT.
- Lay crown molding with its broad back (hidden) surface down on the turn base with its CEILING CONTACT EDGE against the guide fence on the saw.
- The finished piece to be used will always be on the LEFT side of the blade after the cut has been made.
Compound Miter Saw Miter and Bevel Angle Settings

Wall to Crown Molding Angle: 52/38 degrees
| Wall Angle (deg.) | Bevel Angle (deg.) | Miter Angle (deg.) |
| 43.0 | 46.8 | |
| 61 | 42.8 | 46.3 |
| 62 | 42.5 | 45.7 |
| 63 | 42.2 | 45.1 |
| 64 | 41.9 | 44.6 |
| 65 | 41.7 | 44.0 |
| 66 | 41.4 | 43.5 |
| 67 | 41.1 | 42.9 |
| 68 | 40.8 | 42.4 |
| 69 | 40.5 | 41.9 |
| 70 | 40.2 | 41.3 |
| 71 | 39.9 | 40.8 |
| 72 | 39.6 | 40.3 |
| 73 | 39.3 | 39.8 |
| 74 | 39.0 | 39.2 |
| 75 | 38.7 | 38.7 |
| 76 | 38.4 | 38.2 |
| 77 | 38.1 | 37.7 |
| 78 | 37.8 | 37.2 |
| 79 | 37.4 | 36.8 |
| 80 | 37.1 | 36.3 |
| 81 | 36.8 | 35.8 |
| 82 | 36.5 | 35.3 |
| 83 | 36.2 | 34.8 |
| 84 | 35.8 | 34.4 |
| 85 | 35.5 | 33.9 |
| 86 | 35.2 | 33.4 |
| 87 | 34.9 | 33.0 |
| 88 | 34.5 | 32.5 |
| 89 | 34.2 | 32.1 |
| 33.9 | 31.6 | |
| 91 | 33.5 | 31.2 |
| 92 | 33.2 | 30.7 |
| 93 | 32.8 | 30.3 |
| 94 | 32.5 | 29.9 |
| 95 | 32.2 | 29.4 |
| 96 | 31.8 | 29.0 |
| 97 | 31.5 | 28.6 |
| 98 | 31.1 | 28.2 |
| 99 | 30.8 | 27.7 |
| 100 | 30.4 | 27.3 |
| Wall Angle (deg.) | Bevel Angle (deg.) | Miter Angle (deg.) |
| 101 | 30.1 | 26.9 |
| 102 | 29.7 | 26.5 |
| 103 | 29.4 | 26.1 |
| 104 | 29.0 | 25.7 |
| 105 | 28.7 | 25.3 |
| 106 | 28.3 | 24.9 |
| 107 | 28.0 | 24.5 |
| 108 | 27.6 | 24.1 |
| 109 | 27.2 | 23.7 |
| 110 | 26.9 | 23.3 |
| 111 | 26.5 | 22.9 |
| 112 | 26.1 | 22.6 |
| 113 | 25.8 | 22.2 |
| 114 | 25.4 | 21.8 |
| 115 | 25.0 | 21.4 |
| 116 | 24.7 | 21.0 |
| 117 | 24.3 | 20.7 |
| 118 | 23.9 | 20.3 |
| 119 | 23.6 | 19.9 |
| 23.2 | 19.6 | |
| 121 | 22.8 | 19.2 |
| 122 | 22.5 | 18.8 |
| 123 | 22.1 | 18.5 |
| 124 | 21.7 | 18.1 |
| 125 | 21.3 | 17.8 |
| 126 | 21.0 | 17.4 |
| 127 | 20.6 | 17.1 |
| 128 | 20.2 | 16.7 |
| 129 | 19.8 | 16.4 |
| 130 | 19.5 | 16.0 |
| 131 | 19.1 | 15.7 |
| 132 | 18.7 | 15.3 |
| 133 | 18.3 | 15.0 |
| 134 | 17.9 | 14.6 |
| 135 | 17.6 | 14.3 |
| 136 | 17.2 | 14.0 |
| 137 | 16.8 | 13.6 |
| 138 | 16.4 | 13.3 |
| 139 | 16.0 | 13.0 |
| 140 | 15.6 | 12.8 |
| Wall Angle (deg.) | Bevel Angle (deg.) | Miter Angle (deg.) |
| 141 | 15.3 | 12.3 |
| 142 | 14.9 | 12.0 |
| 143 | 14.5 | 11.6 |
| 144 | 14.1 | 11.3 |
| 145 | 13.7 | 11.0 |
| 146 | 13.3 | 10.7 |
| 147 | 12.9 | 10.3 |
| 148 | 12.5 | 10.0 |
| 149 | 12.2 | 9.7 |
| 11.8 | 9.4 | |
| 151 | 11.4 | 9.0 |
| 152 | 11.0 | 8.7 |
| 153 | 10.8 | 8.4 |
| 154 | 10.2 | 8.1 |
| 155 | 9.8 | 7.8 |
| 156 | 9.4 | 7.5 |
| 157 | 9.0 | 7.1 |
| 158 | 8.6 | 6.8 |
| 159 | 8.3 | 6.5 |
| 160 | 7.9 | 6.2 |
| 161 | 7.5 | 5.9 |
| 162 | 7.1 | 5.6 |
| 163 | 6.7 | 5.3 |
| 164 | 6.3 | 4.9 |
| 165 | 5.9 | 4.6 |
| 166 | 5.5 | 4.3 |
| 167 | 5.1 | 4.0 |
| 168 | 4.7 | 3.7 |
| 169 | 4.3 | 3.4 |
| 170 | 3.9 | 3.1 |
| 171 | 3.5 | 2.8 |
| 172 | 3.2 | 2.5 |
| 173 | 2.8 | 2.2 |
| 174 | 2.4 | 1.8 |
| 175 | 2.0 | 1.5 |
| 176 | 1.6 | 1.2 |
| 177 | 1.2 | 0.9 |
| 178 | 0.8 | 0.6 |
| 179 | 0.4 | 0.3 |
| 0.0 | 0.0 |
Compound Miter Saw Miter and Bevel Angle Settings

Wall to Crown Molding Angle: 45 degrees
| Wall Angle (deg.) | Bevel Angle (deg.) | Miter Angle (deg.) |
| 37.8 | 50.8 | |
| 61 | 37.5 | 50.2 |
| 62 | 37.3 | 49.6 |
| 63 | 37.1 | 49.1 |
| 64 | 36.8 | 48.5 |
| 65 | 36.6 | 48.0 |
| 66 | 36.4 | 47.4 |
| 67 | 36.1 | 46.9 |
| 68 | 35.9 | 46.4 |
| 69 | 35.6 | 45.8 |
| 70 | 35.4 | 45.3 |
| 71 | 35.1 | 44.8 |
| 72 | 34.9 | 44.2 |
| 73 | 34.6 | 43.7 |
| 74 | 34.4 | 43.2 |
| 75 | 34.1 | 42.7 |
| 76 | 33.9 | 42.1 |
| 77 | 33.6 | 41.6 |
| 78 | 33.3 | 41.1 |
| 79 | 33.1 | 40.6 |
| 80 | 32.8 | 40.1 |
| 81 | 32.5 | 39.6 |
| 82 | 32.3 | 39.1 |
| 83 | 32.0 | 38.6 |
| 84 | 31.7 | 38.1 |
| 85 | 31.4 | 37.7 |
| 86 | 31.1 | 37.2 |
| 87 | 30.9 | 36.7 |
| 88 | 30.6 | 36.2 |
| 89 | 30.3 | 35.7 |
| 30.0 | 35.3 | |
| 91 | 29.7 | 34.8 |
| 92 | 29.4 | 34.3 |
| 93 | 29.1 | 33.9 |
| 94 | 28.8 | 33.4 |
| 95 | 28.5 | 32.9 |
| 96 | 28.2 | 32.5 |
| 97 | 27.9 | 32.0 |
| 98 | 27.6 | 31.6 |
| 99 | 27.3 | 31.1 |
| 100 | 27.0 | 30.7 |
| Wall Angle (deg.) | Bevel Angle (deg.) | Miter Angle (deg.) |
| 101 | 26.7 | 30.2 |
| 102 | 26.4 | 29.8 |
| 103 | 26.1 | 29.4 |
| 104 | 25.8 | 28.9 |
| 105 | 25.5 | 28.5 |
| 106 | 25.2 | 28.1 |
| 107 | 24.9 | 27.6 |
| 108 | 24.6 | 27.2 |
| 109 | 24.2 | 26.8 |
| 110 | 23.9 | 26.3 |
| 111 | 23.6 | 25.9 |
| 112 | 23.3 | 25.5 |
| 113 | 23.0 | 25.1 |
| 114 | 22.7 | 24.7 |
| 115 | 22.3 | 24.3 |
| 116 | 22.0 | 23.8 |
| 117 | 21.7 | 23.4 |
| 118 | 21.4 | 23.0 |
| 119 | 21.0 | 22.6 |
| 20.7 | 22.2 | |
| 121 | 20.4 | 21.8 |
| 122 | 20.0 | 21.4 |
| 123 | 19.7 | 21.0 |
| 124 | 19.4 | 20.6 |
| 125 | 19.1 | 20.2 |
| 126 | 18.7 | 19.8 |
| 127 | 18.4 | 19.4 |
| 128 | 18.1 | 19.0 |
| 129 | 17.7 | 18.6 |
| 130 | 17.4 | 18.2 |
| 131 | 17.1 | 17.9 |
| 132 | 16.7 | 17.5 |
| 133 | 16.4 | 17.1 |
| 134 | 16.0 | 16.7 |
| 135 | 15.7 | 16.3 |
| 136 | 15.4 | 15.9 |
| 137 | 15.0 | 15.6 |
| 138 | 14.7 | 15.2 |
| 139 | 14.3 | 14.8 |
| 140 | 14.0 | 14.4 |
| Wall Angle (deg.) | Bevel Angle (deg.) | Miter Angle (deg.) |
| 141 | 13.7 | 14.1 |
| 142 | 13.3 | 13.7 |
| 143 | 13.0 | 13.3 |
| 144 | 12.6 | 12.9 |
| 145 | 12.3 | 12.6 |
| 146 | 11.9 | 12.2 |
| 147 | 11.6 | 11.8 |
| 148 | 11.2 | 11.5 |
| 149 | 10.9 | 11.1 |
| 10.5 | 10.7 | |
| 151 | 10.2 | 10.4 |
| 152 | 9.8 | 10.0 |
| 153 | 9.5 | 9.6 |
| 154 | 9.2 | 9.3 |
| 155 | 8.8 | 8.9 |
| 156 | 8.5 | 8.5 |
| 157 | 8.1 | 8.2 |
| 158 | 7.8 | 7.8 |
| 159 | 7.4 | 7.5 |
| 160 | 7.1 | 7.1 |
| 161 | 6.7 | 6.7 |
| 162 | 6.4 | 6.4 |
| 163 | 6.0 | 6.0 |
| 164 | 5.6 | 5.7 |
| 165 | 5.3 | 5.3 |
| 166 | 4.9 | 5.0 |
| 167 | 4.6 | 4.6 |
| 168 | 4.2 | 4.3 |
| 169 | 3.9 | 3.9 |
| 170 | 3.5 | 3.5 |
| 171 | 3.2 | 3.2 |
| 172 | 2.8 | 2.8 |
| 173 | 2.5 | 2.5 |
| 174 | 2.1 | 2.1 |
| 175 | 1.8 | 1.8 |
| 176 | 1.4 | 1.4 |
| 177 | 1.1 | 1.1 |
| 178 | 0.7 | 0.7 |
| 179 | 0.4 | 0.4 |
| 0.0 | 0.0 |
Cutting aluminum extrusion
- Guide fence
- Vise
- Spacer block
- Aluminum extrusion
- Spacer block
When securing aluminum extrusions, use spacer blocks or pieces of scrap as shown in the figure to prevent deformation of the aluminum. Use a cutting lubricant when cutting the aluminum extrusion to prevent the build-up of the aluminum material on the blade.
WARNING:
- Never attempt to cut thick or round aluminum extrusions. Thick or round aluminum extrusions can be difficult to secure and may work loose during the cutting operation which may result in loss of control and serious personal injury.
Wood facing
The use of wood facing helps to assure splinter-free cuts in workpieces. Attach a wood facing to the guide fence using the holes in the guide fence. See the figure concerning the dimensions for a suggested wood facing.

- Holes
014300
CAUTION:
- Use straight wood of even thickness as the wood facing.
WARNING:
- Use screws to attach the wood facing to the guide fence. The screws should be installed so that the screw heads are below the surface of the wood facing so that they will not interfere with the positioning of the material being cut. Misalignment of the material being cut can cause unexpected movement during the cutting operation which may result in a loss of control and serious personal injury.
NOTICE:
- When the wood facing is attached, do not turn the turn base with the handle lowered. The blade and/or the wood facing will be damaged.
Groove cutting

- Cut grooves with a blade
A dado type cut can be made by proceeding as follows:
Adjust the lower limit position of the blade using the adjusting screw and the stopper arm to limit the cutting depth of the blade. Refer to the “Stopper arm” section described previously.
After adjusting the lower limit position of the blade, cut parallel grooves across the width of the workpiece using a slide (push) cut as shown in the figure. Then remove the workpiece material between the grooves with a chisel.
WARNING:
- Do not attempt to perform this type of cut by using a wider type blade or dado blade. Attempting to make a groove cut with a wider blade or dado blade could lead to unexpected cutting results and kickback which may result in serious personal injury
- Be sure to return the stopper arm to the original position when performing other than groove cutting. Attempting to make cuts with the stopper arm in the incorrect position could lead to unexpected cutting results and kickback which may result in serious personal injury.
CAUTION:
- Be sure to return the stopper arm to the original position when performing other than groove cutting.
Carrying tool

Make sure that the tool is unplugged. Secure the blade at 0° bevel angle and the turn base at the full right miter angle position. Secure the slide poles so that the lower slide pole is locked in the position of the carriage fully pulled to operator and the upper poles are locked in the position of the carriage fully pushed forward to the guide fence (refer to the section titled “Slide lock adjustment “.) Lower the handle fully and lock it in the lowered position by pushing in the stopper pin.
Wind the power supply cord using the cord rests.
WARNING:
- The stopper pin is only for carrying and storage purposes and should never be used for any cutting operations. The use of the stopper pin for cutting operations may cause unexpected movement of the saw blade resulting in kickback and serious personal injury.
Carry the tool by holding both sides of the tool base as shown in the figure. If you remove the holders, dustbag, etc., you can carry the tool more easily.
CAUTION:
- Always secure all moving portions before carrying the tool. If portions of the tool move or slide while being carried loss of control or balance may occur resulting in personal injury.
MAINTENANCE
WARNING:
- Always be sure that the tool is switched off and unplugged before attempting to perform inspection or maintenance. Failure to unplug and switch off the tool may result in the accidental start-up of the tool which may result in serious personal injury.
- Always be sure that the blade is sharp and clean for the best and safest performance. Attempting a cut with a dull and /or dirty blade may cause kickback and result in a serious personal injury.
NOTICE:
- Never use gasoline, benzene, thinner, alcohol, or the like. Discoloration, deformation, or cracks may result.
Adjusting the cutting angle
This tool is carefully adjusted and aligned at the factory,
but rough handling may have affected the alignment. If
your tool is not aligned properly, perform the following:
Miter angle

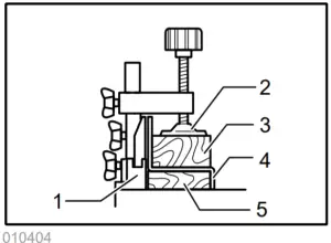
- Guide fence
- Hex bolts
- Grip
Push the carriage toward the guide fence and tighten the locking screw to secure the carriage. Loosen the grip which secures the turn base. Turn the turn base so that the pointer points to 0° on the miter scale. Then turn the turn base slightly clockwise and counterclockwise to seat the turn base in the 0° miter notch. (Leave as it is if the pointer does not point to 0°.) Loosen the hex sockets bolts securing the guide fence using the socket wrench.

- Guide fence
- Triangular rule
Lower the handle fully and lock it in the lowered position by pushing in the stopper pin. Square the side of the blade with the face of the guide fence using a triangular rule, try-square, etc. Then securely tighten the hex socket bolts on the guide fence in order starting from the right side.

- Screw
- Pointer
- Miter scale
Make sure that the pointer points to 0° on the miter scale. If the pointer does not point to 0°, loosen the screw which secures the pointer and adjust the pointer so that it will point to 0°.
Bevel angle
- 0° bevel angle

- Lever
- Arm
Push the carriage toward the guide fence and tighten the locking screw to secure the carriage. Lower the handle fully and lock it in the lowered position by pushing in the stopper pin. Loosen the lever at the rear of the tool.

- 0 ゚ adjusting bolt
- Left 45 ゚ bevel angle adjusting bolt
Turn the hex bolt on the right side of the arm two or three revolutions counterclockwise to tilt the blade to the right.

- Triangular rule
- Saw blade
- The top surface of the turntable
Carefully square the side of the blade with the top surface of the turn base using the triangular rule, try-square, etc. by turning the hex bolt on the right side of the arm clockwise. Then tighten the lever securely.

- Screw
- Pointer
- Bevel scale
Make sure that the pointer on the arm points to 0° on the bevel scale on the arm holder. If they do not point to 0°, loosen the screw which secures the pointer and adjust it so that it will point to 0°.
45° bevel angle

- Right 5 ゚ bevel angle adjusting bolt
- Left 45 ゚ bevel angle adjusting bolt
Adjust the 45° bevel angle only after performing 0° bevel angle adjustment. To adjust left 45° bevel angle, loosen the lever and tilt the blade to the left fully. Make sure that the pointer on the arm points to 45° on the bevel scale on the arm holder. If the pointer does not point to 45°, turn the 45° bevel angle adjusting bolt on the right side of the arm holder until the pointer points to 45°.
To adjust the right 5° bevel angle, perform the same procedure as that described above.
Replacing carbon brushes

Remove and check the carbon brushes regularly.
Replace when they wear down to 3 mm in length. Keep the carbon brushes clean and free to slip in the holders. Both carbon brushes should be replaced at the same time. Use only identical carbon brushes.
Use a screwdriver to remove the brush holder caps.
Take out the worn carbon brushes, insert the new ones, and secure the brush holder caps.

After replacing brushes, plug in the tool and break in brushes by the running tool with no load for about 10minutes. Then check the tool while running an electric brake operation when releasing the switch trigger. If the electric brake is not working correctly, have the tool repaired by a Makita service center
After use
- After use, wipe off chips and dust adhering to the tool with a cloth or the like. Keep the blade guard clean according to the directions in the previously covered section titled “Blade guard”. Lubricate the sliding portions with machine oil to prevent rust.
- When storing the tool, pull the carriage toward you fully. To maintain product SAFETY and RELIABILITY, repairs, any other maintenance or adjustment should be performed by Makita Authorized or Factory Service Centers, always using Makita replacement parts.
OPTIONAL ACCESSORIES
WARNING:
- These Makita accessories or attachments are recommended for use with your Makita tool specified in this manual. The use of any other accessories or attachments may result in serious personal injury.
- Only use the Makita accessory or attachment for its stated purpose. Misuse of an accessory or attachment may result in serious personal injury.
If you need any assistance for more details regarding these accessories, ask your local Makita Service Center.
- Steel & Carbide-tipped saw blades
| Miter saw blades | For smooth and precise cutting in various materials. |
| Combination | General-purpose blade for fast and smooth rip, crosscut, and miters. |
| Crosscutting | For smoother cross-grain cuts. Slices cleanly against the grain. |
| Fine cross cuts | For sand-free cuts cleanly against the grain. |
| Non-ferrous metals miter saw blades | For miters in aluminum, copper, brass, tubing, and other non-ferrous metals. |
- Vertical vise
- Socket wrench with hex wrench on its other end
- Holder
- Dust bag
- Triangular rule
NOTE:
• Some items in the list may be included in the tool package as standard accessories. They may differ from country to country.
MAKITA LIMITED ONE YEAR WARRANTY
Warranty Policy
Every Makita tool is thoroughly inspected and tested before leaving the factory. It is warranted to be free of defects from workmanship and materials for the period of ONE YEAR from the date of original purchase. Should any trouble develop during this one-year period, return the COMPLETE tool, freight prepaid, to one of Makita’s Factory or Authorized Service Centers. If inspection shows the trouble is caused by defective workmanship or material, Makita will repair (or at our option, replace) without charge.
This Warranty does not apply where:
- repairs have been made or attempted by others:
- repairs are required because of normal wear and tear:
- the tool has been abused, misused or improperly maintained:
- alterations have been made to the tool.
IN NO EVENT SHALL MAKITA BE LIABLE FOR ANY INDIRECT, INCIDENTAL, OR CONSEQUENTIAL DAMAGES FROM THE SALE OR USE OF THE PRODUCT. THIS DISCLAIMER APPLIES BOTH DURING AND AFTER THE TERM OF THIS WARRANTY.
MAKITA DISCLAIMS LIABILITY FOR ANY IMPLIED WARRANTIES, INCLUDING IMPLIED WARRANTIES OF “MERCHANTABILITY” AND “FITNESS FOR A SPECIFIC PURPOSE,” AFTER THE ONE-YEAR TERM OF THIS WARRANTY.
This Warranty gives you specific legal rights, and you may also have other rights which vary from state to state. Some states do not allow the exclusion or limitation of incidental or consequential damages, so the above limitation or exclusion may not apply to you. Some states do not allow limitations on how long an implied warranty lasts, so the above limitation may not apply to you.
EN0006-1



















