makita LS1219 Slide Compound Miter Saw

SPECIFICATIONS
| Model: | LS1219 | LS1219L |
| Blade diameter | 305 mm (12″) | |
| Hole diameter | 25.4 mm (1″) | |
| Max. kerf thickness of the saw blade | 3.2 mm (1/8″) | |
| Max. miter angle | Right 60°, Left 60° | |
| Max. bevel angle | Right 48°, Left 48° | |
| No load speed (RPM) | 3,200 /min | |
| Laser type | – | Wavelength 655 nm, Maximum output 1mW (Laser Class II) |
| Dimensions (L x W x H) | 898 mm x 664 mm x 725 mm (35-1/4″ x 26-1/8″ x 28-1/2″) | |
| Net weight | 29.3 kg (64.6 lbs) | 29.5 kg (65.0 lbs) |
Cutting capacities (H x W)
| Miter angle | Bevel angle | ||||
| 45° (left) | 0° | 45° (right) | |||
| 0° | – | 61 mm x 382 mm (2-3/8″ x 15″) 71 mm x 363 mm (2-13/16″ x 14-1/4″) | 92 mm x 382 mm (3-5/8″ x 15″) 107 mm x 363 mm (4-1/4″ x 14-1/4″) | 44 mm x 382 mm (1-3/4″ x 15″) 54 mm x 363 mm (2-1/8″ x 14-1/4″) | |
| Thickness of wood facing on guide fence for increased height of cut | 20 mm (13/16″) | 78 mm × 325 mm (3-1/16″ × 12-3/4″) | 115 mm × 325mm (4-1/2″ × 12-3/4″) | 61 mm × 325 mm (2-3/8″ × 12-3/4″) | |
| 38 mm (1-1/2″) | 80 mm × 292 mm (3-1/8″ × 11-1/2″) | 120 mm × 292 mm (4-3/4″ × 11-1/2″) | – | ||
| 45° (right and left) | – | 61 mm x 268 mm (2-3/8″ x 10-1/2″) 71 mm x 255 mm (2-13/16″ x 10″) | 92 mm x 268 mm (3-5/8″ x 10-1/2″) 107 mm x 255 mm (4-1/4″ x 10″) | 44 mm x 268 mm (1-3/4″ x 10-1/2″) 54 mm x 255 mm (2-1/8″ x 10″) | |
| Thickness of wood facing on guide fence for increased height of cut | 15 mm (9/16″) | – | 115 mm × 227 mm (4-1/2″ × 8-15/16″) | – | |
| 25 mm (1″) | 120 mm × 212 mm (4-3/4″ × 8-3/8″) | ||||
| 60° (right and left) | – | – | 92 mm x 185 mm (3-5/8″ x 7-1/4″) 107 mm x 178 mm (4-1/4″ x 7″) | – | |
| Thickness of wood facing on guide fence for increased height of cut | 15 mm (9/16″) | 115 mm × 155 mm (4-1/2″ × 6-1/8″) | |||
| 25 mm (1″) | 120 mm × 140 mm (4-3/4″ × 5-1/2″) | ||||
Cutting capacities for special cuttings
| Type of cutting | Cutting capacity |
| Crown molding 45° type (with crown molding stopper used) | 203 mm (8″) |
| Base board (with horizontal vise used) | 171 mm (6-3/4″) |
- Due to our continuing program of research and development, the specifications herein are subject to change without notice.
- Specifications may differ from country to country.
- Weight according to EPTA-Procedure 01/2014
SAFETY WARNINGS
General power tool safety warnings
WARNING:
Read all safety warnings, instructions, illustrations and specifications provided with this power tool. Failure to follow all instructions listed below may result in electric shock, fire and/or serious injury.
Save all warnings and instructions for future reference.
The term “power tool” in the warnings refers to your mains-operated (corded) power tool or BATTERY operated (cordless) power tool.
Work area safety
- Keep work area clean and well lit. Cluttered or dark areas invite accidents.
- Do not operate power tools in explosive atmospheres, such as in the presence of flammable liquids, gases or dust. Power tools create sparks which may ignite the dust or fumes.
- Keep children and bystanders away while operating a power tool. Distractions can cause you to lose control.
Electrical Safety
- Power tool plugs must match the outlet. Never modify the plug in any way. Do not use any adapter plugs with earthed (grounded) power tools. Unmodified plugs and matching outlets will reduce risk of electric shock.
- Avoid body contact with earthed or grounded surfaces, such as pipes, radiators, ranges and refrigerators. There is an increased risk of elec-tric shock if your body is earthed or grounded.
- Do not expose power tools to rain or wet con-ditions. Water entering a power tool will increase the risk of electric shock.
- Do not abuse the cord. Never use the cord for carrying, pulling or unplugging the power tool. Keep cord away from heat, oil, sharp edges or moving parts. Damaged or entangled cords increase the risk of electric shock.
- When operating a power tool outdoors, use an extension cord suitable for outdoor use. Use of a cord suitable for outdoor use reduces the risk of electric shock.
- If operating a power tool in a damp location is unavoidable, use a Residual Current Device
(RCD) protected supply. Use of an RCD reduces the risk of electric shock. - Power tools can produce electromagnetic fields (EMF) that are not harmful to the user. However, users of pacemakers and other similar medical devices should contact the maker of their device and/or doctor for advice before operating this power tool.
- Do not touch the power plug with wet hands.
- If the cord is damaged, have it replaced by the manufacturer or his agent in order to avoid a safety hazard.
Personal Safety
- Stay alert, watch what you are doing and use common sense when operating a power tool. Do not use a power tool while you are tired or under the influence of drugs, alcohol or medication. A moment of inattention while operating power tools may result in serious personal injury.
- Use personal protective equipment. Always wear eye protection. Protective equipment such as dust mask, non-skid safety shoes, hard hat, or hearing protection used for appropriate conditions will reduce personal injuries.
- Prevent unintentional starting. Ensure the switch is in the off-position before connecting to power source and/or BATTERY pack, pick-ing up or carrying the tool. Carrying power tools with your finger on the switch or energizing power tools that have the switch on invites accidents.
- Remove any adjusting key or wrench before turning the power tool on. A wrench or a key left attached to a rotating part of the power tool may result in personal injury.
- Do not overreach. Keep proper footing and balance at all times. This enables better control of the power tool in unexpected situations.
- Dress properly. Do not wear loose clothing or jewellery. Keep your hair, clothing and gloves away from moving parts. Loose clothes, jewel-lery or long hair can be caught in moving parts.
- If devices are provided for the connection of dust extraction and collection facilities, ensure these are connected and properly used. Use of dust collection can reduce dust-related hazards.
- Do not let familiarity gained from frequent use of tools allow you to become complacent and ignore tool safety principles. A careless action can cause severe injury within a fraction of a second.
- Always wear protective goggles to protect your eyes from injury when using power tools. The goggles must comply with ANSI Z87.1 in the USA.
It is an employer’s responsibility to enforce the use of appropriate safety protective equipments by the tool operators and by other per-sons in the immediate working area.
Power tool use and care
- Do not force the power tool. Use the correct power tool for your application. The correct power tool will do the job better and safer at the rate for which it was designed.
- Do not use the power tool if the switch does not turn it on and off. Any power tool that cannot be controlled with the switch is dangerous and must be repaired.
- Disconnect the plug from the power source and/or remove the BATTERY pack, if detachable, from the power tool before making any adjustments, changing accessories, or storing power tools. Such preventive safety measures reduce the risk of starting the power tool accidentally.
- Store idle power tools out of the reach of children and do not allow persons unfamiliar with the power tool or these instructions to operate the power tool. Power tools are dangerous in the hands of untrained users.
- Maintain power tools and accessories. Check for misalignment or binding of moving parts, break-age of parts and any other condition that may affect the power tool’s operation. If damaged, have the power tool repaired before use. Many accidents are caused by poorly maintained power tools.
- Keep cutting tools sharp and clean. Properly maintained cutting tools with sharp cutting edges are less likely to bind and are easier to control.
- Use the power tool, accessories and tool bits etc. in accordance with these instructions, tak-ing into account the working conditions and the work to be performed. Use of the power tool for operations different from those intended could result in a hazardous situation.
- Keep handles and grasping surfaces dry, clean and free from oil and grease. Slippery handles and grasping surfaces do not allow for safe handling and control of the tool in unexpected situations.
- When using the tool, do not wear cloth work gloves which may be entangled. The entangle-ment of cloth work gloves in the moving parts may result in personal injury.
Service
- Have your power tool serviced by a qualified repair person using only identical replacement parts. This will ensure that the safety of the power tool is maintained.
- Follow instruction for lubricating and changing accessories.
Additional instructions
- To reduce the risk of electric shock, this equipment has a polarized plug (one blade is wider than the other). This plug will fit in a polarized outlet only one way. If the plug does not fit fully in the outlet, reverse the plug. If it still does not fit, contact a qualified electrician to install the proper outlet. Do not change the plug in any way.
- VOLTAGE WARNING: Before connecting the tool to a power source (receptacle, outlet, etc.) be sure the voltage supplied is the same as that specified on the nameplate of the tool. A power source with voltage greater than that specified for the tool can result in SERIOUS INJURY to the user- as well as damage to the tool. If in doubt, DO NOT PLUG IN THE TOOL. Using a power source with voltage less than the nameplate rating is harmful to the motor.
- USE PROPER EXTENSION CORD. Make sure your extension cord is in good condition. When using an extension cord, be sure to use one heavy enough to carry the current your product will draw. An undersized cord will cause a drop in line voltage resulting in loss of power and overheating. Table 1 shows the correct size to use depending on cord length and nameplate ampere rating. If in doubt, use the next heavier gage. The smaller the gage number, the heavier the cord.
Ampere Rating Volts Total length of cord in feet 120V 25 ft. 50 ft. 100 ft. 150 ft. More Than Not More Than AWG 0 6 – 18 16 16 14 6 10 18 16 14 12 10 12 16 16 14 12 12 16 14 12 Not Recommended
Safety instructions for mitre saws
- Mitre saws are intended to cut wood or wood-like products, they cannot be used with abrasive cut-off wheels for cutting ferrous material such as bars, rods, studs, etc. Abrasive dust causes moving parts such as the lower guard to jam. Sparks from abrasive cutting will burn the lower guard, the kerf insert and other plastic parts.
- Use clamps to support the workpiece when-ever possible. If supporting the workpiece
by hand, you must always keep your hand at least 100 mm from either side of the saw blade. Do not use this saw to cut pieces that are too small to be securely clamped or held by hand. If your hand is placed too close to the saw blade, there is an increased risk of injury from blade contact. - The workpiece must be stationary and clamped or held against both the fence and the table. Do not feed the workpiece into the blade or cut “freehand” in any way. Unrestrained
or moving workpieces could be thrown at high speeds, causing injury. - Push the saw through the workpiece. Do not pull the saw through the workpiece. To make a cut, raise the saw head and pull it out over the workpiece without cutting, start the motor, press the saw head down and push the saw through the workpiece. Cutting on the pull stroke is likely to cause the saw blade to climb on top of the workpiece and violently throw the blade assembly towards the operator.
- Never cross your hand over the intended line of cutting either in front or behind the saw blade. Supporting the workpiece “cross handed”
i. e. holding the workpiece to the right of the saw blade with your left hand or vice versa is very dangerous.
- Do not reach behind the fence with either hand closer than 100 mm from either side of the saw blade, to remove wood scraps, or for any other reason while the blade is spinning. The proximity of the spinning saw blade to your hand may not be obvious and you may be seriously injured.
- Inspect your workpiece before cutting. If the workpiece is bowed or warped, clamp it with the outside bowed face toward the fence. Always make certain that there is no gap between the workpiece, fence and table along the line of the cut. Bent or warped workpieces can twist or shift and may cause binding on the spinning saw blade while cutting. There should be no nails or foreign objects in the workpiece.
- Do not use the saw until the table is clear of all tools, wood scraps, etc., except for the work-piece. Small debris or loose pieces of wood or other objects that contact the revolving blade can be thrown with high speed.
- Cut only one workpiece at a time. Stacked multiple workpieces cannot be adequately clamped or braced and may bind on the blade or shift during cutting.
- Ensure the mitre saw is mounted or placed on a level, firm work surface before use. A level and firm work surface reduces the risk of the mitre saw becoming unstable.
- Plan your work. Every time you change the bevel or mitre angle setting, make sure the adjustable fence is set correctly to support the workpiece and will not interfere with the blade or the guarding system. Without turning the tool “ON” and with no workpiece on the table, move the saw blade through a complete simulated cut to assure there will be no interference or danger of cutting the fence.
- Provide adequate support such as table extensions, saw horses, etc. for a workpiece that is wider or longer than the table top. Workpieces longer or wider than the mitre saw table can tip if not securely supported. If the cut-off piece or workpiece tips, it can lift the lower guard or be thrown by the spinning blade.
- Do not use another person as a substitute for a table extension or as additional support. Unstable support for the workpiece can cause the blade to bind or the workpiece to shift during the cutting operation pulling you and the helper into the spinning blade.
- The cut-off piece must not be jammed or pressed by any means against the spinning saw blade. If confined, i.e. using length stops, the cut-off piece could get wedged against the blade and thrown violently.
- Always use a clamp or a fixture designed to properly support round material such as rods or tubing. Rods have a tendency to roll while being cut, causing the blade to “bite” and pull the work with your hand into the blade.
- Let the blade reach full speed before contact-ing the workpiece. This will reduce the risk of the workpiece being thrown.
- If the workpiece or blade becomes jammed, turn the mitre saw off. Wait for all moving parts to stop and disconnect the plug from the power source and/or remove the battery pack. Then work to free the jammed material. Continued sawing with a jammed workpiece could cause loss of control or damage to the mitre saw.
- After finishing the cut, release the switch, hold the saw head down and wait for the blade to stop before removing the cut-off piece. Reaching with your hand near the coasting blade is dangerous.
- Hold the handle firmly when making an incomplete cut or when releasing the switch before the saw head is completely in the down position. The braking action of the saw may cause the saw head to be suddenly pulled downward, causing a risk of injury.
- Only use the saw blade with the diameter that is marked on the tool or specified in the man-ual. Use of an incorrectly sized blade may affect the proper guarding of the blade or guard operation which could result in serious personal injury.
- Only use the saw blades that are marked with a speed equal or higher than the speed marked on the tool.
- Always select the correct saw blade for the material to be cut. Do not use the saw blade to cut materials other than those specified.
- The saw can cut wood, aluminum or similar materials, when using a saw blade appropriate for the material. Do not use the saw to cut the other material, including magnesium, steel and iron.
Additional instructions
- Make workshop kid proof with padlocks.
- Never stand on the tool. Serious injury could occur if the tool is tipped or if the cutting tool is unintentionally contacted.
- Never leave the tool running unattended. Turn the power off. Do not leave tool until it comes to a complete stop.
- Do not operate saw without guards in place. Check blade guard for proper closing before each use. Do not operate saw if blade guard does not move freely and close instantly. Never clamp or tie the blade guard into the open position.
- Keep hands out of path of saw blade. Avoid contact with any coasting blade. It can still cause severe injury.
- To reduce the risk of injury, return carriage to the full rear position after each crosscut operation.
- Always secure all moving portions before carrying the tool.
- Stopper pin which locks the cutter head down is for carrying and storage purposes only and not for any cutting operations.
- Check the blade carefully for cracks or dam-age before operation. Replace cracked or dam-aged blade immediately. Gum and wood pitch hardened on blades slows saw and increases potential for kickback. Keep blade clean by first removing it from tool, then cleaning it with gum and pitch remover, hot water or kerosene. Never use gasoline to clean blade.
- While making a slide cut, KICKBACK can occur. KICKBACK occurs when the blade binds in the workpiece during a cutting operation and the saw blade is driven rapidly towards the operator. Loss of control and serious personal injury can result. If blade begins to bind during a cutting operation, do not continue to cut and release switch immediately.
- Use only flanges specified for this tool.
- Be careful not to damage the arbor, flanges (especially the installing surface) or bolt. Damage to these parts could result in blade breakage.
- Make sure that the turn base is properly secured so it will not move during operation. Use the holes in the base to fasten the saw to a stable work platform or bench. NEVER use tool where operator positioning would be awkward.
- Make sure the shaft lock is released before the switch is turned on.
- Be sure that the blade does not contact the turn base in the lowest position.
- Hold the handle firmly. Be aware that the saw moves up or down slightly during start-up and stopping.
- Make sure the blade is not contacting the workpiece before the switch is turned on.
- Before using the tool on an actual workpiece, let it run for a while. Watch for vibration or wobbling that could indicate poor installation or a poorly balanced blade.
- Stop operation immediately if you notice any-thing abnormal.
- Do not attempt to lock the trigger in the “ON” position.
- Always use accessories recommended in this manual. Use of improper accessories such as abrasive wheels may cause an injury.
- Some material contains chemicals which may be toxic. Take caution to prevent dust inhalation and skin contact. Follow material supplier safety data.
Additional safety rules for the laser
- LASER RADIATION DO NOT STARE INTO BEAM.
- AVOID EXPOSURE – LASER RADIATION IS EMITTED FROM APERTURE.
- USE OF CONTROLS OR ADJUSTMENTS OR PERFORMANCE OF PROCEDURES OTHER THAN THOSE SPECIFIED HEREIN MAY RESULT IN HAZARDOUS RADIATION EXPOSURE.

Symbols
The followings show the symbols used for tool.
PARTS DESCRIPTION

| 1 | Slide pole | 2 | Stopper pin (for carriage sliding) | 3 | Vertical vise | 4 | Releasing button (for right side bevel angle) |
| 5 | Holder | 6 | Turn base | 7 | Pointer (for miter angle) | 8 | Miter angle scale |
| 9 | Kerf board | 10 | Blade case | 11 | Adjusting screw (for laser line) | 12 | Range adjustment screw (for laser line) |
| 13 | Blade guard | 14 | Knob (for bevel angle) | 15 | Hex wrench | 16 | Adjusting screw (for lower limit position) |
| 17 | Adjusting bolt (for maxi- mum cutting capacity) | 18 | Stopper arm | 19 | Lock lever (for turn base) | 20 | Releasing lever (for turn base) |
| 21 | Grip (for turn base) | – | – | – | – | – | – |

| 1 | Switch trigger | 2 | Lock-off button | 3 | Hole for padlock | 4 | Switch (for laser line) |
| 5 | Hose (for dust extraction) | 6 | Stopper pin (for carriage elevation) | 7 | Guide fence (lower fence) | 8 | Guide fence (upper fence) |
| 9 | Dust bag | 10 | 0° adjusting bolt (for bevel angle) | 11 | Bevel angle scale | 12 | Releasing lever (for 48° bevel angle) |
| 13 | Latch lever (for bevel angle) | 14 | Pointer (for bevel angle) | 15 | 45° adjusting bolt (for bevel angle) | – | – |
INSTALLATION
Installing the grip
Screw the threaded shaft of the grip into the turn base.
- Grip
- Turn base

Installing the dust extraction hose
Connect the dust extraction hose to the tool as illustrated.
Make sure that the elbow and the sleeve fit properly to the ports of the tool.
- Dust extraction hose
- Elbow
- Sleeve
- Port

Bench mounting
When the tool is shipped, the handle is locked in the lowered position by the stopper pin. While lowering the handle slightly, pull the stopper pin and rotate it 90°.
- Locked position
- Unlocked position
- Stopper pin

This tool should be bolted with four bolts to a level and stable surface using the bolt holes provided in the tool’s base. This will help prevent tipping and possible injury.
- Bolt

WARNING: Ensure that the tool will not move on the supporting surface. Movement of the miter saw on the supporting surface while cutting may result in loss of control and serious personal injury.
FUNCTIONAL DESCRIPTION
WARNING:
Always be sure that the tool is switched off and unplugged before adjusting or checking function on the tool. Failure to switch off and unplug the tool may result in serious personal injury from accidental start-up.
Blade guard
- Blade guard

- When lowering the handle, the blade guard rises automatically. The guard is spring loaded so it returns to its original position when the cut is completed and the handle is raised.
WARNING: Never defeat or remove the blade guard or the spring which attaches to the guard. An exposed blade as a result of defeated guarding may result in serious personal injury during operation. - In the interest of your personal safety, always maintain the blade guard in good condition. Any irregular opera-tion of the blade guard should be corrected immediately. Check to assure spring loaded return action of guard.
WARNING: Never use the tool if the blade guard or spring are damaged, faulty or removed. Operation of the tool with a damaged, faulty or removed guard may result in serious personal injury. - If the see-through blade guard becomes dirty, or saw-dust adheres to it in such a way that the blade and/or workpiece is no longer easily visible, unplug the saw and clean the guard carefully with a damp cloth. Do not use solvents or any petroleum-based cleaners on the plastic guard because this may cause damage to the guard.
- If the blade guard is especially dirty and vision through the guard is impaired, unplug the tool and use the sup-plied wrench to loosen the hex bolt holding the center cover. Loosen the hex bolt by turning it counterclockwise and raise the blade guard and center cover. With the blade guard so positioned, cleaning can be more completely and efficiently accomplished.
- When cleaning is complete, reverse procedure above and secure bolt. Do not remove spring holding blade guard. If guard becomes discolored through age or UV light exposure, contact a Makita service center for a new guard. DO NOT DEFEAT OR REMOVE GUARD.
- Center cover
- Hex wrench
- Blade guard

Kerf boards
This tool is provided with the kerf boards in the turn base to minimize tearing on the exit side of a cut. The kerf boards are factory adjusted so that the saw blade does not contact the kerf boards. Before use, adjust the kerf boards as follows:
- Kerf board

- Left bevel cut
- Straight cut
- Right bevel cut
- Saw blade
- Blade teeth
- Kerf board

First, unplug the tool. Loosen all the screws (2 each on left and right) securing the kerf boards until the kerf boards can still be easily moved by hand. Lower the handle fully, then pull and turn the stopper pin to lock the handle in the lowered position. Release the stopper pin on the sliding pole and pull the carriage toward you fully. Adjust the kerf boards so that the kerf boards just contact the sides of the blade teeth. Tighten the front screws (do not tighten firmly). Push the carriage toward the guide fence fully and adjust the kerf boards so that the kerf boards just contact the sides of blade teeth. Tighten the rear screws (do not tighten firmly).
After adjusting the kerf boards, release the stopper pin and raise the handle. Then tighten all the screws securely.
NOTICE: After setting the bevel angle ensure that the kerf boards are adjusted properly. Correct adjustment of the kerf boards will help provide proper support of the workpiece minimizing workpiece tear out.
Maintaining maximum cutting capacity
- This tool is factory adjusted to provide the maximum cutting capacity for a 305 mm (12″) saw blade.
- When installing a new blade, always check the lower limit position of the blade and if necessary, adjust it as follows:
- First, unplug the tool. Turn the stopper lever to engaged position.
- Stopper lever

- Push the carriage toward the guide fence fully and lower the handle completely.
- Adjust the blade position by turning the adjusting bolt with the hex wrench.
- The periphery of the blade should extend slightly below the top surface of the turn base and also comes to the point where the front face of the guide fence meets the top surface of the turn base.
- Adjusting bolt

- Top surface of turn base
- Periphery of blade
- Guide fence

With the tool unplugged, rotate the blade by hand while holding the handle all the way down to be sure that the blade does not contact any part of the lower base. Re-adjust slightly, if necessary.
After adjustment, always return the stopper lever to the original position.
WARNING: After installing a new blade and with the tool unplugged, always be sure that the blade does not contact any part of the lower base when the handle is lowered completely. If a blade makes contact with the base it may cause kickback and result in serious personal injury.
Stopper arm
The lower limit position of the blade can be easily adjusted with the stopper arm. To adjust it, turn the stopper arm in the direction of the arrow as shown in the figure. Turn the adjusting screw so that the blade stops at the desired position when lowering the handle fully.
- Stopper arm
- Adjusting screw

Adjusting the miter angle
CAUTION: After changing the miter angle, always secure the turn base by tightening the grip firmly.
NOTICE: When turning the turn base, be sure to raise the handle fully.
- Lock lever
- Grip
- Releasing lever
- Pointer

Rotate the grip counterclockwise to unlock the turn base. Turn the grip while holding down the lock lever to move the turn base. Align the pointer with your desired angle on the scale then tighten the grip.
NOTE: If you depress the releasing lever, you can move the turn base without holding down the lock lever. Tighten the grip at your desired position.
This miter saw employs positive stop function. You can set 0°, 15°, 22.5°, 31.6°, 45°, and 60° right/left miter angle quickly. To use this function, move the turn base close to your desired positive stop angle while holding down the lock lever. Then release the lock lever and move the turn base forward until the turn base is locked.
Adjusting the bevel angle
NOTICE:
- Always remove the upper guide fences and vertical vise before adjusting the bevel angle.
- When changing bevel angles, be sure to position the kerf boards appropriately as explained in the “Kerf boards” section.
- When tilting the saw blade, be sure to raise the handle fully.
- Do not tighten the knob too hard. Doing so may cause malfunction of the locking mechanism of the bevel angle.
- Turn the knob on the slide pole counterclockwise.
- Knob

- Knob
- Pull and turn the latch lever to the position as illustrated.
- Latch lever

- Latch lever
- Match the pointer with your desired angle on the scale by moving the carriage then tighten the knob.
- Bevel angle scale
- Pointer

To tilt the carriage to the right, tilt the carriage to the left slightly and then tilt it to the right while pressing down the releasing button.
- Releasing button

If you perform a bevel cut greater than 45°, move the carriage while sliding the releasing lever toward the front of the tool. You can perform up to 48° bevel cut.
- Releasing lever

This miter saw employs positive stop function. You can set 22.5° and 33.9° angle to both right and left quickly. Set the latch lever in the position as illustrated and tilt the carriage. To change the angle, pull the latch lever and tilt the carriage.
- Latch lever

CAUTION: After changing the bevel angle, always secure the knob.
Slide lock
To lock the sliding movement of the carriage, push the carriage toward the guide fence until it stops. Pull the stopper pin and rotate it 90°.
- Unlocked position
- Locked position
- Stopper pin

Switch action
WARNING:
- Before plugging in the tool, always check to see that the switch trigger actuates properly and returns to the “OFF” position when released. Do not pull the switch trigger hard without pressing in the lock-off button. This can cause switch breakage. Operating a tool with a switch that does not actuate properly can lead to loss of control and serious personal injury.
- NEVER use tool without a fully operative switch trigger. Any tool with an inoperative switch is HIGHLY DANGEROUS and must be repaired before further usage or serious personal injury may occur.
- NEVER defeat the lock-off button by taping down or some other means. A switch with a negated lock-off button may result in unintentional operation and serious personal injury.
- NEVER use the tool if it runs when you simply pull the switch trigger without pressing the lock-off button. A switch in need of repair may result in unintentional operation and serious personal injury. Return tool to a Makita service center for proper repairs BEFORE further usage.
- Switch trigger
- Lock-off button
- Hole for padlock

To prevent the switch trigger from being accidentally pulled, a lock-off button is provided. To start the tool, press in the lock-off button and pull the switch trigger. Release the switch trigger to stop.
A hole is provided in the switch trigger for insertion of a padlock to lock the tool off.
WARNING:
Do not use a lock with a shank or cable any smaller than 6.35 mm (1/4″) in diameter. A smaller shank or cable may not properly lock the tool in the off position and unintentional operation may occur resulting in serious personal injury.
Electric brake
This tool is equipped with an electric blade brake. If the tool consistently fails to quickly stop the blade after the switch trigger is released, have the tool serviced at a Makita service center.
CAUTION:
The blade brake system is not a substitute for the blade guard. Never use tool without a functioning blade guard. An unguarded blade may result in serious personal injury.
Electronic function
Constant speed control
The tool is provided with an electronic speed control which helps maintain a constant blade rotation speed even under load. A constant blade rotation speed will result in a very smooth cut.
Soft start feature
This function allows the smooth start-up of the tool by limiting the start-up torque.
Laser beam action
For model LS1219L only
CAUTION: Never look into the laser beam. Direct laser beam may injure your eyes.
To turn on the laser beam, press the upper position (I) of the switch. To turn off the laser beam, press the lower position (0) of the switch.
- Switch for laser

Laser line can be shifted to either the left or right side of the saw blade by turning the adjusting screw as follows.
- Adjusting screw

- Loosen the adjusting screw by turning it counterclockwise.
- With the adjusting screw loosened, slide the adjusting screw to the right or left as far as it goes.
- Tighten the adjusting screw firmly at the position where it stops sliding.
NOTE: Laser line is factory adjusted so that it is positioned within 1 mm (0.04″) from the side surface of the blade (cutting position).
NOTE: When laser line appears dim and hard to see because of direct sunlight, relocate the work area to a place where there is less direct sunlight.
Aligning the laser line
Align the cutting line on your workpiece with the laser line.
- A) When you want to obtain the correct size on the left side of workpiece, shift the laser line to the left of the blade.
- B) When you want to obtain the correct size on the right side of workpiece, shift the laser line to the right of the blade.

NOTE: Use wood facing against the guide fence when aligning the cutting line with the laser line at the side of guide fence in compound cutting (bevel angle 45° and miter angle right 45°).
ASSEMBLY
WARNING:
Always be sure that the tool is switched off and unplugged before working on the tool. Failure to switch off and unplug the tool may result in serious personal injury.
Hex wrench storage
When not in use, store the hex wrench as shown in the figure to keep it from being lost.
- Hex wrench

Removing and installing saw blade
WARNING:
- Always be sure that the tool is switched off and unplugged before installing or removing the blade. Accidental start up of the tool may result in serious personal injury.
- Use only the Makita wrench pro-vided to install or remove the blade. Failure to use the wrench may result in overtightening or insufficient tightening of the hex socket bolt and serious personal injury.
Always lock the carriage with raised position when removing and installing the blade. Pull the stopper pin and rotate it 90° with the carriage raised.
- Unlocked position
- Locked position
- Stopper pin

Removing the blade
Loosen the hex bolt holding the center cover using the hex wrench. Raise the blade guard and center cover.
- Center cover
- Hex wrench
- Blade guard

Press the shaft lock to lock the spindle and use the hex wrench to loosen the hex socket bolt. Then remove the hex socket bolt, outer flange and blade.
- Shaft lock
- Hex wrench
- Hex socket bolt (left-handed)
- Loosen
- Tighten

Installing the blade
Mount the blade carefully onto the spindle, making sure that the direction of the arrow on the surface of the blade matches the direction of the arrow on the blade case.
- Arrow on the blade case
- Arrow on the blade

Install the outer flange and hex socket bolt. Tighten the hex socket bolt counterclockwise using the hex wrench while pressing the shaft lock.
- Hex socket bolt
- Outer flange
- Saw blade
- Inner flange
- Spindle
- Ring

NOTICE:
If the inner flange is removed, be sure to install it on the spindle with its protrusion facing away from the blade. If the flange is installed incorrectly, the flange will rub against the machine.
Return the blade guard and center cover to its original position. Then tighten the hex bolt clockwise to secure the center cover. Unlock the stopper pin to release carriage from the raised position. Lower the handle to make sure that the blade guard moves properly. Make sure shaft lock has released spindle before making cut.
WARNING:
Before mounting the blade onto the spindle, always be sure that the correct ring for the blade’s arbor hole you intend to use is installed between the inner and the outer flanges. Use of the incorrect arbor hole ring may result in the improper mounting of the blade causing blade move-ment and severe vibration resulting in possible loss of control during operation and in serious personal injury.
Connecting a vacuum cleaner
When you wish to perform clean cutting operation, connect a Makita vacuum cleaner to the dust nozzle using a front cuff 24 (optional accessory).
- Front cuff 24
- Hose
- Vacuum cleaner

Dust bag
The use of the dust bag makes cutting operations clean and dust collection easy. To attach the dust bag, remove the dust extraction hose on the tool and connect the dust bag.
- Dust extraction hose
- Dust bag

When the dust bag is about half full, remove the dust bag from the tool and pull the fastener out. Empty the dust bag of its contents, tapping it lightly so as to remove particles adhering to the insides which might hamper further collection.
- Fastener

Securing workpiece
WARNING:
- It is extremely important to always secure the workpiece correctly with the proper type of vise or crown molding stoppers. Failure to do so may result in serious personal injury and cause damage to the tool and/or the workpiece.
- After a cutting operation do not raise the blade until it has come to a complete stop. The raising of a coasting blade may result in serious personal injury and damage to the workpiece.
- When cutting a workpiece that is longer than the support base of the saw, the material should be supported the entire length beyond the support base and at the same height to keep the material level.
Proper workpiece support will help avoid blade pinch and possible kickback which may result in serious personal injury. Do not rely solely on the vertical vise and/or horizontal vise to secure the workpiece. Thin material tends to sag. Support workpiece over its entire length to avoid blade pinch and possible KICKBACK.
- Support
- Turn base

Guide fences
WARNING: Before operating the tool, make sure that the upper fence is secured firmly.
WARNING: Before bevel-cutting, make sure that no part of the tool, especially the blade, contacts the upper and lower fences when fully lowering and raising the handle in any position and while moving the carriage through its full range of travel. If the tool or blade makes contact with
the fence this may result in kickback or unexpected movement of the material and serious personal injury.
Use upper fences to support the material higher than the lower fences. Insert the upper fence into the hole on the lower fence and tighten the clamping screw.
- Upper fence
- Lower fence
- Clamping screw
- Adjusting screw

NOTICE: The lower fences are fixed to the base in the factory. Do not remove the lower fences.
NOTICE: If the upper fence is still loose after tightening the clamping screw, turn the adjusting screw to close a gap. The adjusting screw is factory adjusted. You don’t need to use it unless needed.
You can store the upper fences onto the holder when not in use. Use the clip on the upper fence to hold it on the holder.
- Holder
- Upper fence
- Clip

Vertical vise
WARNING: The workpiece must be secured firmly against the turn base and guide fence with the vise during all operations. If the workpiece is not properly secured against the fence the material may move during the cutting operation causing possible damage to the blade, causing the material to be thrown and loss of control resulting in serious personal injury.
- Vise arm
- Vise rod
- Clamping screw
- Vise knob

The vertical vise can be installed in two positions on either the left or right side of the base. Insert the vise rod into the hole in the base.
Position the vise arm according to the thickness and shape of the workpiece and secure the vise arm by tightening the screw. If the clamping screw contacts the carriage, install it on the opposite side of vise arm. Make sure that no part of the tool contacts the vise when lowering the handle all the way. If some part contacts the vise, re-position the vise.
Press the workpiece flat against the guide fence and the turn base. Position the workpiece at the desired cutting position and secure it firmly by tightening the vise knob.
NOTE:
For a quick setting of workpiece, turning the vise knob to 90° counterclockwise allows the vise knob to be moved up and down. To secure the work-piece after setting, turn the vise knob clockwise.
Horizontal vise
Optional accessory
WARNING: Always rotate the vise nut clock-wise until the workpiece is properly secured. If the workpiece is not properly secured the material may move during the cutting operation causing possible damage to the blade, causing the material to be thrown and loss of control resulting in serious personal injury.
WARNING: When cutting a thin workpiece, such as base boards, against the fence, always use the horizontal vise.
CAUTION: When cutting the workpiece of the thickness 20 mm (13/16″) or thinner, make sure to use a spacer block to secure the workpiece.
The horizontal vise can be installed in two positions on either the left or right side of the base. When performing 22.5° or greater miter cuts, install the horizontal vise on the side opposite the direction in which the turn base is to be turned.
- Vise plate
- Vise nut
- Vise knob

By flipping the vise nut counterclockwise, the vise is released, and rapidly moves in and out. To grip the workpiece, push the vise knob forward until the vise plate contacts the workpiece and flip the vise nut clock-wise. Then turn the vise knob clockwise to secure the workpiece.
NOTE: The maximum width of workpiece which can be secured by the horizontal vise is 228 mm (9″).
Holders
WARNING:
Always support a long workpiece so it is level with the top surface of the turn base for an accurate cut and to prevent dangerous loss of tool control. Proper workpiece support will help avoid blade pinch and possible kickback which may result in serious personal injury.
To hold long workpieces horizontally, holders are pro-vided on both sides of the tool. Loosen the screws and extend the holders to the appropriate length for holding the workpiece. Then tighten the screws.
- Holder
- Screw

OPERATION
WARNING:
- Make sure the blade is not contacting the workpiece, etc. before the switch is turned on. Turning the tool on with the blade in contact with the workpiece may result in kickback and serious personal injury.
- After a cutting operation, do not raise the blade until it has come to a complete stop. The raising of a coasting blade may result in serious personal injury and damage to the workpiece.
- Do not perform any adjustment such as turning grip, knob, and levers on the tool while the blade is rotating. Adjustment while the blade is rotating may result in serious personal injury.
NOTICE:
- Before use, be sure to unlock the stop-per pin and release the handle from the lowered position.
- Do not apply excessive pressure on the handle when cutting. Too much force may result in overload of the motor and/or decreased cutting efficiency. Press down handle with only as much force as necessary for smooth cutting and without significant decrease in blade speed.
- Gently press down the handle to per-form the cut. If the handle is pressed down with force or if lateral force is applied, the blade may vibrate and leave a mark (saw mark) in the workpiece and the precision of the cut may be impaired.
- During a slide cut, gently push the carriage toward the guide fence without stopping. If the carriage movement is stopped during the cut, a mark will be left in the workpiece and the precision of the cut will be impaired.
Press cutting
WARNING: Always lock the sliding movement of the carriage when performing a press cutting. Cutting without lock may cause possible kickback which may result in serious personal injury.
Workpieces up to 92 mm (3-5/8″) high and 183 mm (7-1/4″) wide can be cut in the following manner.
- Stopper pin

- Push the carriage toward the guide fence until it stops and lock it with the stopper pin.
- Secure the workpiece with the proper type of vise.
- Switch on the tool without the blade making any contact and wait until the blade attains full speed before lowering.
- Gently lower the handle to the fully lowered position to cut the workpiece.
- When the cut is completed, switch off the tool and wait until the blade has come to a complete stop before returning the blade to its fully elevated position.
Slide (push) cutting (cutting wide workpieces)
WARNING: Whenever performing a slide cut, first pull the carriage full towards you and press the handle all the way down, then push the car-riage toward the guide fence. Never start the cut with the carriage not pulled fully toward you. If you perform the slide cut without the carriage pulled fully toward you unexpected kickback may occur and serious personal injury may result.
WARNING: Never attempt to perform a slide cut by pulling the carriage towards you. Pulling the carriage towards you while cutting may cause unexpected kickback resulting in possible serious personal injury.
WARNING: Never perform the slide cut with the handle locked in the lowered position.
- Stopper pin

- Unlock the stopper pin so that the carriage can slide freely.
- Secure the workpiece with the proper type of vise.
- Pull the carriage toward you fully.
- Switch on the tool without the blade making any contact and wait until the blade attains full speed.
- Press the handle down and push the carriage toward the guide fence and through the workpiece.
- When the cut is completed, switch off the tool and wait until the blade has come to a complete stop before returning the blade to its fully elevated position.
Miter cutting
Refer to the previously covered “Adjusting the miter angle”.
Bevel cut
WARNING:
- After setting the blade for a bevel cut, ensure that the carriage and blade will have free travel throughout the entire range of the intended cut before operating the tool. Interruption of the carriage or blade travel during the cutting oper-ation may result in kickback and serious personal injury.
- While making a bevel cut keep hands out of the path of the blade. The angle of the blade may confuse the operator as to the actual blade path while cutting and contact with the blade will result in serious personal injury
- The blade should not be raised until it has come to a complete stop. During a bevel cut the piece cut off may come to rest against the blade. If the blade is raised while it is rotating the cut-off piece maybe ejected by the blade causing the material to fragment which may result in serious personal injury.
NOTICE: When pressing down the handle, apply pressure in parallel with the blade. If a force is applied perpendicularly to the turn base or if the pres-sure direction is changed during a cut, the precision of the cut will be impaired.
- Remove the upper fence on the side that you are going to tilt the carriage.
- Unlock the stopper pin.
- Adjust the bevel angle according to the procedure explained in the “Adjusting the bevel angle” section. Then tighten the knob.
- Secure the workpiece with a vise.
- Pull the carriage toward you fully.
- Switch on the tool without the blade making any contact and wait until the blade attains full speed.
- Gently lower the handle to the fully lowered position while applying pressure in parallel with the blade and push the carriage toward the guide fence to cut the workpiece.
- When the cut is completed, switch off the tool and wait until the blade has come to a complete stop before returning the blade to its fully elevated position.
Compound cutting
Compound cutting is the process in which a bevel angle is made at the same time in which a miter angle is being cut on a workpiece. Compound cutting can be performed at the angle shown in the table.
| Miter angle | Bevel angle |
| Left and Right 0° – 45° | Left and Right 0° – 45° |
When performing compound cutting, refer to “Press cut-ting”, “Slide (push) cutting”, “Miter cutting” and “Bevel cut” explanations
Cutting base boards
CAUTION: Make sure to use the horizontal vise (optional accessory) when cutting the base board.
CAUTION: When cutting the workpiece of the thickness 20 mm (13/16″) or thinner, make sure to use a spacer block to secure the workpiece.
When cutting the base board in 45° miter angle, engage the stopper lever to prevent the blade case from con-tacting the base board. This will keep the clearance between the base board and the blade case when the carriage is fully pushed forward.
Refer to the SPECIFICATIONS for base board cutting capacity.
- Stopper lever
- Spacer block
- Horizontal vise

Cutting crown and cove moldings
Crown and cove moldings can be cut on a compound miter saw with the moldings laid flat on the turn base. There are two common types of crown moldings and one type of cove moldings; 52/38° wall angle crown molding, 45° wall angle crown molding and 45° wall angle cove molding.
- 52/38° type crown molding
- 45° type crown molding
- 45° type cove molding

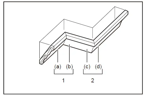
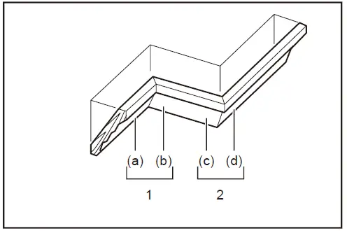
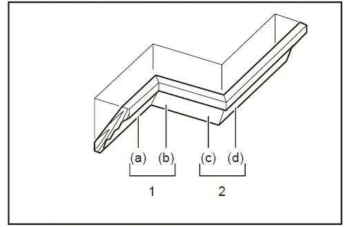
There are crown and cove molding joints which are made to fit “Inside” 90° corners ((a) and (b) in the figure) and “Outside” 90° corners ((c) and (d) in the figure.)
- Inside corner
- Outside corner

- Inside corner
- Outside corner

Measuring
Measure the wall width, and adjust the width of the workpiece according to it. Always make sure that width of the workpiece’s wall contact edge is the same as wall length.
- Workpiece
- Wall width
- Width of the work-piece
- Wall contact edge

Always use several pieces for test cuts to check the saw angles.
When cutting crown and cove moldings, set the bevel angle and miter angle as indicated in the table (A) and position the moldings on the top surface of the saw base as indicated in the table (B).
In the case of left bevel cut
- Inside corner
- Outside corner

| – | Molding position in the figure | Bevel angle | Miter angle | ||
| 52/38° type | 45° type | 52/38° type | 45° type | ||
| For inside corner | (a) | Left 33.9° | Left 30° | Right 31.6° | Right 35.3° |
| (b) | Left 31.6° | Left 35.3° | |||
| For outside corner | (c) | ||||
| (d) | Right 31.6° | Right 35.3° | |||
| – | Molding position in the figure | Molding edge against guide fence | Finished piece |
| For inside corner | (a) | Ceiling contact edge should be against guide fence. | Finished piece will be on the Left side of blade. |
| (b) | Wall contact edge should be against guide fence. | ||
| For outside corner | (c) | Finished piece will be on the Right side of blade. | |
| (d) | Ceiling contact edge should be against guide fence. |
Example:
In the case of cutting 52/38° type crown molding for position (a) in the above figure:
- Tilt and secure bevel angle setting to 33.9° LEFT.
- Adjust and secure miter angle setting to 31.6° RIGHT.
- Lay crown molding with its broad back (hidden) surface down on the turn base with its CEILING CONTACT EDGE against the guide fence on the saw.
- The finished piece to be used will always be on the LEFT side of the blade after the cut has been made.
In the case of right bevel cut
- Inside corner
- Outside corner

| – | Molding position in the figure | Bevel angle | Miter angle | ||
| 52/38° type | 45° type | 52/38° type | 45° type | ||
| For inside corner | (a) | Right 33.9° | Right 30° | Right 31.6° | Right 35.3° |
| (b) | Left 31.6° | Left 35.3° | |||
| For outside corner | (c) | ||||
| (d) | Right 31.6° | Right 35.3° | |||
| – | Molding position in the figure | Molding edge against guide fence | Finished piece |
| For inside corner | (a) | Wall contact edge should be against guide fence. | Finished piece will be on the Right side of blade. |
| (b) | Ceiling contact edge should be against guide fence. | ||
| For outside corner | (c) | Finished piece will be on the Left side of blade. | |
| (d) | Wall contact edge should be against guide fence. |
Example:
In the case of cutting 52/38° type crown molding for position (a) in the above figure:
- Tilt and secure bevel angle setting to 33.9° RIGHT.
- Adjust and secure miter angle setting to 31.6° RIGHT.
- Lay crown molding with its broad back (hidden) surface down on the turn base with its WALL CONTACT EDGE against the guide fence on the saw.
- The finished piece to be used will always be on the RIGHT side of the blade after the cut has been made.
Miter and Bevel Angle Settings
Wall to Crown Molding Angle: 52°/38°
| 1 | 2 | 3 |
| 60 | 43.0 | 46.8 |
| 61 | 42.8 | 46.3 |
| 62 | 42.5 | 45.7 |
| 63 | 42.2 | 45.1 |
| 64 | 41.9 | 44.6 |
| 65 | 41.7 | 44.0 |
| 66 | 41.4 | 43.5 |
| 67 | 41.1 | 42.9 |
| 68 | 40.8 | 42.4 |
| 69 | 40.5 | 41.9 |
| 70 | 40.2 | 41.3 |
| 71 | 39.9 | 40.8 |
| 72 | 39.6 | 40.3 |
| 73 | 39.3 | 39.8 |
| 74 | 39.0 | 39.2 |
| 75 | 38.7 | 38.7 |
| 76 | 38.4 | 38.2 |
| 77 | 38.1 | 37.7 |
| 78 | 37.8 | 37.2 |
| 79 | 37.4 | 36.8 |
| 80 | 37.1 | 36.3 |
| 81 | 36.8 | 35.8 |
| 82 | 36.5 | 35.3 |
| 83 | 36.2 | 34.8 |
| 84 | 35.8 | 34.4 |
| 85 | 35.5 | 33.9 |
| 86 | 35.2 | 33.4 |
| 87 | 34.9 | 33.0 |
| 88 | 34.5 | 32.5 |
| 89 | 34.2 | 32.1 |
| 90 | 33.9 | 31.6 |
| 91 | 33.5 | 31.2 |
| 92 | 33.2 | 30.7 |
| 93 | 32.8 | 30.3 |
| 94 | 32.5 | 29.9 |
| 95 | 32.2 | 29.4 |
| 96 | 31.8 | 29.0 |
| 97 | 31.5 | 28.6 |
| 98 | 31.1 | 28.2 |
| 99 | 30.8 | 27.7 |
| 100 | 30.4 | 27.3 |
| 1 | 2 | 3 |
| 101 | 30.1 | 26.9 |
| 102 | 29.7 | 26.5 |
| 103 | 29.4 | 26.1 |
| 104 | 29.0 | 25.7 |
| 105 | 28.7 | 25.3 |
| 106 | 28.3 | 24.9 |
| 107 | 28.0 | 24.5 |
| 108 | 27.6 | 24.1 |
| 109 | 27.2 | 23.7 |
| 110 | 26.9 | 23.3 |
| 111 | 26.5 | 22.9 |
| 112 | 26.1 | 22.6 |
| 113 | 25.8 | 22.2 |
| 114 | 25.4 | 21.8 |
| 115 | 25.0 | 21.4 |
| 116 | 24.7 | 21.0 |
| 117 | 24.3 | 20.7 |
| 118 | 23.9 | 20.3 |
| 119 | 23.6 | 19.9 |
| 120 | 23.2 | 19.6 |
| 121 | 22.8 | 19.2 |
| 122 | 22.5 | 18.8 |
| 123 | 22.1 | 18.5 |
| 124 | 21.7 | 18.1 |
| 125 | 21.3 | 17.8 |
| 126 | 21.0 | 17.4 |
| 127 | 20.6 | 17.1 |
| 128 | 20.2 | 16.7 |
| 129 | 19.8 | 16.4 |
| 130 | 19.5 | 16.0 |
| 131 | 19.1 | 15.7 |
| 132 | 18.7 | 15.3 |
| 133 | 18.3 | 15.0 |
| 134 | 17.9 | 14.6 |
| 135 | 17.6 | 14.3 |
| 136 | 17.2 | 14.0 |
| 137 | 16.8 | 13.6 |
| 138 | 16.4 | 13.3 |
| 139 | 16.0 | 13.0 |
| 1 | 2 | 3 |
| 141 | 15.3 | 12.3 |
| 142 | 14.9 | 12.0 |
| 143 | 14.5 | 11.6 |
| 144 | 14.1 | 11.3 |
| 145 | 13.7 | 11.0 |
| 146 | 13.3 | 10.7 |
| 147 | 12.9 | 10.3 |
| 148 | 12.5 | 10.0 |
| 149 | 12.2 | 9.7 |
| 150 | 11.8 | 9.4 |
| 151 | 11.4 | 9.0 |
| 152 | 11.0 | 8.7 |
| 153 | 10.8 | 8.4 |
| 154 | 10.2 | 8.1 |
| 155 | 9.8 | 7.8 |
| 156 | 9.4 | 7.5 |
| 157 | 9.0 | 7.1 |
| 158 | 8.6 | 6.8 |
| 159 | 8.3 | 6.5 |
| 160 | 7.9 | 6.2 |
| 161 | 7.5 | 5.9 |
| 162 | 7.1 | 5.6 |
| 163 | 6.7 | 5.3 |
| 164 | 6.3 | 4.9 |
| 165 | 5.9 | 4.6 |
| 166 | 5.5 | 4.3 |
| 167 | 5.1 | 4.0 |
| 168 | 4.7 | 3.7 |
| 169 | 4.3 | 3.4 |
| 170 | 3.9 | 3.1 |
| 171 | 3.5 | 2.8 |
| 172 | 3.2 | 2.5 |
| 173 | 2.8 | 2.2 |
| 174 | 2.4 | 1.8 |
| 175 | 2.0 | 1.5 |
| 176 | 1.6 | 1.2 |
| 177 | 1.2 | 0.9 |
| 178 | 0.8 | 0.6 |
| 179 | 0.4 | 0.3 |
| 180 | 0.0 | 0.0 |
A Ceiling side B Wall side
- Wall Angle (deg.)
- Bevel Angle (deg.)
- Miter Angle (deg.)
Wall to Crown Molding Angle: 45°
| 1 | 2 | 3 |
| 60 | 37.8 | 50.8 |
| 61 | 37.5 | 50.2 |
| 62 | 37.3 | 49.6 |
| 63 | 37.1 | 49.1 |
| 64 | 36.8 | 48.5 |
| 65 | 36.6 | 48.0 |
| 66 | 36.4 | 47.4 |
| 67 | 36.1 | 46.9 |
| 68 | 35.9 | 46.4 |
| 69 | 35.6 | 45.8 |
| 70 | 35.4 | 45.3 |
| 71 | 35.1 | 44.8 |
| 72 | 34.9 | 44.2 |
| 73 | 34.6 | 43.7 |
| 74 | 34.4 | 43.2 |
| 75 | 34.1 | 42.7 |
| 76 | 33.9 | 42.1 |
| 77 | 33.6 | 41.6 |
| 78 | 33.3 | 41.1 |
| 79 | 33.1 | 40.6 |
| 80 | 32.8 | 40.1 |
| 81 | 32.5 | 39.6 |
| 82 | 32.3 | 39.1 |
| 83 | 32.0 | 38.6 |
| 84 | 31.7 | 38.1 |
| 85 | 31.4 | 37.7 |
| 86 | 31.1 | 37.2 |
| 87 | 30.9 | 36.7 |
| 88 | 30.6 | 36.2 |
| 89 | 30.3 | 35.7 |
| 90 | 30.0 | 35.3 |
| 91 | 29.7 | 34.8 |
| 92 | 29.4 | 34.3 |
| 93 | 29.1 | 33.9 |
| 94 | 28.8 | 33.4 |
| 95 | 28.5 | 32.9 |
| 96 | 28.2 | 32.5 |
| 97 | 27.9 | 32.0 |
| 98 | 27.6 | 31.6 |
| 99 | 27.3 | 31.1 |
| 100 | 27.0 | 30.7 |
| 1 | 2 | 3 |
| 101 | 26.7 | 30.2 |
| 102 | 26.4 | 29.8 |
| 103 | 26.1 | 29.4 |
| 104 | 25.8 | 28.9 |
| 105 | 25.5 | 28.5 |
| 106 | 25.2 | 28.1 |
| 107 | 24.9 | 27.6 |
| 108 | 24.6 | 27.2 |
| 109 | 24.2 | 26.8 |
| 110 | 23.9 | 26.3 |
| 111 | 23.6 | 25.9 |
| 112 | 23.3 | 25.5 |
| 113 | 23.0 | 25.1 |
| 114 | 22.7 | 24.7 |
| 115 | 22.3 | 24.3 |
| 116 | 22.0 | 23.8 |
| 117 | 21.7 | 23.4 |
| 118 | 21.4 | 23.0 |
| 119 | 21.0 | 22.6 |
| 120 | 20.7 | 22.2 |
| 121 | 20.4 | 21.8 |
| 122 | 20.0 | 21.4 |
| 123 | 19.7 | 21.0 |
| 124 | 19.4 | 20.6 |
| 125 | 19.1 | 20.2 |
| 126 | 18.7 | 19.8 |
| 127 | 18.4 | 19.4 |
| 128 | 18.1 | 19.0 |
| 129 | 17.7 | 18.6 |
| 130 | 17.4 | 18.2 |
| 131 | 17.1 | 17.9 |
| 132 | 16.7 | 17.5 |
| 133 | 16.4 | 17.1 |
| 134 | 16.0 | 16.7 |
| 135 | 15.7 | 16.3 |
| 136 | 15.4 | 15.9 |
| 137 | 15.0 | 15.6 |
| 138 | 14.7 | 15.2 |
| 139 | 14.3 | 14.8 |
| 140 | 14.0 | 14.4 |
| 1 | 2 | 3 |
| 141 | 13.7 | 14.1 |
| 142 | 13.3 | 13.7 |
| 143 | 13.0 | 13.3 |
| 144 | 12.6 | 12.9 |
| 145 | 12.3 | 12.6 |
| 146 | 11.9 | 12.2 |
| 147 | 11.6 | 11.8 |
| 148 | 11.2 | 11.5 |
| 149 | 10.9 | 11.1 |
| 150 | 10.5 | 10.7 |
| 151 | 10.2 | 10.4 |
| 152 | 9.8 | 10.0 |
| 153 | 9.5 | 9.6 |
| 154 | 9.2 | 9.3 |
| 155 | 8.8 | 8.9 |
| 156 | 8.5 | 8.5 |
| 157 | 8.1 | 8.2 |
| 158 | 7.8 | 7.8 |
| 159 | 7.4 | 7.5 |
| 160 | 7.1 | 7.1 |
| 161 | 6.7 | 6.7 |
| 162 | 6.4 | 6.4 |
| 163 | 6.0 | 6.0 |
| 164 | 5.6 | 5.7 |
| 165 | 5.3 | 5.3 |
| 166 | 4.9 | 5.0 |
| 167 | 4.6 | 4.6 |
| 168 | 4.2 | 4.3 |
| 169 | 3.9 | 3.9 |
| 170 | 3.5 | 3.5 |
| 171 | 3.2 | 3.2 |
| 172 | 2.8 | 2.8 |
| 173 | 2.5 | 2.5 |
| 174 | 2.1 | 2.1 |
| 175 | 1.8 | 1.8 |
| 176 | 1.4 | 1.4 |
| 177 | 1.1 | 1.1 |
| 178 | 0.7 | 0.7 |
| 179 | 0.4 | 0.4 |
| 180 | 0.0 | 0.0 |
A Ceiling side B Wall side
- Wall Angle (deg.)
- Bevel Angle (deg.)
- Miter Angle (deg.)
Crown molding stopper
Optional accessory
Crown molding stoppers allow easier cuts of crown molding without tilting the saw blade. Install them on the turn base as shown in the figures.
At right 45° miter angle
- Crown molding stopper L
- Crown molding stop-per R
- Turn base
- Guide fence

At left 45° miter angle
- Crown molding stopper L
- Crown molding stop-per R
- Turn base
- Guide fence

Position crown molding with its WALL CONTACT EDGE against the guide fence and its CEILING CONTACT EDGE against the crown molding stoppers as shown in the figure. Adjust the crown molding stoppers according to the size of the crown molding. Tighten the screws to secure the crown molding stoppers. Refer to the table (C) for the miter angle.
- Guide fence
- Crown molding stopper

- Inside corner
- Outside corner

| – | Molding position in the figure | Miter angle | Finished piece |
| For inside corner | (a) | Right 45° | Save the right side of blade |
| (b) | Left 45° | Save the left side of blade | |
| For outside corner | (c) | Save the right side of blade | |
| (d) | Right 45° | Save the left side of blade |
Cutting aluminum extrusion
- Vise
- Spacer block
- Guide fence
- Aluminum extrusion
- Spacer block

When securing aluminum extrusions, use spacer blocks or pieces of scrap as shown in the figure to prevent deformation of the aluminum. Use a cutting lubricant when cutting the aluminum extrusion to prevent build-up of the aluminum material on the blade.
WARNING: Never attempt to cut thick or round aluminum extrusions. Thick or round aluminum extrusions can be difficult to secure and the work may loosen during the cutting operation which may result in loss of control and serious personal injury.
Wood facing
WARNING: Use screws to attach the wood facing to the guide fence. The screws should be installed so that the screw heads are below the surface of the wood facing so that they will not interfere with the positioning of the material being cut. Misalignment of the material being cut can case unexpected movement during the cutting operation which may result in a loss of control and serious personal injury.
CAUTION: Use straight wood of even thick-ness for the wood facing.
CAUTION:
In order to completely cut through workpieces with a height of 107 mm to 120 mm (4-1/4″ to 4-3/4″), a wood facing should be used on the guide fence. The wood facing will space the workpiece away from the fence allowing the blade to complete a deeper cut.
NOTICE: When the wood facing is attached, do not turn the turn base with the handle lowered. The blade and/or the wood facing will be damaged.
Use of wood facing helps to assure splinter-free cuts in workpieces. Attach a wood facing to the guide fence using the holes in the guide fence and 6 mm (1/4″) screws.
See the figure concerning the dimensions for a suggested wood facing.
- Hole
- Over 15 mm (9/16″)
- Over 270 mm (10-5/8″)
- 90 mm (3-1/2″)
- 145 mm (5-3/4″)
- 19 mm (3/4″)
- 115 – 120 mm (4-1/2″ – 4-3/4″)

EXAMPLE When cutting workpieces 115 mm (4-1/2″) and 120 mm (4-3/4″) high, use a wood facing with the following thickness.
| Miter angle | Thickness of wood facing | |
| 115 mm (4-1/2″) | 120 mm (4-3/4″) | |
| 0° | 20 mm (13/16″) | 38 mm (1-1/2″) |
| Left and Right 45° | 15 mm (9/16″) | 25 mm (1″) |
| Left and Right 60° | 15 mm (9/16″) | 25 mm (1″) |
Groove cutting
WARNING: Do not attempt to perform this type of cut by using a wider type blade or dado blade. Attempting to make a groove cut with a wider blade or dado blade could lead to unexpected cutting results and kickback which may result in serious personal injury.
WARNING: Be sure to return the stopper arm to the original position when performing other than groove cutting. Attempting to make cuts with the stopper arm in the incorrect position could lead to unexpected cutting results and kickback which may result in serious personal injury.
For a dado type cut, perform as follows:
- Adjust the lower limit position of the blade using the adjusting screw and the stopper arm to limit the cut-ting depth of the blade. Refer to “Stopper arm” section described on previously.
- After adjusting the lower limit position of the blade, cut parallel grooves across the width of the workpiece using a slide (push) cut.
- Cut grooves with blade

- Remove the workpiece material between the grooves with a chisel.
Special Max Width Cutting Capacities Technique
The maximum width cutting capacity of this tool can be achieved by following the steps below:
For the maximum cutting width of this tool refer to the SPECIFICATIONS under “Cutting capacities for special cuttings”.
- Set the tool at 0° or 45° miter angle and make sure that the turn base is locked. (Refer to the section titled “Adjusting the miter angle”.)
- Remove both right and left upper fences temporarily and set aside.
- Cut a platform to the dimensions indicated in the figure using a 38 mm (1-1/2″) thick, flat stock material such as wood, plywood or particle board.
- 0° Miter angle: Over 450 mm (17-3/4″)
- 45° Miter angle: Over 325 mm (12-3/4″)
- 38 mm (1-1/2″) 4. Over 760 mm (30″)
WARNING: Be sure to use flat stock as a platform. Stock that is not flat may move during the cutting operation which may result in kickback and serious personal injury.
NOTE: The maximum cutting capacity in height will be reduced by the same amount as the platform thickness.
- Place the platform on the tool so that it extends equally over each side of the tool base.
Secure the platform to the tool using four 6 mm (1/4″) wood screws through four holes in the lower fences.- Screws (two each side)
- Lower fence
- Base
- Platform
WARNING: Make sure that the platform is laying flat against the tool base and secured firmly to the lower fences using the four screw holes provided. Failure to properly secure the platform may result in movement and possible kickback resulting in serious personal injury.
WARNING: Ensure that the tool is firmly mounted to a stable and flat surface. Failure to properly mount and secure the tool could cause the tool to be unstable resulting in a loss of control and/or the tool falling which may result in serious personal injury.
- Install both the upper fences on the tool.
WARNING: Do not use the tool without upper fences installed. The upper fences provide the adequate support required to cut the workpiece.
If the workpiece is not supported properly, it may move resulting in possible loss of control, kickback and serious personal injury. - Place the workpiece to be cut on the platform secured to the tool.
- Secure the workpiece firmly against the upper fences with a vise before cutting.
- Upper fence
- Vertical vise
- Workpiece
- Platform

- Make a cut through the workpiece slowly according to the operation titled “Slide (push) cutting (cutting wide workpieces).”
WARNING: Ensure that the workpiece is secured with the vise and make the cut slowly. Failure to do so may cause the workpiece to move resulting in possible kickback and serious personal injury.
WARNING: Be aware that the platform may become weakened after several cuts are per-formed at various miter angles. If the platform becomes weakened due to the multiple kerf cuts left in the material, the platform should be replaced. If the weakened platform is not replaced, it may cause the workpiece to move, during cutting, resulting in possible kickback and serious personal injury.
Carrying tool
Before carrying, make sure to unplug and all movable parts of the miter saw are secured. Always check the following:
- The tool is unplugged.
- The carriage is at 0° bevel angle position and secured.
- The carriage is lowered and locked.
- The carriage is fully slid to the guide fence and locked.
- The turn base is at the full right miter angle position and secured.
- The holders are stored and secured.
Carry the tool by holding both sides of the tool base as shown in the figure.
WARNING:
Stopper pin for carriage elevation is for carrying and storage purposes only and not for any cutting operations. The use of the stopper pin for cutting operations may cause unexpected movement of the saw blade resulting in kickback and serious personal injury.
CAUTION:
Always secure all moving portions before carrying the tool. If portions of the tool move or slide while being carried, loss of control or balance may occur and result in personal injury.
MAINTENANCE
WARNING: Always be sure that the tool is switched off and unplugged before attempting to perform inspection or maintenance. Failure to unplug and switch off the tool may result in accidental start up of the tool which may result in serious personal injury.
WARNING: Always be sure that the blade is sharp and clean for the best and safest performance. Attempting a cut with a dull and /or dirty blade may cause kickback and result in a serious personal injury.
NOTICE: Never use gasoline, benzine, thinner, alcohol or the like. Discoloration, deformation or cracks may result.
Adjusting the cutting angle
This tool is carefully adjusted and aligned at the factory, but rough handling may have affected the alignment. If your tool is not aligned properly, perform the following:
Miter angle
Lower the handle fully and lock it in the lowered position by the stopper pin. Push the carriage toward the guide fence. Loosen the grip and the screws which secure the pointer and miter angle scale.
- Screw on pointer
- Screws on miter angle scale
- Miter scale

Set the turn base to the 0° position using the positive stop function. Square the side of the blade with the face of the guide fence using a triangular rule or try-square. While keeping the square, tighten the screws on the miter angle scale. After that, align the pointers (both right and left) with the 0° position in the miter angle scale and then tighten the screw on the pointer.
- Triangular rule

Bevel angle
0° bevel angle
Push the carriage toward the guide fence and lock the sliding movement by the stopper pin. Lower the handle fully and lock it in the lowered position by the stopper pin and then loosen the knob. Turn the 0° adjusting bolt two or three revolutions counterclockwise to tilt the blade to the right.
- 0° Adjusting bolt
- Screw

Carefully square the side of the blade with the top surface of the turn base using the triangular rule, try-square, etc. by turning the 0° adjusting bolt clockwise. Then tighten the knob firmly to secure the 0° angle you have set.
- Triangular rule
- Saw blade
- Top surface of turn base

Check if the side of the blade squares with the turn base surface once again. Loosen the screw on the pointer. Align the pointer with 0° position in the bevel angle scale and then tighten the screw.
45° bevel angle
NOTICE: Before adjusting the 45° bevel angle, finish 0° bevel angle adjustment.
Loosen the knob and fully tilt the carriage to the side that you want to check. Check if the pointer indicates the 45° position in the bevel angle scale.
If the pointer does not indicate the 45° position, align it with 45° position by turning the adjusting bolt on the opposite side of the bevel angle scale.
- Left 45° adjusting bolt
- Right 45° adjusting bolt

Adjusting the laser line position
For model LS1219L only
WARNING:
The tool must be plugged in while adjusting the laser line. Take extra care not to switch on the tool during adjustment. Accidental start up of the tool may result in serious personal injury.
CAUTION: Never look directly into the laser beam. Direct eye exposure to the beam could cause serious damage to your eyes.
NOTICE:
- Check the position of laser line regularly for accuracy.
- Beware that impacts to the tool. It may cause the laser line to be misaligned or may cause damage to the laser, shortening its life.
- Have the tool repaired by a Makita authorized service center for any failure on the laser unit.
The movable range of laser line is decided by the range adjustment screws on both sides. Perform following procedures to alter the laser line position.
- Unplug the tool.
- Draw a cutting line on the workpiece and place it on the turn base. At this time, do not secure the work-piece with a vise or similar securing device.
- Lower the handle and align the cutting line with the saw blade.
- Return the handle to the original position and secure the workpiece with the vertical vise so that the workpiece does not move from the position you have determined.
- Plug in the tool and turn on the laser switch.
- Loosen the adjusting screw. To move the laser line away from the blade, turn the range adjustment screws counterclockwise. To move the laser line close to the blade, turn the range adjustment screw clockwise.
Adjusting the laser line on the left side of the blade
- Adjusting screw
- Range adjustment screw
- Hex wrench
- Laser line
- Saw blade

Adjusting the laser line on the right side of the blade
- Adjusting screw
- Range adjustment screw
- Hex wrench
- Laser line
- Saw blade

- Slide the adjusting screw to the position that the laser line comes onto the cutting line and then tighten.
NOTE: The movable range of laser line is factory adjusted within 1 mm (0.04″) from the side surface of blade.
Cleaning the laser light lens
For model LS1219L only
The laser light becomes hard to see as the lens for the laser light gets dirty. Clean the lens for laser light periodically.
- Screw
- Lens

Unplug the tool. Loosen the screw and pull out the lens. Clean the lens gently with a damp soft cloth.
NOTICE: Do not remove the screw which secures the lens. If the lens does not come out, loosen the screw further.
NOTICE: Do not use solvents or any petroleum-based cleaners on the lens.
Replacing carbon brushes
- Limit mark

Remove and check the carbon brushes regularly. Replace when they wear down to the limit mark. Keep the carbon brushes clean and free to slip in the holders. Both carbon brushes should be replaced at the same time. Use only identical carbon brushes.
Use a screwdriver to remove the brush holder caps. Take out the worn carbon brushes, insert the new ones and secure the brush holder caps.
- Brush holder cap

After replacing brushes, plug in the tool and break in brushes by running tool with no load for about 10 minutes. Then check the tool while running and electric brake operation when releasing the switch trigger. If the electric brake is not working correctly, have the tool repaired by a Makita service center.
After use
After use, wipe off chips and dust adhering to the tool with a cloth or the like. Keep the blade guard clean according to the directions in the previously covered section titled “Blade guard”. Lubricate the sliding por-tions with machine oil to prevent rust.
To maintain product SAFETY and RELIABILITY, repairs, any other maintenance or adjustment should be performed by Makita Authorized or Factory Service Centers, always using Makita replacement parts.
OPTIONAL ACCESSORIES
WARNING:
These Makita accessories or attachments are recommended for use with your Makita tool specified in this manual. The use of any other accessories or attachments may result in serious personal injury.
WARNING:
Only use the Makita accessory or attachment for its stated purpose. Misuse of an accessory or attachment may result in serious personal injury.
If you need any assistance for more details regard-ing these accessories, ask your local Makita Service Center.
- Steel & Carbide-tipped saw blades
- Vertical vise
- Horizontal vise
- Crown molding stopper set
- Dust bag
- Triangular rule
- Hex wrench
- Hex wrench (for LS1219L)
NOTE: Some items in the list may be included in the tool package as standard accessories. They may differ from country to country.
MAKITA LIMITED WARRANTY
Please refer to the annexed warranty sheet for the most current warranty terms applicable to this product. If annexed warranty sheet is not available, refer to the warranty details set forth at below website for your respective country.
United States of America: www.makitatools.com
Canada: www.makita.ca
Other countries: www.makita.com

























































WARNING: Be sure to use flat stock as a platform. Stock that is not flat may move during the cutting operation which may result in kickback and serious personal injury.
WARNING: Make sure that the platform is laying flat against the tool base and secured firmly to the lower fences using the four screw holes provided. Failure to properly secure the platform may result in movement and possible kickback resulting in serious personal injury.




























