SBi AC01213 Fire Screen Door

Application
This fire screen door allows you to use a fireplace insert with the door open, safely+
The fire screen must be securely attached to the appliance to prevent sparks from damaging the flooring. When the fire screen is used, never leave the appliance unattended so you can react promptly in the event of a smoke return into the room.
The use of a fire screen increases the chances of generating carbon monoxide. Carbon monoxide is an odorless gas that is highly toxic and can cause death when in high concentrations in the air. The installation of a CO detector is strongly recommended.
Kit Contents

Required Tool

Installation Instructions
Never leave the insert unattended while in use with the fire screen.
Do not use the blower with the fire screen installed. May cause smoke spillage.
Do not use the fire screen with a offset liner adaptor.
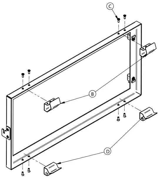
Door Handle on the Right
- For a heater with the door handle on the right, install the door lock (A) with two screws (C) as shown in the image below.

- Install the hooks (B) on the top of the door frame and the hooks (D) on the bottom of the door frame with the screws (C) provided.

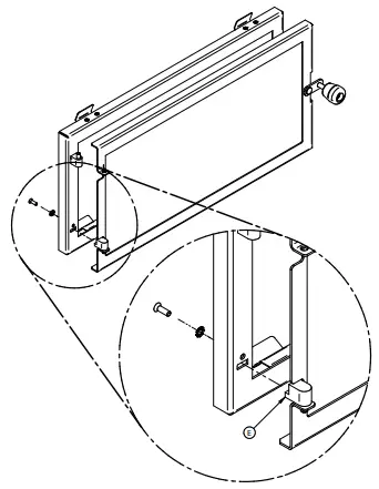
- Install the fire screen door on the frame. Unscrew the hinges (E) from the frame and reinstall them with the door as shown in the image below.

- Open the door and bring the fire screen close to the door opening.
- Lean the upper part of the fire screen against the top door opening making sure to insert the top fire screen bracket between the air deflector and the fireplace front.

- Lift the fire screen upwards and push the bottom part towards the fireplace then let the fire screen rest on the bottom of the door opening.

Door Handle on the Left
- For a heater with the door handle on the left, install the door lock with two screws upside down of step A of section 4.1.

- Follow steps B to F of section 4.1 to finish installing the fire screen, but with the door handle and the lock on the left side.
SBI ACCESSOIRES DE CHAUFFAGE
255 rue De Copenhague
Saint-Augustin-de-Desmaures
Québec, Canada
G3A 2H3
418-908-8002

























