CD RDS RECEIVER
DEH-S120UB
DEH-S120UBA
DEH-S121UB
DEH-S12UB
Quick start guide
This guide is intended to guide you through the basic functions of this unit.
For details, please refer to the Operation manual stored on the website. https://www.pioneer-car.eu/eur/
Before You Start
Thank you for purchasing this PIONEER product
To ensure proper use, please read through this guide before using this product. It is especially important that you read and observe WARNINGS and CAUTIONS in this guide. Please keep the guide in a safe and accessible place for future reference.
If you want to dispose this product, do not mix it with general household waste. There is a separate collection system for used electronic products in accordance with legislation that requires proper treatment, recovery and recycling.
Private households in the member states of the EU, in Switzerland and Norway may return their used electronic products free of charge to designated collection facilities or to a retailer (if you purchase a similar new one).
For countries not mentioned above, please contact your local authorities for the correct method of disposal.
By doing so you will ensure that your disposed product undergoes the necessary treatment, recovery and recycling and thus prevent potential negative effects on the environment and human health.
WARNING
- Do not attempt to install or service this product by yourself. Installation or servicing of this product by persons without training and experience in electronic equipment and automotive accessories may be dangerous and could expose you to the risk of electric shock, injury or other hazards.
- Do not attempt to operate the unit while driving. Make sure to pull off the road and park your vehicle in a safe location before attempting to use the controls on the device.
CAUTION
- Do not allow this unit to come into contact with moisture and/or liquids. Electrical shock could result. Also, damage to this unit, smoke, and overheating could result from contact with liquids.
- Always keep the volume low enough to hear outside sounds.
- The Pioneer CarStereo-Pass is for use only in Germany.
- This product is evaluated in moderate and tropical climate condition under the Audio, video and similar electronic apparatus – Safety requirements, IEC 60065.
CAUTION
This product is a Class 1 laser product classified under the safety standard, IEC 60825-1:2014.
If you experience problems Should this unit fail to work property, please contact your dealer or nearest authorized PIONEER Service Station.
Important
- When installing this unit in a vehicle without an ACC (accessory) position on the ignition switch, failure to connect the red cable to the terminal that detects operation of the ignition key may result in battery drain.

- Use of this unit in conditions other than the following could result in fire or malfunction.
-Vehicles with a 12-volt battery and negative grounding.
– When speaker output is used by 4 channels, use speakers over 50 W (maximum input power) and between 40 to 80 (impedance value). Do not use 1 0 to 3 0 speakers for this unit.
– When rear speaker output is used by 2 f2 of subwoofer, use speakers over 70 W (maximum input power). Please refer to connections for a connection method. - To prevent a short-circuit, overheating or malfunction, be sure to follow the directions below.
-Disconnect the negative terminal of the battery before installation.
-Secure the wiring with cable clamps or adhesive tape. Wrap adhesive tape around wiring that comes into contact with metal parts to protect the wiring.
-Place all cables away from moving parts, such as the shift lever and seat rails.
-Place all cables away from hot places, such as near the heater outlet.
-Do not connect the yellow cable to the battery by passing it through the hole to the engine compartment.
– Cover any disconnected cable connectors with insulating tape.
-Do not shorten any cables.
-Never cut the insulation of the power cable of this unit in order to share the power with other devices. The current capacity of the cable is limited.
-Use a fuse of the rating prescribed. – Never wire the negative speaker cable directly
to ground. -Never band together negative cables of multiple speakers. - When this unit is on, control signals are sent through the blue/white cable. Connect this cable to the system remote control of an external power amp or the vehicle’s auto-antenna relay control terminal (max. 300mA 12 V DC). If the vehicle is equipped with a glass antenna, connect it to the antenna booster power supply terminal.
- Never connect the blue/white cable to the power terminal of an external power amp. Also, never connect it to the power terminal of the auto antenna. Doing so may result in battery drain or a malfunction.
- The black cable is ground. Ground cables for this unit and other equipment (especially, high-current products such as power amps) must be wired separately. If they are not, an accidental detachment may result in a fire or malfunction.
- The graphical
symbol placed on the product means direct current. - The function and audio settings other than the setting of RCA pre-outs are stored in memory if the unit is disconnected from power supply.
This unit
- Power cord input
- Rear output or subwoofer output
- Antenna input
- Fuse (10 A) ()
- Wired remote input Hard-wired remote control adapter can be connected (sold separately).
Power cord

- To power cord input
- Depending on the kind of vehicle, the function of C) and ® may be different. In this case, be sure to connect to 05 and 0 to ®.
- Yellow Back-up (or accessory)
- Yellow Connect to the constant 12 V supply terminal.
- Red Accessory (or back-up)
- Red Connect to terminal controlled by the ignition switch (12 V DC).
- Connect leads of the same colour to each other.
- Black (chassis ground)
- Blue/white The pin position of the ISO connector will differ depending on the type of vehicle. Connect ® and ()when Pin 5 is an antenna control type. In another type of vehicle, never connect ® and 0. Blue/white Connect to the system control terminal of the power amp (max. 300 mA 12 V DC).
- Blue/white Connect to the auto-antenna relay control terminal (max. 300 mA 12 V DC).
- Yellow/black If you use equipment with a Mute function, wire this lead to the Audio Mute lead on that equipment. If not keep the Audio Mute lead free of any connections.
- Speaker leads White: Front left
White/black: Front left e Gray: Front right ® Gray/black: Front right e Green: Rear left Q+ or subwoofer Green/black: Rear left or subwoofer® Violet: Rear right C) or subwoofer ® Violet/black: Rear right o or subwoofer ulso connector In some vehicles, the ISO connector may be divided into two. In this case, be sure to connect to both connectors.
NOTES
- Change the initial menu of this unit. Refer to [SP-P/0 MODE]. The subwoofer output of this unit is monaural.
- When using a subwoofer of 2 a be sure to connect the subwoofer to the violet and violet/ black leads of this unit. Do not connect anything to the green and green/black leads.
Power amp (sold separately)
Perform these connections when using the optional amplifier.

- System remote control Connect to blue/white cable.
- Power amp (sold separately)
- Connect with RCA cables (sold separately)
- To rear output or subwoofer output
- Rear speaker or subwoofer
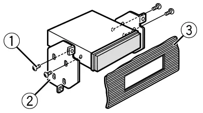
Installation
Important
- Check all connections and systems before final installation.
- Do not use unauthorized parts as this may cause malfunctions.
- Consult your dealer if installation requires drilling of holes or other modifications to the vehicle.
- Do not install this unit where: — it may interfere with operation of the vehicle. — it may cause injury to a passenger as a result of a sudden stop.
- Install this unit away from hot places such as near the heater outlet.
- Optimum performance is obtained when the unit is installed at an angle of less than 60°.

- When installing, to ensure proper heat dispersal when using this unit, make sure you leave ample space behind the rear panel and wrap any loose cables so they are not blocking the vents.

DIN mount installation
- Insert the supplied mounting sleeve Into the dashboard.
- Secure the mounting sleeve by using a screwdriver to bend the metal tabs (90°) Into place.

0 Dashboard
® Mounting sleeve
• Make sure that the unit is installed securely in place. An unstable installation may cause skipping or other malfunctions.
When not using the supplied
mounting sleeve
- Determine the appropriate position where the holes on the bracket and the side of the unit match.

- Tighten two screws on each side.

® Tapping screw (5 mm x 9 mm, not supplied with product)
® Mounting bracket Dashboard or console
Removing the unit (installed with the supplied mounting sleeve)
- Remove the trim ring.

© Trim ring
@ Notched tab
+» Releasing the front panel allows easier access to the trim ring.
» When reattaching the trim ring, point the side with the notched tab down. - Insert the supplied extraction keys into both sides of the unit until they click into place.
- Pull the unit out of the dashboard.

Basic Operation
DEH-$120UB/S120UBA/S120UBG/S120UBB/$121UB/S121UBG/S12UB

About the main menu
You can adjust various settings in the main menu.
- Press the M.C. dial to display the main menu.
- Turn the M.C. dial to select one of the categories below, then press to confirm.
+ FUNCTION settings
+ AUDIO settings
+ SYSTEM settings
+ ILLUMINATION settings - Turn the M.C. dial to select the options, then press to confirm.
Frequently used operations
| Purpose | Operation |
| Turn on the power | Press SRC/OFF to turn on the power. Press and hold SRC/OFF to turn off the power. |
| Adjust the volume | Turn the M.G. dial. |
| Select a source | Press SRC/OFF repeatedly. |
| Change the display information | Press DISP repeatedly. |
| Return to the previous display/list | Press |
| Return to the normal display from the menu | Press and hold |
| Change the display brightness | Press and hold |
| Boost the bass level | Press BASS. • You can select the bass level in [BASS BOOST]. |
Setup operation
When you turn the ignition switch to ON after installation, [SET UP :YES] appears in the display.
- Press the M.C. dial.
- Turn the M.C. dial to select the options, then press to confirm. To proceed to the next menu option, you need to confirm your selection.
| Menu Item | Description |
| LANGUAGE [ENG](English), [PYC](Russian), [TUR](Turkish) | Select the language to display the text information from a compressed audio file. |
| CLOCK SET | Set the clock. 1 Turn the M.C. dial to adjust the hour, then press to confirm. The indicator moves to the minute setting automatically. 2 Turn the M.C. dial to adjust the minute, then press to confirm. |
| FM STEP [100], [50] | Select the FM tuning step from 100 kHz or 50 kHz. |
3 [QUIT :YES] appears when all the settings have been made. To return to the first item of the setup menu, turn the M.C. dial to select [QUIT :NO], then press to confirm.
4 Press the M.C. dial to confirm the settings.
Tuner operation
Receiving preset stations
- Press SRC/OFF to select [RADIO].
- Press
to select the band. 
- Press a number button

Best stations memory (BSM)
- After selecting the band, press the M.C. dial to display the main menu.
- Turn the M.C. dial to select [FUNCTION], then press to confirm.
- Turn the M.C. dial to select [BSM], then press to confirm.
To store stations manually
- While receiving the station you want to store, press and hold one of the number buttons (1/A to 6/r:-,) until it stops flashing.
CD/USB/AUX operation
CD 1 Insert a disc into the disc loading slot with the label side up. To eject a disc, stop playback first then press a.
USB
- Open the USB port cover.
- Plug in the USB device using an appropriate cable.
MTP connection A A device installed with Android OS 4.0 or most of later versions can be connected to the unit via MTP, using the cable supplied with the Android device. However, depending on the connected device, OS version or the numbers of the files in the device, audio files/songs may not be able to be played back via MTP.
NOTE if you use an MTP connection, [ANDROID WIRED] needs to be set to [MEMORY] in the SYSTEM settings.
AUX
- Insert the stereo mini plug into the AUX input jack.
- Press SRC/OFF to select [AUX] as the source.
Making a connection with Pioneer ARC APP
Pioneer’s Advanced app converts your compatible smartphone into a powerful touchscreen remote control.![]()
warnins
Do not attempt to operate the application while driving. Make sure to pull off the road and park your vehicle in a safe location before attempting to use the controls on the application.
NOTE
This function is compatible with a phone that runs Android 4.1 up to 7.1.2 and also supports
AOA (Android Open Accessory) 2.0, but the compatibility depends on the smartphone.
- Enter the SYSTEM menu (refer to “About the main menu’).
- Turn the M.C. dial to select [ANDROID WIRED], then press to confirm.
- Turn the M.C. dial to select [APP CONTROL], then press to confirm.
- Turn the M.C. dial to select [P.APP AUTO ON], then press to confirm.
- Turn the M.C. dial to select [ON], then press to confirm.
- Connect this unit with the Android device via USB.
Pioneer ARC APP on the device starts automatically.
Declaration of Conformity with regard to the Radio Equipment Directive 2014/53/EU
Manufacturer: Pioneer Corporation 28-8, Honkomagome 2-chome, Bunkyo-ku, Tokyo 113-0021, Japan
EU Representative’s & Importer: PIONEER EUROPE NV Haven 1087, Keetberglaan 1, B-9120 Melsele, Belgium/Belgique http://www.pioneer-car.eu
[x] DEH-S120UB, DEH-S12OUBA, DEH-S120UBG, DEH-S120UBB, DEH-5121UB, DEH-5121UBG, DEH-S12UB English: Hereby, Pioneer declares that the radio equipment type [ x] is in compliance with Directive 2014/53/EU. The full text of the EU declaration of conformity is available at the following internet address: http://www.pioneer-car.eu/compliance
Pioneer Please fill out immediately after purchase.
Engraving 14-stellige Serine-Nummer: Engraved 14-digit serial number:
IIP
Handler-Tempest Dealer’s stamp
QRD3789-B


























