RA-6075R LCD Annunciator
Owner’s Manual
Features
| Standby Current | 20 mA |
| Alarm Current | 25 mA |
| Operating Temperature | 0°C-49°C (32°F-120°F) 10%-93% @ 30°C (86°F) non-condensing humidity |
| Maximum Wire Length | 6500 FT |
| Maximum Annunciators | 31 |
| Size (WxHxD) | 8” x 6-1/4” x 1-5/8” |
| Wire Gauge | 14 AWG-22 AWG |
Description
The RA-6075R is a LCD remote annunciator for the PFC-6075R addressable releasing fire control panel. The RA-6075R communicates using a RS-485 connection to the main panel providing common indication of Alarms, Supervisory, Trouble and other system status and control functions.
The RA-6075R features a 16×2 LCD display with LED’s for Power, Alarm, Supervisory, Trouble, and Silenced conditions. It also provides Release and Pre-Release LED’s to indicate releasing status. It can be mounted on a single gang electrical box or a two square electrical box. The annunciator is enclosed in a sheet metal enclosure and has a Potter lock securing the keypad.
Installation
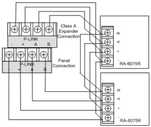
The RA-6075R is connected to the PFC-6075R using a four wire RS-485 connection. The connection is power limited and supervised. Up to thirty-one (31) RA-6075R LCD annunciators can be connected using Class B or Class A wiring. Class A wiring requires an optional CA-6075 Class A Expander.
NOTICE
Install in accordance with installation manual, #5403594.
| Figure 1: RA-6075R Class B Wiring Example | Figure 2: RA-6075R Class A Wiring Example |
![]() | ![]() |
Address Settings
The RA-6075R address is set by dip switch S1 located on the back of the RA-6075R. The address must be set in the range of 1 to 31 to be recognized by the control panel.
Figure 3: RA-6075R Class A (back panel view)

Dip Switch Settings
Refer to the table below for dip switch settings per Annunciator Address.
| Annunciator Address | Dip Switch Settings | ||||
| SW-I | SW-2 | SW-3 | SW-4 | SW-5 | |
| I | On | Off | Off | Off | Off |
| 2 | Off | On | Off | Off | Off |
| 3 | On | On | Off | Off | Off |
| 4 | Off | Off | On | Off | Off |
| 5 | On | Off | On | Off | Off |
| 6 | Off | On | On | Off | Off |
| 7 | On | On | On | Off | Off |
| 8 | Off | Off | Off | On | Off |
| 9 | On | Off | Off | On | Off |
| 10 | Off | On | Off | On | Off |
| 11 | On | On | Off | On | Off |
| 12 | Off | Off | On | On | Off |
| 13 | On | Off | On | On | Off |
| 14 | Off | On | On | On | Off |
| 15 | On | On | On | On | Off |
| 16 | Off | Off | Off | Off | On |
| 17 | On | Off | Off | Off | On |
| 18 | Off | On | Off | Off | On |
| 19 | On | On | Off | Off | On |
| 20 | Off | Off | On | Off | On |
| 21 | On | Off | On | Off | On |
| 22 | Off | On | On | Off | On |
| 23 | On | On | On | Off | On |
| 24 | Off | Off | Off | On | On |
| 25 | On | Off | Off | On | On |
| 26 | Off | On | Off | On | On |
| 27 | On | On | Off | On | On |
| 28 | Off | Off | On | On | On |
| 29 | On | Off | On | On | On |
| 30 | Off | On | On | On | On |
| 31 | On | On | On | On | On |
Potter Electric Signal Company, LLC
St. Louis, MO
Cust Service: 866-956-1211
Tech Support: 866-240-1870
Canada: 888-882-1833
www.pottersignal.com
PRINTED IN USA
MFG. #5406080
REV B 9/11
firealarmresources.com![]()




















