U-LINE UHBD524-IG01A 24 Inch Dual Zone Beverage Center

WELCOME TO U-LINE
Congratulations on your U-Line purchase. Your product comes from a company with over five decades of premium modular ice making, refrigeration, and wine preservation experience. U-Line creates products focused on functionality, style, and inspired innovations — paying close attention to even the smallest details. Applications include residential, outdoor, ADA height compliant, marine, and commercial. Complete product categories include Beverage Centers, Wine Refrigerators, Ice Machines, Refrigerators, Freezers, and Dispensers.
Our advanced refrigeration systems, large and flexible capacities, and Built-In to Stand Out® clean integrated look allow you to preserve the right product, in the right place, at the right temperature. Since 2014, U-Line has been part of the Middleby family of brands. All products are designed, engineered, and assembled in Milwaukee, Wisconsin, USA, and select products are available worldwide. U-Line – RIGHT PRODUCT. RIGHT PLACE. RIGHT TEMPERATURE®.
PRODUCT INFORMATION
Looking for additional information on your product? User Guides, Spec Sheets, CAD Drawings, Compliance Documentation, and Product Warranty information are all available for reference and download at u-line.com.
PROPERTY DAMAGE / INJURY CONCERNS
In the unlikely event property damage or personal injury is suspected related to a U-Line product, please take the following steps:
- U-Line Customer Care must be contacted immediately at +1.414.354.0300.
- Service or repairs performed on the unit without prior written approval from U-Line is not permitted. If the unit has been altered or repaired in the field without prior written approval from U-Line, claims will not be eligible.
This product is eligible for an additional one-year warranty at no charge when you register your product on u-line.com. See complete warranty for details.
Safety and Warning
NOTICE
- Please read all instructions before installing, operating, or servicing the appliance.
- Use this appliance for its intended purpose only and follow these general precautions with those listed throughout this guide:
SAFETY ALERT DEFINITIONS
- Throughout this guide are safety items labeled with a Danger, Warning, or Caution based on the risk type:
DANGER: Danger means that failure to follow this safety statement will result in severe personal injury or death.
WARNING: Warning means that failure to follow this safety statement could result in serious personal injury or death.
CAUTION: Caution means that failure to follow this safety statement may result in minor or moderate personal injury, property, or equipment damage.
DANGER: This unit contains R600a (Isobutane) which is a flammable hydrocarbon. It is safe for regular use. Do not use sharp objects to expedite defrosting. Do not service without consulting the “R600a specifications” section included in the User Guide. Do not damage the refrigerant circuit.
WARNING: Service must be done by factory authorized service personnel. Any parts shall be replaced with like components. Failure to comply could increase the risk of possible ignition due to incorrect parts or improper service.
CALIFORNIA PROPOSITION 65
This product contains chemicals known to the state of California to cause cancer and birth defects or other reproductive harm. www.P65warnings.CA.gov
Environmental Requirements
This model is intended for indoor/interior applications only and is not to be used in installations that are open/exposed to natural elements.
This unit is designed to operate between 50°F (10°C) and 100°F (38°C). Higher ambient temperatures may reduce the unit’s ability to reach low temperatures and/or reduce ice production on applicable models.
For best performance, keep the unit out of direct sunlight and away from heat generating equipment.
In climates where high humidity and dew points are present, condensation may appear on outside surfaces. This is considered normal. The condensation will evaporate when the humidity drops.
CAUTION: Damages caused by ambient temperatures of 40°F (4°C) or below are not covered by the warranty.
Electrical
SHOCK HAZARD: Electrical Grounding Required. Never attempt to repair or perform maintenance on the unit until the electricity has been disconnected.
- Never remove the round grounding prong from the plug and never use a two-prong grounding adapter.
- Altering, cutting or removing power cord, removing power plug, or direct wiring can cause serious injury, fire, loss of property and/or life, and will void the warranty.
- Never use an extension cord to connect power to the unit.
- Always keep your working area dry.
NOTICE
Electrical installation must observe all state and local codes. This unit requires connection to a grounded (three-prong), polarized receptacle that has been placed by a qualified electrician.
The unit requires a grounded and polarized 115 VAC, 60 Hz, 15A power supply (normal household current). An individual, properly grounded branch circuit or circuit breaker is recommended. A GFCI (ground fault circuit interrupter) is usually not required for fixed location appliances and is not recommended for your unit because it could be prone to nuisance tripping. However, be sure to consult your local codes.
Door Swing
For Integrated models that are installed adjacent to a wall, 1/2” (13 mm) clearance is recommended from wall on hinge side to allow the door to open 90°. Allow for additional space for any knobs or pulls installed on the integrated panel/frame.
Stainless Steel models that are installed adjacent to a wall require 2-1/4” (57 mm) door clearance on hinge side to allow for door handle.
Units have a zero clearance when installed adjacent to cabinets.3000 Series

- Integrated Door Adjustments
- Stainless
DOOR ALIGNMENT AND ADJUSTMENT
Align and adjust the door if it is not level or not sealing properly. If the door is not sealed, the unit may not cool properly, or excessive frost or condensation may form in the interior.
NOTICE
Properly aligned, the door’s gasket should be firmly in contact with the cabinet all the way around the door (no gaps). Carefully examine the door’s gasket to ensure that it is firmly in contact with the cabinet. Also make sure the door gasket is not pinched on the hinge side of the door.
Do not attempt to use the door to raise or pivot your unit. This would put excessive stress on the hinge system. Alignment and Adjustment Procedure
- Open door and remove gasket near the hinges.
- Using a T-25 Torx bit, loosen each pair of Torx head screws both the upper and lower hinge plates.
- Square and align door as necessary.
- Tighten Torx head screws on hinge.
- Reinstall gasket into the channel starting at the corner.

REVERSING THE DOOR
- Open door.
- Using T-25 Torx bit loosen screw #1 and remove screw #2 on top and bottom hinge. Slide and remove the door from the unit.

Note: One hinge includes a metal spacer. Spacer must be used with that hinge when reversing the door. - Remove caps from screw heads on opposite side (2 on top and 2 on bottom). Using #2 Phillips bit, remove the 4 underlying screws. Reinstall the screws and caps on the opposite side.
- Partially install screw #1 in the outer most holes on top and bottom. Rotate door 180o, align hinge over screw #1 and slide/seat into position. Reinstall screw #2 on top and bottom. Tighten both screws and install hinge cover.
Align and adjust the door
Align and adjust the door (see DOOR ALIGNMENT AND ADJUSTMENT).
General Installation
LEVELING INFORMATION
- Use a level to confirm the unit is level. Level should be placed along top edge and side edge as shown.
- If the unit is not level, adjust the legs on the corners of the unit as necessary.

- Confirm the unit is level after each adjustment and repeat the previous steps as needed.
INSTALLATION TIP
If the room floor is higher than the floor in the cutout opening, adjust the rear legs to achieve a total unit rear height of 1⁄8” (3 mm) less than opening’s rear height. Shorten the unit height in the front by adjusting the front legs. This allows the unit to be gently tipped into the opening. Readjust the front legs to level the unit after it is correctly positioned in the opening.
INSTALLATION
- Plug in the power/electrical cord.
- Gently push the unit into position. Be careful not to entangle the cord or water and drain lines, if applicable.
- Re-check the leveling, from front to back and side to side. Make any necessary adjustments. The unit’s top surface should be approximately 1⁄8” (3 mm) below the countertop.
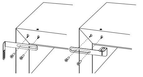
- Install the anti-tip bracket.
- Remove interior packing material and wipe out the inside of the unit with a clean, water-dampened cloth.
Anti-Tip Bracket
Use one of the methods below to secure the unit
CABINET/COUNTER ANTI-TIP INSTALLATION
(For built-in applications)
- Slide unit out so screws on front of unit are easily accessible.
- Remove the two screws from the front of the unit.

- Bend bracket along one of the perforations to allow attachment to the desired adjoining surface.
- Gently push unit into position. Be careful not to entangle the electrical cord or water line, if applicable.
- Check to be sure the unit is level from front to back and side to side. Make any necessary adjustments. The unit’s top surface should be approximately 1⁄8”
(3 mm) below the countertop. - Secure bracket to adjoining surface.
FLOOR MOUNTED ANTI-TIP INSTALLATION (For free-standing applications)
- Locate two anti-tip brackets included with the kit.
- Place the unit into the area where it will be installed. Check the door, sides, and top for a proper fit. Also test to make sure the door opens and closes freely.
- Remove grille and place a mark on the floor at the front of the unit. Also place a mark on the floor in the center of the unit.
- Remove the unit. Using a square, extend center line “B” (see chart below). This line serves as the back edge for the anti-tip brackets. From the center line, measure “A” to the left and right. This line is the outer edge of each bracket.

| 515 | 518 | 524 | |
| A | 7 5⁄8” | 9” | 11 15⁄16” |
| B | 22” | 22” | 22” |
- Place the anti-tip brackets on the floor against the line drawn for the outer edge. Mark spots for the screw holes.

- Use a 1/8” drill to make two starter holes and fasten the anti-tip brackets to the floor using the screws provided.
- Place the unit back into position, making sure the feet engage the anti-tip brackets properly. Check the alignment of the lines made on the floor in step 3 with the position of the front feet to ensure proper positioning.
Integrated Panel Installation Integrated Models Only
- Fully open door.
- Starting at corner, pull gasket away from door.
- Continue to pull gasket free from gasket channel.
- Upon removal, lay gasket down on a flat surface.
- Align top of panel with top edge of door. Center panel on door.

NOTICE
Due to differences in floor construction or surrounding cabinetry, the panel may not sit flush with the top of the door. - Secure integrated panel to door using clamps. A robust tape may also
be used. U-Line recommends the use of bar clamps to secure the panel to the door. If using tape, be certain the tape will not damage panel finish upon removal. - Using a 7/64” (3\ mm) drill bit, drill 6 pilot holes into the wood panel 1/2” (12 mm) deep using the holes in the door frame as a guide.

NOTICE
It is important to ensure that all drilled holes are drilled to the correct depth in order to avoid splits in the wood when hardwood is installed. - Locate 6 of the #6x 1-1/2” (38 mm) screws provided with your unit.
- Using a Phillips screwdriver, place one screw into each of the 6 pilot holes and screw down. Do not overtighten screws.
- Ensure the screws sit flush against the bottom of the channel.

- Remove clamps from door.
If panel requires additional adjustments after removing clamps, slightly loosen each screw and adjust panel as necessary. Tighten screws upon completion. - Starting at the corners, re-install the gasket into the gasket channel in the frame. Make sure the gasket is fully seated.
Control Operation – Dual Zone Beverage Centers

CONTROL FUNCTION GUIDE
This unit is Star-K certified. See www.star-k.org for more details.
DOOR ALERT NOTIFICATION
When the door is left open for more than 5 minutes:
- A tone will sound for several seconds every minute
- will appear in display
- Closed door to silence alert and reset
Dual Zone Temperature Table
| Beverage Dual Zone | ||
| Lower: 33° – 45° | Upper: 38° – 65° Minimum Maximum | |
| 33 | 38 | 53 |
| 34 | 38 | 54 |
| 35 | 38 | 55 |
| 36 | 38 | 56 |
| 37 | 38 | 57 |
| 38 | 38 | 58 |
| 39 | 39 | 59 |
| 40 | 40 | 60 |
| 41 | 41 | 61 |
| 42 | 42 | 62 |
| 43 | 43 | 63 |
| 44 | 44 | 64 |
| 45 | 45 | 65 |
Control Operation – Dual Zone Wine

CONTROL FUNCTION GUIDE

This unit is Star-K certified. See www.star-k.org for more details.
DOOR ALERT NOTIFICATION
When the door is left open for more than 5 minutes:
- A tone will sound for several seconds every minute
- will appear in display
- Closed door to silence alert and reset
Dual Zone Temperature Table
| Wine Dual Zone | ||
| Lower: 38° – 65° | Upper: 38° – 65° Minimum Maximum | |
| 38 | 38 | 58 |
| 39 | 39 | 59 |
| 40 | 40 | 60 |
| 41 | 41 | 61 |
| 42 | 42 | 62 |
| 43 | 43 | 63 |
| 44 | 44 | 64 |
| 45 | 45 | 65 |
| 46 | 46 | 65 |
| 47 | 47 | 65 |
| 48 | 48 | 65 |
| 49 | 49 | 65 |
| 50 | 50 | 65 |
| 51 | 51 | 65 |
| 52 | 52 | 65 |
| 53 | 53 | 65 |
| 54 | 54 | 65 |
| 55 | 55 | 65 |
| 56 | 56 | 65 |
| 57 | 57 | 65 |
| 58 | 58 | 65 |
| 59 | 59 | 65 |
| 60 | 60 | 65 |
| 61 | 61 | 65 |
| 62 | 62 | 65 |
| 63 | 63 | 65 |
| 64 | 64 | 65 |
| 65 | 65 | 65 |
First Use
Initial startup requires no adjustments. When plugged in, the unit will begin operating under the factory default settings. If the unit was turned off during installation,simply press POWER and the unit will immediately switch on. To turn the unit off, press POWER
NOTICE
- Temperature displayed reflects actual temperature inside unit.
- If the temperature displayed is different than selected, the unit is progressing towards the selected temperature. Time to reach set point varies based upon ambient temperature, temperature of product loaded, door openings, etc. U-Line recommends allowing the unit to reach set points before loading.
Airflow & Product Loading
AIRFLOW
External
- Do not block the front grille – no additional clearance around sides, top or rear of unit is needed for ventilation
- Do not install behind a closed door
Internal
- When loading, leave space between internal fans, vents, and side walls to allow air to circulate freely
PRODUCT LOADING
Bottles and cans come in many shapes and sizes. Not all bottles and cans will fit on every shelf and wine rack. Larger diameter champagne and Magnum bottles only fit on wine racks when noted on the product specifications. When determining capacities U-Line uses typical 12 oz. cans, 12 oz. bottles, 750 mL white wine and red wine bottles shown below.
NOTICE
Restricting airflow may result in poor product performance, product failure, and uneven internal temperatures and may freeze contents.

Interior Adjustments
Dual Zone Beverage Centers feature side mounted rack supports with 17 adjustment positions.
All units ship with wine racks. Beverage Centers include Slide and Secure Storage Bin and slide out shelf. Remove and reposition as desired.
WINE RACK & SHELF ADJUSTMENT
Removal
- Fully extend empty rack

- Firmly grasp both sides of rack and lift front end of rack slightly (about 1/4”) to center the pin in the slot

- Pull rack towards you until all pins are clear of the slots. If only repositioning the rack, do not remove completely – go to “Rack Installation” Step 2.
- Slightly tilt one side. Gently pull rack towards you to remove rack from unit.

Note: Take care when removing rack to avoid scratching interior of unit. - Once removed, retract the slides.
Note: The slides on the rack have a thin coating which is used to block moisture and provide lubrication. Use care when handling.
Installation
- Insert empty rack into unit with one side tilted slightly downward until back pin is between front and rear rail supports.

- Tilt rack back to horizontal and line up 2 back pins with back slots.

- Line up 2 back pins with 2 back slots and 2 front pins wit slots.
- Continue inserting rack until all four pins are fully inserted. Front of rack will set down slightly into the front slots and be locked into position.
Wine Storage Options
WINE RACK BOTTLE POSITION
Specially designed horizontal wine racks properly position the bottles so the wine remains in contact with the cork, which ensures the cork does not become dry.
Racks are designed to accommodate typical 750ml wine bottles as follows:
SLIDE AND SECURE STORAGE BIN ADJUSTMENT
Removal
- Empty and remove bin.

- Firmly grasp both sides of storage bin frame and lift front end slightly (about 1⁄4”) to center the pin in the slot.

- Pull frame towards you until all pins are clear of the slots. If only repositioning the frame, do not remove completely – go to “Storage Bin Installation” Step 2.
- Slightly tilt one side. Gently pull frame towards you to remove from unit.

Note: Take care when removing frame scratching interior of unit. - Once removed, retract the slides. Note: The slides on the frame have a thin coating which is used to block moisture and provide lubrication. Use care when handling.
Installation
- Insert empty storage bin frame into unit with one side tilted slightly downward until back pin is between front and rear rail supports.

- Tilt frame back to horizontal and line up 2 back pins with rear rail support. Line up left side of frame with rear and front rail support. Continue inserting frame until both pins engage. The front will set down slightly and lock into place. Repeat on right side.

- Fully extend frame, position bin over frame and lower
(rear first) into position
Slide and Secure Storage Bins
Glass inserts are designed so bottles and cans sit flat. The inserts may be removed when storing produce or other items. The ridges in the bottom facilitate air flow. Clean the storage bins with soap and water.
Cleaning
Stainless Models
- Stainless door panels, handles and frames can discolor when exposed to chlorine gas, pool chemicals, saltwater or cleaners with bleach.
- Keep your stainless unit looking new by cleaning with a good quality all-in-one stainless steel cleaner and pol-ish monthly. For best results use Claire® Stainless Steel Polish and Cleaner. Comparable products are acceptable. Frequent cleaning will remove surface contamination that could lead to rust. Some installations may require cleaning weekly.
- Do not clean with steel wool pads.
- Do not use stainless steel cleaners or polishes on any glass surfaces.
- Clean any glass surfaces with a non-chlorine glass cleaner.
- Do not use cleaners not specifically intended for stainless steel on stainless steel surfaces (this includes glass, tile, and counter cleaners).
- If any surface discoloring or rusting appears, clean it quickly with Bon-Ami® or Barkeepers Friend Cleanser® and a nonabrasive cloth. Always clean with the grain. Always finish with Claire® Stainless Steel Polish and Cleaner or comparable product to prevent further problems.
- Using abrasive pads such as ScotchBrite™ will cause the graining in the stainless steel to become blurred.
- Rust not cleaned up promptly can penetrate the surface of the stainless steel and complete removal of the rust may not be possible Integrated Models
- To clean integrated panels, use household cleaner per the cabinet manufacturer’s recommendations.
INTERIOR CLEANING
Disconnect power to the unit.
Clean the interior and all removed components using a mild nonabrasive detergent and warm solution applied with a soft sponge or non-abrasive cloth.
Rinse the interior using a soft sponge and clean water.
Do not use any solvent-based or abrasive cleaners. These types of cleaners may transfer taste and/or odor to the interior products and damage or discolor the interior.
DEFROSTING
Under normal conditions this unit does not require manual defrosting. Minor frost on the rear wall or visible through the evaporator plate vents is normal and will melt during each cycle.
- If there is excessive build-up of 1/4” (6 mm) or more, manually defrost the unit.
- Ensure the door is closing and sealing properly.
- High ambient temperature and excessive humidity can also produce frost.
CAUTION:
- DO NOT use an ice pick or other sharp instrument to help speed up defrosting. These instruments can puncture the inner lining or damage the cooling unit. DO NOT use any type of heater to defrost. Using a heater to speed up defrosting can cause personal injury and damage to the inner lining.
NOTICE
The drain pan was not designed to capture the water created when manually defrosting. To prevent water from overflowing the drain pan and possibly damaging water sensitive flooring, the unit must be removed from cabinetry.
To defrost
- Disconnect power to the unit.
- Remove all products from the interior
- Prop the door in an open position (2 in. [50 mm] minimum).
- Allow the frost to melt naturally.
- After the frost melts completely, clean the interior and all removed components. (See INTERIOR CLEANING).
- When the interior is dry, reconnect power and turn unit on.
U-Line Corporation (U-Line) Limited Warranty
One Year Limited Warranty
For one year from the date of original purchase, this warranty covers all parts and labor to repair or replace any part of the product that proves to be defective in materials or workmanship. For products installed and used for normal residential use, material cosmetic defects are included in this warranty, with coverage limited to 60 days from the date of original purchase. All service provided by U-Line under the above warranty must be performed by a U-Line factory authorized servicer, unless otherwise specified by U-Line. Service provided during normal business hours.
Two Year Limited Warranty (5 Class Product)
For two years from the date of original purchase, this warranty covers all parts and labor to repair or replace any part of the product that proves to be defective in materials or workmanship. For products installed and used for normal residential use, material cosmetic defects are included in this warranty, with coverage limited to 60 days from the date of original purchase. All service provided by U-Line under the above warranty must be performed by a U-Line factory authorized servicer, unless otherwise specified by U-Line. Service provided during normal business hours.
Available Second & Third Year Limited Warranty
In addition to the standard one and two year warranties outlined above, U-Line offers a one year extension of the warranties from the date of purchase, free of charge. To take advantage of this extension, you must register your product with U-Line within 60 days from the date of purchase at u-line.com and provide proof of purchase. Nugget Ice Machine proof of purchase must include the purchase of an in-line water filter and filter head to qualify for this additional limited warranty.
Five Year Sealed System Limited Warranty
For five years from the date of original purchase, U-Line will repair or replace the following parts, labor not included, that prove to be defective in materials or workmanship: compressor, condenser, evaporator, drier, and all connecting tubing. All service provided by U-Line under the above warranty must be performed by a U-Line factory authorized servicer, unless otherwise specified by U-Line. Service provided during normal business hours.
Terms
These warranties apply only to products installed in any one of the fifty states of the United States, the District of Columbia, or the ten provinces of Canada. The warranties do not cover any parts or labor to correct any defect caused by negligence, accident or improper use, maintenance, installation, service, repair, acts of God, fire, flood or other natural disasters. The product must be installed, operated, and maintained in accordance with your product’s User Guide.
The remedies described above for each warranty are the only ones that U-Line will provide, either under these warranties or under any warranty arising by operation of law. U-Line will not be responsible for any consequential or incidental damages arising from the breach of these warranties or any other warranty, whether express, implied, or statutory. Some states do not allow the exclusion or limitation of incidental or consequential damages, so the above limitation or exclusion may not apply to you. These warranties give you specific legal rights, and you may also have other rights which vary from state to state.
Any warranty that may be implied in connection with your purchase or use of the product, including any warranty of merchantability or any warranty fit for a particular purpose is limited to the duration of these warranties, and only extends to five years in duration for the parts described in the section related to the five year limited warranty above. Some states do not allow limitations on how long an implied warranty lasts, so the above limitations may not apply to you.
- The warranties only apply to the original purchaser and are non-transferable.
- The second, third, and five year warranties cover products installed and used for normal residential or designated marine use only.
- The warranties apply to units operated outside only if designed for outdoor use by model and serial number.
- U-Line Commercial products are covered by the one year and 5 year limited warranties and are not eligible for the second and third year limited warranties.
- Replacement water filters, light bulbs, and other consumable parts are not covered by these warranties.
- The start of U-Line’s obligation is limited to four years after the shipment date from U-Line.
- In-home instruction on how to use your product is not covered by these warranties.
- Food, beverage, and medicine loss are not covered by these warranties.
- If the product is located in an area where U-Line factory authorized service is not available, you may be responsible for a trip charge or you may be required to bring the product to a U-Line factory authorized service location at your own cost and expense.
- Units purchased after use as floor displays, and/or certified reconditioned units, are covered by the limited one year warranty only and no coverage is provided for cosmetic defects.
- Signal issues related to Wi-Fi connectivity are not covered by these warranties.
For parts and service assistance, or to find U-Line factory authorized service near you,
contact U-Line: 8900 N. 55th Street, Milwaukee, WI 53223
- u-line.com
- [email protected]
- +1.414.354.0300





















![Insignia Dual-zone Wine And Beverage Center [ns-bc2zss8] User Manual Insignia Dual-zone Wine And Beverage Center [ns-bc2zss8] User Manual](https://static-data1.manualsee.com/1/img/129/20094/2020/12/Insignia-Dual-Zone-Wine-and-Beverage.jpg)

















