U-Line UHWC024 Wine Refrigerator User Guide
WELCOME TO U-LINE
Congratulations on your U-Line purchase. Your product comes from a company with over five decades of premium modular ice making, refrigeration, and wine preservation experience. U-Line creates products focused on functionality, style, and inspired innovations — paying close attention to even the smallest details. Applications include residential, outdoor, ADA height compliant, marine, and commercial. Complete product categories include Beverage Centers, Wine Refrigerators, Ice Machines, Refrigerators, Freezers, and Dispensers.
Our advanced refrigeration systems, large and flexible capacities, and Built In to Stand Out® clean integrated look allow you to preserve the right product, in the right place, at the right temperature. Since 2014, U-Line has been part of the Middleby family of brands. All products are designed, engineered, and assembled in Milwaukee, Wisconsin, USA, and select products are available worldwide.
PRODUCT INFORMATION
Looking for additional information on your product? User Guides, Spec Sheets, CAD Drawings, Compliance Documentation, and Product Warranty information are all available for reference and download at u-line.com.
PROPERTY DAMAGE / INJURY CONCERNS
In the unlikely event property damage or personal injury is suspected related to a U-Line product, please take the following steps:
- U-Line Customer Care must be contacted immediately at +1.414.354.0300.
- Service or repairs performed on the unit without prior written approval from U-Line is not permitted. If the unit has been altered or repaired in the field without prior written approval from U-Line, claims will not be eligible.
Safety Instruction
Safety and Warning
NOTICE
Please read all instructions before installing, operating, or servicing the appliance.
Use this appliance for its intended purpose only and follow these general precautions with those listed throughout this guide:
SAFETY ALERT DEFINITIONS
Throughout this guide are safety items labeled with a Danger, Warning, or Caution based on the risk type:
![]()
Danger means that failure to follow this safety statement will result in severe personal injury or death.
![]()
Warning means that failure to follow this safety statement could result in serious personal injury or death.
![]()
Caution means that failure to follow this safety statement may result in minor or moderate personal injury, property, or equipment damage.
![]()
This unit contains R600a (Isobutane) which is a flammable hydrocarbon. It is safe for regular use. Do not use sharp objects to expedite defrosting. Do not service without consulting the “R600a specifications” section included in the User Guide. Do not damage the refrigerant circuit.
![]()
Service must be done by factory authorized service personnel. Any parts shall be replaced with like components. Failure to comply could
increase the risk of possible ignition due to incorrect parts or improper service.
CALIFORNIA PROPOSITION 65
This product contains chemicals known to the state of California to cause cancer and birth defects or other reproductive harm.
www.P65warnings.CA.gov
![]()
This equipment is to be installed with adequate backflow protection to comply with applicable federal, state and local codes.
Disposal and Recycling
![]()
RISK OF CHILD ENTRAPMENT. Before you throw away your old refrigerator or freezer, take off the doors and leave shelves in place so children may not easily climb inside.
If the unit is being removed from service for disposal, check and obey all federal, state, and local regulations regarding the disposal and recycling of refrigeration appliances, and follow these steps completely:
- Remove all consumable contents from the unit.
- Unplug the electrical cord from its socket.
- Remove the door(s)/drawer(s).
Installation
Environmental Requirements
This model is intended for indoor/interior applications only and is not to be used in installations that are open/ exposed to natural elements.
This unit is designed to operate between 50°F (10°C) and 100°F (38°C). Higher ambient temperatures may reduce the unit’s ability to reach low temperatures and/or reduce ice production on applicable models.
For best performance, keep the unit out of direct sunlight and away from heat generating equipment.
In climates where high humidity and dew points are present, condensation may appear on outside surfaces. This is considered normal. The condensation will evaporate when the humidity drops.
![]()
Damages caused by ambient temperatures of 40°F (4°C) or below are not covered by the warranty.
Electrical
![]()
SHOCK HAZARD — Electrical Grounding Required. Never attempt to repair or perform maintenance on the unit until the electricity has been disconnected.
Never remove the round grounding prong from the plug and never use a two-prong grounding adapter.
Altering, cutting or removing power cord, removing power plug, or direct wiring can cause serious injury, fire, loss of property and/or life, and will void the warranty.
Never use an extension cord to connect power to the unit.
Always keep your working area dry.
NOTICE
Electrical installation must observe all state and local codes. This unit requires connection to a grounded (three-prong), polarized receptacle that has been placed by a qualified electrician.
The unit requires a grounded and polarized 115 VAC, 60 Hz, 15A power supply (normal household current). An individual, properly grounded branch circuit or circuit breaker is recommended. A GFCI (ground fault circuit interrupter) is usually not required for fixed location appliances and is not recommended for your unit because it could be prone to nuisance tripping. However, be sure to consult your local codes.
See CUTOUT & PRODUCT DIMENSIONS for recommended receptacle location.
Cutout & Product Dimensions
PREPARE SITE
Your U-Line product has been designed for either freestanding or built-in installation. When built-in, your unit does not require additional air space for top, sides, or rear. However, the front grille must NOT be obstructed, and clearance is required for an electrical connection in the rear.
![]()
Unit can NOT be installed behind a closed cabinet door.
CUTOUT DIMENSIONS

24” cutout width sufficient if door protrudes beyond adjacent cabinetry.
PRODUCT DIMENSIONS
REAR

FRONT

TOP

SIDE

Cutout Dimensions
PREPARE SITE
Your U-Line product has been designed exclusively for a built-in installation. When built-in, your unit does not require additional air space for top, sides, or rear. However, the front grille must NOT be obstructed.
The product is designed and manufactured for seamless integration in the specified cutout opening shown, which requires precise measurements. The opening must be square and plumb front to back. Although not required, you may choose to increase the overall cutout width for ease of installation.
The Modular 3000 Series units are engineered with a variety of adjustment features to help ensure a seamless installation. Adjustable doors, leveling legs and grille will assist in fine tuning the installation.
All 3000 Series models fully integrate into overlay/face frame, inset or European/frameless cabinet styles and install seamlessly into standard 24″ (610 mm) depth cabinet base.
![]()
Unit can NOT be installed behind a closed cabinet door.
CUTOUT DIMENSIONS

Grille Installation
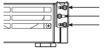
REMOVING AND INSTALLING GRILLE
![]()
Disconnect electric power to the unit before removing the grille.
When using the unit, the grille must be installed.
Removing the grille
- Disconnect power to the unit.
- Slightly loosen three screws on bottom hinge.

- Remove two grille screws.
- Slide grille to the left and remove.

Installing the grille
- Align cabinet and grille holes and secure, but do not over tighten grille screws (3).
- Tighten three hinge screws (4).
- Connect power to unit.
Door Adjustments
DOOR ALIGNMENT AND ADJUSTMENT
Align and adjust the door if it is not level or is not sealing properly. If the door is not sealed, the unit may not cool properly, or excessive frost may form in the interior.
NOTICE
Properly aligned, the door’s gasket should be firmly in contact with the cabinet all the way around the door (no gaps). Carefully examine the door’s gasket to ensure that it is firmly in contact with the cabinet. Also make sure the door gasket is not pinched on the hinge side of the door.
To align and adjust the door:
- Remove grille (see GRILLE-PLINTH INSTALLATION).
- Loosen (do not remove) top and bottom hinge screws.
- Align door squarely with cabinet.
- Make sure gasket is firmly in contact with cabinet all the way around the door (no gaps).
- Tighten bottom hinge screws.
- Tighten top hinge screws.
REVERSING THE DOOR
Location of the unit may make it desirable to mount the door on the opposite side of the cabinet.
The hinge hardware will be removed and installed on the opposite side of the cabinet.

TO REVERSE THE DOOR
Remove grille:
Remove the grille (see GRILLE-PLINTH INSTALLATION section of this guide).
Remove door:
- Hold door to keep it from falling.
- Remove top hinge from cabinet by removing three screws.

- Remove bottom hinge from cabinet by removing three screws. Support the door and hinge assembly and remove it from the cabinet.

- Remove four screws from hinge holes on the opposite side. Reinstall into holes where the hinge was removed. Take care not to scratch cabinet.

- Repeat for cabinet base.
Prepare door for reinstallation:
- Rotate door 180° to reverse.
- Align the flat edge of the hinge with the outer edge of the cabinet.
- Hold door to keep from falling.
- Tighten three screws.

- Align flat edge of the hinge with the outer edge of the unit.
- Tighten three screws.

SHIFTING WINE RACK SPACERS (OPTIONAL)
NOTICE
Only perform these steps if you require wine rack clearance with a 90° door opening. Doors which are allowed to open past 90° do not require this step.
- Remove wine rack (see WINE RACK INSTALLATION in Maintenance).
- Starting from the side that has the spacers (previously unaltered units will be on the right hand side from the factory), remove 2 screws, slide and spacer.

- Reinstall the slide with the original 2 screws.

- Remove 2 screws from the other side

- Place the spacer in between the liner and slide.

- Install original hardware.
- Slide wine rack back into position.
Align and adjust the door:
Align and adjust the door (see DOOR ALIGNMENT AND ADJUSTMENT).
Install grille:
Install the grille.
Control Operation

CONTROL FUNCTION GUIDE
| FUNCTION | COMMAND | DISPLAY/OPTIONS |
| ON/OFF | Press | Unit will immediately turn ON or OFF. |
| Toggle lights | Press | Glass door wine and beverage centers only. |
| Adjust refrigerator set point | Press | When the “F” or “C” in the display is flashing, press |
| View temperature in unit | Press | The display will flash and then toggle from set point to temperature in unit. |
| Toggle between F/C | Hold | The display will change units. |
DOOR ALERT NOTIFICATION
When the door is left open for more than 5 minutes:
- An audible tone will sound for several seconds every minute.
- The Alert LED will blink.
Close door to silence alert and reset.
Interior Adjustments
Slide-out Metal Shelf Removal
All models feature side mounted rack supports with 19 adjustment positions.
All refrigerators ship with 2 slide-out metal shelves. Remove and reposition as desired.
Note: Do not exceed 52.8 lb (24 kg) per shelf when loading.
- Remove all items from shelf.
- Pull shelf out far enough to firmly grasp both sides.
Lift front end slightly (about 1/4”) to center the pin in the slot.
- Pull shelf towards you until all pins are clear of the slots. If only repositioning the shelf, do not remove completely – go to “Stainless Steel Shelf Installation” Step 2.
- Slightly tilt one side. Gently pull shelf towards you to remove from unit.

Note: Take care when removing shelf to avoid scratching interior of unit. - Once removed, retract the slides.
Note: The slides on the shelf have a thin coating which is used to block moisture and provide lubrication. Use care when handling.
Slide-out Metal Shelf Installation
- Fully extend slides on both sides of shelf.
- Insert shelf into unit with one side tilted slightly upward until back pin is between front and rear rail supports.

- Tilt shelf back to horizontal and line up 2 back pins with rear rail support. Line up left side of shelf with rear and front rail support. Continue inserting shelf until both pins engage. The front will set down slightly and lock into place. Repeat on right side.

Freezer Baskets
FREEZER BASKET INSTALLATION & REMOVAL
Freezer baskets are removable for cleaning. To remove the baskets follow the instructions below.
- Fully extend the basket you wish to remove from the cabinet.

- Press the left basket release lever down. At the same time, lift the matching right basket release lever up. Pull basket out until it is free of the tracks and the cabinet.

NOTICE
Do not remove the track rails from the cabinet.
To reinstall:
- Align the left and right basket channels with the tracks in the cabinet. Ensure an even track engagement on both sides by gently pushing the basket into the cabinet until it stops.
- Before reloading the basket, ensure proper movement of the travel stops in the left and right track rails by pulling the basket out gently until it stops.
- Push the basket into the cabinet.
Cleaning
Baskets may be cleaned in a soapy warm water solution.
A general household disinfectant may be used if necessary. Be sure to completely dry your basket before reinstalling. Do not submerge basket assembly.
NOTICE
Freezer baskets are NOT dishwasher safe.
Maintenance
Cleaning
EXTERIOR CLEANING
Stainless Models
Stainless door panels and handles can discolor when exposed to chlorine gas, pool chemicals, saltwater or cleaners with bleach.
Keep your stainless unit looking new by cleaning with a good quality all-in-one stainless steel cleaner and polish monthly. For best results use Claire® Stainless Steel Polish and Cleaner. Comparable products are acceptable. Frequent cleaning will remove surface contamination that could lead to rust. Some installations may require cleaning weekly.
Do not clean with steel wool pads.
Do not use stainless steel cleaners or polishes on any glass surfaces.
Clean any glass surfaces with a non-chlorine glass cleaner
Do not use cleaners not specifically intended for stainless steel on stainless surfaces (this includes glass, tile and counter cleaners).
If any surface discoloring or rusting appears, clean it quickly with Bon-Ami® or Barkeepers Friend Cleanser® and a nonabrasive cloth. Always clean with the grain. Always finish with Claire® Stainless Steel Polish and Cleaner or comparable product to prevent further problems.
Using abrasive pads such as ScotchBrite™ will cause the graining in the stainless steel to become blurred.
Rust not cleaned up promptly can penetrate the surface of the stainless steel and complete removal of the rust may not be possible.
Integrated Models
To clean integrated panels, use household cleaner per the cabinet manufacturer’s recommendations.
INTERIOR CLEANING
Disconnect electric current to the unit.
Clean the interior and all removed components using a mild nonabrasive detergent and warm water solution applied with a soft sponge or non-abrasive cloth.
Rinse the interior using a soft sponge and clean water.
Do not use any solvent-based or abrasive cleaners. These types of cleaners may transfer taste to the interior products and damage or discolor the lining.
CLEAR ICE MAKER CLEANING CYCLE
The 3000 series ice maker is equipped with an automatic clean alert function. Cleaning cycles should be run as notified. Otherwise, to maintain operational efficiency, the unit should be cleaned every three months. Depending on water conditions, more frequent cleaning may be necessary. If the ice maker requires more frequent cleaning, consult a plumber to test the water quality and recommend appropriate treatment.
![]()
Wear rubber gloves and safety goggles and/or face shield when handling Ice Machine Cleaner.
NOTICE
Discard all ice produced in the first harvest.
Should electricity to the unit be interrupted during the self-clean cycle, the complete cleaning cycle will repeat after electricity is restored.
Use only U-Line Ice Machine Cleaner (Part No. 37050), available from your dealer or direct from your local parts distributor. To locate a parts distributor near you, visit www.u-line.com. It is a violation of federal law to use this solution in a manner inconsistent with its labeling. Use of any other cleaner can ruin the finish of the evaporator and will void the warranty. Read and understand all labels printed on the package before use.
U-Line Ice Machine Cleaner is used to remove lime scale and other mineral deposits. Refer to the following steps to initiate the self-cleaning cycle.
![]()
Never use anything to force ice from the evaporator. Damage may result.
- Switch the ice maker off and allow any ice to melt off of the evaporator.
- Remove all ice from the storage bin.
- Remove evaporator cover.

- Remove the standpipe by lifting it up while using a slight back and forth motion to loosen it from the drain hole. The water in the reservoir will flow down the drain.
- Re-install the standpipe into the water trough

- Clean the Interior Bin as follows:
- Dilute one packet of CLR cleaner into two quarts of water.
- Using a sponge or cloth, clean interior of ice bin, tubing and door. This cleaner will remove all mineral deposits and other contaminants from the surfaces.
- Using a bottle brush, clean out the trough drain tube and pump tubing where needed.

- Switch on unit on by pressing
. - Place unit in cleaning mode. See CONTROL OPERATION for more detail.
- When water begins flowing over the evaporator (approximately 3 minutes), pour 1 packet of CLR cleaner into the water trough. The cleaning process will last approximately 45 minutes.
- Dilute 1 tablespoon (15 ml) bleach in 1 gallon (3.8 liters) of warm water. Apply this solution to the entire inside of the storage area. Then rinse thoroughly with water.
The unit will resume operation approximately 15 minutes after the automated cleaning process is completed. The water fill valve will energize, fill the water reservoir, and shut-off after three minutes. The compressor begins to operate and water flows over the evaporator assembly (ice mold). Initially, the water flow may not be uniform, causing uneven sized cubes or water to spill into the ice storage bin. This is a normal situation that will correct itself within the first 24 hours of operation.
NOTICE
Discard all ice produced in the first harvest.
Should power to the unit be interrupted during the self-clean cycle, the complete cleaning cycle will repeat after power is restored.
REFRESH KIT
Due to variations in water quality or inadequate maintenance your unit may become excessively coated in lime scale or calcium. U-Line offers a cost effective refresh kit which replaces many interior components and will return your unit to like new condition. Refresh kits may be ordered from your local distributor and installed by your local service company. For information on your local distributor or service company please visit www.u-line.com.
Wine Rack Installation
To remove wine racks for cleaning:
- Remove any bottles stored on the rack.
- Grasp the end of the rack and gently slide it out until it stops.
- The release levers are located on the inside of the rack rails. Press the left rack release lever down. At the same time, lift the matching right rack release lever up. Pull the rack out until it is free of the tracks and the cabinet.

NOTICE
Do not remove the track rails from the cabinet.
To insert wine racks in the cabinet:
- Align the left and right rack channels with the tracks in the cabinet. Ensure an even track engagement on both sides by gently pushing the rack into the cabinet until it stops.
- Before reloading the rack, ensure proper movement of the travel stops in the left and right track rails by pulling the rack out gently until it stops.
To clean wine racks:
- Saturate a soft cloth with a soapy, warm water solution.
- Wring excess water from cloth and wipe racks down.
NOTICE
The wine racks are greased. This white lithium grease helps provide smooth operation of the slide mechanism. It is important not to remove
grease.
Extended Non-Use
VACATION/HOLIDAY, PROLONGED SHUTDOWN
The following steps are recommended for periods of extended non-use:
- Remove all consumable content from the unit.
- Disconnect the power cord from its outlet/socket and leave it disconnected until the unit is returned to service.
- Turn off the water supply.
- If ice is on the evaporator, allow ice to thaw naturally.
- Clean and dry the interior of the cabinet. Ensure all water has been removed from the unit.
- Disconnect the water and drain line (if applicable) making sure all water is removed from the lines.
- The door must remain open to prevent formation of mold and mildew. Open door a minimum of 2” (50 mm) to provide the necessary ventilation.
WINTERIZATION
If the unit will be exposed to temperatures of 40°F (5°C) or less, the steps above must be followed. In addition, P60 drain pumps in clear ice machines must be drained according to the following procedure:
- Remove the drain pump from the ice machine.
- Drain the water in the pump’s reservoir by turning the pump upside down and allowing the water to drain through the pump’s inlet and vent tube fittings.
- After water is drained, reinstall the drain pump and reattach all connections.
Service
For questions regarding winterization, please call U-Line at 414.354.0300.
![]()
Damage caused by freezing temperatures is not covered by the warranty.
Do not put anti-freeze in your unit.
Parts

| U-2260RDCINT-00B | ||
| Item | Description | U-Line P/N |
| 1 | Anti tip brackets w/screws | 80-54012-00 |
| 2 | Back panel | 80-54086-00 |
| 3 | Compressor eletricals only | 80-54017-00 |
| 4 | Compressor w/electricals | 80-54016-00 |
| 5 | Condenser | 80-54043-00 |
| 6 | Condenser fan w/screws | 80-54014-00 |
| 7 | Crisper | 80-54044-00 |
| 8 | Display module | 80-54007-00 |
| 9 | Door assembly w/o hinges | 80-54038-00 |
| 10 | Door gasket | 80-54039-00 |
| 11 | Drain pan w/double sided tape | 80-54002-00 |
| 12 | Drier | 80-54055-00 |
| 13 | Evap fan w/cover and screws | 80-54005-00 |
| 14 | Evaporator | 80-54057-00 |
| 15 | Evaporator cover | 80-54045-00 |
| 16 | Glass shelf (1) w/brackets | 80-54041-00 |
| 17 | Grille w/ screws | 80-54040-00 |
| 18 | Hinge covers (2 pcs) | 80-54001-00 |
| 19 | Hinge mounting hole covers | 80-54024-00 |
| 20 | Hinges (2) w/screws and covers | 80-54013-00 |
| 21 | LED light strip and cover assy | 80-54000-00 |
| 22 | Leg Levelers (4) | 80-54019-00 |
| 23 | Main board (no wires or case) | 80-54008-00 |
| 24 | Packaging | 80-54087-00 |
| 25 | Reed switch | 80-54004-00 |
| 26 | Thermistor (1 piece) | 80-54006-00 |
| 27 | Thermistor cover and pin | 80-54023-00 |
GENERAL INQUIRIES
U-Line Corporation
8900 N. 55th Street
Milwaukee, Wisconsin 53223 USA
Monday – Friday 8:00 am to 4:30 pm CST
T: +1.414.354.0300
Email: [email protected]
u-line.com
CONNECT WITH US
![]()
SERVICE & PARTS ASSISTANCE
Monday – Friday 8:00 am to 4:30 pm CST
T: +1.414.354.0300
Service Email: [email protected]
Parts Email: [email protected]
Designed, engineered and assembled in WI, USA







































