FRIGIDAIRE FRYB4623AS Capacity Beverage Center

IMPORTANT SAFETY INFORMATION
Read and Save These Instructions
Use your Beverage Center only as instructed in this guide. These instructions are not meant to cover every possible condition and situation that may occur. Use common sense and caution when installing, operating, and maintaining any appliance.
Record Your Model and Serial Numbers
Record the model and serial numbers in the space provided below. The serial plate is located on the upper left of the interior liner or on the back of the unit.
Model Number:
Serial Number:
Purchase Date:
WARNING
Please read all instructions before using this Beverage Center.
Definitions
This is the safety alert symbol. It is used to alert you to potential personal injury hazards. Obey all safety messages that follow this symbol to avoid possible injury or death
DANGER
DANGER indicates an imminently hazardous situation which, if not avoided, will result in death or serious injury
WARNING
WARNING indicates a potentially hazardous situation which, if not avoided, could result in death or serious injury
CAUTION
CAUTION indicates a potentially hazardous situation which, if not avoided, may result in minor or moderate injury
IMPORTANT
IMPORTANT indicates installation, operation or maintenance information which is important but not hazard-related.
WARNING
CALIFORNIA RESIDENTS ONLY Cancer and Reproductive Harm www.P65Warnings.ca.gov
WARNING
For Your Safety
DO NOT store or use gasoline, or other flammable liquids, or aerosols within or in the vicinity of this or any other appliance. Read product labels or warnings
regarding flammability and other hazards.
DANGER ![]()
DANGER Risk of fire or explosion. Flammable refrigerant used. Do not use mechanical devices to defrost refrigerator.
Do not puncture refrigerant tubing.
DANGER Risk of fire or explosion. Flammable refrigerant used. To be repaired only by trained service personnel. Use only manufacturer authorized service parts. Any repair equipment used must be designed for flammable refrigerants. Follow all manufacturer repair instructions. Do not puncture refrigerant tubing.
CAUTION ![]()
CAUTION Risk of fire or explosion. Dispose of refrigerator properly in accordance with the applicable federal or local regulations.
Flammable refrigerant used.
CAUTION Risk of fire or explosion due to puncture of refrigerant tubing. Follow handling instructions carefully. Flammable refrigerant used.
IMPORTANT
CFC/HCFC Disposal
Your old appliance may have a cooling system that used CFCs or HCFCs (chlorofluorocarbons or hydrochlorofluorocarbons). CFCs and HCFCs are believed to harm stratospheric ozone if released to the atmosphere. Other refrigerants may also cause harm to the environment if released to the atmosphere.
If you are throwing away your old appliance, make sure the refrigerant is removed for proper disposal by a qualified technician. If you intentionally release refrigerant, you may be subject to fines and imprisonment under provisions of environmental legislation.
IMPORTANT SAFETY INFORMATION
Electrical Information
- The Beverage Center must be plugged into its own dedicated 115 Volt, 60 Hz., 15 Amp, AC only electrical outlet.
The power cord of the appliance is equipped with a three-prong grounding plug for your protection against electrical shock hazards.
It must be plugged directly into a properly grounded three prong receptacle. The receptacle must be installed in accordance with local codes and ordinances. Consult a qualified electrician. Avoid connecting refrigerator to a Ground Fault Interruptor (GFI) circuit. Do not use an extension cord or adapter plug. - If the power cord is damaged, it should be replaced by an authorized service technician to prevent any risk.
- Never unplug the Beverage Center by pulling on the power cord. Always grip the plug firmly, and pull straight out from the receptacle to prevent damaging the power cord.
- Unplug the Beverage Center before cleaning and before replacing a light bulb to avoid electrical shock.
- Performance may be affected if the voltage varies by 10% or more. Operating the Beverage Center with insufficient power can damage the compressor. Such damage is not covered under your warranty.
- Do not plug the unit into an electrical outlet controlled by a wall switch or pull cord to prevent the Beverage Center from being turned off accidentally

Child Safety
Destroy carton, plastic bags, and any exterior wrapping material immediately after the Beverage Center is unpacked. Children should never use these items to play. Cartons covered with rugs, bedspreads, plastic sheets or stretch wrap may become airtight chambers, and can quickly cause suffocation.
Remove all staples from the carton. Staples can cause severe cuts, and destroy finishes if they come in contact with other appliances or furniture.
An empty, discarded Beverage Center is a very dangerous attraction to children. Remove the door(s) of any appliance that is not in use, even if it is being discarded.
This appliance is not intended for use by persons (including children) with reduced physical, sensory or mental capabilities, or lack of experience and knowledge, unless they have been given supervision or instruction concerning use of the appliance by a person responsible for their safety.
Proper Disposal of your Beverage Center
Risk of child entrapment
Child entrapment and suffocation are not problems of the past. Junked or abandoned Beverage Centers are still dangerous – even if they will sit for “just a few days”. If you are getting rid of your old Beverage Center, please follow the instructions below to help prevent accidents.
We strongly encourage responsible appliance recycling/disposal methods. Check with your utility company or visit recyclemyoldfridge.com for more information on recycling your old Beverage Center.
Before you throw away your old Beverage Center:
- Remove doors.
- Leave shelves in place so children may not easily climb inside.
- Have refrigerant removed by a qualified service technician.
INSTALLATION
This Use & Care Manual provides general operating instructions for your model. Use the appliance only as instructed in this Use & Care Manual. Before starting the appliance, follow these important first steps.
Location
- Choose a place near a grounded electrical outlet. Do Not use an extension cord or an adapter plug.
- For optimal performance, we recommend you install the unit where the ambient temperature is 70°F (21°C) to 78°F (26°C).
- Allow space around the unit for good air circulation. Leave a 2″ space on the back and sides of the Beverage Center for adequate circulation.
- Be sure the Beverage Center stays in the upright position during transport.
- Keep the Beverage Center from any hazardous or combustible agents.
WARNING
This appliance is intended for use in residential household and similar interior applications such as:
- Kitchen / Kitchenette
- Pantry Room
- Basement
- Enclosed Garage
- Other interior residential-type environments
CAUTION
Do not block the lower front of your appliance. You need sufficient air circulation to operate your appliance properly.
NOTE
The exterior walls may become quite warm as the compressor works to transfer heat from the inside. Expect temperatures as much as 30° F (-1°C) warmer than room temperature. For this reason it is particularly important in hotter climates to allow enough space for air circulation around your unit.
Leveling
The Beverage Center must have all bottom corners resting firmly on solid floor. The floor must be strong enough to support a fully loaded Beverage Center. NOTE: It is Very Important for your Beverage Center to be level in order to function properly. If the Beverage Center is not leveled during installation, the door may be misaligned and not close or seal properly, causing cooling, frost, or moisture problems.
To Level Your Beverage Center:
After removing all interior and exterior packaging materials, use a carpenter’s level to level the Beverage Center from front to back. Adjust the leveling legs in front, ½ bubble higher, so that the door closes easily when left halfway open.
Cleaning
- Wash any removable parts of the Beverage Center interior, and exterior with mild detergent and warm water. Wipe dry. Do not use harsh cleaners on these surfaces.
- Do not use razor blades or other sharp instruments, which can scratch the appliance surface when removing adhesive labels. Any glue left from the tape can be removed with a mixture of warm water and mild detergent, or touch the residue with the sticky side of tape already removed. Do not remove the serial plate.
Important Safeguards: Do not store food in your Beverage Center as interior temperature may not get cool enough to prevent spoilage. In summer months or areas of high humidity, the glass door may build up moisture. To remove the moisture, wipe it away
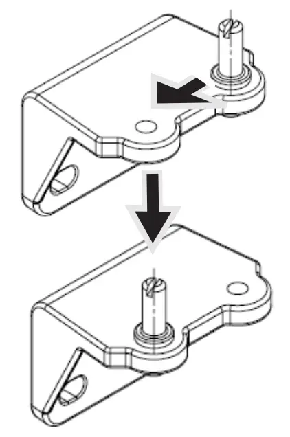
Handle Installation
- Set handle over the two mounting studs at top of door.

- Use hex head screw driver or allen wrench to tighten set screws from bottom to secure handle to door.

Reversing the door swing
The glass door can be opened from left to right and vice versa. Should you desire to change the opening direction, please follow these instructions.
NOTE
All parts removed must be saved to do the reinstallation of the door.
- Remove top cap. Remove the three screws that hold the upper hinge (right side) to the top of the cabinet. Carefully remove top hinge.

- Lift the door up off of bottom hinge and place it on a padded surface to prevent scratching it.

- Remove the three button plugs from the upper left corner of the cabinet and transfer them to the holes on the opposite side. Be sure to press the button plugs firmly into the holes.

- Remove three screws that hold the bottom hinge to lower end of cabinet. Remove the three button plugs from lower LH corner and transfer to holes where bottom hinge was just removed.

- Unscrew pins from both hinges and transfer to threaded hole on opposite side. Re-install bottom hinge in LH corner of cabinet using same three screws removed in Step 4.

- On bottom edge of door, transfer door stop bracket and bushing to holes on opposite side.

- On top edge of door, transfer the button plugs and bushing to hole on opposite side.

- Place bottom LH corner of door onto lower hinge, then install top hinge to cabinet. Make sure door is level and it seals properly against cabinet, then securely fasten three screws. Snap top cap back onto hinge.

SAVING ENERGY

- Install the Beverage Center in the coolest part of a dry and ventilated room, out of direct sunlight and away from heating ducts or registers. Do not place the Beverage Center next to heat-producing appliances such as a range, oven or dishwasher.
- Level the Beverage Center so the door closes tightly.
- Do not over crowd the Beverage Center or block cold air vents. Doing so causes the Beverage Center to run longer and use more energy. Do not line shelves with aluminum foil, wax paper or paper toweling. Liners interfere with cold air circulation, making the Beverage Center less efficient.
- Wipe containers dry before placing them in the Beverage Center. This cuts down on moisture build-up inside the unit.
- Organize the Beverage Center to reduce door openings. Remove as many items as needed at one time and close the door as soon as possible.
CONTROLS AND SETTINGS
Cool Down Period
For best performance, allow 4 hours for the unit to cool down completely. The Beverage Center runs continuously for the first several hours.
Temperature Control

Press this button once to increase temperature 1° F/C.
Press this button once to decrease temperature 1° F/C.
Adjust the temperature control buttons (up arrow and down arrow) until you reach the desired temperature.
The display flashes for a few seconds before you lock in the set point.
The temperature range MIN and MAX is 33° to 50°F (1° to 10°C).
Temperature display
Light: This button turns the light ON and OFF.
Power: This buttons turns the power ON and OFF.
Press both Light and Power at the same time to change between Fahrenheit and Celsius.
- The default temperature is 54°F (12°C). The temperature after power failure is the temperature set before the power failure.
- To prolong the life of the compressor, please wait for at least 5 minutes before you restart the Beverage Center after power failure.
Failure display
- If E and F display, please contact local service personnel for repair.
- If the temperature in the cooler is too low, it displays L.
- If the temperature in the cooler is too high, the screen displays H and will flash.
Under this state, the buzzer buzzes for 30 seconds. One minute later, the buzzer continues to buzz for the next 30 seconds. After 3 times, the alarm will not buzz any more. You can press any key to cancel sound alarm. - Storing too many wine bottles in the cooler may cause the temperature in the cooler to rise temporarily
FEATURES
Adjustable Interior Shelves
Multi-position adjustable interior shelves can be moved to any position for larger or smaller packages. The shipping spacers that stabilize the shelves for shipping should be removed and discarded. The Beverage Center comes equipped with three glass shelves.
Interior Light (Some models)
The light comes on automatically when the door is opened. The light can also be turned on and off by pressing the Light button on the control panel. Press the button twice to keep the light on when the door is closed.
Door Lock
This unit is equipped with a lock near the bottom of the door. Two keys are provided. Keep the keys out of reach of children.
CARE AND CLEANING
Cleaning the Beverage Center
Before cleaning, turn the temperature control to OFF, unplug the unit, and remove the bottles. Clean your appliance once a year or as needed.
Inside: Wash inside surfaces with a solution of 2 tbsp of baking soda in one qt (1.136 liters) of warm water. Rinse and dry. Wring excess water out of the sponge or cloth when cleaning in the area of the controls, or any electrical parts.
Wash the removable parts with the baking soda solution mentioned above, or mild detergent and warm water. Rinse and dry. Never use metallic scouring pads, brushes, abrasive cleaners, or alkaline solutions on any surface. Do not wash removable parts in a dishwasher.
Outside: Wash the cabinet with warm water and mild liquid detergent. Rinse well and wipe dry with a clean soft cloth.
Care of plastic parts
Be sure and protect the door gasket, and keep it clean at all times.
If the plastic parts in the unit remain contaminated by oil (animal or vegetable) for a long period of time, they will age and crack easily. Please clean them on a regular basis.
Vacation and Moving Tips
Vacations: If you will not use the appliance for several months:
- Remove all wine bottles and unplug the power cord.
- Clean and dry the interior thoroughly.
- Leave the door open slightly, blocking it open if necessary, to prevent odor and mold growth.
Moving: When moving the unit, follow these guidelines to prevent damage:
- Disconnect the power cord plug from the wall outlet.
- Remove wine bottles and clean the appliance.
- Secure all loose items by taping them securely in place to prevent damage.
- In a moving vehicle, secure the unit in an upright position to prevent movement. Also, protect the outside of the appliance with a blanket or similar item.
WARNING
If leaving the door open while on vacation, make certain children cannot climb inside and become entrapped.

| Beverage Center | |
❶ | Handle |
❷ | Appliance Control Display |
❸ | Glass shelves |
❹ | Glass door |
❺ | Light switch |
❻ | Adjustable legs |
TROUBLESHOOTING
1-800-374-4432 (United States)
1-800-265-8352 (Canada)
Visit our web site at
Frigidaire.com
| PROBLEM | CAUSE | CORRECTION |
| BEVERAGE CENTER OPERATION | ||
| Appliance does not run. |
|
|
| Appliance runs too much or too long. |
|
|
| Interior temperature is too cold. |
|
|
| Interior temperature is too warm. |
|
|
| SOUND AND NOISE | ||
| Louder sound levels when the unit is on. |
|
|
| SOUND AND NOISE (cont’d) | ||
| Longer sound levels when the compressor comes on. |
|
|
| Popping or cracking sound when the compressor comes on. |
|
|
| Boiling or gurgling sound, like water boiling. |
|
|
| Vibrating or rattling noise. |
|
|
| Snapping sound. |
|
|
| WATER/MOISTURE/FROST INSIDE | ||
|
|
|
| WATER/MOISTURE/FROST OUTSIDE | ||
| Moisture forms on outside |
|
|
| ODOR | ||
|
|
|
| DOOR PROBLEMS | ||
| Door will not close. |
|
|
| LIGHTING | ||
| Light bulb is not on. |
|
|
LIMITED WARRANTY
Your appliance is covered by a one year limited warranty. For one year from your original date of purchase, Electrolux will pay all costs for repairing or replacing any parts of this appliance that prove to be defective in materials or workmanship when such appliance is installed, used and maintained in accordance with the provided instructions.
Exclusions
This warranty does not cover the following:
- Products with original serial numbers that have been removed, altered or cannot be readily determined.
- Product that has been transferred from its original owner to another party or removed outside the USA or Canada.
- Rust on the interior or exterior of the unit.
- Products purchased “as-is” are not covered by this warranty.
- Food loss due to any Appliance or freezer failures.
- Products used in a commercial setting.
- Service calls which do not involve malfunction or defects in materials or workmanship, or for appliances not in ordinary household use or used other than in accordance with the provided instructions.
- Service calls to correct the installation of your appliance or to instruct you how to use your appliance.
- Expenses for making the appliance accessible for servicing, such as removal of trim, cupboards, shelves, etc., which are not a part of the appliance when it is shipped from the factory.
- Service calls to repair or replace appliance light bulbs, air filters, water filters, other consumables, or knobs, handles, or other cosmetic parts.
- Surcharges including, but not limited to, any after hour, weekend, or holiday service calls, tolls, ferry trip charges, or mileage expense for service calls to remote areas, including the state of Alaska.
- Damages to the finish of appliance or home incurred during installation, including but not limited to floors, cabinets, walls, etc.
- Damages caused by: services performed by unauthorized service companies; use of parts other than genuine Electrolux parts or parts obtained from persons other than authorized service companies; or external causes such as abuse, misuse, inadequate power supply, accidents, fires, or acts of God.
DISCLAIMER OF IMPLIED WARRANTIES; LIMITATION OF REMEDIES
CUSTOMER’S SOLE AND EXCLUSIVE REMEDY UNDER THIS LIMITED WARRANTY SHALL BE PRODUCT REPAIR OR REPLACEMENT AS PROVIDED HEREIN. CLAIMS BASED ON IMPLIED WARRANTIES, INCLUDING WARRANTIES OF MERCHANTABILITY OR FITNESS FOR A PARTICULAR PURPOSE, ARE LIMITED TO ONE YEAR OR THE SHORTEST PERIOD ALLOWED BY LAW, BUT NOT LESS THAN ONE YEAR. ELECTROLUX SHALL NOT BE LIABLE FOR CONSEQUENTIAL OR INCIDENTAL DAMAGES SUCH AS PROPERTY DAMAGE AND INCIDENTAL EXPENSES RESULTING FROM ANY BREACH OF THIS WRITTEN LIMITED WARRANTY OR ANY IMPLIED WARRANTY. SOME STATES AND PROVINCES DO NOT ALLOW THE EXCLUSION OR LIMITATION OF INCIDENTAL OR CONSEQUENTIAL DAMAGES, OR LIMITATIONS ON THE DURATION OF IMPLIED WARRANTIES, SO THESE LIMITATIONS OR EXCLUSIONS MAY NOT APPLY TO YOU. THIS WRITTEN WARRANTY GIVES YOU SPECIFIC LEGAL RIGHTS. YOU MAY ALSO HAVE OTHER RIGHTS THAT VARY FROM STATE TO STATE
If You Need Service
Keep your receipt, delivery slip, or some other appropriate payment record to establish the warranty period should service be required. If service is performed, it is in your best interest to obtain and keep all receipts. Service under this warranty must be obtained by contacting Electrolux at the addresses or phone numbers below.
This warranty only applies in the USA and Canada. In the USA, your appliance is warranted by Electrolux Major Appliances North America, a division of Electrolux Home Products, Inc. In Canada, your appliance is warranted by Electrolux Canada Corp. Electrolux authorizes no person to change or add to any obligations under this warranty. Obligations for service and parts under this warranty must be performed by Electrolux or an authorized service company. Product features or specifications as described or illustrated are subject to change without notice.
USA
1-800-374-4432
Frigidaire
10200 David Taylor Drive
Charlotte, NC 28262
Our home is your home. Visit us if you need help with any of these things:
owner support
accessories
service
registration
(See your registration card for more information.)
Frigidaire.com
1-800-374-4432
Frigidaire.ca
1-800-265-8352































