BEVERAGE CENTER
Use & Care Guide
W11176204A
BEVERAGE CENTER SAFETY
Your safety and the safety of others are very important.
We have provided many important safety messages in this manual and on your appliance. Always read and obey all safety messages.
This is the safety alert symbol.
This symbol alerts you to potential hazards that can kill or hurt you and others.
All safety messages will follow the safety alert symbol and either the word “DANGER” or “WARNING.”
These words mean:
DANGER You can be killed or seriously injured if you don’t immediately follow instructions.
DANGER You can be killed or seriously injured if you don’t follow instructions.
All safety messages will tell you what the potential hazard is, tell you how to reduce the chance of injury, and tell you what can happen if the instructions are not followed.
IMPORTANT SAFETY INSTRUCTIONS
WARNING: To reduce the risk of fire, and electric shock. or injury to persons when using your appliance. follow basic precautions. including the following:
- Children should be supervised to ensure that they do not play with the appliance.
- This appliance is not intended for use by persons (including children) with the reduced physical. sensory. or mental capabilities. or lack of experience and knowledge. unless they have been given supervision or instruction concerning the use of the appliance by a person responsible for their safety.
- Do not use an extension cord.
- If the power supply cord is damaged. it must be replaced by the manufacturer. its service agent. or a similarly qualified person in order to avoid a hazard.
- Connect to potable water supply only.
- This appliance is intended to be used in households and similar applications such as staff kitchen areas in shops. offices. and other working environments: farmhouses and clients in hotels. motels. and other residential-type environments: bed and breakfast-type environments: andcatenng and similar non-retail applications.
- Do not store explosive substances such as aerosol cans with a flammable propellant in this appliance.
- Do not use replacement parts that have not been recommended by the manufacturer (e.g.. parts made at home using a 3D printer).
SAVE THESE INSTRUCTIONS
Proper Disposal of Your Old Beverage Center
WARNING: Risk of child entrapment. Before You Throw Away Your Old Refrigerator or Freezer:
- Take off the doors.
- Leave the shelves in place so that children may not easily climb inside.
WARNING
Suffocation Hazard
Remove doors from your old refrigerator.
Failure to do so can result in death or brain damage.
IMPORTANT: Child entrapment and suffocation are not problems of the past. Junked or abandoned refrigerators are still dangerous – even if they will sit for “just a few ays.” If you are getting rid of your old refrigerator, please follow these instructions to help prevent accidents.
Important information to know about the disposal of refrigerants:
Dispose of the refrigerator in accordance with Federal and Local regulations. Refrigerants must be evacuated by a licensed, EPA-certified refrigerant technician in accordance with established procedures.
INSTALLATION INSTRUCTIONS
Location Requirements
| Explosion Hazard Keep flammable materials and vapors, such s gasoline, away from the beverage center. Failure to do so can result in death, explosion, or fire. |
To ensure proper ventilation for your Beverage Center, allow for a 1/4″ (6.35 mm) space on each side and at the top. When installing your Beverage Center next to a fixed wall, leave 21/2″ (6.35 cm) minimum clearance on the hinge side to allow for the door to swing open.
NOTE: It is recommended that you do not install the Beverage Center near an oven, radiator, or another heat source. Do not install in a location where the temperature will fall below 55°F (13°C). For best performance, do not block the base grille.
Opening Dimensions
- Height dimensions are shown with the leveling legs extended to the minimum height.
NOTE: When leveling legs are fully extended, add 5/8″ (1.6 cm) to the height dimensions. - If the floor of the opening is not level with the kitchen floor, shim the opening to make it level with the kitchen floor.
Critical dimensions:
A. 14.3/4″ (37.5 cm) utility opening
B. 24″ (60.96 cm) minimum opening width
Electrical Requirements
| Electrical Shock Hazard Plug into a grounded 3-prong outlet. Do not remove the ground prong. Do not use an adapter. Do not use an extension cord. Failure to follow these instructions can result in death fire, or electrical shock. |
Before you move your Beverage Center into its final location, it is important to make sure you have the proper electrical connection.
Recommended grounding method A 115 Volt, 60 Hz., AC only, 15A or 20A fused, grounded electrical supply is required. It is recommended that a separate circuit serving only your Beverage Center be provided. Use an outlet that cannot be turned off by a switch. Do not use an extension cord.
NOTE: Before performing any type of installation, or cleaning, unplug Beverage Center or disconnect the power. Unpack the Beverage Center
WARNING
Excessive Weight Hazard Use two or more people to move and install a beverage center.
Failure to do so can result in back or another injury.
Remove the Packaging
- Remove tape and glue residue from surfaces before turning on the Beverage Center. Rub a small amount of liquid dish soap over the adhesive with your fingers. Wipe with warm water and dry.
- Do not use sharp instruments, rubbing alcohol, flammable fluids, or abrasive cleaners to remove tape or glue. These products can damage the surface of your Beverage Center. For more information, see “Beverage Center Safety.”
- Dispose of/recycle all packaging materials.
When Moving Your Beverage Center
Your Beverage Center is heavy. When moving the Beverage Center for cleaning or service, be sure to cover the floor with cardboard or hardboard to avoid floor damage. Always pull the Beverage Center straight out when moving it. Do not wiggle or “walk” the Beverage Center when trying to move it, as floor damage could occur. Having someone push against the front top of the Beverage Center takes some weight off the front leveling legs. This makes it easier to push the unit on the rear rollers.
Clean Before Using
After you remove all of the package materials, clean the inside of your Beverage Center before using it. See the cleaning instructions in “Beverage Center Care”.
Important information to know about glass shelves and covers:
Do not clean glass shelves or covers with warm water when they are cold. Shelves and covers may break if exposed to sudden temperature changes or impact, such as bumping. Tempered glass is designed to shatter into many small, pebble-size pieces. This is normal. Glass shelves and covers are heavy. Use both hands when removing them to avoid dropping.
Reverse Door Swing (optional)
Before you move your Beverage Center into its final location, it is important to make sure you have the proper electrical connection.
Tools Needed:
Phillips screwdriver and an 8 mm wrench (or 5/16″ in wrench).
- Unplug Beverage Center or disconnect the power.
- Using the screwdriver, remove the screws from each side of the top of the Beverage Center cabinet and set them aside.
NOTE: There are seven screws in total. Do not discard. - Remove the top hinge and set it aside.

- Lift the door straight up and off the bottom hinge.
- Set door lying flat with gasket facing up. The door should be placed on a debris-free surface such as cardboard or blanket to avoid scratches.
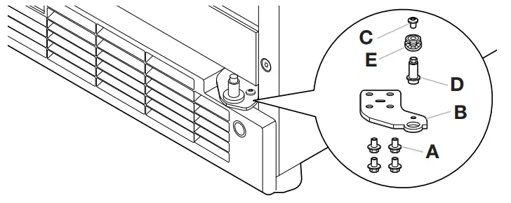
- Remove the screws (B) fastening the black metal door stopper (C) and re-attach it on the opposite side.

- Remove the screws from each side of the kickplate and set them aside.
- Pull out the kickplate and set it aside.
- With the wrench, remove the screws (A) fastening the bottom hinge (B) to the Beverage Center cabinet, and set aside. There are four screws in total.

- Using the screwdriver, remove the screw (C) fastening the plastic hinge door latch (E). Set the screw aside. Then, unscrew the bottom hinge shaft (D) and plastic hinge door latch (E) and set them aside.
- Flip over the bottom hinge on the opposite side. As shown in the images below and reverse the process in step 10.

- Move the hinge to the opposite side and completely tighten the screws (four total).

- Reattach the base grill and tighten it with the two screws provided.

- Place the door straight down and on the bottom hinge.
Fasten the top hinge with three silver screws and move the remaining four screws to the opposite side. Completely tighten all seven screws.
Door Closing
Your Beverage Center has two leveling legs. If your Beverage Center seems unsteady or you want the door to close more easily, adjust the Beverage Center’s tilt using the instructions below.
| Electrical Shock Hazard Plug into a grounded 3-prong outlet. Do not remove the ground prong. Do not use an adapter. Do not use an extension cord. Failure to follow these instructions can result in death, fire, or electrical shock. |
- Plug into a grounded 3-prong outlet.
WARNING
Excessive Weight Hazard Use two or more people to move and install the beverage center. Failure to do so can result in back or another injury. Move the Beverage Center into its final location.
- Turn the leveling legs to the right to lower the Beverage Center or turn the leveling legs to the left to raise it. It may take several turns of the leveling legs to adjust the tilt of the Beverage Center.
NOTE: Having someone push against the top of the Beverage Center takes some weight off the leveling legs. This makes it easier to adjust the leveling legs.
- Open the door again to make sure that it closes as easily as you like. If not, tilt the Beverage Center slightly more to the rear by turning both front leveling screws to the left. It may take several more turns, and you should turn both leveling legs the same amount.
Base Grille
Tools Needed: Phillips screwdriver
Remove the Base Grille
- Open the Beverage Center door.
- Using the screwdriver, remove the two screws.
- Remove the base grille.

Replace the Base Grille
- Open the Beverage Center door.
- Position the base grille so that screw holes align into place.
Replace the two screws. Tighten the screws.
BEVERAGE CENTER USE
Normal Sounds
Your new Beverage Center may make sounds that your old one didn’t make. Because the sounds are new to you, you might be concerned about them. Most of the new sounds are normal. Hard surfaces, such as the flooring and surrounding structures, can make the sounds seem louder. The following describes the kinds of sounds and what may be making them.
- Your Beverage Center is designed to run more efficiently to keep your food items at the desired temperatures and to minimize energy usage. The high-efficiency compressor and fans may cause your Beverage Center to run longer than your old one. You may also hear a pulsating or high-pitched sound from the compressor or fans adjusting to optimize performance.
- Rattling noises may come from the flow of refrigerant or items stored inside the Beverage Center.
- As each cycle ends, you may hear a gurgling sound due to the refrigerant flowing in your Beverage Center.
- You may hear water running into the drain pan when the Beverage Center is defrosting.
- You may hear clicking sounds when the Beverage Center starts or stops running.
Using the Control
The control panel is located on the middle separator (mullion) of the Beverage Center. The control panel has no mechanical parts or buttons.
Turning Control On/Off
The first time that the Beverage Center is plugged in, the control will be in Off mode.
To turn ON the unit, press
the button for 3 seconds.
To turn OFF the unit, press
the button for 3 seconds.
Viewing Celsius Temperatures
Press
the touchpad to toggle between displaying the temperature in degrees Fahrenheit and degrees Celsius. The corresponding indicator will illuminate.
Adjusting the Interior Light
Press
the touchpad to toggle between ON and OFF.
Adjusting the Controls
There are three temperature control set points for this model:
For your convenience, your control is preset at the default temperature.
- To adjust set point temperatures, press “+” (plus) or “-” (minus) until the desired temperature setting is reached.
NOTES:
- The default recommended temperature for the Beverage in The Center is 39°F (4°C) Upper Compartment and 55°F (13°C) for Lower Compartment.
- Wait at least 24 hours between adjustments so the Beverage Center can acclimate.

Beverage Center
settingUpper
CompartmentLower
CompartmentCold 33°F (1°C) 42°F (6°C) Medium 39°F (4°C) 50°F (10°C) Cool 42°F (6°C) 55°F (13°C)
BEVERAGE CENTER FEATURES
Beverage Center Shelves
Your model may have glass or wire shelves. Store similar foods together. This reduces the time the Beverage Center door is open and saves energy.
To Remove and Replace Shelves:
- Remove the shelf by lifting up the front and pulling it out of the shelf slots.
- Replace the shelf by inserting it into the shelf slots and pushing it toward the back of the compartment.

Important information to know about glass shelves and covers:
Do not clean glass shelves or covers with warm water when they are cold. Shelves and covers may break if exposed to sudden temperature changes or impact, such as bumping. Tempered glass is designed to shatter into many small, pebble-size pieces. This is normal. Glass shelves and covers are heavy. Use both hands when removing them to avoid dropping.
Remove and Replace the Wine Racks
NOTE: When storing large bottles or magnums, remove the rack directly above.
- Pull the rack forward until it stops.
- Lift up on the left-hand lever (A) while pressing down on the right-hand lever to release the rack. Pull the rack forward and lift it up and out of the rack supports.

- Replace the rack by inserting the rack into the supports and sliding it toward the rear of the Beverage Center.
Stocking the Beverage Center

To Stock the Beverage Center:
- Place juices, sodas, or other canned beverages on the glass shelves.
Top Wine Rack:
- Slide the wine rack open.
- Starting on the left-hand side of the wine rack, place the first bottle with the neck of the bottle facing the front of the Beverage Center.
- Place the next bottle on the rack with the neck of the bottle facing the back of the Beverage Center. Alternate the direction of the bottles, in this manner, until the rack is full.
- Slide the wine rack into place.
NOTE: The wine rack can be stocked with the bottles facing either direction, however, to optimize storage adjacent bottles should be facing in opposite directions.
Bottom Rack 6 Bottles
Bottom Wine Rack
Starting from the left-hand side of the bottom rack, place the first bottle with the neck of the bottle facing the front of the Beverage Center. Continues to place the remaining bottles facing in the same direction.
BEVERAGE CENTER CARE
Cleaning
| Explosion Hazard Use nonflammable cleaner. Failure to do so can result in death, explosion, or fire. |
Clean the Beverage Center about once a month to avoid the buildup of odors. Wipe up spills immediately.
To clean your Beverage Center:
- Unplug Beverage Center or disconnect the power.
- Remove all removable parts from inside, such as shelves, etc.
- surfaces thoroughly. Use a clean sponge or soft cloth and mild detergent in warm water.
Do not use abrasive or harsh cleaners such as window sprays, scouring cleansers, flammable fluids, cleaning waxes, concentrated detergents, bleaches or cleansers containing petroleum products on plastic parts, interior, and door liners, or gaskets. Do not use paper towels, scouring pads, or other harsh cleaning tools. These can scratch or damage materials. To help remove odors, you can wash interior walls with a mixture of warm water and baking soda (2 tbs to 1 qt (26 g to 0.95 L) of water). - Wash stainless steel and painted metal exteriors with a clean sponge or soft cloth and mild detergent in warm water. Do not use abrasive or harsh cleaners, or cleaners containing chlorine. These can scratch or damage materials. Dry thoroughly with a soft cloth.
- Replace the removable parts.
- Clean the condenser coils regularly. They are located behind the base grille. Coils may need to be cleaned as often as every other month. This may help save energy.
Remove the base grille. See “Base Grille”.
Use a vacuum cleaner with an extended attachment to clean the condenser coils when they are dusty or dirty.
■ Replace the base grille. - Plug in Beverage Center or reconnect the power.
Vacation and Moving Care Vacation
If you choose to turn the Beverage Center off before you leave, follow these steps.
- Remove all contents from the Beverage Center.
- Unplug the Beverage Center.
- Clean the Beverage Center. See “Cleaning”.
- Tape a rubber or wood block to the top of the door to prop it open far enough for air to get in. This stops odor and mold from building up.
Moving
When you are moving your Beverage Center, follow these eps to prepare it for the move.
- Remove all contents from the Beverage Center.
- Unplug the Beverage Center.
- Clean, wipe and dry it thoroughly.
- Take out all removable parts, wrap them well, and tape them together so they don’t shift and rattle during the move.
- Tape the doors shut and tape the power cord to the Beverage Center. When you get to your new home, put everything back and refer to the “Installation Instructions”
section for preparation instructions.
TROUBLESHOOTING
Try the solutions suggested here first in order to avoid the cost of an unnecessary service call.
Your Beverage Center will not operate
| Electrical Shock Hazard Plug into a grounded 3-prong outlet. Do not remove ground prong. Do not use an adapter. Do not use an extension cord. Failure to follow these instructions can result in eath, fire, or electrical shock. |
- Is the power supply cord unplugged?
Plug into a grounded 3-prong outlet. - Has a household fuse blown, or has a circuit breaker tripped?
Replace the fuse or reset the circuit. - Is the Beverage Center Control turned to the OFF position?
See “Using the Control”.
The motor seems to run too much - Is the temperature outside hotter than normal?
Expect the motor to run longer under warm conditions. At normal outdoor temperatures, expect your motor to run about 40 % to 80 % of the time. Under warmer conditions, expect it to run even more of the time. - Has a large amount of food just been added to the Beverage Center?
Adding a large amount of food warms the Beverage Center. It is normal for the motor to run longer
in order to cool the Beverage Center back down. - Is the door opened often?
Expect the motor to run longer when this occurs. In order to conserve energy, try to get everything you need out of the Beverage Center at once,
keep food organized so it is easy to find, and close the door as soon as the food is removed. - Is the control set correctly for the surrounding conditions?
See “Using the Control”. - Is the door closed completely?
Push the door firmly shut. If it will not shut all the way, see “The door will not close completely” later in this section. - Are the condenser coils dirty?
This obstructs air transfer and makes the motor work harder. Clean the condenser coils. See “Cleaning”. The temperature is too warm - Is the door opened often? Be aware that the Beverage Center will warm when this occurs. In order to keep the Beverage Center cool, try to get everything you need out
of the Beverage Center at once, keep food organized so it is easy to find, and close the door as soon as the food is removed. - Has a large amount of food just been added to the Beverage Center? Adding a large amount of food warms the Beverage Center. It can take several hours for the
Beverage Center to return to the normal temperature. - Is the control set correctly for the surrounding conditions? See “Using the Control”.
- Is the base grille blocked? For best performance, do not install the Beverage Center behind a cabinet door or block the base grille.
The door is difficult to open
| Explosion Hazard Use nonflammable cleaner. Failure to do so can result in death, explosion, or fire. |
- Is the gasket dirty or sticky? Clean the gasket and the surface that it touches. Rub a thin coat of paraffin wax on the gasket following cleaning. The door will not close completely
- Are food packages blocking the door open? Rearrange containers so that they fit more tightly and take up less space.
- Are the shelves out of position? Put the shelves back into their correct positions. See “Beverage Center Use” for more information.
WARNING
Explosion Hazard Use nonflammable cleaner. Failure to do so can result in death, explosion, or fire - Is the gasket sticking? Clean the gasket and the surface that it touches. Rub a thin coat of paraffin wax on the gasket following cleaning.
- There is interior moisture buildup
- Is the door opened often? To avoid humidity buildup, try to get everything you need out of the Beverage Center at once, keep food organized so it is easy to find, and close the door as soon as the food is removed. When the door is opened, humidity from the room air enters the Beverage Center. The more often the door is opened, the faster humidity builds up, especially when the room itself is very humid.
- Is it humid? It is normal for moisture to build up inside the Beverage Center when the air is humid.
- Is the food packaged correctly? Check that all food is securely wrapped. Wipe off damp food containers before placing them in the Beverage Center.
- Is the control set correctly for the surrounding conditions? See “Using the Control”.
ASSISTANCE OR SERVICE
Before calling for assistance or service, please check “Troubleshooting.” It may save you the cost of a service call. If you still need help, follow the instructions below. When calling, please know the purchase date and the complete model and a serial number of your appliance. This information will help us to better respond to your request. If You Need Replacement Parts If you need to order replacement parts, we recommend that you only use factory-specified replacement parts. Factory-specified replacement parts will fit right and work right because they are made with the same precision used to build every new Whirlpool ® appliance. To locate factory-specified replacement parts in your area, call us or your nearest designated service center.
In the U.S.A.
Call the Whirlpool Customer eXperience Center toll free: 1-800-253-1301.
Our Consultants Provide Assistance With:
- Features and specifications on our full line of appliances.
- Installation information.
- Use and maintenance procedures.
- Accessory and repair parts sales.
- Specialized customer assistance (Spanish speaking, hearing impaired, limited vision, etc).
- Referrals to local dealers, repair parts distributors, and service companies. Whirlpool designated service technicians are trained to fulfill the product warranty and provide after-warranty service, anywhere in the United States. To locate the Whirlpool designated service company in your area, you can also look in your telephone directory Yellow Pages.
For Further Assistance
If you need further assistance, you can write to Whirlpool with any questions or concerns at:
Whirlpool Brand Home Appliances Customer eXperience Center
553 Benson Road
Benton Harbor, MI 49022-2692
Please include a daytime phone number in your correspondence.
In Canada
Call the Whirlpool Canada Customer eXperience Center toll free: 1-800-807-6777 or visit our website at www.whirlpool.ca.
Our Consultants Provide Assistance With:
- Features and specifications on our full line of appliances.
- Use and maintenance procedures.
- Accessory and repair parts sales.
- Scheduling of Service. Whirlpool designated service technicians are trained to fulfill the product warranty and provide after-warranty service, anywhere in Canada.
For Further Assistance
If you need further assistance, you can write to Whirlpool Canada with any questions or concerns at: Whirlpool Brand Home Appliances Customer eXperience Centre 200 – 6750 Century Ave. Mississauga, Ontario L5N 0B7 Please include a daytime phone number in your correspondence.
Accessories
The following accessory is available for your Beverage Center.
To order accessories, contact us and ask for the part number.
In the U.S, A., visit our webpage www.whirlpool.com/accessories or call 1-800-253-1301.
In Canada, visit our webpage www.whirlpoolparts.ca or call 1-800-807-6777.
Stainless Steel Cleaner & Polish Order Part #4396095
WHIRLPOOL®REFRIGERATION LIMITED WARRANTY
ATTACH YOUR RECEIPT HERE. PROOF OF PURCHASE IS REQUIRED TO OBTAIN WARRANTY SERVICE.
Please have the following information available when you call the Customer eXperience Center:
- Name, address, and telephone number
- The model number and serial number
- A clear, detailed description of the problem
- Proof of purchase including dealer or retailer name and address
IF YOU NEED SERVICE:
- Before contacting us to arrange service, please determine whether your product requires repair. Some questions can be addressed without service. Please take a few minutes to review the Troubleshooting or Problem Solver section of the Use and Care Guide, scan the QR code on the right to access additional resources, or visit www.whirlpool.com/product_help.
- All warranty service is provided exclusively by our authorized Whirlpool Service Providers. In the U.S. and Canada, direct all requests for warranty service to Whirlpool Customer eXperience Center.
In the U.S.A., call 1-800-253-1301. In Canada, call 1-800-807-6777.
If outside the 50 United States or Canada, contact your authorized Whirlpool dealer to determine whether another warranty
applies. www.whirlpool.com/product_help.
LIMITED WARRANTY
For one year from the date of purchase, when this major appliance is installed, operated, and maintained according to instructions attached to or furnished with the product, Whirlpool Corporation or Whirlpool Canada LP (hereafter “Whirlpool”) will pay for Factory Specified Replacement Parts and repair labor to correct defects in materials or workmanship that existed when this major appliance was purchased, or at its sole discretion replace the product. In the event of product replacement, your appliance will be warranted for the remaining term of the original unit’s warranty period.
SECOND THROUGH FIFTH YEAR LIMITED WARRANTY ON CAVITY LINER AND SEALED REFRIGERATION SYSTEM
In the second through fifth years from the date of purchase, when this major appliance is installed, operated, and maintained according to the instructions attached to or furnished with the product, Whirlpool brand will pay for factory-specified replacement parts and repair labor for the following components to correct non-cosmetic defects in materials and workmanship in this part that prevent the function of the Beverage Center and that existed when this major appliance was purchased:
- Beverage Center/freezer cavity liner if the part cracks due to defective materials or workmanship.
- Sealed Refrigeration system (includes compressor, evaporator, condenser, dryer, and connecting tubing).
YOUR SOLE AND EXCLUSIVE REMEDY UNDER THIS LIMITED WARRANTY SHALL BE PRODUCT REPAIR AS PROVIDED HEREIN. Service must be provided by a Whirlpool-designated service company. This limited warranty is valid only in the United States or Canada and applies only when the major appliance is used in the country in which it was purchased. This limited warranty is effective from the date of the original consumer purchase. Proof of original purchase date is required to obtain service under this limited
ITEMS EXCLUDED FROM THE WARRANTY
- Commercial, non-residential, multiple-family use, or use inconsistent with the published user, operator, or installation instructions.
- In-home instruction on how to use your product.
- Service to correct improper product maintenance or installation, installation not in accordance with electrical or plumbing codes, or correction of household electrical or plumbing (i.e. house wiring, fuses, or water inlet hoses).
- Consumable parts (i.e. light bulbs, batteries, air or water filters, preservation solutions, etc).
- Defects or damage caused by the use of non-genuine Whirlpool parts or accessories.
- Conversion of products from natural gas or L.P. gas.
- Damage from accident, misuse, abuse, fire, floods, acts of God or use with products not approved by Whirlpool.
- Repairs to parts or systems to correct product damage or defects caused by unauthorized service, alteration, or modification of the appliance.
- Cosmetic damage including scratches, dents, chips, and other damage to the appliance finishes unless such damage results from defects in materials and workmanship and is reported to Whirlpool within 30 days.
- Discoloration, rust, or oxidation of surfaces resulting from caustic or corrosive environments including but not limited to high salt concentrations, high moisture or humidity, or exposure to chemicals.
- Food or medicine loss due to product failure.
- Pick-up or delivery. This product is intended for in-home repair.
- Travel or transportation expenses for service in remote locations where an authorized Whirlpool servicer is not available.
- Removal or reinstallation of inaccessible appliances or built-in fixtures (i.e. trim, decorative panels, flooring, cabinetry, islands, countertops, drywall, etc.) that interfere with servicing, removal, or replacement of the product.
- Service or parts for appliances with original model/serial numbers removed, altered, or not easily determined. The cost of repair or 10. 11. 12. 13. 14. 15. replacement under these excluded circumstances shall be borne by the customer.
The cost of repair or replacement under these excluded circumstances shall be borne by the customer.
DISCLAIMER OF IMPLIED WARRANTIES
IMPLIED WARRANTIES, INCLUDING ANY IMPLIED WARRANTY OF MERCHANTABILITY OR IMPLIED WARRANTY OF FITNESS FOR A PARTICULAR PURPOSE, ARE LIMITED TO ONE YEAR OR THE SHORTEST PERIOD ALLOWED BY LAW. Some states and provinces do not allow limitations on the duration of implied warranties of merchantability or fitness, so this limitation may not apply to you. This warranty gives you specific legal rights, and you also may have other rights that vary from state to state or province to province.
DISCLAIMER OF REPRESENTATIONS OUTSIDE OF WARRANTY
Whirlpool makes no representations about the quality, durability, or need for service or repair of this major appliance other than the representations contained in this warranty. If you want a longer or more comprehensive warranty than the limited warranty that comes with this major appliance, you should ask Whirlpool or your retailer about buying an extended warranty.
LIMITATION OF REMEDIES; EXCLUSION OF INCIDENTAL AND CONSEQUENTIAL DAMAGES
YOUR SOLE AND EXCLUSIVE REMEDY UNDER THIS LIMITED WARRANTY SHALL BE PRODUCT REPAIR AS PROVIDED HEREIN.
WHIRLPOOL SHALL NOT BE LIABLE FOR INCIDENTAL OR CONSEQUENTIAL DAMAGES. Some states and provinces do not allow the exclusion or limitation of incidental or consequential damages, so these limitations and exclusions may not apply to you. This warranty gives you specific legal rights, and you also may have other rights that vary from state to state or province to province. Keep this book and your sales slip together for future reference. You must provide proof of purchase or installation date for in-warranty service. Write down the following information about your major appliance to better help you obtain assistance or service if you ever need it.
You will need to know your complete model number and serial number. You can find this information on the model and serial number label located on the product.
Dealer name _____________________________________________
Address _________________________________________________
Phone number ___________________________________________
Model number ___________________________________________
Serial number ____________________________________________
Purchase date ___________________________________________
®/™ ©2021 Whirlpool. All rights reserved.
W11176204A
For questions about features, operation/performance, parts or services,
call: 1-800-253-1301
In Canada, call for assistance at 1-800-807-6777 or visit our website at
www.whirlpool.com or www.whirlpool.ca
References
Shop Kitchen Appliances: Washing Machines, Dryers & More | Whirlpool
Home, Kitchen & Laundry Appliances & Products | Whirlpool
Home, Kitchen & Laundry Appliances & Products | Whirlpool
Home Appliance Parts & Accessories | Whirlpool
Home - Product Help | Whirlpool
Certified Genuine Whirlpool Parts | Whirlpool Parts Online











NOTE: The wine rack can be stocked with the bottles facing either direction, however, to optimize storage adjacent bottles should be facing in opposite directions.
■ Replace the base grille.


















