HUSKY G7202S-US 72 Inch 2-Drawer Workbench

Safety Information
To reduce the risk of serious injury, read and follow the safety instructions below before assembling and using this product.
- This product is intended for indoor use only.
- This product is not designed for commercial nor industrial usage.
- Solid wood refers to rubber wood.
CAUTION: DO NOT alter this product in any manner. For example, do not weld external bar locks or attach electrical equipment. This may cause product damage or personal injury. Check all nuts and bolts periodically for tightness. When required, tighten them.
Specifications
- Maximum load for wood top: 1200 lbs. / 544.2 kg
- Maximum load for drawer: 100 lbs. / 45.4 kg
- Maximum load for pegboard: 75 lbs. / 34 kg
- Maximum total load: 1475 lbs. / 669 kg
Pre-Installation
TOOLS REQUIRED 
HARDWARE INCLUDED
- AA M6 x 16 hex socket head screw 44
- BB M4 x 6 Phillips pan head tapping bolt 12
- CC Locking hook 2
- DD Locking clip 2
- EE Lock 2
- FF M4 x 5 Phillips head bolt 16
- GG Adjustable feet 4
- HH Grommet 2
PACKAGE CONTENTS 
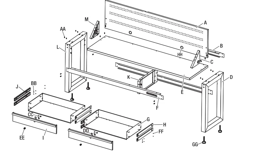
- A Pegboard 1
- B Back stiffener 2
- C Right side bracket 1
- D Right bench leg 1
- E Wood top 1
- F Front stiffener 1
- G Drawer panel 2
- H Right slide 4
- I Drawer front panel 2
- J Left slide 4
- K Slide mounting panel 1
- L Left bench leg 1
- M Left side bracket 1
Assembly
ATTACH THE BENCH LEGS
NOTE: The back side of the bench leg is the side with four holes, two \:.l at the top part and two at the bottom part.
- Distinguish the front and back of the wood top (E) per below drawing.
- Lay the wood top (E) on its face. Insert eight M6 x 16 hex socket head screws (AA) BY HALF to the bench leg (D & L) mounting holes at the bottom of the wood top (E).
- Put the bench legs (D & L) onto the half inserted screws at the wood top (E) through the gourd slots at the bench legs’ top.
- Move the bench legs (D & L) to make the screws located at the narrow sections of the gourd slots.
- Tighten all the screws.

ATTACH THE SLIDE MOUNTING PANEL
Attach the slide mounting panel (K) to the wood top (E) with three M6 x 16 hex socket head screws (AA).
ATTACH THE STIFFENERS
- Attach the back stiffeners (B) to the back of the bench legs (D & L) with twelve M6 x 16 hex socket head screws (AA). Tighten securely.
- Attach the front stiffener (F) to the front of the bench legs (D & L) with eight M6 x 16 hex socket head screws (AA).

INSTALL THE ADJUSTABLE FEET
- Screw the adjustable feet (GG) into the bottom holes of the bench legs (D & L).
- Turn over the workbench.

ATTACH THE PEGBOARD
- Attach the pegboard (A) to the wood top (E) with five M6 x 16 hex socket head screws (AA). Tighten securely.
- Install the grommets (HH).

ATTACH THE SIDE BRACKETS
- Attach the side brackets (C & M) to the pegboard (A) by inserting the side brackets’ back hooks into the slots at the pegboard (A).
- Secure the side brackets (C & M) to the wood top (E) and pegboard (A) with eight M6 x 16 hex socket head screws (AA). Tight securely.

ASSEMBLE THE DRAWER
NOTE: Make sure your platform is free of debris or the drawer U bottom is protected before laying the drawer on its bottom.
- Step 1: Lay a drawer panel (G) on its bottom. The bottom side is the side with stiffeners.

- Step 2: Bend up the side panels upright to 90°.

- Step 3: Bend all the clips towards the back panel until they lean against the back panel.

- Step 4:
- Lay down the drawer front panel (I) on its face with a soft mat underneath for protection.
- Put the drawer body’s front section onto the drawer front panel (I).
- Slide the drawer body’s front bottom bended edge into the bottom groove of the front panel.

- Step 5: Turn up the drawer front panel (I) upright to 90°. Make sure the bottom bended edge of the drawer body is surrounded by the bottom groove of the drawer front panel (I).

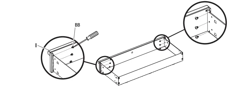
- Step 6: Fasten the drawer front panel (I) and side panels together by screwing six M4 x 6 Phillips pan head tapping bolts (BB) through the side panels to the drawer front panel (I).

- Step 7: Bend inwards all the clips at the bottom of the drawer front panel by 90° with the help of a screwdriver.

- Step 8: Release the nut at the end of the lock (EE).
- Attach the lock (EE) to the drawer front (I). Make sure the lock code is at the lock face’s top as shown below.
- Secure the lock (EE) to the drawer front by using the clip (DD). Make sure the clip is tightly against the drawer front panel (I) and the lock is tightly clipped.
- Attach the locking latch (CC) and nut to the lock as shown below.

INSTALL THE SLIDES AND DRAWER
- Slide the back clip of the outer rail of a left slide (J) into the back slot at the left bench leg (L).
- Slide the front clip of the outer rail into the slot at the front of the left bench leg (L).
- Use a screwdriver to pry out the clip at bench leg by 90° to make it stand right above the side.
- Repeat the same procedure to install the other slides to the bench legs (D & L) and slide mounting panel (K).

- Attach the drawers to the slides by sliding the slots at the drawers’ side panels onto the upright clips of the slides.
- Secure the drawers to the slides by screwing sixteen M4 x 5 Phillips head bolts (FF) through the drawers to the slides.

Drawer Removal
- Pull the drawer out until it is extended to the maximum. There are two black release levers: one on each side of the drawer.
- Pull one up while you push the other one down simultaneously. At the same time, pull the drawer out of the drawer slides.

Drawer Replacement
Extend the drawer slides from the cabinet. Insert the brackets on each side of the drawer into the slots in the cabinet slides, being careful that they are properly positioned. Once properly inserted, completely close the drawer to set the slides in their proper positions.
Maintenance
- Check all nuts and bolts periodically for tightness. When required, tighten them.
- Lubricate the slides semi-annually with a spray lubricant or light duty oil.
Care and Cleaning
- Periodically clean the workbench surfaces with a soft rag and water.
- Grease and oil can be removed with most standard cleaning fluids. For safety, use nonflammable cleaning fluid.
Service Parts

72 in. 2 Drawer Workbench (Black): Model #: G7202S-US; SKU 1006 701 944

72 in. 2 Drawer Workbench (Red): Model #: G7202SR-US; SKU 1006 701 929






























