HUSKY G4801S-US Solid Wood Top Workbench

Questions, problems, missing parts?
Before returning to the store, call Husky Customer Service
- 8 a.m. – 7 p.m., EST, Monday – Friday 9 a.m. – 6 p.m., EST, Saturday
- 1-888-43-HUSKY
- WWW.HUSKYT00LS.C0M
THANK YOU
We appreciate the trust and confidence you have placed in Husky through the purchase of this workbench. We strive to continually create quality products designed to enhance your home. Visit us online to see our full line of products available for your home improvement needs. Thank you for choosing Husky!
Safety Information
To reduce the risk of serious injury, read and follow the safety instructions below before assembling and using this product.
- This product is intended for indoor use only.
- This product is not designed for commercial nor industrial usage.
- Solid wood refers to rubber wood.
- CAUTION: DO NOT alter this product in any manner. For example, do not weld external bar locks or attach electrical equipment. This may cause product damage or personal injury.
- CAUTION: Check all nuts and bolts periodically for tightness. When required, tighten them.
- CAUTION: DO NOT leave children unattended near this product.
- WARNING: Keep the product on level surfaces. The product could become unstable and it may tip over if stored or moved on anuneven surface ,which may cause personal injury, death or product damge.
- WARNING: Use at least two people to move, assemble or install this cabinet. Failure to do so can result in personal injury or product damage.
- WARNING: Use at least two people to move, assemble or install this cabinet. Failure to do so can result in personal injury or product damage.
- WARNING: DO NOT stand on the product and do not use it as scaffold.
Warranty
- 1 Year Limited Warranty for Solid Wood Top. This warranty excludes incidental/inconsequential damages and failures due to misuse, abuse or normal wear and tear.
- This full warranty gives you specific rights, and you may also have other rights, which may vary from state to state.
- Contact the customer service team at 1-888-43-HUSKY or visit www.huskytools.com.
Specifications
- Maximum load for wood top 15 00 lbs. / 680.3 kg
- Maximum load for drawer 100 lbs. / 45.4 kg
- Maximum load for pegboard 75 lbs. / 34 kg
- Maximum total load 1675 lbs. / 759. 7 kg
Pre-Installation
TOOLS REQUIRED

HARDWARE INCLUDED
NOTE: Hardware not shown to actual size.

| Part AA BB cc | Description M6 x 16 hex socket head screw M4 x 6 Phillips pan head tapping bolt Locking hook | Quantity
6 1 |
| DD EE | Locking clip Lock | 1 1 |
| FF | M4 x 5 Phillips head bolt | 8 |
| GG | Adjustable feet | 4 |
| HH | Grommet | 1 |
PACKAGE CONTENTS

| Part I Description | Quantity | |
| A | Pegboard | 1 |
| B | Back stiffener | 2 |
| C | Right side bracket | 1 |
| D | Right bench leg | 1 |
| E | Wood top | 1 |
| F I Front stiffener | 1 | |
| Part | Description | Quantity |
| G | Drawer panel | 1 |
| H | Right slide | 2 |
| I | Drawer front panel | 1 |
| J | Left slide | 2 |
| K | Left bench leg | 1 |
| L | Left side bracket | 1 |
Assembly
NOTE: Assemble on a flat surface. A piece of cardboard is recommended \:.l to keep the product from being scratched during assembly.
Please wear gloves during the whole assembly process.
- ATTACH THE BENCH LEGS
NOTE: The back side of the bench leg is the side with four holes, two \:.l at the top part and two at the bottom part.- Distinguish the front and back of the wood top (E) per below drawing.
- Lay the wood top (E) on its face. Insert eight M6 x 16 hex socket head screws (AA) BY HALF to the bench legs’ (D & K) mounting holes at the bottom of the wood top (E).
- Put the bench legs (D & K) onto the half inserted screws at the wood top (E) through the gourd slots at the bench legs’ top.
- Move the bench legs (D & K) to make the screws located at the narrow sections of the gourd slots.
- Tighten all the screws.

- ATTACH THE STIFFENERS
- Attach the back stiffeners (B) to the back of the bench legs (D & K) with nine M6 x 16 hex socket head screws (AA).
Tighten securely. - Attach the front stiffener (F) to the front of the bench legs (D & K) with five M6 x 16 hex socket head screws (AA).

- Attach the back stiffeners (B) to the back of the bench legs (D & K) with nine M6 x 16 hex socket head screws (AA).
- INSTALL THE ADJUSTABLE FEET
- Screw the adjustable feet into (GG) the bottom holes of the bench legs (D & K).
- Turn over the workbench frame.

- ATTACH THE PEGBOARD
- Attach the pegboard (A) to the wood top (E) with four M6 x 16 hex socket head screws (AA). Tighten securely.
- Install the grommet (HH).

- ATTACH THE SIDE BRACKETS
- Attach the side brackets (C & L) to the pegboard (A) by inserting the side brackets’ back hooks into the slots at the pegboard (A).
- Secure the side brackets (C & L) to the wood top (E) and pegboard (A) with eight M6 x 16 hex socket head screws (AA).
Tight securely.
- ASSEMBLE THE DRAWER
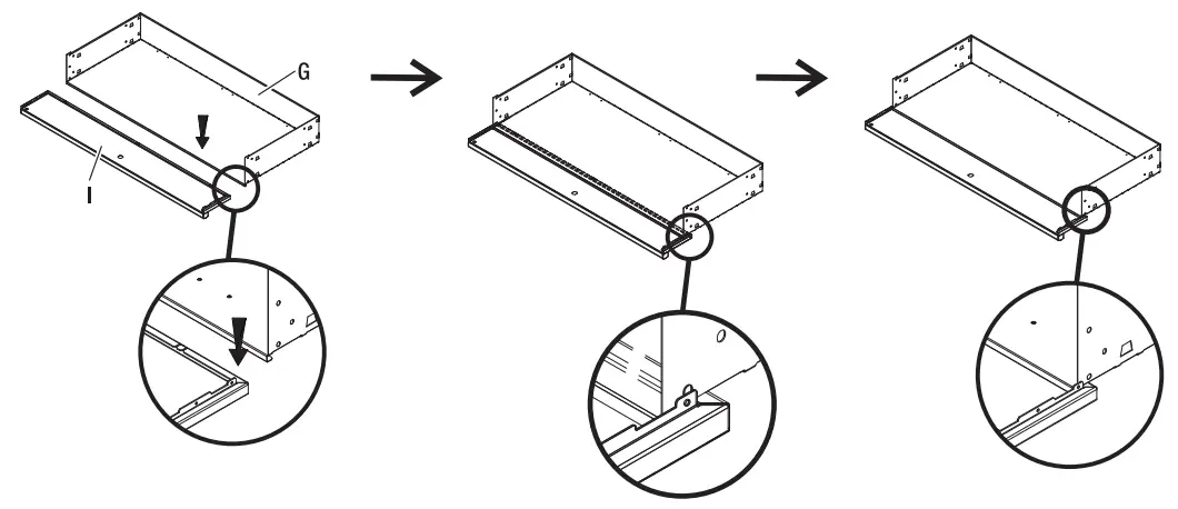
NOTE: Make sure your platform is free of debris or the drawer bottom is protected before laying the drawer on its bottom.- Step 1 : Lay the drawer panel on its bottom. The bottom side is the side with stiffeners.

- Step 2: Bend up the side panels upright to 90° .

- Step 3: Bend all the clips towards the back panel until they lean against the back panel.

- Step 4:
- Lay down the drawer front panel (I) on its face with a soft mat underneath for protection.
- Put the drawer body’s front section onto the drawer front panel (I).
- Slide the drawer body’s front bottom bended edge into the bottom groove of the front panel (I).

- Step 5: Turn up the drawer front panel (I) upright to 90°. Make sure the bottom bended edge of the drawer body is surrounded
by the bottom groove of the drawer front panel (I).
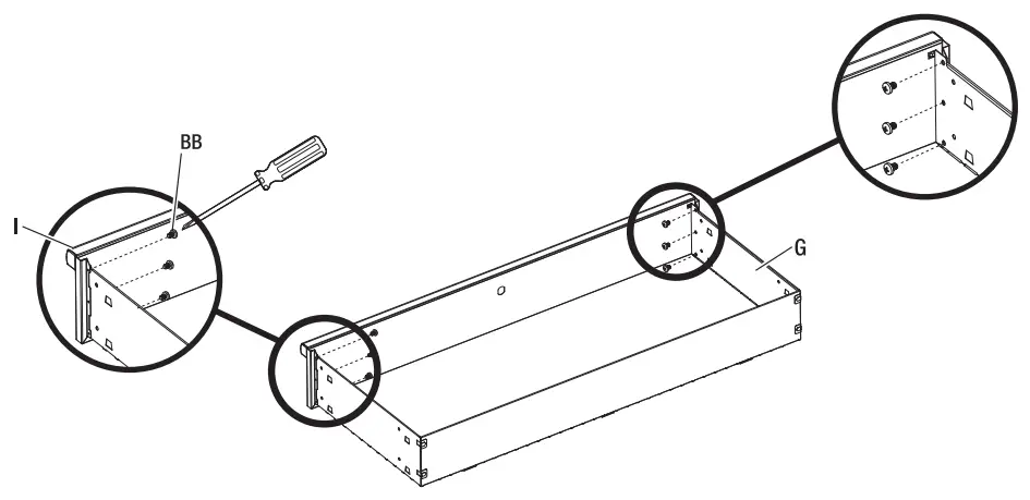
- Step 6: Fasten the drawer front panel (I) and side panels together by screwing six M4 x 6 Phillips pan head tapping bolts (BB)
through the side panels to the drawer front panel (I).
NOTE: At this step, DO NOT use power tools. Please use Phillips screwdriver by hand. Otherwise, product damage may be caused.
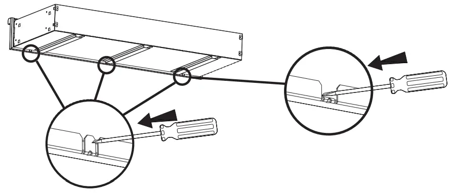
- Step 7: Bend inwards all the clips at the bottom of the drawer front panel by 90° with the help of a screwdriver.

- Step 8:
- Release the nut at the end of the lock (EE).
- Attach the lock (EE) to the drawer front (I). Make sure the lock code is at the lock face’s top as shown below.
- Secure the lock (EE) to the drawer front by using the clip (DD). Make sure the clip is tightly against the drawer front panel (I) and the lock is tightly clipped.
- Attach the locking latch (CC) and nut to the lock as shown below.

- Step 1 : Lay the drawer panel on its bottom. The bottom side is the side with stiffeners.
- INSTALL THE SLIDES AND DRAWER
- Slide the back clip of the outer rail of a left slide (J) into the back slot at the left bench leg (K).
- Slide the front clip of the outer rail into the slot at the front of the left bench leg (K).
- Use a screwdriver to pry out the clip at bench leg by 90° to make it stand right above the slide.
- Repeat the same procedure to install the other left slide to the left bench leg (K) and two right slides (H) to the right bench leg (D).

- Pull out the inner rails of the slides (J & H) completely.
- Attach the drawer to the slides by sliding the slots at the drawer’s side panels onto the upright clips of the slides (J & H).
- Secure the drawer to the slides by screwing eight M4 x 5 Phillips head bolts (FF) through the drawer to the slides (J & H).

Drawer Removal
- Pull the drawer out until it is extended to the maximum. There are two black release levers: one on each side of the drawer.
- Pull one up while you push the other one down simultaneously. At the same time, pull the drawer out of the drawer slides.

Drawer Replacement
Extend the drawer slides from the cabinet. Insert the brackets on each side of the drawer into the slots in the cabinet slides, being careful that they are properly positioned. Once properly inserted, completely close the drawer to set the slides in their proper positions.
Maintenance
- Check all nuts and bolts periodically for tightness. When required, tighten them.
- Lubricate the slides semi-annually with a spray lubricant or light duty oil.
Care and Cleaning
- Periodically clean the workbench surfaces with a soft rag and water.
- Grease and oil can be removed with most standard cleaning fluids. For safety, use a nonflammable cleaning fluid.
Service Parts

| Part | Replacement Part # | Description | Quantity |
| M | 304213 | Key | 2 |
| A | 122347 | Pegboard | 1 |
| B | 244136 | Back stiffener | 2 |
| C | 313088 | Right side bracket | 1 |
| D | 122235 | Right bench leg | 1 |
| E | 307024 | Wood top | 1 |
| F | 244136-N01 | Front stiffener | 1 |
| G | 122334 | Drawer panel | 1 |
| H | 300409 | Right slide | 2 |
| 122348 | Drawer front panel | 1 | |
| Part | Replacement Part # | Description | Quantity |
| J | 300408 | Left slide | 2 |
| K | 122233 | Left bench leg | 1 |
| L | 313087 | Left side bracket | 1 |
| AA | 320327 | M6 x 16 hex socket head screw | 34 |
| BB | 323335 | M4 x 6 Phillips pan head tapping bolt | 6 |
| cc | 244323 | Locking hook | 1 |
| DD | 304006 | Locking clip | 1 |
| EE | 304212 | Lock | 1 |
| FF | 320336 | M4 x 5 Phillips head bolt | 8 |
| GG | 313068 | Adjustable feet | 4 |
| HH | 314027 | Grommet | 1 |
Questions, problems, missing parts? Before returning to the store, call Husky Customer Service
- 8 a.m. – 7 p.m., EST, Monday- Friday
- 9 a.m. – 6 p.m., EST, Saturday
- 1-888-43-HUSKY
- WWW.HUSKYTOOLS.COM
- Retain this manual for future use.


































