HUSKY H27CH5TR4BGK 27 In 9 Drawer Tool Chest And Cabinet

THANK YOU
We appreciate the trust and con dence you have placed in Husky through the purchase of this chest/c abinet. We strive to continually
create quality products designed to enhance your home. Visit us online to see our full line of products available for your home
improvement needs. Thank you for choosing Husky!
Safety Information
- Do not pull this unit, push it when moving.
- Use the brakes when this product is not being moved. This prevents the product from rolling.
- Secure this product properly before moving it with a forklift.
- Do not tow the product with power equipment.
- Do not alter this product in any manner. For example, do not weld external lock bars or attach electrical equipment.
- Before locking the chest/cabinet, ensure the drawers are completely closed in order for the lock bars to work properly.
- CAUTION: Do not attach or mount this product to a vehicle or mobile trailers. This may cause personal injury or product damage. Mounting this product to any vehicle or mobile trailers in any manner will void warranty.
- CAUTION: Do not stand on this product. You may fall which may cause personal injury or product damage.
- CAUTION: Be careful when opening more than one drawer. The product may become unstable and tip, which may cause personal injury or product damage.
- CAUTION: Keep the product on level surfaces. The product may become unstable and tip if stored or moved on an unlevel surface, which may cause personal injury or product damage.
- CAUTION: Lock the drawers before moving this product. The drawers could come open and make the product unstable and tip, which may cause perso nal or product damage.
- CAUTION: Be careful when closing the cover. Remove hands before the cover closes completely to prevent personal injury.
- CAUTION: Load unit starting with bottom drawers. Overloading the top of the unit may result in the product becoming unstable and creating a tipping hazard, which may cause personal injury or product damage.
- CAUTION: Do not use the side handle as a point of leverage to lift the unit off of the ground. Handle is not intended to withstand the force of vertical lifting, and is only designed to aid in the movement of unit around on casters. Failure to adhere to this warning may cause handle to break and cause personal injury
and/or product damage.
Warranty
The manufacturer warrants the product to be free from defects in materials and workmanship for a period of three (3) years from date of
purchase. This warranty applies only to the original consumer and only to products used in normal use and service. If this product is found to be defective, the manufacturer’s only obligation, and your exclusive remedy, is the repair or replacement of the product at the manufacturer’s discretion, provided that the product has not been damaged through misuse, abuse, accident, modifications, alteration neglect or mishandling. This warranty shall not apply to any product that is found to have been improperly installed, setup, or used in any way not in accordance with the instructions supplied with the product. This warranty shall not apply to a failure of the product as a result of an accident, misuse, abuse, negligence, alteration, faulty installation, or any other failure not relating to faulty material or workmanship. This warranty shall not apply to the finish on any portion of the products such as surface and/or weathering, as this is considered normal wear and tear.
The manufacturer does not warrant and specifically disclaims any warranty, whether express or implied, of fitness for a particular purpose
other than the warranty contained herein. The manufacturer specifically disclaims any liability and shall not be liable for any consequential
or incidental loss or damage, including but not limited to any labor/expense costs involved in the replacement or repair of said product
Contact the Customer Service Team at 1-888-HD-HUSKY or visit www.huskytools.com.
Specifications

NOTE: Begin product assembly close to the final intended location of your cabinet. This product is heavy and may be difficult to move after assembly.
Package Contents


| Part | Description | Quantity |
| A | Chest | 1 |
| B | Cabinet | 1 |
| C | Cabinet handle | 1 |
| D | Fixed caster | 2 |
| E | Swivel caster | 2 |
Assembly
CAUTION: Two people are recommended for assembly.
- Attaching the cabinet handle
- Position the cabinet handle (C) over the holes on the cabinet (B).
- Attach with the bolts (BB) and tighten with supplied hex key (CC).
NOTE: The holes in the cabinet are tapped and do not require nuts.
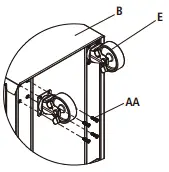
- Attaching the casters
- Be sure the drawers are locked and lay the cabinet (B)
- Attach the swivel casters (E ) to the unit, on the samevside as the handle, inserting b through the swivel casters (E) and into the cabinet (B).
- Tighten with supplied hex key (CC) or 12 mm wrench/socket. Repeat this process for the xed casters (D) on the opposite side of the cabinet (B)
- Return the cabinet (B) to its upright position
CAUTION: Do not over tighten the bolts.
- Attaching Plastic Feet (Optional)
NOTE: 4 Plastic Feet are located in bag found in top till.- Insert plastic foot into hole on bottom of chest. Repeat for other 3 feet.

- Insert plastic foot into hole on bottom of chest. Repeat for other 3 feet.
Operation
- Removing the drawers
- Fully extend the empty drawer.
- Push up the one release lever while pulling down on the other release lever.
- Pull the drawer outward until it is released from the drawer slide.

- Re-inserting the drawers
- Extend the drawer slides.
- Insert the brackets on each side of the drawer into the slots in the slides, being careful that they are properly positioned.
- Once properly inserted, completely close the drawer to set the slides in their proper positions.

Maintenance
- Caster maintenance
- Grease the casters annually using high-quality bearing grease.

- Periodically clean the drawer fronts, drawer trim, and other surfaces with a mild detergent and water.
- Periodically clean the drawer fronts, drawer trim, and other surfaces with a mild detergent and water.
- Grease the casters annually using high-quality bearing grease.
- Drawer maintenance
- Lubricate the slides semi-annually with high-quality

- Lubricate the slides semi-annually with high-quality
Replacement Parts
For assistance with replacement parts please call 1-888-HD-HUSKY.

| Part | Description | Quantity |
| A | Gas Strut | 2 |
| B | Drawer Liner | 5 |
| C | Drawer Slide | 10 |
| D | Lock | 1 |
| E | Key | 2 |
| F | Plastic Foot | 4 |
| G | Side Handle | 2 |
| H | Badge | 1 |
| I | Drawer Handle Cap | 10 |
| Part | Description | Quantity |
| J | Cabinet Handle | 1 |
| K | Fixed Caster | 2 |
| L | Swivel Caster | 2 |
| M | Lock | 1 |
| N | Key | 2 |
| O | Badge | 1 |
| P | Drawer Liner | 4 |
| Q | Drawer Slide | 8 |
| R | Caster Bolt | 16 |
| S | Handle Bolt | 4 |
| T | Drawer Handle Cap | 8 |






















