EXTREME TOOLS DX4110CR, DX412510CR 41 Inch 4 Drawer Chest and Roller Cabinet Combo

41 inch 4 Drawer Powder Coated Steel Top Chest & Roller Cabinet Combo
Model:
DX4110CR / DX412510CR
Extreme Tools, Inc. 740 Frontenac Road Naperville, Illinois 60563 630.369.9303 www.ExtremeTools.net
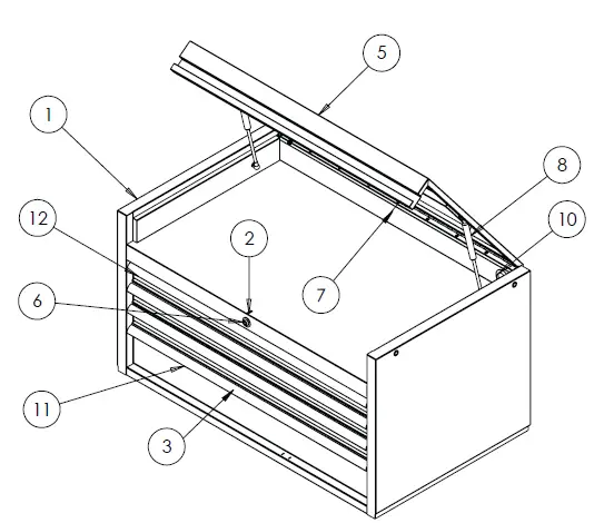
Top Chest Parts List DX412504CH / DX4104CH

PARTS LIST – DX412504CH / DX4104CH
| ITEM # | PART # | DESCRIPTIONS | QTY per Color |
| NS | Z-DLDX412504KIT | DX412504CH Drawer liner kits, PVC, Black | 1 set |
| Z-DLDX4125-L Large Drawer Liner for DX4125-Individual Liners | |||
| 12 | Z-TRDX4125CH(+Color) | DX412504CH V-Trim (per pcs) | 2 |
| NS | Z-LGS | NAME PLATE for Extreme Tools small size | 1 |
| 1 | Z-BWDX41CH | DX4125 CHEST BODY WELDMENT | 1 |
| 5 | Z-LADX41CH | DX4125 LID ASSEMBLY | 1 |
| 7 | Z-PRM6x18 | M6x18 SS POP RIVET | 10 |
| 8 | Z-ST4125CH | Strut for lid support on the RX412508CH, DX412504CH (11KG).(per pair) | 2 |
| 2 | Z-CCDX41CH | LOCK CAM-EX41CH | 1 |
| NS | Z-EBDXRH41 | EQUALIZER BAR-RH | 1 |
| NS | Z-EBDXLH41 | EQUALIZER BAR-LH | 1 |
| NS | Z-HBDXCH | M8 x 12mm Hex Bolts and Washers | 2 |
| 6 | Lock & Keys Part #’s – SEE FACE of LOCK or KEY for Code | 1 set | |
| Z-LK-EX01 | RX series lock and key set, EX01 | ||
| Z-LK-EX02 | RX series lock and key set, EX02 | ||
| Z-LK-EX03 | RX series lock and key set, EX03 | ||
| Z-LK-EX04 | RX series lock and key set, EX04 | ||
| 3 | Drawer Pull Part #’s by Color | 4 | |
| Z-DPDXQ957-BL | DX4125 Chest/Cabinet drawer pull assy. Blue (per pcs) | ||
| Z-DPDXQ957-RD | DX4125 Chest/Cabinet drawer pull assy. Red (per pcs) | ||
| Z-DPDXQ957-BK | DX4125 Chest/Cabinet drawer pull assy. Black (per pcs) | ||
| NS | Z-SCDXDR | DX screws and nuts for drawer pull | |
| DRAWER SIZES & COLOR | Qty/Color | ||
| NS | Z-SLDX4125 | DRAWER SLIDES 22″-100lbs (per pair) | 5 |
| 11 | Double Deep Drawers | 1 | |
| Z-DRDX-1A-4125-BKBL | DX4125RC/CH drawer #1A, Double deep, 100lbs slide, black / blue trim | ||
| Z-DRDX-1A-4125-BKRD | DX4125RC/CH drawer #1A, Double deep, 100lbs slide, black / red trim | ||
| Z-DRDX-1A-4125-BLBK | DX4125RC/CH drawer #1A, Double deep, 100lbs slide, blue / black trim | ||
| Z-DRDX-1A-4125-GNBK | DX4125RC/CH drawer #1A, Double deep, 100lbs slide, green / black trim | ||
| Z-DRDX-1A-4125-MBBK | DX4125RC/CH drawer #1A, Double deep, 100lbs slide, matte black / black trim | ||
| Z-DRDX-1A-4125-ORBK | DX4125RC/CH drawer #1A, Double deep, 100lbs slide, orange / black trim | ||
| 12 | Single Deep Drawers | 3 | |
| Z-DRDX-2A-4125-BKBL | DX4125RC/CH drawer #2A, Single deep, 100lbs slide, black / blue trim | ||
| Z-DRDX-2A-4125-BKRD | DX4125RC/CH drawer #2A, Single deep, 100lbs slide, black / red trim | ||
| Z-DRDX-2A-4125-BLBK | DX4125RC/CH drawer #2A, Single deep, 100lbs slide, blue / black trim | ||
| Z-DRDX-2A-4125-GNBK | DX4125RC/CH drawer #2A, Single deep, 100lbs slide, green / black trim | ||
| Z-DRDX-2A-4125-MBBK | DX4125RC/CH drawer #2A, Single deep, 100lbs slide, matte black / black trim | ||
| Z-DRDX-2A-4125-ORBK | DX4125RC/CH drawer #2A, Single deep, 100lbs slide, orange / black trim | ||
- Replacement keys may be ordered using the code that appears on the face of the lock.
- To order replacement parts, have the part number, tool box color and quantity ready. If under warranty, the serial number is REQUIRED to get replacement parts.
- Not all parts are available under warranty and may be purchased separately.
Roller Cabinet Parts List DX412506RC / DX4106RC

PARTS LIST – DX412506RC / DX4106RC
| ITEM # | PART # | DESCRIPTIONS | QTY per Color |
| NS | Z-DLDX412506KIT | DX412506RC Drawer liner kits, PVC, Black | 1 set |
| Z-DLDX4125-L Large Drawer Liner for DX4125-Individual Liners | |||
| 12 | Z-TRDX4125RC(+Color) | DX412506RC V-Trim (per pcs) | 2 |
| 1 | SIDE HANDLE PART #’s | 1 | |
| Z-HDDX4125RCBK | DX412506RC Oval Tubular side handle (black) | ||
| Z-HDDX4125RCBL | DX412506RC Oval Tubular side handle (blue) | ||
| Z-HDDX4125RCRD | DX412506RC Oval Tubular side handle (red) | ||
| 7 | Z-SHSCM6X16 | M6x16mm Socket Head Screw and Washer | 4 |
| NS | Z-SLDX4125 | Drawer Slides 22″-100lbs (per pair) | 5 |
| NS | Z-SCDXDR | DX screws and nuts for drawer pull | |
| NS | Z-CAMDX41RC | LOCK CAM-EX41RC | 1 |
| 2 | Z-LGS | Name plate for Extreme Tools small size | 1 |
| 3 | Lock & Keys Part #’s – SEE FACE of LOCK or KEY for Code | 1 set | |
| Z-LK-EX01 | RX series lock and key set, EX01 | ||
| Z-LK-EX02 | RX series lock and key set, EX02 | ||
| Z-LK-EX03 | RX series lock and key set, EX03 | ||
| Z-LK-EX04 | RX series lock and key set, EX04 | ||
| Casters | |||
| 4 | Z-CA52RH | 5×2 rigid caster w/o logo (per pcs) | 2 |
| 5 | Z-CA52SBH | 5×2 swivel casters w/brake w/o logo (per pcs) | 2 |
| Z-BT10M | 10mm x 25 Bolt | 16 | |
| 6 | Drawer Pull Part #’s by Color | 6 | |
| Z-DPDXQ957-BL | DX4125 Chest/Cabinet drawer pull assy. Blue (per pcs) | ||
| Z-DPDXQ957-RD | DX4125 Chest/Cabinet drawer pull assy. Red (per pcs) | ||
| Z-DPDXQ957-BK | DX4125 Chest/Cabinet drawer pull assy. Black (per pcs) | ||
| Z-ECDX | DX Plastic End Cap (per pcs) | 2 | |
| 11 | Z-MDF4125 | Laminate MDF Top | 1 |
| DRAWER SIZES & COLOR | Qty/Color | ||
| 10 | Double Deep Drawers | 2 | |
| Z-DRDX-1A-4125-BKBL | DX4125RC/CH drawer #1A, Double deep, 100lbs slide, black / blue trim | ||
| Z-DRDX-1A-4125-BKRD | DX4125RC/CH drawer #1A, Double deep, 100lbs slide, black / red trim | ||
| Z-DRDX-1A-4125-BLBK | DX4125RC/CH drawer #1A, Double deep, 100lbs slide, blue / black trim | ||
| Z-DRDX-1A-4125-GNBK | DX4125RC/CH drawer #1A, Double deep, 100lbs slide, green / black trim | ||
| Z-DRDX-1A-4125-MBBK | DX4125RC/CH drawer #1A, Double deep, 100lbs slide, matte black / black trim | ||
| Z-DRDX-1A-4125-ORBK | DX4125RC/CH drawer #1A, Double deep, 100lbs slide, orange / black trim | ||
| 8 | Single Deep Drawers | 3 | |
| Z-DRDX-2A-4125-BKBL | DX4125RC/CH drawer #2A, Single deep, 100lbs slide, black / blue trim | ||
| Z-DRDX-2A-4125-BKRD | DX4125RC/CH drawer #2A, Single deep, 100lbs slide, black / red trim | ||
| Z-DRDX-2A-4125-BLBK | DX4125RC/CH drawer #2A, Single deep, 100lbs slide, blue / black trim | ||
| Z-DRDX-2A-4125-GNBK | DX4125RC/CH drawer #2A, Single deep, 100lbs slide, green / black trim | ||
| Z-DRDX-2A-4125-MBBK | DX4125RC/CH drawer #2A, Single deep, 100lbs slide, matte black / black trim | ||
| Z-DRDX-2A-4125-ORBK | DX4125RC/CH drawer #2A, Single deep, 100lbs slide, orange / black trim | ||
| 9 | Triple Deep Drawers | 1 | |
| Z-DRDX-3A-4125-BKBL | DX4125RC/CH drawer #3A, Triple deep, 100lbs slide, black / blue trim | ||
ASSEMBLY

Caster Installation
NOTE: Lock the lid / sliding top and drawers BEFORE proceeding!
Tool Cart is heavy. Installation requires assistance of another adult to complete this step. With assistance, carefully lay the cabinet on its back onto a soft surface such as a mat to protect the cabinet finish. Position each swivel casters on the bottom of the cabinet. Use M10 Bolts to install each caster. Insert M10 Bolts into the bottom of the caster and then insert the end of the bolts into the holes in the bottom of the Cabinet. Tighten all 4 Bolts securely. LOCK CASTER! Repeat instructions above for installing all casters. LOCK ALL CASTERS BEFORE lifting cart to upright position!
Securing Top Chest and Roller Cabinet
Place the chest on the cabinet. Open the top drawer and locate the two holes under the top surface of the roller cabinet.
Insert M6 x 12mm hex bolts through the hole of the roller cabinet and into the hole on the bottom side of the top chest. Tighten securely.

Handle Installation
NOTE: Assemble the handle first to make it easier to move the tool cabinet. Position the handle over the holes in the cabinet and attach with the provided (4) M6 socket head screws. Tighten securely.

OPERATING PROCEDURE
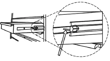
Drawer Removal
Pull drawer out so that it is almost fully extended. Push up on the black lever on one drawer slide and at the same time push down on the lever on the other side. With the levers in these positions, pull the drawer out until it releases from the drawer slides.

Drawer Replacement
Extend the drawer slides. Carefully align the brackets on the sides of the drawers with the slots of the cabinet slides. Insert the brackets on the side of each drawer into the slots of the cabinet slides. Once properly inserted, completely close the drawer to set the slides into their properly functioning positions.

MAINTENANCE
Lubricate the casters once a year with high quality ball bearing grease. Lubricate the slides twice a year with high quality, petroleum-based lubricant. This may be required more often If operating the tool box in colder climates. Use mild detergent and water to clean drawer fronts, drawer trim and other surfaces. Grease and oil can be removed with standard, non-abrasive, non-flammable cleaning products. Auto wax will help preserve the unit’s high gloss finish. Follow directions as provided
SAFETY
WARNING
- Do not attempt to lift the cabinet by its side handle using chains, ropes or lifting device. Side handle may fail resulting in personal injury or damage to the product!
- Use a forklift or similar lifting device with forks placed under the bottom of the tool box to move if tool box cannot be moved by two people.
- Close the drawers and lock the tool box before moving this product! If drawers are not locked they could open and make the product unstable and tip which may cause personal injury or damage to the product.
- Do NOT stand on this product or lean on the drawer or work top.
- Wear safety glasses when removing or repositioning the slides. The tool box could slip resulting in personal injury.
- Do NOT mount this product on a truck bed or other moving object. This may cause personal injury or product damage. Mounting this product on any surface will void the warranty.
- Do NOT tow with power equipment. The product could tip which may cause personal injury or product damage.
- Do NOT alter this product in any manner or attach electrical equipment. This may cause personal injury or product damage and will void the warranty.
- If using the combination top chest and roller cabinet, the top chest MUST be secured to the roller cabinet by following the directions provided. Not securing the top chest to the roller cabinet may cause the product to become unstable which may cause personal injury or damage to the product.
CAUTION – IMPORTANT PRODUCT INFORMATION
DRAWERS MUST BE CLOSED AND TOOL BOX LOCKED USING KEYS BEFORE MOVING! The maximum weight for each drawer should not exceed 100 lbs. (45 kg) for single slides and 200 lbs. (90 kg) for drawers with double slides. Use caution when closing the chest lid. Remove hands from the area before closing to prevent personal injury. Do NOT pull this product. Push the product to prevent personal injury. ENGAGE THE BRAKES when not moving this product. Locked casters prevent the product from rolling which may result in personal injury or damage to the product.
This product may become unstable and tip if more than one drawer is open at a time. To prevent personal injury or damage to product, OPEN ONLY ONE DRAWER AT A TIME. Lock product and properly secure before moving with a forklift or other device. Keep the product on a level surface. The product could become unstable and tip if stored or moved on an uneven surface which may result in personal injury or product damage. Remove the work surface from the roller cabinet before installing top chest.


















