HUSKY 410-027-0111 27 Inch 11 Drawer Tool Chest and Cabinet Combo
HUSKY 27 IN. 11-DRAWER CHEST AND CABINET
Questions, problems, missing parts?Before returning to the store, call Husky Customer Service 8 a.m. – 7 p.m., EST, Monday-Friday 9 a.m. – 6 p.m., EST, Saturday 1-888-43-HUSKY HUSKYTOOLS.COM
THANK YOU
We appreciate the trust and confidence you have placed in Husky through the purchase of this tool chest and cabinet. We strive to continually create quality products designed to enhance your home. Visit us online to see our full line of products available for your home improvement needs. Thank you for choosing Husky!
Safety Information
- Do not pull this unit, push it when moving.
- Use the brakes when this product is not being moved. This prevents the product from rolling.
- Secure this product properly before moving it with a forklift.
- Do not tow the product with power equipment.
- Do not alter this product in any manner. For example, do not weld external lock bars or attach electrical equipment.
- Before locking the chest/cabinet, ensure the drawers are completely closed in order for the lock bars to work properly.
- CAUTION: Do not attach or mount this product to a vehicle. This may cause personal injury or product damage. Mounting this product to any vehicle in any manner will void warranty.
- CAUTION: Do not stand on this product. You may fall which may cause personal injury or product damage.
- CAUTION: Be careful when opening more than one drawer. The product may become unstable and tip, which may cause personal injury or product damage.
- CAUTION: Keep the product on level surfaces. The product may become unstable and tip if stored or moved on an unlevel surface, which may cause personal injury or product damage.
- CAUTION: Lock the drawers before moving this product. The drawers could come open and make the product unstable and tip, which may cause personal injury or product damage.
- CAUTION: Two people are needed to safely move this unit.
- CAUTION: Be careful when closing the cover. Remove hands before the cover closes completely to prevent personal injury.
- CAUTION: Do not use the side handle as a point of leverage to lift the unit off of the ground. Handle is not intended to withstand the force of vertical lifting, and is only designed to aid in the movement of unit around on casters. Failure to adhere to this warning may cause handle to break and cause personal injury and /or product damage.

- Load from bottom to top of the cabinet. Overloading the top of the cabinet may result in product instability and a tipping hazard.
Warranty
The manufacturer warrants the product to be free from defects in materials and workmanship for a period of three ( 3 ) years from date of purchase. This warranty applies only to the original consumer and only to products used in normal use and service. If this product is found to be defective, the manufacturer’s only obligation, and your exclusive remedy, is the repair or replacement of the product at the manufacturer’s discretion, provided that the product has not been damaged through misuse, abuse accident, modifications, alteration neglect or mishandling. This warranty shall not apply to any product that is found to have been improperly installed, set up, or used in any way not in accordance with the instructions supplied with the product. This warranty shall not apply to a failure of the product as a result of an accident, misuse, abuse, negligence, alteration, faulty installation, or any other failure not relating to faulty material or workmanship. This warranty shall not apply to the finish on an portion of the products such as surface and/or weathering, as this is considered normal wear and tear. The manufacturer does not warrant and specifically disclaims any warranty, whether express or implied, of fitness for a particular purpose, other than the warranty contained herein. The manufacturer specifically disclaims any liability and shall not be liable for any consequential or incidental loss or damage, including but not limited to any labor/expense costs involved in the replacement or repair of said product. Contact the Customer Service Team at 1-888-43-HUSKY or visit www.huskytools.com.
Pre-assembly
SPECIFICATIONS
- Maximum weight per (chest drawer) 100 lb.
- Maximum weight per (cabinet drawer) 100 lb.
- Casters support up to (cabinet) 1500 lb.
NOTE: Begin product assembly close to the final intended location of your cabinet. This product is heavy and may be difficult to move after assembly.
TOOLS REQUIRED
- 10 mm wrench or socket
- 13 mm wrench or socket
![]()
HARDWARE INCLUDED
NOTE: Hardware not shown to actual size.

| Part | Description | Quantity |
| AA | M8 x 25 bolt | 20 |
| BB | Wrench | 1 |
- NOTE: Chest keys are attached to the gas strut.
- NOTE: Cabinet keys are inside the top drawer.

| Part | Description | Quantity |
| A | Chest | 1 |
| B | Cabinet | 1 |
| C | Cabinet handle | 1 |
| D | Fixed caster | 2 |
| E | Swivel caster | 2 |
Assembly
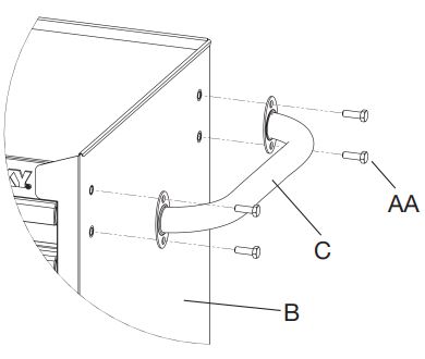
Attaching the cabinet handle
- Position the cabinet handle (C) over the holes on the cabinet (B).
- Attach with the bolts (AA) and tighten with supplied wrench (BB).
NOTE: The holes in the cabinet are tapped and do not require nuts.

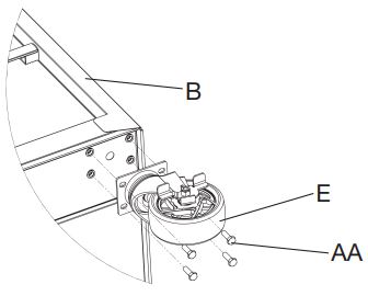
Attaching the casters
- Be sure the drawers are locked and lay the cabinet (B) on its top. Use packaging material to protect the finish.
- Attach the swivel casters (E) to the unit, on the same side as the handle, inserting bolts (AA) through the swivel casters (E) and into the cabinet (B).
- Tighten with the supplied wrench (BB) or 13 mm wrench/socket.
- Repeat this process for the fixed casters (D) on the opposite side of the cabinet (B).
- Return the cabinet (B) to its upright position.
CAUTION: Do not overtighten the bolts.

Operation
Removing the drawers
- Fully extend the empty drawer.
- Push up the one release lever while pulling down on the other release lever.
- Pull the drawer outward until it is released from the drawer slide.

Re-inserting the drawers
- Extend the drawer slides.
- Insert the brackets on each side of the drawer into the slots in the slides, being careful that they are properly positioned.
- Once properly inserted, completely close the drawer to set the slides in their proper positions.

Maintenance
Caster maintenance
Grease the casters annually using high-quality bearing grease.
Drawer maintenance
- Lubricate the slides semi-annually with high-quality bearing grease.

- Periodically clean the drawer fronts, drawer trim, and other surfaces with a mild detergent and water.
- Auto wax preserves the storage unit’s luster finish and protects against scratches. Apply the wax as you would on a car.
- Remove grease and oil with a standard nonflammable cleaning fluid.
Service Parts
For assistance with replacement parts please call 1-888-43-HUSKY.

| Part | Description | Quantity |
| A | Gas Strut | 2 |
| B | Drawer Liner | 6 |
| C | Till Liner | 1 |
| D | Drawer Slide | 6 |
| E | Lock | 1 |
| F | Key | 2 |
| G | Side Handle | 2 |
| H | Nameplate | 1 |
| I | Drawer Handle Cap | 12 |
| Part | Description | Quantity |
| J | Cabinet Handle | 1 |
| K | Handle Bolt | 4 |
| L | Lock | 1 |
| M | Key | 2 |
| N | Nameplate | 1 |
| O | Drawer Liner | 5 |
| P | Drawer Slide | 6 |
| Q | Fixed Caster | 2 |
| R | Swivel Caster | 2 |
| S | Caster Bolt | 16 |
| T | Drawer Handle Cap | 10 |
| U | Top Liner | 1 |
Questions, problems, missing parts?
- Before returning to the store, call Husky Customer Service
- 8 a.m. – 7 p.m., EST, Monday-Friday
- 9 a.m. – 6 p.m., EST, Saturday
- 1-888-43-HUSKY
- HUSKYTOOLS.COM
- Retain this manual for future use.




















