
B-TECH BT5962 CCTV and Flat Ceiling Mount

INSTALLATION SAFETY INSTRUCTIONS
CAUTION: This mount is intended for use only with the maximum weights indicated. Use with equipment heavier than the maximum indicated may result in instability causing possible injury.
Do not attempt to install this product until all instructions and warnings have been read and properly understood. Please keep these instructions for future reference.
Please check carefully to make sure there are no missing or defective parts – defective parts must never be used. B-Tech AV Mounts, its distributors and dealers are not liable or responsible for damage or injury caused by improper installation, improper use or failure to observe these safety instructions. In such cases, all guarantees will expire.
General
B-Tech AV Mounts recommends that a professional AV installer or other suitably qualified person install this product.Great care must always be taken during installation as most AV equipment is of a fragile nature, possibly heavy and easily damaged if dropped. If you do not fully understand the instructions or are not sure how to install this product safely, then please consult a professional for advice and/or to install this product for you. Failure to mount this product correctly may cause serious injury or death, both during installation and at any time thereafter. Do not mount any AV equipment that exceeds the specific weight limit of the product you are installing. This weight limit will be clearly stated on each product and its packaging and will vary from product to product.
Product location
Please pay careful attention to where this product is located. Check load capacity of the ceiling prior to installation as
some surfaces are not suitable for installation. Designed for indoor use, this mount is suitable for public or home installation If located in a public or frequently populated area ensure that the product is out of the immediate reach of people.
If any AV equipment is to be suspended over the likely path or location of people then great care should be taken to secure all parts of the installation from falling.
When drilling holes it is essential to avoid contact with electrical cables and water or gas pipes contained within. Use of a good quality live wire detector and hidden object locator is therefore recommended. Only drill into structures when you are sure it is safe to do so.
Fixing hardware
It is highly recommended that all fixing screws be used where supplied and that the purpose of all other fixing hardware is fully understood. In some cases more AV equipment fixing hardware will be supplied to accommodate different models of equipment and set up configurations. The installer must be satisfied that any supplied fixing hardware is suitable for each specific installation. If any fixing screws or included hardware are deemed not sufficient for a safe installation then please consult a professional or your local hardware store.
Hazard limitation
When routing cables take advantage of any built in cable management features that the product might provide and ensure that all cables are tidy and secure. Check to see that any moving aspect of the product can do so unhindered by any cabling. Some products have moving parts and the potential to cause injury through the crushing or trapping of fingers or other body parts. Particular attention to the nature of moving parts is required especially when assembling installing and adjusting during set up. Immediately after installation double-check that the work done is safe and secure. Double-check all necessary fixings are present and are of ample tightness.
It is recommended that periodic inspections of the product and its fixing points are made as frequently as possible (no more than 6 months apart) to ensure that safety is maintained.
If in doubt consult a professional AV installer or other suitably qualified person.
Parts list


| ITEM | DESCRIPTION | QTY |
| 1 | CEILING PLATE | 1 |
| 2 | M8 x 10mm HEX SCREW | 2 |
| 3 | M6 x 5mm HEX GRUB SCREW | 6 |
| 4 | Ø38mm POLE | 1 |
| 5 | CEILING COVER PLATE | 2 |
| 6 | Ø38mm COLLAR | 1 |
| 7 | M8 x 12mm HEX SCREW | 4 |
| 8 | M6 x 8mm HEX GRUB SCREW | 2 |
| 9 | COLLAR COVER PLATE | 2 |
| 10 | MOUNTING PLATE | 1 |
| 11 | INTERFACE PLATE | 1 |
| 12 | M4 x 8mm PIN HEX SCREW | 1 |
| 13 | CAROUSEL INTERFACE | 1 |
| 14 | M4 x 12mm PIN HEX SCREW | 4 |
| 15 | M4 x 12mm SCREW | 4 |
| 16 | M4 METAL WASHER | 4 |
| 17 | M4 NUT | 4 |
| 18 | M6 x 10mm SCREW | 4 |
| 19 | M6 WASHER | 4 |
| 20 | M6 NUT | 4 |
| 21 | 3AF HEX KEY | 1 |
| 22 | 4AF PIN HEX KEY | 1 |
| 23 | 5AF HEX KEY | 1 |
INSTALLATION TOOLS REQUIRED

- Drill
- Pencil
- Spanner
- Screwdriver
INSTALLATION INSTRUCTIONS
MOUNT CEILING PLATE TO CEILING
- Pre-drill holes for ceiling fixings (not supplied).
- Assemble two fixing screws on opposite sides, leaving a 10mm gap between the screw head and ceiling.
- Hook item 1 onto the fixing screws and twist into position.

- Add remaining ceiling fixings and tighten all screws.

FIX POLE TO CEILING PLATE
- Insert item 4 into item 1 and secure in place with item 2.
- Tighten item 3, fixing item 4 to item 1.
- Fit item 5 to item 1.

FIX MOUNTING PLATE ONTO POLE
- Attach item 10 to item 6 using item 7
- Note: Ensure item 8 is positioned on the back of item 6.
Slide item 6 up item 4 and secure at desired height by tightening item 8.
FIX CAROUSEL INTERFACE TO POLE
- Attach item 13 to the bottom of item 4 using item 2.
- Tighten item 3, securing item 13 to item 4.

- Note: Align the hole on the carousel interface with the hole on the pole.
ATTACH CAMERA TO CAROUSEL INTERFACE
- Fix the camera to item 13 using items 15 -20.

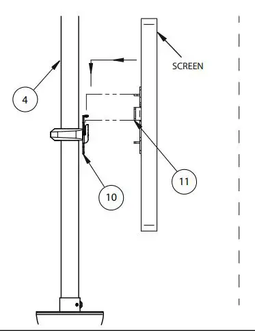
FIX INTERFACE PLATE TO SCREEN
- Attach item 11 to the rear of the screen using item 14.

HOOK SCREEN ONTO MOUNTING PLATE
- Hook item 8 onto item 10.
- Use item 12 to secure item 11 to item 10.


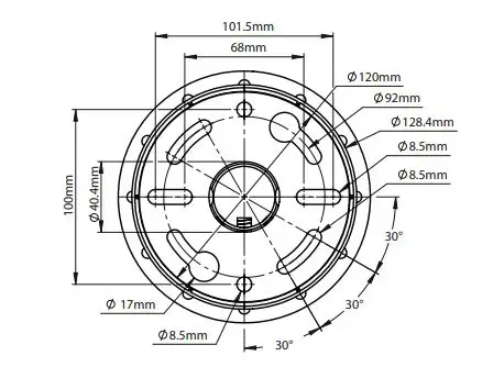
BT5962 DIMENSIONS
CEILING MOUNT
SCREEN INTERFACE
CAROUSEL INTERFACE
THESE INSTRUCTIONS ARE INTENDED AS A GUIDE ONLY AND B-TECH ACCEPTS NO LIABILITY FOR THE ACCURACY OF THE INFORMATION CONTAINED IN THIS DOCUMENT.
CONTACT:
[email protected]
- ©2021 B-Tech International Design and Manufacturing Ltd. All rights reserved.
- B-Tech AV Mounts is a division of B-Tech International Design and Manufacturing Ltd. B-Tech AV Mounts and the B-Tech logo are registered trade marks.
- All other brands and product names are trademarks of their respective owners. Photographs are for illustrative purposes only. E&OE.
- AMA-BT5962-V1.1-0821-110 MADE IN VIETNAM


























