SunTek DL023 20MP HD Trigger Time Waterproof Night Vision Camera

Product Description

Install the battery
As shown in the figure below, open the upper and lower spring locks on the side of the device outwards, and the battery compartment will appear on the right side of the device. Put 8 AA alkaline batteries into the battery compartment in the direction of the positive and negative electrode identifiers of the battery. After debugging the working mode, close the battery compartment according to the above steps in reverse order.
Note: Please use the same brand of batteries with the same power each time. Do not mix batteries of different brands. When the power is low, please replace with new batteries in time.
Insert the SD card
- Open the battery compartment of the device.
- Confirm that the device is off. (The switch is in the OFF position)
- Insert the TF card in the direction indicated.
Note: Please use a better quality TF card on the market (Class6 and above speed is recommended). Do not use excessive force when inserting the TF card, and pay attention to the correct direction of the card.
User guides
- enter test mode: Open the battery compartment of the device, as shown in the figure below.

- Put the switch in the TEST position to start the device and enter the test mode. The screen will be displayed when the device is turned on.

- Device control pane

- Menu: enter/exit the menu, return to the last operation/mode.
- Replay: enter/exit playback mode.
- Up: move the cursor up to select/switch to the recording mode.
- Down: move the cursor down to select/switch to the photo mode.
- Right: move the cursor to the right to select.
- Left: move the cursor to the left to select.
- Shooting:take photo or video.
- Confirm: Confirm operation.

- Test mode settings
- Mode: Can be set to take photo/video/photo+video.
- Shooting interval: The shooting interval can be set between 5 seconds and 60 minutes.
- PIR sensitivity: can be set to three levels of high, medium and low.
- Number of photos: Can be set to 1/2/3.
- Video length: It can be set between 3 seconds and 10 minutes.
- Video resolution: 1920x1080P/1280x720P/640x480P.
- Language: Support multi-language version.
- System time setting: Set the system clock of the device.
- Watermark: can be set to time & date / date / off.
- Photo pixels: Can be set to 5M/8M/12M/16M/20M.
- System: Display the firmware version number.
- Video sound: can be set to turn on/off.
- Timer shooting settings: can be set to on/off.
- Timer: timer shooting time can be set (start and end time).
- Password setting: can be set to close or open (4-digit password).
- Format: Format the SD card (data will be cleared).
- Restore factory settings: The device parameters can be restored to the default state.
- Enter Hunting ON mode After setting the required working mode, pull the switch to ON mode to enter the formal working mode. After the countdown is 5 seconds, the LCD turns off, and the device can be placed in a suitable position and it can be used normally.

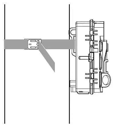
- How to use the strap Pass the tail of the strap through the strap opening of the back shell, then tie the straps to a suitable tree height, and pass the tail of the strap through the hardware buckle, just pull it tight.

- Notes
- The menu parameters can be adjusted only in the test mode.
- If you have not taken pictures, try to put your camera in a place where there is no heat source.
- Check the PIR sensitivity, for warm environmental conditions, set the sensor level to “low”, for cold weather, set the sensor to “high”.
- When the user forgets the password, press the MENU+REPLAY button at the same time and then turn it on to clear the original password.



















