
Bullet Network Camera Quick Start Guide
Waterproof Requirements
Please waterproof cables in accordance with the following instructions. User shall assume all responsibility for device damage caused by water due to improper waterproof measures.
NOTE!
- Before you start, connect all the needed cables and cut off the copper wires for the cables that you don’t use.
- Please use self-adhesive waterproof tape (supplied with some products) to protect the cables.
- Use waterproof components to protect the network cable. Waterproof the power cable separately if you don’t use it. The video cable does not need waterproof treatment.
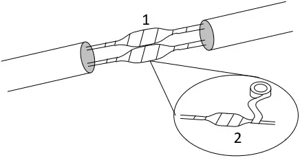
1. Use insulation tape (not included in the package) to insulate the connection part of each cable.

- Connection part
- Insulation tape
2. Waterproof the cables with self-adhesive waterproof tape.
(1) Fully stretch the waterproof tape at both ends.
(2) Wrap the connection part and the cable ends tightly with waterproof tape. Make sure the tape is fully stretched during the process.
(3) Tighten the tape at both ends to prevent water leakage.
Wrap the unused cables together into a bundle
- Tighten
- Waterproof tape
3. Install the supplied waterproof components to the network cable in sequence.

CAUTION!
You need to mount the rubber ring onto the network cable interface first.
4. If your camera has a DC cable and you will not use it, insert the plug into the interface.

- DC interface
- Plug
5. (Optional) After the waterproof treatment is completed, put the cables into a waterproof junction box (purchased separately).
CAUTION!
- The cable connector must not be exposed and must be kept away from water.
- Restore and fasten the device after dismounting.
- Place the power adapter in a power distribution box.
1 Packing List
Contact your local dealer if the package is damaged or incomplete. The package contents may vary with device model.
No. | Name | Qty | Unit |
| 1 | Camera | 1 | PCS |
| 2 | User manual | 1 | Set |
| 3* | Waterproof components(1) | 1 | Set |
| 4 | Screw components(2) | 1 | Set |
| 5* | Mount accessories(3) | 1 | Set |
Remarks:
* means optional and supplied with certain models only.
(1) Including one or more waterproof components such as tape and plug.
(2) Including one or more items from screws, hex key, etc.
(3) Including one or more items from drill template, bracket adapter, antistatic gloves, etc.
2 Appearance
2.1 Dimensions
The device appearance may vary with device model. The figures below are for illustrative purposes only.



2.2 Cable Connection
The tail cable may vary with device model. The figure below is for illustrative purposes only.

- Power interface
- Network interface
- Audio interface
- Alarm input/output interface
3 Mount Your Camera
3.1 (Optional) Install Micro SD Card
You need to install a Micro SD card if you want to save video on an on-board SD card.
NOTE!
- Please format the Micro SD card on the camera’s Web interface before use.
- Please consult your dealer or technical support for the recommended SD card specifications.
The SD card slot position may vary with device model. The figures below are for illustrative purposes only.
1. Use a screwdriver to remove the two screws on the card cover.

- Screw
2. Remove the card cover.
3. Insert the Micro SD card into the slot.

- Micro SD card slot
4. Replace the card cover and tighten the screws.
3.2 Wall Mount
Before installation, make sure the wall is strong enough to hold the device.
1. Drill holes on the wall and install plastic anchors.
(1) Paste the drill template on the wall and align the cross center with the hole on the wall. Lead the cables across the hole on the wall.
(2) Use a Ø6-6.5mm drill bit to drill 40mm-depth guide holes according to the positions marked by the drill template. Knock the plastic anchors into the guide holes and ensure that they are tightened up.

2. Screw the locknut to loosen the universal joint.

3. Mount the camera onto the wall and connect all cables. Lead the self-tapping screws through the guide holes in the base and fix them on the wall using a screwdriver.

4. Adjust the shooting angle.
(1) Adjust the opening of the universal joint as needed.
(2) Tighten the locknut.

4 Startup
After installation, connect one end of the power adapter (purchased separately) to the mains power supply, and then connect the other end to the power interface to start up the device.
5 Access Your Camera
Log in to the device’s Web interface to perform management or maintenance operations.
- Open your browser, enter the device’s IP address (192.168.1.13 by default) in the address bar and then press Enter to open the login page.
- Enter the username and password (admin/123456 by default) and then click Login.
NOTE!
- DHCP is enabled by default. If a DHCP server is used in your network, your camera may be assigned an IP address, and you need to use the assigned IP address to log in.
- You may need to install a plug-in at your first login (close all browsers during installation). Please follow the on-screen instructions to complete the installation and then open the browser again to log in.
- The default password is intended only for your first login. To ensure security, please change the password after your first login. You are strongly recommended to set a strong password of at least nine characters including all three elements: digits, letters and special characters.
Disclaimer and Safety Warnings
Copyright Statement
No part of this manual may be copied, reproduced, translated or distributed in any form or by any means without prior consent in writing from our company (referred to as us hereafter). The product described in this manual may contain proprietary software owned by our company and its possible licensors. Unless permitted, no one is allowed to copy, distribute, modify, abstract, decompile, disassemble, decrypt, reverse engineer, rent, transfer, or sublicense the software in any form or by any means.
Export Compliance Statement
Our company complies with applicable export control laws and regulations worldwide, including that of the People’s Republic of China and the United States, and abides by relevant regulations relating to the export, re-export and transfer of hardware, software and technology. Regarding the product described in this manual, our company asks you to fully understand and strictly abide by the applicable export laws and regulations worldwide.
Privacy Protection Reminder
Our company complies with appropriate privacy protection laws and is committed to protecting user privacy. You may want to read our full privacy policy at our website and get to know the ways we process your personal information. Please be aware, using the product described in this manual may involve the collection of personal information such as face, fingerprint, license plate number, email, phone number, GPS. Please abide by your local laws and regulations while using the product.
About This Manual
- This manual is intended for multiple product models, and the photos, illustrations, descriptions, etc, in this manual may be different from the actual appearances, functions, features, etc, of the product.
- This manual is intended for multiple software versions, and the illustrations and descriptions in this manual may be different from the actual GUI and functions of the software.
- Despite our best efforts, technical or typographical errors may exist in this manual. Our company cannot be held responsible for any such errors and reserves the right to change the manual without prior notice.
- Users are fully responsible for the damages and losses that arise due to improper operation.
- Our company reserves the right to change any information in this manual without any prior notice or indication. Due to such reasons as product version upgrade or regulatory requirement of relevant regions, this manual will be periodically updated.
Disclaimer of Liability
- To the extent allowed by applicable law, in no event will our company be liable for any special, incidental, indirect, consequential damages, nor for any loss of profits, data, and documents.
- The product described in this manual is provided on an “as is” basis. Unless required by applicable law, this manual is only for informational purpose, and all statements, information, and recommendations in this manual are presented without warranty of any kind, expressed or implied, including, but not limited to, merchantability, satisfaction with quality, fitness for a particular purpose, and noninfringement.
- Users must assume total responsibility and all risks for connecting the product to the Internet, including, but not limited to, network attack, hacking, and virus. We strongly recommend that users take all necessary measures to enhance the protection of network, device, data and personal information. Our company disclaims any liability related thereto but will readily provide necessary security related support.
- To the extent not prohibited by applicable law, in no event will our company and its employees, licensors, subsidiary, affiliates be liable for results arising out of using or inability to use the product or service, including, not limited to, loss of profits and any other commercial damages or losses, loss of data, procurement of substitute goods or services; property damage, personal injury, business interruption, loss of business information, or any special, direct, indirect, incidental, consequential, pecuniary, coverage, exemplary, subsidiary losses, however caused and on any theory of liability, whether in contract, strict liability or tort (including negligence or otherwise) in any way out of the use of the product, even if our company has been advised of the possibility of such damages (other than as may be required by applicable law in cases involving personal injury, incidental or subsidiary damage).
- To the extent allowed by applicable law, in no event shall our total liability to you for all damages for the product described in this manual (other than as may be required by applicable law in cases involving personal injury) exceed the amount of money that you have paid for the product.
Network Security
Please take all necessary measures to enhance network security for your device.
The following are necessary measures for the network security of your device:
- Change default password and set strong password: You are strongly recommended to change the
default password after your first login and set a strong password of at least nine characters including all three elements: digits, letters and special characters. - Keep firmware up to date: It is recommended that your device is always upgraded to the latest version for the latest functions and better security. Visit our official website or contact your local dealer for the latest firmware.
The following are recommendations for enhancing network security of your device:
- Change password regularly: Change your device password on a regular basis and keep the password safe. Make sure only the authorized user can log in to the device.
- Enable HTTPS/SSL: Use SSL certificate to encrypt HTTP communications and ensure data security.
- Enable IP address filtering: Allow access only from the specified IP addresses.
- Minimum port mapping: Configure your router or firewall to open a minimum set of ports to the WAN and keep only the necessary port mappings. Never set the device as the DMZ host or configure a full cone NAT.
- Disable the automatic login and save password features: If multiple users have access to your computer, it is recommended that you disable these features to prevent unauthorized access.
- Choose username and password discretely: Avoid using the username and password of your social media, bank, email account, etc, as the username and password of your device, in case your social media, bank and email account information is leaked.
- Restrict user permissions: If more than one user needs access to your system, make sure each user is granted only the necessary permissions.
- Disable UPnP: When UPnP is enabled, the router will automatically map internal ports, and the system will automatically forward port data, which results in the risks of data leakage. Therefore, it is recommended to disable UPnP if HTTP and TCP port mapping have been enabled manually on your router.
- SNMP: Disable SNMP if you do not use it. If you do use it, then SNMPv3 is recommended.
- Multicast: Multicast is intended to transmit video to multiple devices. If you do not use this function, it is recommended you disable multicast on your network.
- Check logs: Check your device logs regularly to detect unauthorized access or abnormal operations.
- Physical protection: Keep the device in a locked room or cabinet to prevent unauthorized physical access.
- Isolate video surveillance network: Isolating your video surveillance network with other service networks helps prevent unauthorized access to devices in your security system from other service networks.
Safety Warnings
The device must be installed, serviced and maintained by a trained professional with necessary safety knowledge and skills. Before you start using the device, please read through this guide carefully and make sure all applicable requirements are met to avoid danger and loss of property.
Storage, Transportation, and Use
- Store or use the device in a proper environment that meets environmental requirements, including and not limited to, temperature, humidity, dust, corrosive gases, electromagnetic radiation, etc.
- Make sure the device is securely installed or placed on a flat surface to prevent falling.
- Unless otherwise specified, do not stack devices.
- Ensure good ventilation in the operating environment. Do not cover the vents on the device. Allow adequate space for ventilation.
- Protect the device from liquid of any kind.
- Make sure the power supply provides a stable voltage that meets the power requirements of the device. Make sure the power supply’s output power exceeds the total maximum power of all the connected devices.
- Verify that the device is properly installed before connecting it to power.
- Do not remove the seal from the device body without consulting our company first. Do not attempt to service the product yourself. Contact a trained professional for maintenance.
- Always disconnect the device from power before attempting to move the device.
- Take proper waterproof measures in accordance with requirements before using the device outdoors.
Power Requirements
- Install and use the device in strict accordance with your local electrical safety regulations.
- Use a UL certified power supply that meets LPS requirements if an adapter is used.
- Use the recommended cordset (power cord) in accordance with the specified ratings.
- Only use the power adapter supplied with your device.
- Use a mains socket outlet with a protective earthing (grounding) connection.
- Ground your device properly if the device is intended to be grounded.
Battery Use Caution
- When battery is used, avoid:
Extremely high or low temperature and air pressure during use, storage and transportation;
Battery replacement. - Use the battery properly. Improper use of the battery such as the following may cause risks of fire,
explosion or leakage of flammable liquid or gas.
Replace battery with an incorrect type;
Dispose of a battery into fire or a hot oven, or mechanically crushing or cutting of a battery; - Dispose of the used battery according to your local regulations or the battery manufacturer’s
instructions. - Personal safety warnings:
Chemical Burn Hazard. This product contains a coin cell battery. Do NOT ingest the battery. It can cause severe internal burns and lead to death.
Keep new and used batteries away from children.
If the battery compartment does not close securely, stop using the product and keep it away from children.
If you think batteries might have been swallowed or placed inside any part of the body, seek immediate medical attention.
Regulatory Compliance
FCC Statements
This device complies with Part 15 of the FCC Rules. Operation is subject to the following two conditions: (1) this device may not cause harmful interference, and (2) this device must accept any interference received, including interference that may cause undesired operation.
Caution: The user is cautioned that changes or modifications not expressly approved by the party responsible for compliance could void the user’s authority to operate the equipment.
NOTE: This equipment has been tested and found to comply with the limits for a Class A digital device, pursuant to part 15 of the FCC Rules. These limits are designed to provide reasonable protection against harmful interference when the equipment is operated in a commercial environment. This equipment generates, uses, and can radiate radio frequency energy and, if not installed and used in accordance with the instruction manual, may cause harmful interference to radio communications. Operation of this equipment in a residential area is likely to cause harmful interference in which case the user will be required to correct the interference at his own expense.
LVD/EMC Directive
This product complies with the European Low Voltage Directive 2014/35/EU and EMC Directive 2014/30/EU.
WEEE Directive2012/19/EU
The product this manual refers to is covered by the Waste Electrical & Electronic Equipment (WEEE) Directive and must be disposed of in a responsible manner.
Battery Directive-2013/56/EC
Battery in the product complies with the European Battery Directive 2013/56/EC. For proper recycling, return the battery to your supplier or to a designated collection point.