
SMART FLOWING
RGB AMBIENT LIGHT
USER MANUAL
Product features
- Flowing RGB
- IRControl
- Voice Control
- Color Adjustment
- Music Mode
- App Control
- WiFi+BLE Connection
Specification
- Model: LA1AAL
- LED Count: 30 LEDs/pc
- Lumens: 75 Im/pc
- Power: Max 3.5W (x2)
- LED Color: RGB
- Max Color: 16.7 million
- IP Rating: IP40
- Voltage: DC 5V
- Connection Protocol: IR and WiFi+BLE (2.4Ghz b/g/)
Dimension

How to Install Using Mount

- Hold the Ambient Light according to your preference (Horizontal or Vertical), then align the Ambient Light screw hole with the mounscrew hole.
- Insert the screw and tighten it with the included alien key.
- After the Ambient Light is locked in position, don’t swing it to left or right.
Using Adhesive Sticker

- Before you stick the adhesive sticker, wipe the Ambient Light and the surface that you want to attach it on.
- Tear the adhesive sticker cover and stick it on the backside of the Ambient Light.
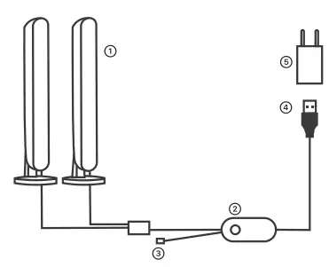
Product Diagram

- Ambient Light
- Multi-Function Button
- IR Receiver
- USB
- Adaptor
Fantech Smart Life App
- Search “Fantech Smart Life” App in Apple Store or Google Play

- Or scan this barcode to download the App.
https://a.smart321.com/fantechsmartiot
Minimum device requirement are Android 5.0 and iOS 10.0 with Bluetooth version z V5.0.
Log in/Register an account
Open the Smart APP, sign up for a new account or log in with an existing account.

App Connection
First Method
- After you’ve done install and connect all the cable, don’t forget to turn on your Smartphone Wifi and Bluetooth.
- After you plug the adator and USB, the Ambient Light will light up,but if it still turns off, then press the MFB Button to turn on the Ambient Light.
- Press the MFB Button for around 5sec, until the Ambient Light is flashing quickly
- Open the Fantech Smart Life App, Register and Login, then press “+” on the upper right of the Fantech Smart Life App.
- The Ambient Light will automatically pop-up, then press “Go to add”.
- Make sure that the Ambient Light already been selected (v)
- Fill in the WiFi Name and Password, and make sure you also use the same WiFi. Then press “Next”.
- Wait until it’s successfully connected.
Second Method
- After you’ve done install and connect all the cable, don’t forget to turn on your Smartphone WiFi and Bluetooth.
- After you plug the power, the Ambient Light will light up,but if it still turns off,then press the MFB Button to turn on the Ambient Light.
- Press the Multi-Function Button for around 5sec, until the Ambient Light is flashing quickly.
- Open the Fantech Smart Life App, Register and Login, then press “+” on the upper right of the Fantech Smart Life App.
- Select the Lighting Category, then choose “Smart Flowing RGB Ambient Light”.
- Follow the instructions and tap “next”
- Fill in the WiFi Name and Password, and make sure you also use the same WiFi. Then press “Next”.
- Wait until it’s successfully connected.

App Interface
- Scene Preset
1. Quiet Scene Preset: Film, Dating, Sunset, Christmas
2. Active Scene Preset: Romantic, Colorful, Dynamic, D
3. Romantic Scene Preset: Rainbow, Flowing Water
- Music Mode
1 Rhythm
2 Roll
3 Energy
4 Spectrum
- Customize Scene

Attentions
- Do not put any metal around the controller, which could block WiFi signal.
- Ensure the power supply and controller are connected correctly.
- Do not cover anything on the surface of power supply, controller, and LED strip.
- Ensure the connection is correct before powering

Note: The App interface is subject to the latest version.
Third party control
Fantech Smart Life supports Google Assistant and Amazon Alexa. Find the service in the “Me” menu, and select “Third-Party Voice Services ‘, After you select your desire Third-Party Voice Services,follow the instruction as shown in the app.

How to create a device group or synchronization
- Tap the device you want to make group or synchronization.
- Tap the upper right button to enter the device settings.
- Tap “Create Group”, then select which device you want to make Group with, then tap “Save” button on the upper right.
- Go Back to the home page, and you will see the device group with “3 squares icon”,then tap it to enter the device group control, and you can control the LED Light and make synchronization.
How to delete/edit a device group or synchronization
- Tap the device group that you want to delete.
- Tap the upper right button to enter the device settings.
- Tap the “Group Device” to edit the device, then tap “Save” on the upper right”
- Tap the “Dismiss Group” to delete the device group.
How to make Smart Automation
- On the home page, tap the “Smart” menu on the bottom page.
- Tap the “+” button on the upper right, and you can choose condition that you need.
1. Launch Tap-to-Run To control multiple devices or one device with one tap or by using an Al enabled speaker through voice commands.
2. When weather changes To control multiple devices or one device according to weather /temperature/humidity /Sunset or Sunrise/Wind Speed in your current city or location.
3. Schedule To control multiple devices or one device according to the schedule that you’ve set.
4. When device status changes To control multiple devices or one device according to status of another device that linked to the main device. (For example: If the AC turns off, the bedroom lights will turn off too)
Follow the instruction of each Automation setting.
Note: If you are unable to create a device group, please check in the following ways:
- Tap on the upper right corner of the device to enter the device settings, and check if you can see the “Create Group” option.
- If you can see it, tap it, and create a group.
- If you don’t see “Create Group” option on the device settings page, it means that the device doesn’t support group settings (Not all device support group functions).
IR Remote Control Manual
Product Description
You can use the IR Remote Control to control your Smart
Flowing RGB Led Strip
Features
- 19 Buttons
- CR2O25 Lithium Battery
- Distance 5-8m

How to use
Remove the plastic battery cover first before use.
Below is the description of each button’s function:
| Features | Action | Remote control buttons |
| ON/OFF | Short Press | |
| Music mode pause/beat | Short Press | |
| Speed/sensitivity | Short Press | |
| Dynamic mode switching | Short Press | |
| Music mode | Short Press | |
| Automatic mode | Short Press | |
| Brightness +/- | Short Press | |
| Stab color switching | Short Press | |
| WRGB | Short Press |
![]()






















