BriTeQ TOUCH 512-1024 Ultra Thin Wall Mountad Glass Panel and DMX Lighting Controller User Guide
Quick start Guide – TOUCH 512 / 1024
Serial Numbers T00200 and higher
Ultra thin wall mountad Glass panel and DMX lighting controller
This quick start guide contains important information on the safe operation of the product.
Read and follow the safety advice and instructions given. Retain the quick start guide for future reference.
If you pass the product on to others please include this quick start guide.
Safety instructions
Intended use:
This device is intended to control lighting devices and effects via computer using appropriate software. Any other use or use under other operating conditions is considered to be improper and may result in personal injury or property damage. No liability will be assumed for damages resulting from improper use.
General handling:
- Never use force when handling the product
- Never immerse the product in water
- Just wipe it with a clean dry cloth.
- Do not use liquid cleaners such as benzene, thinners or flammable cleaning agents
Never use the product:
- In direct sunlight
- In conditions of extreme temperature or humidity
- In extremely dusty or dirty areas
- At locations where the unit can become wet
- Near magnetic fields
Danger for children:
Ensure that plastic bags, packaging… are disposed of properly and are not within reach of babies and young children. Choking hazard! Ensure that children do not detach any small parts from the product. They could swallow the pieces and choke!
Features
Hardware features:
512 or 1024 channels DMX output
512 (1 zone), 1024 (5 zones with zone combinations)
Fine Control touch wheel
Play Scene, Color, Speed, Dimmer, Zones or Pages
Internal memory + Micro SD card slot
4 Contacts on 3~5V
Real Time Clock and calendar for each scene
USB-C (5V. DC, 0.1A), RJ45 (Contacts, Master/Slave)
7 Pin Terminal Block (DMX1, DMX2, DC Power)
Power input: 5~36V DC, 0.1A / Output: 5V DC
Housing: ABS, glass (panel)
Dimensions : H: 144 (5.67) / W: 97 (3.82) / D: 10 (0.39)
Operating Temperatures: -40 to +85 C° / -40 to 185 F°
International Warranty: 5 years
Device options:
Fine wheel control for RGB Colours, CCT, Speed, Dimmer Scenes, up to 8 per Zone
Pages, up to 5 with 8 scenes per page
Scene Recovery if power cut off / Default start scene
Clock schedule setup easily per hour, day, week, month, year and repeat year.
Cross Fade time between scenes
Standby panel display animations
Auto blackout LED panel after 4s
16-bit and fine channel management
Master/Slave synchronization, connect up to 32 devices
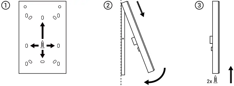
TOUCH mounting

Panel operation

- Zone selection (TOUCH 1024) | Page selection (TOUCH 512)
Tap to select zones/Pages individually. Hold 2s to combine Zones - Scenes #
Pick 1-8 (8 scenes per Zone or Page) - Colour wheel
Pick RGB-AW colour for the selected zone (Colour mode selected) - Colour temperature
Pick cool to warm white for the selected zone (CCT mode selected) - Dimmer intensity
Dial the wheel to adjust light intensity (+/-) (Dimmer mode selected) - Dimmer mode activation
Use the wheel to adjust brightness for selected zone (Active for 5s) - Colour mode activation
Use the wheel to pick RGB-Amber-White colour.
Hold 3s to enter cool/warm white mode - Scene mode activation
Use the wheel to start or stop the selected scene - Speed mode Activation
Use the wheel to change the current scene speed (Active for 5s) - Scene speed
Dial the wheel to adjust scene playback speed (+/-)
(Speed mode selected) - On / Off
Tap to cancel wheel settings (Hold 3s for black out) - Tactile wheel picker and dial
Adjust colour temperature, intensity (+/-) or speed (+/-) and scenes
7 Pin Terminal Pinout

RJ45 Pinout

Programming the device and Playback
- Download and install the free lighting control software and USB drivers
- Connect your device to your computer via the included USB-C cable
- Start the software (your interface will be detected automatically)
- Configure the software according your DMX lighting fixture setup
- Program scenes and sequences using the lighting control software
- Save the programmed scenes and sequences into the internal memory
- Close the software. Your panel is now ready to operate in standalone mode

















