HIKVISION DS-1249ZJ In-Ceiling Mount Bracket for Dome Camera

Features
- Enhanced plastic material
- In-ceiling mount bracket for dome camera
- Easy installation
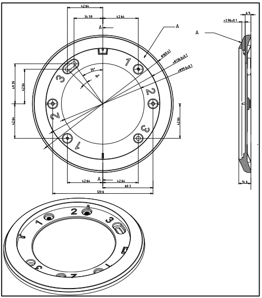
Dimension
Note: The actual bracket may vary from the picture above.
Order Model
DS-1249ZJ
Parameter
| Model
Parameters | DS-1249ZJ |
| In-ceiling Mount Bracket for Dome Camera | |
| Appearance | Hikvision White |
| Material | Plastic |
| Dimension | Φ169.4×14.6mm |
| Weight | 60g |
Notice:
- The bracket should be installed on flat wall
- Waterproof rubber is necessary for outdoor application
- The wall must be capable of supporting over 3 times as much as the total weight of the camera and the mount.
- The maximum load capacity of the bracket is 4.5KG





















