Stealth Products GAT461M Armrest Electronic Mounts User Guide
Intended Use
The GAT461M mounting hardware allows a Multi Joystick to be mounted directly to the arm of any Gatlin 400-, 405-, or 406-Series mid-line positioning mount. The GAT461M is designed to offer multiple points of adjustability including joystick angle and horizontal alignment.
Installation and Use
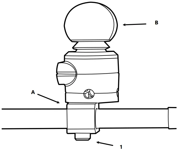
Step One: Remove bar plug (C2) from Gatlin arm (C1). Loosen clamping screw (1). Slide clamp onto the arm (C1)
Step Two: Slide clamp (A) to desired horizontal position. Replace bar plug (C2). Hold clamping screw (1) and position Multi Joystick (B) in place over the clamp (A)
Step Three: Tighten the screw (1) with a 4mm hex key, taking care not to overtighten. Mount Multi Joystick (B) and tighten to clamp (A).
WARNING
This product is designed to be fitted, applied, and installed exclusively by a healthcare professional trained for these purposes. The fitting, application, and/or installation by unqualified individuals could result in serious injury.
Warranty
Our products are designed, manufactured, and produced to the highest of standards. If any defect in material or workmanship is found, Stealth Products will repair or replace the product at our discretion. Any implied warranty, including the implied warranties of merchantability and fitness for a particular purpose, shall not extend beyond the duration of this warranty. Stealth Products, LLC does not warrant damage due to, but not limited to, misuse, abuse, or misapplication of products and modification of product without written approval from Stealth Products, LLC.
Any alteration or lack of serial number, where applicable, will automatically void this warranty. Stealth Products, LLC is liable for replacement parts only. Stealth Products, LLC is not liable for any incurred labor costs. No person is authorized to alter, extend, or waive the warranties of Stealth Products, LLC.
Important
Before you install or begin using any product, it is important that you read and understand the content of these installation and operating instructions. Product misuse due to failure to adhere to instructions and warnings in this document will void your warranty and may result in property damage, injury or death. Always keep the operating instructions in a safe place so they may be referenced as necessary. If this document contains information you do not understand or if there are concerns about safety or operation, contact your provider.
All information, pictures, illustrations and specifications are based on the product information available at the time of printing, and are representative examples. They are not intended to be exact descriptions of the various parts of the product. Instructions are written with the expressed intent of use with standard configurations. They also contain important safety and maintenance information. For assistance with advanced configurations or options, contact your provider or Stealth Products at (512) 715-9995 or toll free at (800) 965-9229.
Immediately discontinue use if any function is compromised, if parts are missing or loose or if any component shows signs of excessive wear. Consult with your provider for repair, adjustment or replacement. You can download additional copies of this manual by visiting https://stlpro.site/stealth-docs/ and searching for “GAT461M Mounting Hardware” in the document manager.
About Us
Stealth Products strives for 100% customer satisfaction. Your complete satisfaction is important to us. Please contact us with feedback or suggested changes that will help improve the quality and usability of our products.
You may reach us at:
Stealth Products, LLC
104 John Kelly Drive,
Burnet, TX 78611
Phone: (512) 715-9995 Toll Free: (800) 965-9229
Fax: (512) 715-9954 Toll Free: (800) 806-1225
[email protected]
www.stealthproducts.com
MDSS GmbH
Schiffgraben 41
30175 Hannover, Germany
SODIMED SA
Chemin Praz Devant 12
1032 Romanel sur-Lausanne, Switzerland
UK Authorized Representative
MDSS-UK RP
6 Wilmslow Road, Rusholme
Manchester M14 5TP, United Kingdom
















