ELSEMA iS270 Articulated Arm Gate Opener

iS270 / iS270D / iS270Solar ARTICULATED ARM GATE OPENER
USER MANUAL
iS270/iS270D/iS270Solar SWING GATE OPENER MANUAL
INDEX
GENERAL SAFETY PRECAUTION
…………………………………………………..P.1
INSTALLATION
GENERAL PRECAUTION
WARNING:
This user manual is only for qualified technicians who are specialized in installations and automations.
- All installations, electrical connections, adjustments and testing must be performed only after reading and understanding of all instructions carefully.
- Before carrying out any installation or maintenance operation, disconnect the ELSEMA PTY LTD shall not be liable for any injury, damage, or any claim to any person or property which may result from improper use or installation of this system.
Please keep this installation manual for future reference.
STANDARD INSTALLATION
A. STANDARD INSTALLATION
B. CHECKS BEFORE INSTALLATION
Before proceeding with the installation check the following:
- Be sure that gate moves freely.
- There are no obstacles in the moving gate area.
- Hinges are properly positioned and greased.
- There should be no friction between the two gate leafs.
- There should be no friction with the ground while moving the gates.
- Check that the gate structure is suitable to install automatic gate motors.
- The end stopper adjustment’s are done on the bottom side of the motor, therefore make sure there is enough clearance from the ground to adjust the stoppers.
Follow the measures shown in the chart for proper installation. If necessary, please adjust the gate structure for optimum performance.
C. COMPONENTS FOR INSTALLATION
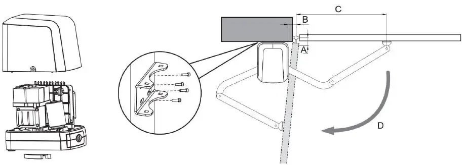
D. INSTALLATION OF ARTICULATED ARM
Refer to the Dimension Chart to choose the correct dimensions of the motors and position to be installed.
Check if the mounting surface where the brackets are to be installed is smooth, vertical and rigid. Run the cables for power supply and cable for the motors. Motor installation and setting for mechanical stopper in opened and closed position.
- Remove the upper cover and mechanical stoppers from the bottom of the motor.
- Place the gate in the full closed position and fix the U-shaped fixing plate on the wall.
- Install the motor on the U-shaped fixing plate with corresponding screws and nuts.
- After positioning the front of the curved arm on the bottom of the motor, release the motor and position the minor arm on the end of curved arm and the mounting bracket with corresponding screws and nuts.
- Fully closed position adjustment:
- Move the gate manually to the fully closed position.
- Fix the mechanical stopper at the fully closed position.
- Fully open position adjustment:
- Move the gate manually to the fully open position.
- Fix the mechanical stopper at the fully open position.
- Wiring Diagram
NOTE:
This product is intended for use by qualified technicians only.
Improper installation may result in injury, damage, or any claim to any person or property. Please keep this installation manual for future reference.
DISCLAIMER:
ELSEMA PTY LTD shall not be liable for any injury, damage, or any claim to any person or property which may result from improper use or installation of this system.
GENERAL PRECAUTION
WARNING:
This user manual is only for qualified technicians who are specialized in installations and automations.
- All installations, electrical connections, adjustments and testing must be performed only after reading and understanding of all instructions carefully.
- Before carrying out any installation or maintenance operation, disconnect the electrical power supply by turning off the mains switch connected upstream and apply the hazard area notice required by applicable regulations.
- Make sure the existing structure is up to standard in terms of strength and stability.
- When necessary, connect the motorized gate to reliable earth system during electricity connection phase.
- Installation requires qualified personnel with mechanical and electrical skills.
- Keep the automatic controls (remote, push buttons, key selectors. etc) placed properly and way from children.
- For replace or repair of motorized system, only original parts must be used.
Any damage caused by inadequate parts and methods will be not claimed to motor manufacturer. - Never operate the drive if you suspect that it might be faulty or will cause damage to the system.
- The motors are exclusively designed for gate opening and closing application, any other usage is deem inappropriate. The manufacturer will not be liable for any damage resulting from the improper use. Improper usage should void all warranty, and the user accepts sole responsibility for any risks thereby may accrue.
- The system may be operated in proper working order. Always follow the standard procedures by following the instructions in this installation and operating manual.
- Only operate the remote when you have the full view of the gate.
ELSEMA PTY LTD shall not be liable for any injury, damage, or any claim to any person or property which may result from improper use or installation of this system.
Please keep this installation manual for future reference.
STANDARD INSTALLATION
STANDARD INSTALLATION

- Strobe Light
- Push Button
- Photo Electric Beams
- iS270 Gate Opener
- Inground Loop
- Control Box
CHECKS BEFORE INSTALLATION
Before proceeding with the installation check the following:
- Be sure that gate moves freely.
- There are no obstacles in the moving gate area.
- Hinges are properly positioned and greased.
- There should be no friction between the two gate leafs.
- There should be no friction with the ground while moving the gates.
- Check that the gate structure is suitable to install automatic gate motors.
- The end stopper adjustment’s are done on the bottom side of the motor, therefore make sure there is enough clearance from the ground to adjust the stoppers.
Follow the measures shown in the chart for proper installation. If necessary, please adjust the gate structure for optimum performance.


COMPONENTS FOR INSTALLATION


INSTALLATION OF ARTICULATED ARM
- Refer to the Dimension Chart to choose the correct dimensions of the motors and position to be installed.
- Check if the mounting surface where the brackets are to be installed is smooth, vertical and rigid.
- Run the cables for power supply and cable for the motors.
- Motor installation and setting for mechanical stopper in opened and closed position.
- Remove the upper cover and mechanical stoppers from the bottom of the motor.

- Place the gate in the full closed position and fix the U-shaped fixing plate on the wall.
- Install the motor on the U-shaped fixing plate with corresponding screws and nuts.

- After positioning the front of the curved arm on the bottom of the motor, release the motor and position the minor arm on the end of curved arm and the mounting bracket with corresponding screws and nuts.

- Fully closed position adjustment :
- Move the gate manually to the fully closed position.
- Fix the mechanical stopper at the fully closed position.

- Fully open position adjustment :
- Move the gate manually to the fully open position.
- Fix the mechanical stopper at the fully open position.

- Wiring Diagram
- Remove the upper cover and mechanical stoppers from the bottom of the motor.

Motor 1
Wire motor 2 to the 2nd motor and encoder terminal
EMERGENCY RELEASE
In case of power failure, The operator can be switched to manual operation.
- Insert the release key to the release slot
- Turn the release key anti-clockwise
- Pull out the release bar
- Turn the release key clockwise to fix the release bar, the release bar has to be in pulled out position when turning the release key clockwise.

ELECTRICAL CONNECTION
After successful motor installation, refer to the user manual of the control card for automatic operation setup.
TECHNICAL FEATURES
Technical Features:

Dimension:

MAINTENANCE
Maintenance should be performed at least every six months. If it is used in high traffic area, a more regular maintenance should be performed.
Disconnect the power supply:
- Clean and lubricate the screws, the pins and the hinge with grease.
- Check the fastening points are properly tightened.
- Check and make sure that the wire connections are in good condition.
Connect the power supply:
- Check the power adjustments.
- Check the function of the manual release
- Check the photocells or other safety device.
Service History
Date Maintenance Installer
- Solar kits
- Solar panels
- Backup batteries
- Photoelectric beams
- Magnetic locks
- Wireless keypads
- Preformed loop
Visit www.elsema.com to see our full range of Gate and Door Automation products
iS270/iS270D/iS270Solar SWING GATE OPENER MANUAL
























