STELPRO INSSSC-SSCM0622 SSC/SSCM Snow Melting System

WARNING
Before installing and operating this product, the user and/or installer must read, understand and follow these instructions to prevent serious injury, property damage, and potentially fatal electric shocks. Keep them handy for future reference. Failure to follow these instructions will void the warranty, and the manufacturer will assume no further responsibility for this product. When the product specifications are changed to improve operability or other functions, priority is given to the product specification itself. In such instances, the actual product and packaging, as well as the name and illustrations, may differ from those in this installation guide. Double-check that the product voltage and wattage on the product packaging meet the project specifications in your custom installation plan and the product specifications in the next section. Make sure to follow the instructions below Failure to follow these instructions may cause a fire hazard and damage the system.
- This product must be installed by a qualified person in accordance with this installation guide. All electrical connections must be made by a qualified electrician, according to the electrical (Canadian Electrical Code Part 1 or National Electrical Code) and building codes effective in your region.
- Before powering up the system, ensure that the electrical connections have been made safely and securely.
- Cut off the power supply at the circuit breaker/fuse before installing or repairing the product.
- The heating mat or cable must be grounded and connected to a ground fault equipment protector (GFEP).
- Never cut or alter the heating cables and their connections, as this changes the cable resistance and can cause overheating and damage to the mat.
- Never modify the unit, as you will be held responsible for any resulting damage, and the warranty and CSA certification will be void.
- The mat must be laid flat, as folding the mat over itself can cause it to overheat and result in damage or fire.
- When handling the mat, avoid forcefully folding the mat over itself, as this could damage its sheath and internal wiring.
- Avoid damaging the product with heavy equipment, machinery, or vehicles.
- Do not walk on or bend splices.
- Keep the product away from other heat sources, such as luminaries and chimneys.
- Put high-voltage and low-voltage power cables in separate conduits.
- Never power up the heating cables before they are embedded in concrete, asphalt, or mortar (even for testing purposes).
- Allow the poured concrete or asphalt to dry before powering up the heating cables.
- The National Electric Code requires that heating cables be installed over a base of at least 2 in. of substantial masonry or asphalt and have at least 1.5 in. of the same poured over the cable. Our recommendations are based on NEC standards.
- The cable must not be shortened or cut in any manner or subjected to strain at the splice joint.
PRODUCT DESCRIPTION
The °STELPRO snow melting system is designed for outdoor floor heating applications in which the heating mat or cable is completely embedded in concrete, asphalt, or mortar. It is an ideal solution for outdoor driveways, walkways, stairs, and patios in dry or wet environments. The mat is more suitable for large spaces, such as wide walkways or driveways, as it must be unrolled and anchored. The cable is more suitable for smaller spaces, such as narrow walkways, stairs, and patios, as it must be attached to wire mesh. For help finding the model that best suits your needs, see Models. The °STELPRO snow melting system must be protected by a ground fault equipment protector (GFEP).
TECHNICAL DESCRIPTION
The heating cable is comprised of a dual heating element with a primary insulation of fluoropolymer. The insulated core is protected with wrapped copper shielding and an outer jacket of PVC, EPR, or a zero-halogen polyolefin-based compound to make it sturdier and prevent corrosion. These cables are terminated with 20 ft. standard cold leads. The heating mat is a cable-in-mat construction (1 1/4 in. x 1 1/4 in. mesh openings), with a heating cable taped on a polypropylene (PP) mat. The heating cable is laid in a serpentine fashion so that it is equally spaced and distributed on the PP mat.
TECHNICAL SPECIFICATIONS
| FEATURE | MAT (SSCM SERIES) | CABLE (SSC SERIES) |
| Voltage | 208 V/240 V, 277 V, and 347 V | 208 V/240 V, 277 V, and 347 V |
| Mat width | 2 ft. and 3 ft. (3 in. spacing) | N/A (3 in. spacing) |
| Linear density | 12 W/ft. | 12 W/ft. |
| Density | 50 W/sq. ft. | 12 W/ft. |
| Covered surface | 10–120 sq. ft. | 10–120 sq. ft. |
| Cold lead length | 20 ft. | 20 ft. |
| Cold lead outer diameter | 0.42 in. for 12 ga. and 0.38 in. for 14 ga. | 0.42 in. for 12 ga. and 0.38 in. for 14 ga. |
| Cold lead gauge | 12–14 ga. | 12–14 ga. |
| Minimum bend radius | 1.65 in. | 1.65 in. |
| Heating cable diameter | 0.28 in. | 0.28 in. |
| Resistance wire insulation | Fluoropolymer (ECTFE) | Fluoropolymer (ECTFE) |
| Ground | Wrapped copper shielding | Wrapped copper shielding |
| Outer sheath insulation | Polyolefin | Polyolefin |
| Cold lead with thickened core insulation | PVC | PVC |
| Cold lead outer sheath insulation | PVC | PVC |
| Cold lead details | 3-core PVC cold lead | 3-core PVC cold lead |
| Maximum long-term exposure temperature | 105°C (221°F) (Cable is rated at 70°C [158°F] as per CSA certification) | 105°C (221°F) (Cable is rated at 70°C [158°F] as per CSA certification) |
| Maximum exposure temperature for 10 minutes (asphalt) | 220°C (428°F) for heating cable | 220°C (428°F) for heating cable |
| Minimum installation temperature | -15°C (5°F) | -15°C (5°F) |
| Certification | cCSAus | cCSAus |
| Marking | Canada: WS, X United States: Type C | Canada: WS, X United States: Type C |
MODELS
To determine which product best suits your heating needs, see the following tables.
| °STELPRO SKU | Voltage | Width (ft.) | MAT Length (ft.) | Area (sq. ft.) | Watts | Amps | Power density |
| SSCM2W0500L2S010 | 240 | 2 | 5 | 10 | 500 | 2.1 | 50.0 |
| SSCM2W1000L2S020 | 240 | 2 | 10 | 20 | 1 000 | 4.2 | 50.0 |
| SSCM2W1500L2S030 | 240 | 2 | 15 | 30 | 1 500 | 6.3 | 50.0 |
| SSCM2W2000L2S040 | 240 | 2 | 20 | 40 | 2 000 | 8.3 | 50.0 |
| SSCM2W2500L2S050 | 240 | 2 | 25 | 50 | 2 500 | 10.4 | 50.0 |
| SSCM2W3000L2S060 | 240 | 2 | 30 | 60 | 3 000 | 12.5 | 50.0 |
| SSCM2W3500L2S070 | 240 | 2 | 35 | 70 | 3 500 | 14.6 | 50.0 |
| SSCM2W4000L2S080 | 240 | 2 | 40 | 80 | 4 000 | 16.7 | 50.0 |
| SSCM2W4500L2S090 | 240 | 2 | 45 | 90 | 4 500 | 18.8 | 50.0 |
| SSCM2W5000L2S100 | 240 | 2 | 50 | 100 | 5 000 | 20.8 | 50.0 |
| SSCM2W6000L2S120 | 240 | 2 | 60 | 120 | 6 000 | 25.0 | 50.0 |
| SSCM2W1500L3S030 | 240 | 3 | 10 | 30 | 1 500 | 6.3 | 50.0 |
| SSCM2W3000L3S060 | 240 | 3 | 20 | 60 | 3 000 | 12.5 | 50.0 |
| SSCM2W3750L3S075 | 240 | 3 | 25 | 75 | 3 750 | 15.6 | 50.0 |
| SSCM2W4500L3S090 | 240 | 3 | 30 | 90 | 4 500 | 18.8 | 50.0 |
| SSCM2W6000L3S120 | 240 | 3 | 40 | 120 | 6 000 | 25.0 | 50.0 |
| SSCM3W4000L2S080 | 347 | 2 | 40 | 80 | 4 000 | 11.5 | 50.0 |
| SSCM3W5000L2S100 | 347 | 2 | 50 | 100 | 5 000 | 14.4 | 50.0 |
| SSCM3W6000L2S120 | 347 | 2 | 60 | 120 | 6 000 | 17.3 | 50.0 |
| SSCM3W3000L3S060 | 347 | 3 | 20 | 60 | 3 000 | 8.6 | 50.0 |
| SSCM3W4500L3S090 | 347 | 3 | 30 | 90 | 4 500 | 13.0 | 50.0 |
| SSCM3W6000L3S120 | 347 | 3 | 40 | 120 | 6 000 | 17.3 | 50.0 |
| SSCM7W0500L2S010 | 277 | 2 | 5 | 10 | 500 | 1.8 | 50.0 |
| SSCM7W1000L2S020 | 277 | 2 | 10 | 20 | 1 000 | 3.6 | 50.0 |
| SSCM7W1500L2S030 | 277 | 2 | 15 | 30 | 1 500 | 5.4 | 50.0 |
| SSCM7W2000L2S040 | 277 | 2 | 20 | 40 | 2 000 | 7.2 | 50.0 |
| SSCM7W2500L2S050 | 277 | 2 | 25 | 50 | 2 500 | 9.0 | 50.0 |
| SSCM7W3000L2S060 | 277 | 2 | 30 | 60 | 3 000 | 10.8 | 50.0 |
| SSCM7W3500L2S070 | 277 | 2 | 35 | 70 | 3 500 | 12.6 | 50.0 |
| SSCM7W4000L2S080 | 277 | 2 | 40 | 80 | 4 000 | 14.4 | 50.0 |
| SSCM7W4500L2S090 | 277 | 2 | 45 | 90 | 4 500 | 16.2 | 50.0 |
| SSCM7W5000L2S100 | 277 | 2 | 50 | 100 | 5 000 | 18.1 | 50.0 |
| SSCM7W6000L2S120 | 277 | 2 | 60 | 120 | 6 000 | 21.7 | 50.0 |
| SSCM7W1500L3S030 | 277 | 3 | 10 | 30 | 1 500 | 5.4 | 50.0 |
| SSCM7W3000L3S060 | 277 | 3 | 20 | 60 | 3 000 | 10.8 | 50.0 |
| SSCM7W3750L3S075 | 277 | 3 | 25 | 75 | 3 750 | 13.5 | 50.0 |
| SSCM7W4500L3S090 | 277 | 3 | 30 | 90 | 4 500 | 16.2 | 50.0 |
| SSCM7W6000L3S120 | 277 | 3 | 40 | 120 | 6 000 | 21.7 | 50.0 |
| °STELPRO SKU | Voltage | Length (ft.) | CABLE Area (sq. ft.) (3 in.) | Watts | Amps | Power density (W/ft.) |
| SSC2W0450S009 | 240 | 37 | 9 | 450 | 1,9 | 12.16 |
| SSC2W1000S020 | 240 | 84 | 20 | 1 000 | 4,2 | 11.90 |
| SSC2W1400S028 | 240 | 118 | 28 | 1 400 | 5,8 | 11.86 |
| SSC2W2000S040 | 240 | 168 | 40 | 2 000 | 8,3 | 11.90 |
| SSC2W2500S050 | 240 | 209 | 50 | 2 500 | 10,4 | 11.96 |
| SSC2W3000S060 | 240 | 251 | 60 | 3 000 | 12,5 | 11.95 |
| SSC2W4000S080 | 240 | 335 | 80 | 4 000 | 16,7 | 11.94 |
| SSC2W4500S090 | 240 | 375 | 90 | 4 500 | 18,8 | 12.00 |
| SSC2W5000S100 | 240 | 420 | 100 | 5 000 | 20,8 | 11.90 |
| SSC2W6000S120 | 240 | 500 | 120 | 6 000 | 25,0 | 12.00 |
| SSC7W0450S009 | 277 | 37 | 9 | 450 | 1,6 | 12.16 |
| SSC7W1000S020 | 277 | 84 | 20 | 1 000 | 3,6 | 11.90 |
| SSC7W1400S028 | 277 | 118 | 28 | 1 400 | 5,1 | 11.86 |
| SSC7W2000S040 | 277 | 168 | 40 | 2 000 | 7,2 | 11.90 |
| SSC7W2500S050 | 277 | 209 | 50 | 2 500 | 9,0 | 11.96 |
| SSC7W3000S060 | 277 | 251 | 60 | 3 000 | 10,8 | 11.95 |
| SSC7W4000S080 | 277 | 335 | 80 | 4 000 | 14,4 | 11.94 |
| SSC7W4500S090 | 277 | 375 | 90 | 4 500 | 16,2 | 12.00 |
| SSC7W5000S100 | 277 | 420 | 100 | 5 000 | 18,1 | 11.90 |
| SSC7W6000S120 | 277 | 500 | 120 | 6 000 | 21,7 | 12.00 |
BEFORE YOU BEGIN
WHAT’S INCLUDED
- Mat or cable
- Installation guide
- Warranty booklet
REQUIRED MATERIALS AND TOOLS
- Calibrated ohmmeter/multimeter and megohmmeter.
- Controller (see Selecting a Controller).
- Ground fault equipment protector (GFEP).
- The junction box is approved for the environment in which it is used.
- Conduit approved for cold leads (high-voltage electric cable).
- Conduit approved for a 5/16 in. (8 mm) ground sensor (where required).
Note: The conduits can be of the same type; however, the cold lead and ground sensor cables should be in separate conduits. - Welded wire mesh or rebar for concrete installations.
- Plastic cable ties for framework installations.
- Concrete anchors or nails to set the galvanized steel strapping (strapping available as an option).
- Angle irons, 1 in. x 1 in. (25 mm x 25 mm) (protects the cable under control joints in concrete installations).
- RTV silicone rubber (protects the cable under control joints and seals the ground sensor in concrete installations).
- Measuring and leveling tools.
- Scissors.
- Spray paint to outline clearances
PLANNING AND DESIGN
Ensure that you carefully plan and design your system around the project specifications and installation requirements. This helps create the best possible design that optimizes system cost and performance.
INSTALLATION TYPES
The snow-melting system can be installed under asphalt, concrete, or mortar (for stone or brick pavers). For illustrations of the three installation types, see the corresponding section in Installation. You are responsible for providing a high-quality base for your installation and following good engineering practices to ensure the long-term structural stability of the heated surface. The quality of the coating material and granular base must comply with construction standards. Settling, cracking, or crumbling of the coating could damage the cable. An improper installation that results in damage or malfunctioning of the cable will not be covered by the warranty.
CREATING AN INSTALLATION PLAN
When creating an installation plan, ensure that you account for the :
- System supply voltage.
- Measurements of the heated surface.
- Position and dimensions of any fixed elements or expansion and control joints to be bypassed (remember to plan for any future additions, such as handrails or lamp posts).
- Coating type (asphalt, concrete or mortar).
- Position and dimension of curbs in asphalt or concrete applications.
- Position and dimension of drains for the melted snow and ice.
- Position of junction boxes.
- Position of the controller and sensor.
- You must also consider that :
- There must be 6 in. (152 mm) of clearance between the mat and any obstacles, such as drains or non-heating ducts.
- The minimum radius of curvature of the mat or cable must be no less than 1.65 in. (42 mm).
PLANNING THE HEATED SURFACE
The heated surface is one of the main elements that will influence your system design. To determine the size of the heated surface, calculate the total area and subtract all clearance areas. °STELPRO products provide between 500 and 6,000 W per mat or cable (see Models). One electric circuit can cover up to 120 sq. ft. (6,000 W). A surface of up to 120 sq. ft. requires one electrical circuit, a mat or cable, and a controller (plus the other installation materials). See Figure 1 for a typical line diagram for a surface of up to 120 sq. ft.

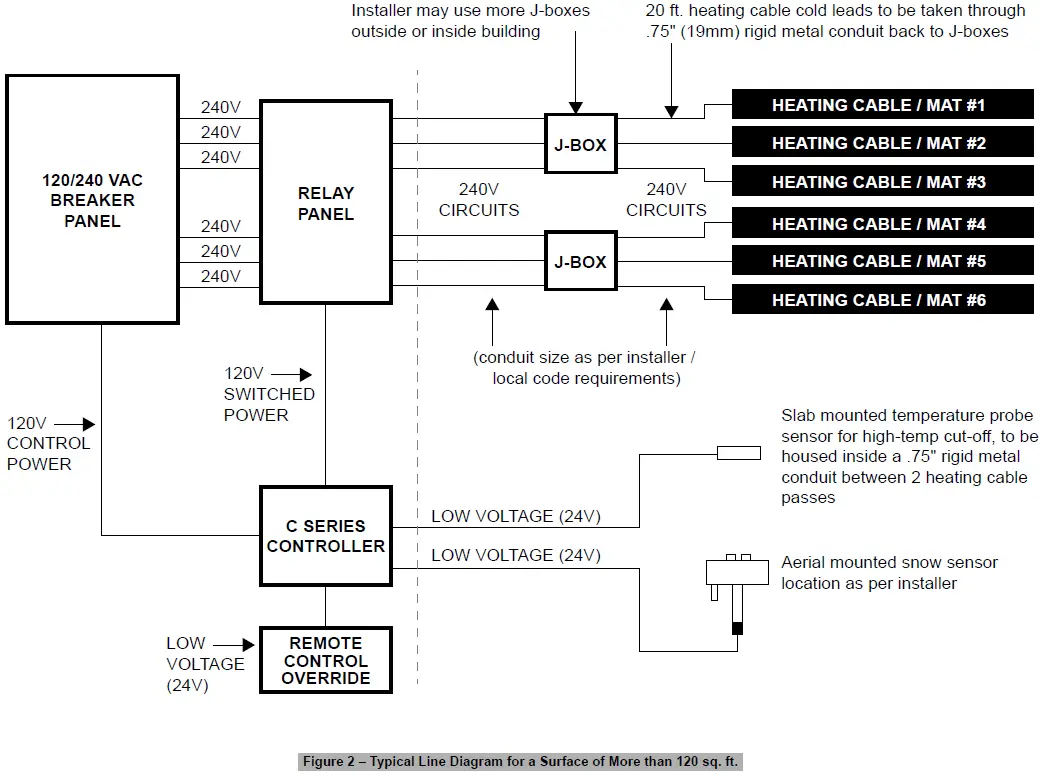
- A surface of more than 120 sq. ft. requires multiple electrical circuits, with each circuit powering a mat or cable. You will also need junction boxes, a relay panel, and conduits. See Figure 2 for a typical line diagram for a surface of more than 120 sq. ft.

SELECTING A MAT
- If you are using a mat, simply select the model that corresponds to your dimensions. For help selecting the mat that best suits your area, see Models.
SELECTING A CABLE
- If using a cable, calculate the length of cable needed to cover the surface. Depending on the watts required per square foot, the cables will be
spaced between 3–3.5 in. (76–89 mm) apart. The greater the spacing, the fewer the watts per square foot.
SELECTING A CONTROLLER
- °STELPRO recommends using a controller with a pavement-mounted or aerial-mounted sensor to control the snow melting system.
- If using only one electrical circuit, for a surface of up to 120 sq. ft., °STELPRO recommends using the Pro Series controllers.
- If using multiple electrical circuits, for a surface of more than 120 sq. ft., °STELPRO recommends using the C Series controllers.
TESTING
- Although each mat or cable is subject to factory quality control, testing is key to ensure that your product remains fully functional throughout the installation process. Repairing the mat or cable can be very expensive once it is embedded in asphalt, concrete or mortar.
- Three electrical tests must be conducted throughout the installation process, and the results must be recorded in the warranty booklet. Comparing the various test results will indicate whether any changes have occurred during installation.
- Since all measuring instruments are different, we recommend that you consult the resistance measurement section of your instrument’s user guide before proceeding.
- If the mat or cable is damaged during the installation process, you will need to call a qualified repair technician approved by °STELPRO. Call
- °STELPRO Customer Service or visit www.stelpro.com for more details. Note that any damage that occurs to the mat or cable during the installation process is not covered by the warranty.
WHEN SHOULD THE TESTS BE DONE?
All three tests must be conducted:
- When the mat or cable is right out of the box and still rolled up in its bag. If it has been unrolled and removed from the bag, the warranty will be void. If the tests determine that the mat or cable is defective before unrolling the mat or cable, the °STELPRO warranty will apply.
- After the mat or cable has been installed, but before it has been embedded in asphalt, concrete or mortar. If the tests determine that the mat or cable is defective, the electrician is responsible for fixing the issue.
- After the mat or cable is fully installed and embedded and the coating has cured. If the tests determine that the mat or cable is defective, the contractor is responsible for fixing the issue (replacing the mat or cable and redoing the installation).
TEST #1: CONDUCTOR RESISTANCE TEST
WHAT DOES THE TEST DETERMINE?
This test ensures that the product is in good working condition and provides the appropriate resistance.
REQUIRED TOOLS
This test requires an ohmmeter or multimeter.
CONDUCTING THE TEST
- Ensure that your ohmmeter or multimeter has been calibrated.
- If using a multimeter, select the “Ohm” or “Ω” setting.
- If using a manual range multimeter, select the lowest ohm range that covers the nominal ohm value of the mat or cable.
- Take a resistance measurement between the two power leads (BLACK and RED). If the ohm readings vary significantly, i.e.the measured value is more than 10 ohms or more than 10% from the nominal value printed on the product tag, it means that either the product has been damaged or the measuring instrument is not calibrated properly.
- Record the ohm measurement in your warranty booklet.
TEST #2: CONDUCTOR AND GROUND BRAID CONTINUITY TEST
WHAT DOES THE TEST DETERMINE?
The heating cable is protected by a ground braid, and an electrical insulator prevents any contact between the two. This test indicates whether there is any continuity between the braid and the conductor.
REQUIRED TOOLS
This test requires a multimeter.
CONDUCTING THE TEST
- Select the highest resistance setting on your multimeter and work backward, or select “Ohm” or “Ω” if using an auto-ranging multimeter.
- Measure the resistance between the ground cable (GREEN) and one of the two power leads (BLACK or RED). If there is no continuity between them, the multimeter will display either “OL” for “overload” or “I” for “infinity”. If the test fails, the multimeter will display a number reading.
- Record the test result in your warranty booklet.
TEST #3: INSULATION RESISTANCE TEST
WHAT DOES THE TEST DETERMINE?
This test detects any breaks in the heating cable insulation, which are likely to cause current leakage. Excessive leakage is usually detected by the mandatory ground fault equipment protector (GFEP), which trips the circuit and disables the snow-melting system.
REQUIRED TOOLS
This test requires a 1,000 V megohmmeter.
CAUTION: HIGH VOLTAGE
CONDUCTING THE TEST
- Set the megohmmeter voltage to 1,000 V.
- Take an insulation measurement between the ground cable (GREEN) and one of the two power leads (BLACK or RED). If the test is successful, the reading will be equal to or greater than 1 gigaohm (1 gigaohm = 1 G ohm = 1,000 M ohms = 1,000 megaohms).
- Record the insulation resistance measurement in your warranty booklet.
INSTALLATION
Follow the instructions below that apply to your snow melting system type (mat or cable) and coating type (asphalt, concrete, or mortar). To install the overheat protection sensors, rain or snow sensor and controller, see the manufacturer’s installation manual.
GENERAL PRECAUTIONS
- Remove any sharp objects that could damage the heating cables.
- Never run heavy equipment over the exposed heating cables.
- Avoid stepping on the cable where the hot (orange) and cold (black) sections meet, as this is where the factory splice is located
- Keep the end of the cold lead dry and protected throughout the entire installation process.
- Attach the cable to the framework using plastic cable ties. Do not use metal cable ties.
- Firmly anchor the mat to the framework to prevent it from moving when the surface is poured.
- Cables or mats must not cross expansion joints. The electrician should spray paint lines on the finished surface to indicate where the expansion joints are located.
- The electrician and asphalt/concrete/mortar installer are responsible for working together to avoid cutting or drilling through heating cables that are no longer visible beneath the surface.
- When installing the cables in areas with handrails, it is strongly recommended that the surface installer pre-sleeve the posts to avoid having to drill the asphalt/concrete/mortar.
- Cables must be routed around handrail sleeves or posts to prevent direct contact.
ELECTRICAL INSTALLATION REQUIREMENTS
- The maximum current rating of the circuit breaker or fuse of the branch circuit supplying this product must be limited to 15 A.
- For easy reference, affix a label near the power distribution board indicating the location of the heating units installed.
INSTALLING THE JUNCTION BOX
If the heated surface is larger than 120 sq. ft., you will need to install junction boxes. See Figure 3 for a typical junction box installation inside a concrete wall.

INSTALLING UNDER ASPHALT
- Before pouring the first layer of asphalt, ensure that you have a solid base (see Installation types). The cable/mat can be installed over hot asphalt while the maximum exposure temperature is 220°C (428°F) for up to 10 minutes.
- See Figure 4 for the proper installation under asphalt.
STEP 1: TEST
- Before pouring the base coat of asphalt, conduct all three tests as described in Testing.
STEP 2: LAY THE BASE COAT
- Lay the base coat of asphalt and roll it smooth.
- Use spray paint to indicate the position of fixed elements or expansion and control joints to be bypassed.
STEP 3: LAY THE HEATING MATS/CABLES AND CONDUITS
- Slowly unroll the heating mat wire side down or install the cable on the base coat.
- Route the cold lead(s) back to the accessible weatherproof junction box(es) through a rigid metal conduit(s) or other approved means, ensuring that the heated section does not enter the conduit(s). The junction boxes must be accessed from above, so the rest of the boxes are buried to avoid damage by lawnmowers and/or vehicles. See Installing the junction box.
- If needed, place the slab-mounted snow sensor in an unobstructed area so that snow will fall directly on it. Use a separate conduit to protect the low-voltage sensor wire. It must not share the same conduit as any high-voltage cold lead from the heating cables or mats.
STEP 4: LAY THE FINAL COAT
- Once the heating cables and conduits are installed, pour 2–3 in. (51–76 mm) of asphalt over the heating cables.
- Spread it evenly with shovels, rakes, or a spreader machine (if you have tire track coverage spread the top coat without making direct contact with the heating cables).
Note: Shovels should be duct taped so the blade edges are less sharp, and rakes should be used upside down to prevent the teeth from causing damage. - Steamroll the top coat to flatten the area.
- Let the asphalt cure.
STEP 5: TEST
- After the asphalt has cured, conduct all three tests as described in Testing.

INSTALLING UNDER CONCRETE
Before pouring the concrete, ensure that you have a solid base (see Installation types). The openings in the snow melt rolls are 1 1/4 in. x 1 1/4 in. Use 3/4 in. (19 mm) or smaller aggregate in the concrete. See Figure 5 for the proper installation under concrete.
Single-pour installation
STEP 1: TEST
- Before pouring the concrete, conduct all three tests as described in Testing.
STEP 2: LAY THE HEATING MATS/CABLES AND CONDUITS
- Use spray paint to indicate the position of fixed elements or expansion and control joints to be bypassed.
- Place the wire mesh or rebar.
- Attach the heating cable or mat to the wire mesh or rebar with plastic cable ties, spacing the cable 3–4 in. (76–102 mm) apart if using a free-form cable. Leave 3–6 in. (76–152 mm) of space between the cable and expansion joint (see Figure 6 and Figure 7). For control joints, place the cable under an angle iron (see Figure 8 and Figure 9).
- Prop up the wire mesh or rebar with concrete rubble, wire chairs, or brick pavers to ensure that the heating cable will be 2–3 in. (51–76 mm) below the finished surface.
- Route the cold lead(s) back to the accessible weatherproof junction box(es) through a rigid metal conduit(s) or other approved means, ensuring that the heated section does not enter the conduit(s). The junction boxes must be accessed from above, so the rest of the box is buried to avoid damage by lawnmowers and/or vehicles. See Installing the junction box.
- If needed, place the slab-mounted snow sensor in an unobstructed area so that snow will fall directly on it. Use a separate conduit to protect the low-voltage sensor wire. It must not share the same conduit as any high-voltage cold lead from the heating cables or mats.
STEP 3: POUR THE CONCRETE
- Once the heating cables and conduits are installed, pour 2–3 in. (51–76 mm) of concrete over the heating cables.
- Spread it evenly with shovels and rakes.
Note: Shovels should be duct taped so the blade edges are less sharp, and rakes should be used upside down to prevent the teeth from causing damage.
STEP 4: TEST
- After the concrete has cured, conduct all three tests as described in Testing.
Double-pour installation
STEP 1: TEST
- Before pouring the first layer of concrete, conduct all three tests as described in Testing.
STEP 2: POUR THE FIRST LAYER OF CONCRETE
- Pour the first 2–3 in. (51–76 mm) of concrete. Don’t let it dry completely.
- Use spray paint to indicate the position of fixed elements or expansion and control joints to be bypassed.
STEP 3: LAY THE HEATING MATS/CABLES AND CONDUITS
- While the first pour is still wet, place the wire mesh or rebar on top so that the heating cable will be 2–3 in. (51–76 mm) below the finished surface.
- Attach the heating cables to the wire mesh or rebar with plastic cable ties, spacing the cable 3–4 in. (76–102 mm) apart if using a freeform cable. Leave 3–6 in. (76–152 mm) of space between the cable and expansion joint (see Figure 6 and Figure 7). For control joints, place the cable under an angle iron (see Figure 8 and Figure 9).
- Route the cold lead(s) back to the accessible weatherproof junction box(es) through a rigid metal conduit(s) or other approved means, ensuring that the heated section does not enter the conduit(s). The junction boxes must be accessed from above, so the rest of the box is buried to avoid damage by lawnmowers and/or vehicles. See Installing the junction box.
- If needed, place the slab-mounted snow sensor in an unobstructed area so that snow will fall directly on it. Use a separate conduit to protect the low-voltage sensor wire. It must not share the same conduit as any high-voltage cold lead from the heating cables or mats.
STEP 4: POUR THE SECOND LAYER OF CONCRETE
- Once the heating cables are installed, pour 2–3 in. (51–76 mm) of concrete over the heating cables.
- Spread it evenly with shovels and rakes.
Note: Shovels should be duct taped so the blade edges are less sharp, and rakes should be used upside down to prevent the teeth from causing damage.
STEP 5: TEST
- After the concrete has cured, conduct all three tests as described in Testing.



INSTALLING IN MORTAR
Before pouring the mortar, ensure that you have a solid base (see Installation types).
WARNING: BRICK AND STONE PAVERS MUST BE NO THICKER THAN 2.5 IN. (63.5 MM). See Figure 10 for the proper installation under the mortar.
STEP 1: TEST
- Before pouring the mortar, conduct all three tests as described in Testing.
STEP 2: LAY THE HEATING MATS/CABLES AND CONDUITS
- Use spray paint to indicate the position of fixed elements or expansion and control joints to be bypassed.
- Place wire mesh on top of the crushed rock aggregate and stake it down to keep it flat.
- Attach the heating cable or mat (wire side down) to the mesh with plastic cable ties, spacing the cable 3–4 in. (76–102 mm) apart using a free-form cable. Leave 3–6 in. (76–152 mm) of space between the cable and expansion joint.
- Route the cold lead(s) back to the accessible weatherproof junction box(es) through a rigid metal conduit(s) or other approved means, ensuring that the heated section does not enter the conduit(s). See Installing the junction box.
- Install an aerial-mounted snow sensor.
STEP 3: POUR THE MORTAR
- Once the heating cables and conduits are installed, pour 1–1.5 in. (25–38 mm) of thick mortar over the heating cables.
- Level the surface to grade using shovels and rakes.
Note: Shovels should be duct taped so the blade edges are less sharp, and rakes should be used upside down to prevent the teeth from causing damage.
STEP 4 : TEST
- After the mortar has cured, conduct all three tests as described in Testing.

INSTALLING IN STAIRS
- To select the right cable model for your installation, see the following example.
- See Figure 11 and Figure 12 for the proper installation in stairs.
TOTAL CABLE REQUIRED
- 96 ft. + 25 ft. + 25 ft. + 25 ft. = 171 ft.
LANDING
- 4 ft. x 6 ft. = 24 sq. ft.
- x 4 (spaced at every 3 in.) = 96 ft.
STEPS
- 3 steps (12 in. x 6 ft. each)
- 4 lengths of cable per tread
- Subtract 3 in. from each side, making room for handrail posts
- 5.5 ft. x 4 = 22 ft. + 3 ft. = 25 ft. per tread
- 3 ft. is the amount needed for curves and tread riser


INSTALLING THE HEATING MAT
Unrolling and installing the mat is simple. Make sure to unroll the mat with the cable facing down, which minimizes exposure to rakes and shovels.
ADJUSTING THE SHAPE OF THE MAT
You may need to adjust the shape of the mat to fit the heated surface. Use scissors to carefully cut the mat without cutting the cable.

ABOUT THE WARRANTY
WARNING!
The warranty booklet must be FILLED OUT and RETURNED to °Stelprofor the warranty to be activated. Otherwise,
THE WARRANTY WILL NOT BE ACTIVATED OR VALID.
ALL REQUIRED INFORMATION AND UNDERTAKEN TESTS MUST BE RECORDED IN THE BOOKLET. You also can fill out the warranty card on our website: www.stelpro.com/warranty.
WARRANTY
This limited warranty is offered by °STELPRO Design Inc. (“°STELPRO”) and applies to the following products made by °STELPRO: SSC and SSCM. Please read this limited warranty carefully. Subject to the terms of this warranty, °STELPRO warrants its products and their components against defects in workmanship and/or materials for the following period from the date of purchase: 10 years (heating mat or cable). This warranty applies only to the original purchaser; it is non-transferable and cannot be extended.
CLAIM PROCEDURE
If the unit becomes defective at any time during the warranty period, after the product has been installed properly, you must cut off the power supply at the main electrical panel and contact 1) your installer or distributor, 2) your service center or 3) °STELPRO’s Customer Service department. In all cases, you must have a copy of the invoice and provide the information written on the product nameplate. °STELPRO reserves the right to examine or to ask one of its representatives to examine the product itself or any part of it before honoring the warranty. °STELPRO reserves the right to replace the entire unit, refund its purchase price or repair a defective part. Please note that repairs made within the warranty period must be authorized in advance in writing by °STELPRO and carried out by persons authorized by °STELPRO. Before returning a product to °STELPRO, you must have a °STELPRO authorization number (RMA). To obtain it, call the Customer Service department at 1-800-363-3414 (electricians and distributors – French), 1-800-343-1022 (electricians and distributors – English), or 1-866-766- 6020 (consumers). The authorization number must be clearly written on the parcel or it will be refused.
CONDITIONS, EXCLUSIONS, AND DISCLAIMER OF LIABILITY
This warranty is exclusive and in lieu of all other representations and warranties (except title), expressed or implied, and °STELPRO expressly disclaims and excludes any implied warranty of merchantability or implied warranty of fitness for a particular purpose. °STELPRO’s liability with respect to products is limited as provided above. °STELPRO shall not be subject to any other obligations or liabilities whatsoever, whether based on contract, tort, or other theories of law, with respect to goods or services furnished by it, or any undertakings, acts, or omissions relating thereto. Without limiting the generality of the foregoing, °STELPRO expressly disclaims any liability for property or personal injury damages, penalties, special or punitive damages, damages for lost profits, loss of use of equipment, cost of capital, cost of substitute products, facilities, or services, shutdowns, slowdowns, or for other types of economic loss or for claims of a dealer’s customers or any third party for such damages. °STELPRO specifically disclaims all consequential, incidental, and contingent damages whatsoever. This warranty does not cover any damages or failures resulting from 1) a faulty installation or improper storage; 2) an abusive or abnormal use, lack of maintenance, improper maintenance (other than that prescribed by °STELPRO), or use other than that for which the unit was designed; 3) a natural disaster or an event out of °STELPRO’s control, including, but not limited to, hurricanes, tornadoes, earthquakes, terrorist attacks, wars, overvoltage, flooding, water damage, etc. This warranty does not cover any accidental or intentional losses or damages, nor does it cover damages caused by negligence on the part of the product user or owner. Moreover, it does not cover the cost of disconnection, transport, and installation. The warranty is limited to the repair or the replacement of the unit or the refund of its purchase price, at the discretion of °STELPRO. Any parts replaced or repaired within the warranty period with the written authorization of °STELPRO will be warranted for the remainder of the original warranty period. This warranty will be considered null and void and °STELPRO will have the right to refuse any claims if products have been altered without the written authorization of °STELPRO or if the nameplate numbers have been removed or modified. This warranty does not cover scratches, dents, corrosion, or discoloration caused by excessive heat, chemical cleaning products and abrasive agents. It does not cover any damage that may occur during shipping. Some states and provinces do not allow the exclusion or limitation of incidental or consequential damages, and some of them do not allow limitations on how long an implied warranty lasts, so these exclusions or limitations may not apply to you. This warranty gives you specific legal rights, and you may have other rights that vary from state to state or from province to province.
For further information or to consult this guide online, please visit our website at www.stelpro.com.



















