RTE0RFA
INSTALLATION
INSTRUCTIONS
WIRELESS DIGITAL ROOM THERMOSTAT AND RECEIVER

PACK CONTAINS

INSTALLATION – RECEIVER
For best performance, do not mount the receiver on metal wall boxes and leave at least 30 cm distance from any metal objects including wall boxes and boiler housing.
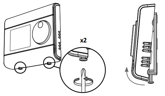
MOUNTING OF WALL MOUTING PLATE
The receiver is fixed on the wall with the standard wall plate which is supplied with the product.
- Unscrew the 2 screws under the receiver.

- Remove the wall plate from the receiver.

- Secure the wall plate with the two screws provided using the horizontal and vertical holes.

- In case of surface mounting, a knock out area is provided on the wall plate and on the corresponding area of the receiver.

WIRING
All electrical installation work should be carried out by a suitably qualified Electrician or other competent person. If you are not sure how to install this thermostat consult either with a qualified electrician or heating Engineer. Do not remove or refit the receiver onto the backplate without the mains supply to the system being isolated.
All wiring must be in accordance with IEE regulations. This product is for fixed wiring only.
230V Connections
Standard wallplate supplied with the receiver

N = Neutral
L = Live
- = Not used
- = Not normally used
- = Common – Power In 230V
- = Call for heat – Power out 230V
Voltage Free Connections

N = Neutral
L = Live
- = Not used
- = Not normally used
- = Common – Power In: Voltage Free Connections
- = Call for heat – Power Out: Voltage FreeConnections
NOTE: The unit is double in insulated so does not require and earth but a terminal is supplied for the spare wire.
MOUNTING OF THE RECEIVER
- Replace the receiver on the wall mounting plate.

- Secure the receiver by screwing the both locking screws under the receiver.

INSTALLATION – THERMOSTAT
Recommended locations for your thermostat. To ensure that your thermostat provides accurate readings and controls effectively, it must be installed approximately 1.5 m above floor level on an inside wall, away from direct sunshine and any other sources of heat or cold such as radiators, cold draughts, etc.

NB: In order to ensure proper operation of the product, ensure that the thermostat is not positioned near to an area which could be affected by interference from another source. E.g.: a wireless transmitter or receiver, TV, PC, etc.
Important: The thermostat measures the temperature of the place where it is installed.
It does not take into account the temperature differences that may exist between different locations in the house if the temperature is not uniform.
INSTALLING BATTERIES
- Remove the batteries cover which is placed onthe front of thermostat.
- Insert the 2 batteries AA supplied. Note the correct polarity according to the engraving on the thermostat when inserting the batteries.
- Replace the batteries cover.

MOUNTING OF THERMOSTAT
• On the wall
- Unscrew the 2 screws under the thermostat.

- Remove the wall plate from the thermostat.
- Secure the wall plate with the two screws provided using the horizontal and vertical holes.
- Replace the thermostat on the wall mounting plate.

Secure the thermostat by screwing the locking screws under the thermostat.
• On the table stand
- Insert the 2 pins inside the wallplate.
- Slide the stand to the right.

- Fold the stand and lock it into the wallplate.

- Tilt the thermostat according to its placement in the room. 2 tilts are available.

PAIRING PROCEDURE
The thermostat and the receiver are not bonded together at the factory.
To bond the transmitter and the receiver together, proceed as below:
- Press and hold for 5 seconds the RF test button on the receiver. RF test green light is blinking.
- Within 1 minute, press and hold for 5 seconds the RF test button on the thermostat. Pairing icon is flashing.

- Thermostat RF icon and receiver green light are blinking.

- Thermostat RF icon and receiver green light will be solid when pairing is complete.
Note: the receiver is usually located near your boiler.
If you want to check the signal strength, press and release the RF test button. The RF icon blink and the signal strength appears. 10 is the best signal strength.
OPERATING STATES OF THE SYSTEM
| States of the indicator light | Operating states of the thermostat |
| Green | Receiver is connected to the thermostat |
| Orange | System is calling for heat |
| Red | RF Signal has been lost, no connection between thermostat and receiver. In order to re-bond the thermostat and receiver refer to the installation instructions. |
TROUBLESHOOTING
Display disappears on thermostat.
– Check batteries.
– Replace the 2 batteries. Only use alkaline 1.5V AA (LR6) batteries.
Do not use rechargeable batteries.
The heating does not come on or does not go off.
– Your room thermostat may have been set up close to a source of heat or on a cold wall – put it in a recommended location (see the “Installing” section on page 2 for these locations).
– Check that the radio communication works between the thermostat and the receiver.
– Check if the boiler controlled by the programmable room thermostat is properly connected to the receiver.
Radio transmission is not working properly:
1- The receiver is not picking up the code sent by the thermostat.
– Check and replace thermostat batteries .
2- The receiver does not recognize transmitter’s code.
– Pair the room thermostat transmitter with the receiver again See Pairing section.
3- The receiver or the transmitter is affected by interference:
– Re site the transmitter.
– If possible, re site the receiver away from the source of the interference.
The radio link between the thermostat and the receiver is lost.
– Check the battery level status.
– Check that the radio communication works between the thermostat and the receiver.
If the radio communication does not work between the receiver and the thermostat.
– Repeat the pairing between the thermostat and receiver (refer to the user instruc- tions).
The thermostat does not control properly.
– Thermostat sensor may be influenced by a source of heat or cold.
– Check that the radio communication works between the thermostat and receiver.
If the problem persists, contact your installer.
TECHNICAL SPECIFICATIONS
Power supply: 2 alkaline 1.5 V AA (LR6) batteries.
Manual temperature setting range: from +5°C to +30°C.
Battery life: approx. 2 years.
Receiver:
– Power supply: 230V~50/60Hz.
– Relay outputs: 5(2)A.
– Rated impulse voltage: 4000V.
– Micro-disconnection: Type 1B.
– Pollution degree: 2.
– Automatic action: 100,000 cycles.
– Class II.
Maximum range in the home: 15m is typical but this varies depending on the building construction eg plasterboard lined with metal foil the number of walls and ceilings that the signal has to pass through and by the surrounding electromagnetic environment.
Signal sending: every 10 minutes, maximum time-lag 1 minute after set-point temperature has been changed.
Environment :
– Operation temperature: 0°C to +40°C.
– Storage temperature: from -10°C to +60°C.
– Humidity: 80% at +25°C (without condensation)
– Protection rating: IP30.
N.B.: this room thermostat is one part of a complete radio system and will only work with the 230V AC receiver. Radio emitter, frequency from 2.40 to 2.48 GHz.
Manufactured by: Neomitis Ltd ([email protected])
EU declaration of conformity: We hereby declare under our sole respon- sibility that the products described in these instructions comply with the provisions of Directives and harmonized standards listed below :
Thermostat
– RED 2014/53/EU:
Article 3.1a (Safety): EN60730-1/ EN60730-2-9/ EN62311
Article 3.1b (EMC): ETSI EN 301489-1 / ETSI EN301489-3
Article 3.2 (RF): ETSI EN 300440
Directive RoHS 2011/65/EU, amended by Directives 2015/863/EU and 2017/2102/EU :
ROHS: EN50581:2012
Receiver
– RED 2014/53/EU:
Article 3.1a (Safety): EN60730-1/EN60730-2-9 / EN62311
Article 3.1b (EMC): ETSI EN301489-1/ ETSI EN301489-3
Article 3.2 (RF): ETSI EN 300440
Directive RoHS 2011/65/EU, amended by Directives 2015/863/EU and 2017/2102/EU :
ROHS: EN50581:2012 and are manufactured using processes that are certified ISO 9001 : 2015
Control class and energy contribution, according to ERP 2009/125/EC and related regulations
Class I – On/off Room Thermostat. A room thermostat that controls the on/off operation of a heater. Performance parameters, including switching differential and room temperature control accuracy are determined by the thermostat’s mechanical construction.
The
on the product indicates that you must dispose of it at the end of its useful life at a special recycling point, in accordance with European Directive WEEE 2012/19/ EU. If you are replacing it, you can also return it to the retailer from which you buy the replacement equipment. Thus, it is not ordinary household waste. Recycling products enables us to protect the environment and to use less natural resources.
RTE0RFA
OPERATING
INSTRUCTIONS
WIRELESS DIGITAL ROOM
THERMOSTAT AND RECEIVER

OVERVIEW
Thank you for purchasing our RTO RF, wireless digital room thermostat. It is by listening to your requirements we have created and designed our products to be easy to operate and install. It is this ease of operation that is intended to make your life easier and help you save energy and money.

CONTROLS AND DISPLAY
- Thermostat

- LCD Display

SETTINGS
INITIAL POWER UP
- To start: insert the two AA batteries provided into the battery compart-ment.
Once batteries are fitted all symbols will be displayed on the LCD screen as shown for two seconds.
- After 2 seconds, the LCD will show
: – The ambient temperature (°C) solid.
– The icon
is solid when the heating is turned ON.
– The setpoint temperature (°C) solid.
– RF icon flashes.
Note: When the batteries must be changed, a low battery level indicator appears on the device.
Remember to take used batteries to battery collection points so they can be recycled.
PAIRING PROCEDURE
The thermostat and the receiver are not bonded together at the factory. To bond the transmitter and the receiver together, proceed as below:
- Press and hold for 5 seconds the RF test button on the receiver. RF test green light is blinking.

- Within 1 minute, press and hold for 5 seconds the RF test button on the thermostat. Pairing icon is flashing.
- Thermostat RF icon and receiver green light are blinking.

- Thermostat RF icon and receiver green light will be solid when pairing is complete.
Note: the receiver is usually located near your boiler.
OPERATING
TEMPERATURES SETTING
The desired temperature can be set.
To set the temperature, turn the dial clockwise, to increment the temperature, turn the dial counter-clockwise, to decre-ment the temperature. The default temperature is 20°C (68°F).

OPERATING STATES OF THE SYSTEM
| States of the indicator light | Operating states of the thermostat |
| Green | Receiver is connected to the thermostat |
| Orange | System is calling for heat |
| Red | RF Signal has been lost, no connection between thermostat and receiver. In order to re-bond the thermostat and receiver refer to the installation instructions. |
OVERRIDE
You can press the OVERRIDE button on the receiver to manually switch ON/OFF if you have a faulty room unit or transmission signal. This will be operate until communication is restored .

FACTORY SETTINGS
| Settings | Factory settings |
| Set temperature | 20°C |
Note: To restore factory settings, press and hold down this part for more than 3 seconds using the tip of a pen.
All LCD display will be turned ON for 2 seconds and the factory settings will be restored.

TROUBLESHOOTING
The boiler is not heating:
– Check that the thermostat is calling for heat if yes then the thermostat would appear to be working check that the boiler has not switched itself off. If no increase set temperature.
– Check the position of the batteries. Remove them for 30 seconds and reinsert them. If the problem persists, replace the 2 batteries.
Nothing in the display:
– Check the position of the batteries. Remove them for 30 seconds and reinsert them. If the problem persists, replace the 2 batteries. The room temperature is not high enough, the boiler is not providing enough heat:
– Check the active desired temperature and increase it if need be (see page 2).
You made a mistake while setting:
– You just need to restore factory settings, as explained in the “Factory settings” section (see page 2). This will reverse any changes you might have made.
The1ystem is not heating but
is on:
– If
and indicator light is on but the system remains cold, then you should contact your installer.
If the problem persists, then contact your installer.
TECHNICAL SPECIFICATIONS
Please refer to the installing instructions for any informations about batteries life, stan-dards and product environment.
WHAT IS A ROOM THERMOSTAT
… an explanation for householders A room thermostat simply switches the heating system on and off as necessary. It works by sensing the air temperature, switching on the heating when the air temperature falls below the thermostat setting, and switching it off once this set temperature has been reached. Turning a room thermostat to a higher set-ting will not make the room heat up any faster. How quickly the room heats up de-pends on the design of the heating system, for example, the size of boiler and radiators. Neither does the setting affect how quickly the room cools down. Turning a room thermostat to a lower setting will result in the room being controlled at a lower temperature, and saves energy. The heating system will not work if a time switch or programmer has switched it off. The way to set and use your room thermostat is to find the lowest temperature setting that you are comfortable with, and then leave it alone to do its job. The best way to do this is to set the room thermostat to a low temperature — say 18’C — and then turn it up by one degree each day until you are comfortable with the temperature. You won’t have to adjust the thermostat further. Any adjustment above this setting will waste energy and cost you more money. If your heating system is a boiler with radiators, there will usually be only one room thermostat to control the whole house. But you can have different temperatures in indi-vidual rooms by installing thermostatic radiator valves (TRVs) on individual radiators. If you don’t have TRVs, you should choose a temperature that is reasonable for the whole house. If you do have TRVs, you can choose a slightly higher setting to make sure that even the coldest room is comfortable, then prevent any overheating in other rooms by adjusting the TRVs. Room thermostats need a free flow of air to sense the temperature, so they must not be covered by curtains or blocked by furniture. Nearby electric fires, televisions, wall or table lamps may prevent the thermostat from working properly.

Creating innovative solutions for ambient comfort
NEOMITIS LIMITED – 16 Great Queen Street, Covent Garden, London, WC2B SAH UNITED KINGDOM Registered in England and Wales No: 9543404 Tel: +44 (0) 2071 250 236 – Fax: +44 (0) 2071 250 267 – E-mail: [email protected]
Registered trademarks – All rights reserved





































