GENERAL LIFE NORA 270S RF Wireless Room Thermostat

GENERAL SPECIFICATIONS
NORA 270S RF is a wireless room thermostat. The user can adjust the room temperature with the required temperature and get more comfortable and economic heating/cooling.
- Different Mode Options (Comfort Mode and Economy Mode)
- Precise Temperature Measurement
- ON/OFF Control
- Heating Calibration
- Wireless Connection
- Heating/Cooling Modes
- TPI Algorithm
NORA 270S RF AND EQUIPMENTS

TECHNICAL DATA
Room Thermostat
| Dimensions | 85mm / 125mm / 19.2mm |
| Operating Current | 3V DC (2 x AAA alkaline battery) |
| Temperature Measurement Accuracy | 0.1oC |
| Operating Temperature Range | (5oC) – (30oC) |
| Battery Life | 1 Year (2 x AAA) |
| Operating Temperature | (-10oC) – (+50oC) |
| Storage Temperature | (-20oC) – (+60oC) |
Receiver
| Dimensions | 90mm / 90mm / 25mm |
| Operation Current | 230V AC |
| Relay NO Switching Current | 7A (240VAC – Resistive load) 10A (120VAC – Resistive load) |
| Storage Temperature | (-20oC) – (+60oC) |
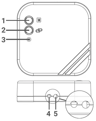
ROOM THERMOSTAT

Buttons Functions
| 1 | Economy Mode |
| 2 | Temperature Adjustment (Increasing) |
| 3 | Comfort Mode |
| 4 | Heating/Cooling Modes |
| 5 | Temperature Adjustment (Decreasing) |
| 6 | ON/OFF and Setting Button |
Product Display Layout

RECEIVER

- Manual Operation Button:
Deactivates the Receiver and allows you to use heating/cooling unit manually. - Pairing Button:
Allows to pair the Receiver with the Room Thermostat. - Receiver LED Light
- Receiver Power Cable Input
- Heating/Cooling Unit Connection Cable Input
RECEIVER LED DESCRIPTIONS
| Steady Red | Receiver has power but Receiver and Room Thermostat are not paired. |
| Blinking Green | Waiting for pairing signal from the Room Thermostat. |
| Steady Green | Receiver and Room Thermostat are paired. Heating/cooling unit is not operating. |
| 3 Short Orange Blinking | Operate the heating/cooling unit signal has reached to the Receiver. |
| Steady Orange | Heating/cooling unit is operating. |
| 3 Short Green Blinking | Shut the heating/cooling unit down signal has reached to the Receiver. |
| Blinking Orange | Heating/Cooling unit operates in manual mode. |
| Blinking Red | Receiver did not get any signal from the Room Thermostat for 22 minutes or longer. Heating/cooling unit has shut down. |
ROOM THERMOSTAT PLACEMENT
Room Thermostat needs to be placed in the room which is used most frequently. For instance; living room or lounge. Placing the Room Thermostat in a spot that have air circulation like the entrance of a room or side of the window should be avoided. Also anywhere close to heating/cooling units such as radiator, stove and spots which get direct sun lights would not be suitable. The room Thermostat needs to be located above the floor 150 cm height. Few trials may be made to find the most convenient spot.

BATTERY PLACEMENT

As shown in the picture above, press the screwdriver forward from the space shown, bend the tabs and separate the front cover. Insert 2 new AAA alkaline batteries in the battery housing with the correct battery direction. Replace both batteries at the same time. Then align the front part of your Room Thermostat to the back and squeeze it towards the back. Low Battery Warning: When the “ ” icon appears on the screen, it means “low battery warning”. It is recommended to replace the batteries when this warning appears. Warning: When the product is not used for a long period (more than 15 days), remove the batteries. Otherwise, malfunctions that may occur would be out of warranty. Please throw your dead batteries into the waste bin for batteries.
RECEIVER PLACEMENT

The important things to note for the Receiver placement is avoiding physical contact between the Receiver and heating/cooling unit, and protecting it against materials such as liquid, dust etc. The devices should be placed in order to minimize the damage to the received and transmitted signals by paying attention to the following points;
- The devices should not be mounted on metal surfaces.
- The devices should not be installed close to electrical cables and electronic equipment such as computers and television units.
- The devices should not be installed near large metal structures or other building materials using fine metal meshes such as special glass or special concrete.
- Distance between the Room Thermostat and the Receiver should not exceed 20 meters or 2 floors.
- Receiver must be installed at least 50 cm away from the heating/cooling unit.
RECEIVER SETUP
- First, shut down your heating/cooling unit and your heating/cooling unit’s power source with all electrical current (fuse, socket etc.)
- As shown in the connection diagram, connect one end of the heating / cooling unit connection cable to the COM and the other to the NO input of the Receiver.
- Connect the other ends of the cable -which you connected to the Receiver to room thermostat connection terminal as shown in your heating / cooling unit’s user manual.
- You must first connect the Receiver power cable to the Receiver and then to the fuse to which the heating/cooling unit is connected.
- After completing the cable connection process, firstly turn on your fuse and then your heating/cooling unit.
- By pressing the Receiver’s manual usage button for 2 seconds, you should see the Orange Light blinking on the Receiver. In this way, after making sure that the heating/cooling unit is operating, press the same button again for 2 seconds and see that the Orange LED turns off.
- Set up the Room Thermostat to pair the Receiver with the Room Thermostat.
RECEIVER WIRING DIAGRAM

Warning!
Operations within the heating / cooling unit or the electrical installation must be carried out by professionally qualified persons.
PAIRING THE ROOM THERMOSTAT AND THE RECEIVER
- Primarily press the sync button of receiver for 2 seconds and see blinkinggreen light of receiver.
- While your device is turned off, press and hold the “On/Off”button for 3 seconds.
- Press the button until the “ ” menu appears.
- Press the “+” or “-” button of your Room Thermostat while the LED is flashing green.
- If the pairing is successful, the green flashing LED on the receiver will be constant.
- The receiver and Room Thermostat have been paired to each other.
ROOM THERMOSTAT TEMPERATURE CALIBRATION
Temperature sensors which are used in Room Thermostats are highly sensitive. You may need to calibrate your Room Thermostat if you would like to get the same temperature values as other thermometers in your living space.
- While your device is turned off, press and hold the “On/Off” button for 3 seconds.
- Press the “On/Off” button until the menu appers. In order to see the desired temperature, set the temperature difference by press the “Temperature Adjustment Buttons. This value can be arranged between-8oC” and+8oC”.
- To save the settings and exit, press the “On/Off” button until the device turns off.
Note: Recommended temperature calibration is “0.0oC.
FACTORY SETTINGS RESET
You can reset your Room Thermostat to its default factory settings. This operation resets the mode temperature values, calibration setting and heating/coling modes to factory setting. To reset your Room Thermostat to factory setting:
- While your device is turned off, press and hold the “On/Off” button for 3 seconds.
MODE SETTINGS
There are 2 modes in the Room Thermostat. These are Comfort Mode and Economy Mode. Modes work according to the pre-set temperature values adjusted by user.
In order to change the comfort mode temperature value;
- Press and hold the comfort mode button for 3 seconds.
- Change the temperature value by pressing “+” or “-“ buttons.
- Press the comfort mode button once to save the changes you have made or wait 10 seconds.
In order to change the economy mode temperature value;
- Press and hold the economy mode button for 3 seconds.
- Change the temperature value by pressing “+” or “-” buttons.
- Press the economy mode button once to save the changes you have made or wait 10 seconds.
You can use the “+” and “-” buttons to use the Room Thermostat manually
TPI ROOM THERMOSTAT WORKING LOGIC
Your Room Thermostat works with the TPI algorithm. Room Thermostats using TPI technology predict when the temperature of your home will rise above or below the set temperature and turn the heating / cooling unit on and off accordingly. This ensures that your home stays at the temperature you set without maximum deviations up and down.
What is TPI?
TPI technology is designed to ensure that you get the best possible energy efficiency from your heating / cooling system. It measures and applies the best possible timings to deliver and maintain your home at the set temperature level.
How does TPI work?
Thanks to the advanced artificial intelligence technology found in the software, it adapts to the temperature change of the environment in which it is located. By creating a general temperature map of your home, it learns how long it takes to reach the desired room temperature and how to maintain this temperature. In this way, it provides minimum energy consumption by calculating how long your heating / cooling unit should work for.
What is the difference?
In non-TPI room thermostats, the heating / cooling unit works and stops continuously until it exceeds the set temperature value. If the set temperature drops below a certain amount, the heating / cooling unit will work again. This creates greater temperature fluctuations and less energy control. TPI Room Thermostats, on the other hand, provide higher savings and comfort compared to On/Off room thermostats with the advantages it has.
Heating Mode
Your room thermostat takes the average room temperature of last 40 seconds as basis. With the TPI algorithm in the product by creating a general temperature map of your home, it learns how long it takes to reach the desired room temperature and how this temperature is maintained. Thus, it ensures that the room temperature remains within a certain range.
TPI ROOM THERMOSTAT HEATING MODE WORKING GRAPHIC

Cooling Mode
Your room thermostat takes the average room temperature of last 40 seconds as basis. With the TPI algorithm in the product by creating a general temperature map of your home, it learns how long it takes to reach the desired room temperature and how this temperature is maintained. Thus, it ensures that the room temperature remains within a certain range.
TPI ROOM THERMOSTAT COOLING MODE WORKING GRAPHIC

Your Room Thermostat sends the last status signal to the Receiver every 10 minutes. Thus, your Room Thermostat and Receiver work synchronously. If the signal cannot reach to the Receiver from the Room Thermostat for 22 minutes, it perceives that the connection is broken and stops the heating/cooling operation for safety reasons. Likewise, in cases where the electricity comes back after a power failure, the Receiver do not operate the heating/cooling unit until ‘operate’ signal reaches from the Room Thermostat.
However, in this case, if the Room Thermostat continues to operate normally, it will continue to work properly without any need for intervention since it sends a status signal to the Receiver every 10 minutes.
WHAT TO KNOW ABOUT TPI ROOM THERMOSTAT
- If the placement of the TPI Room Thermostats is changed, the learning process will restart. The learning process should be considered as 7 days.
- If the TPI Room Thermostats are de-energized (battery replacement), the learning process will restart. The learning process should be considered as 7 days.
FREQUENTLY ASKED QUESTIONS
- Is my Room Thermostat compatible with my heating/cooling unit?If your heating / cooling unit has on-off connections, your Room Thermostat is compatible. You can
- nd information about your heating / cooling unit from your heating/cooling unit operating manual or from your heating / cooling unit service.
- How will I connect my heating/cooling unit with my Receiver? We recommend that the connection between the Receiver and heating/cooling unit should be made by professionally qualified persons. 2×0.75 mm cable is sufficient for the Receiver – heating/cooling unit connection. Connect one end of the cable pair to the room thermostat connection terminals stated in the user manual of your heating/cooling unit. Connect the other end of the cable pair to COM and NO inputs of the terminal inside the Receiver as shown in the “RECEIVER WIRING DIAGRAM” section. The direction of the cable ends does not matter.
DECLARATION OF CONFORMITY
ISIPARK İÇ VE DIŞ TİC. İNŞ. ISITMA SİSTEMLERİ OTO. SAN.A.Ş.which Head Office and production site is located on Fatih Mah. 1188 Sk.No:13/A Sarnıç – Gaziemir – İZMİR – TÜRKİYE confirms and declares that the product marked with CE and its specifications below is covered by the provisions of the mentioned directive.
Compatible Directives:
Radio and Telecommunications Terminal Equipment Regulation
- 2014/53/EU (R&TTE/RED EN 301 489-1 V2.1.1:2017,
- EN 300 220-1 V3.1.1:2017, EN 301 489-3 V2.1.1:2017,
- EN 300 220-2 V3.1.1:2017, EN 62479: 2010)
- Electromagnetic Compatibility Regulation 2014/30/EU (EMC EN 61000-6-3: 2007 + A1: 2011, EN 61000-6-1: 2007) Low Voltage Directive 2014/35/EU (LVD EN 60730-2-9:2010, EN 60730-1:2011)
Additional Information: The mentioned product can be used with heating/cooling units with on / off output and compliance with the directives only covers the product. ISIPARK is not responsible for the entire system’s compliance with the directives. This statement is not valid if changes are made to the product without our approval.
WARRANTY CONDITIONS
- The warranty period starts from the invoice date and warranted against manufacturing defects for 5 years.
- Devices and apparatus are delivered to the customer in working condition in our company. On-site commissioning is subject to a service fee.
- The repair of the devices and apparatus covered by the warranty is carried out in our company factory and should send by contracted transportation company. In on-site services, the transportation and accommodation expenses of the service personnel belong to the customer. The shift fee during transportation is added to the service fee and collected in advance.
- The maintenance of devices and apparatus is done in our company. For the maintenance of the devices and apparatus, the round travel fares belongs to the customer.
- In case of malfunctioning of the devices and apparatus whose warranty period continues, it is tested in our company whether the malfunction is caused by a customer or manufacturer fault, and it is reported with a report issued by our company.
- In case of detection of manufacturer-induced errors of devices and apparatus whose warranty period continues, the customer can request a replacement or repair of the devices and apparatus at full expense by the manufacturer, unless it’s higher than the product’s price.
- In the event that the faults of the devices and apparatus whose warranty period continues are determined as caused by the customer, all expenses would be belong to the customer.
- Customers should be aware of damages (if there is any) of the product and warn manufacturer since the day the warranty duration starts.If the customer do not warn manufacturer with knowledge of damage, the customer lose the rights of article 6.
- Malfunctions resulting from the use of devices and apparatus contrary to the matters stated in the User Manual are not covered by the warranty.
- Devices and their apparatus are out of warranty if they are beaten, broken or scratched by the customer.
- Damages resulting from the use of devices and apparatus belonging to other brands and models without the approval of the manufacturer are not covered by the warranty.
- Battery leakage and errors due to rust, oxidation and liquid contact by working in acidic / humid environments are not covered by the warranty.
- When the product is not used for a long period (more than 15 days), remove the batteries. Otherwise, malfunctions that will occur are out of warranty.
- Damages that may occur during the transportation of devices and apparatus are not covered by the warranty. Customers can take transportation insurance.
- Damages caused by mains voltage / faulty electrical installation are notv covered by the warranty
- 16- Devices and apparatuses are out of warranty for malfunctions caused by force majeure such as fire, flood, earthquake etc.
- All of the devices and apparatuses, including all their parts, are under the warranty of our company.
- In case of malfunction of the devices and apparatuses within the warranty period, the time spent during the repairment period is added to the warranty period. The repair period of the product cannot exceed 20 working days. This period starts from the date of notification to the service station of the malfunction related to the product or, in the absence of a service station, to the seller, dealer, agency, representative, importer or manufacturer of the product. Consumer can report the problem by; phone, fax, e-mail, registered and reply paid letter or a similar way. However, in case of a conflict, the responsibility of prove belongs to the customer. If the malfunction of the product is not repaired within 20 working days, the manufacturer-producer or importer; has to allocate another product with similar features to the use of the consumer until the repair of the product is completed,
- Although the consumer uses his/her repair rights,
- If the product breaks down for 4 times in a year or 6 times in warranty duration and these problems effects main purpose of the product. (starting from delivery time during warranty.)
- Exceeding the maximum time required for repair,
- In the event that the service station is not available if it is determined that the repair of the defect is not possible with the report prepared (in order) by one of the sellers, dealers, agencies, representatives, importers or manufacturers, a refund or a price discount at the rate of defect can be requested.
- The customer can make complaints and appeals to consumer courts or consumer arbitration committees.
- The warranty document must be kept by the customer during the warranty period. If the document is lost, a second document will not be issued. In case of loss, repair and replacement of devices and apparatus will be made for a fee.
WARRANTY CERTIFICATE
Manufacturer
- Title:
- Adress: Fatih Mah. 1188 Sk. No:13/A Sarnıç Gaziemir İzmir-TÜRKİYE
- Tel: +90 (232) 457 99 50
- Fax: +90 (232) 457 91 22
- E-mail: [email protected]
Authorized Signature: Company Stamp:
Product
- Type: Digital Room Thermostat
- Brand: GENERAL Life
- Model: NORA 270S RF
- Warranty Period: 5 Years
- Max. Time to Repair: 20 Days Bandrol and Serial Number:
Vendor
- Title:
- Adress:
- Tel: Fax:
- E-Mail:
- Invoice Date and Number:
- Delivery Time and Place:
- Authorized Signature:
- Company Stamp:
Product
- Type: Digital Room Thermostat
- Brand: GENERAL Life
- Model: NORA 270S RF
ISIPARK reserves the rights of changing product specifications and user manuals.
- For all changes, you may visit generallife.com.tr



















