
LIFE Aruna 301S RF Wireless Room Thermostat
User Manual
GENERAL SPECIFICATIONS
ARUNA 301S RF is a wireless room thermostat. The user can get more comfortable and economic heating/cooling by adjusting the room thermostat with the required temperature.
- Daily and Weekly Programming
- Different Mode Options (Comfort, Economy, Holiday)
- Heating Calibration ON/OFF Control Wireless Connection
- Heating/Cooling Option TPI Algorithm
- Precise Temperature Measurement
ARUNA 301S RF and EQUIPMENTS

TECHNICAL DATA
Room Thermostat:
| Dimensions | 85mm / 125mm / 20mm |
| Operating Current | 3V DC (2 x AAA alkaline battery) |
| Temperature Measurement Accuracy | 0.1 °C |
| Operating Temperature Range | (5 °C) – (30 °C) |
| Battery Life | 1 Year (2 x AAA) |
| Operating Temperature | (-10 °C) – (+50 °C) |
| Storage Temperature | (-20 °C) – (+60 °C) |
Receiver
| Dimensions | 90mm / 90mm / 25mm |
| Operating Current | 230V AC |
| Relay NO Switching Current | 7A (240VAC – Resistive Load) 10A (120VAC – Resistive Load) |
| Storage Temperature | (-20 °C) – (+60 °C). |
ROOM THERMOSTAT
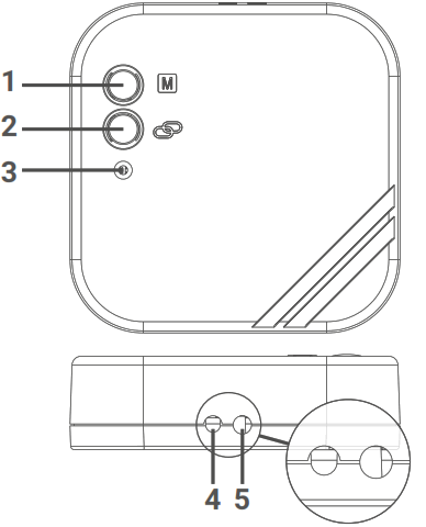
Button Functions

| 1 | On/Off Button |
| 2 | Heating & Cooling Option |
| 3 | Weekly Program Button |
| 4 | Temperature Adjustment Button (To Decrease) |
| 5 | Temperature Adjustment Button (To Increase) |
| 6 | Mode Butto |
Product Display Layout

| 1 | Hour Indicator | |
| 2 | Room Temperature | |
| 3 | Economy Mode | |
| 4 | Comfort Mode | |
| 5 | Holiday Mode | |
| 6 | Weekly Program Mode | |
| 7 | Day Indicator | |
| 8 | Battery Indicator | |
| 9 | Set Temperature | |
| 10 | Heating Indicator – If the Heating Indicator is blinking, the heating unit is working. – If the Heating Indicator is steady, the heating unit is not working. | |
| 11 | Cooling Indicator – If the Cooling Indicator is blinking, the cooling unit is working. – If the Cooling Indicator is steady, the cooling unit is not working. |
RECEIVER

- Manual Operation Button: Deactivates the Receiver and allows you to use heating/cooling unit manually.
- Pairing Button: Allows pairing the Receiver with the Room Thermostat.
- Receiver LED Light
- Receiver Power Cable Input
- Heating/Cooling Unit Connection Cable Input
RECEIVER LED DESCRIPTIONS
| Steady Red | Receiver has power but Receiver and Room Thermostat are not paired. |
| Blinking Green | Waiting for pairing signal from the Room Thermostat. |
| Steady Green | Receiver and Room Thermostat are paired. Heating/cooling unit is not operating. |
| 3 Short Orange Blinking | Operate the heating/cooling unit signal has reached to the Receiver. |
| Steady Orange | Heating/cooling unit is operating. |
| 3 Short Green Blinking | Shut the heating/cooling unit down signal has reached to the Receiver. |
| Blinking Orange | Heating/Cooling unit operates in manual mode. |
| Blinking Red | Receiver did not get any signal from the Room Thermostat for 22 minutes or longer. Heating/cooling unit has hut down. |
ROOM THERMOSTAT PLACEMENT
Room Thermostat needs to be placed in the room which is used most frequentlyFor instance; living room or lounge. Placing the Room Thermostat in a spot that have air irculation like entrance of a room or side of window should be avoided. Also anywhere close to heating/cooling units such as radiator, stove and spots which get direct sun ights would not be suitable. Room Thermostat needs to be located above the floor 150 cm height. Few trials may be made to find the most convenient spot.


Press the screwdriver forward from the space at the bottom of the Room Thermostat, bend the tabs and separate the front cover. Insert 2 new AAA alkaline batteries in the attery housing with the correct battery direction. Replace both batteries at the same time. Align the front part of your Room Thermostat with corresponding slot on the back, nd then push gently until the thermostat snaps into place.
Low Battery Warning: When the “
” icon appears on the screen, it means “low battery warning”. It is recommended to replace the batteries when this warning appears.
Warning: When the product is not used for a long period (more than 15 days), remove the batteries. Otherwise, malfunctions that may occur would be out of warranty. Please throw your dead batteries into the waste bin for batteries.
RECEIVER PLACEMENT

The important things to note for the Receiver placement are avoiding physical contact between the Receiver and heating/cooling unit, and protecting it against materials such as liquid, dust etc. The devices should be placed in order to minimize the damage to the received and transmitted signals by paying attention to the following points;
- The devices should not be mounted on metal surfaces.
- The devices should not be installed close to electrical cables and electronic equipment such as computers and television units.
- The devices should not be installed near large metal structures or other building materials using fine metal meshes such as special glass or special concrete.
- Distance between the Room Thermostat and the Receiver should not exceed 20 meters or 2 floors.
- Receiver must be installed at least 50 cm away from the heating/cooling unit.
RECEIVER SETUP
- First, shut down your heating/cooling unit and your heating/cooling unit’s power source with all electrical current (fuse, socket etc.)
- As shown in the connection diagram, connect one end of the heating/cooling unit connection cable to the COM and the other to the NO input of the Receiver.
- Connect the other ends of the cable -which you connected to the Receiver- to room thermostat connection terminal as shown in your heating/cooling unit’s user manual.
- You must first connect the Receiver power cable to the Receiver and then to the fuse which the heating/cooling unit is connected.
- After completing the cable connection process, firstly turn on your fuse and then your heating/cooling unit.
- By pressing the Receiver’s manual usage button for 2 seconds, you should see the Orange Light blinking on the Receiver. In this way, after making sure that the heating/cooling unit is operating, press the same button again for 2 seconds and see that the Orange LED turns off.
- Set up the Room Thermostat to pair the Receiver with the Room Thermostat.
RECEIVER WIRING DIAGRAM

Warning!
Operations within the heating / cooling unit or the electrical installation must be carried out by professionally qualified persons.
PAIRING THE ROOM THERMOSTAT AND THE RECEIVER
- Primarily press the sync button of the Receiver for 2 seconds and see blinking green light of the Receiver.
- While your device is turned off, press and hold the “On/Off” button for 3 seconds.
- Press the button until the “
” menu appears. - Press the “Up” or “Down” button of your Room Thermostat while the LED is flashing green.
- If the pairing is successful, the green flashing LED on the Receiver will be steady.
- Receiver and Room Thermostat have been paired to each other.
ROOM THERMOSTAT TEMPERATURE CALIBRATION
Temperature sensors which are used in Room Thermostats are highly sensitive. You may need to calibrate your Room Thermostat if you would like to get the same temperature values with other thermometers in your living space.
- While your device is turned off, press and hold the “On/Off“ button for 3 seconds.
- Press the “On/Off” button until the “
” menu appears. In order to see the desired temperature, set the temperature difference by pressing the “Temperature Adjustment Buttons”. This value can be arranged between “-8° C” and “+8° C”. - In order to save the settings and exit, press the “On/Off” button until the device turns off.
Note: Recommended temperature calibration is “0.0°C”.
FACTORY SETTINGS RESET
You can reset your Room Thermostat to its default factory settings. This operation resets the mode temperature values, calibration setting and heating/cooling modes to factory setting. In order to reset your Room Thermostat to factory setting:
- While your device is turned off, press and hold the “On/Off” button for 3 seconds.
- Press the “On/Off” button until the “
” menu appears. - While in the “
” menu, select the “
” option by using the “Up” or “Down” buttons and press the “On/Off” button. - Your device will be turned off and reset to factory settings.
DAY AND HOUR SETTINGS
- While your Room Thermostat is on, keep pressing the “Weekly Program” button for 3 seconds.
- At the first screen that appears, hour part will be blinking. You may set the time with the “Up” and “Down” buttons.
- After setting the time, the “Heating & Cooling Option” button needs to be pressed once. For minute setting, minute part will be blinking. You may set the minute with the “Up” and “Down” buttons.
- After setting the minute, the “Heating & Cooling Option” button needs to be pressed once to set the day of the week.
- Monday has set as the first day of the week and indicated with number “1″.
- Numbers indicate the following days respectively 2-Tuesday, 3-Wednesday, 4Thursday, 5-Friday, 6-Saturda and 7-Sunday
- When setting is done, you may exit by pressing the “Weekly Program” button for 3 seconds.
MODE SETTING

Your Room Thermostat has 5 different modes. 3 of them (Comfort, Economy and Holiday Mode) are preset modes. Other modes are manual mode and weekly program mode. In preset modes, temperature values are based on user’s choices which have been set in the beginning. Manual mode allows the Room Thermostat to operate within the emperature which is required and set directly by user. Weekly Program mode continues to work according to the weekly schedule determined by the user. In order to change the temperature values of preset modes:
- Press and hold the “Mode” button for 3 seconds while your Room Thermostat is on.
- Comfort Mode temperature value will appear. You may adjust the temperature value of Comfort Mode by pressing the “Up” and “Down” buttons.
- When setting is done, you may adjust the temperature value of Economy Mode with the “Up” and “Down” buttons by pressing the “Mode” button again.
- You may exit the setting screen by pressing the “Mode” button 3 seconds.
- In order to change the manual mode temperature, press the “Up” or “Down” button while in the main screen. The Room Thermostat will switch to Manual Mode once pressed the “Up” or “Down” button.
- You may press the “Mode” button to switch to the other modes.
WEEKLY PROGRAM
You may set the operating schedule of your Room Thermostat with weekly program mode. 7 different temperature values can be set for each day in weekly programming. These values can be set in temperature adjustment screens ” P0-P6”.
- In order to set the weekly schedule, press and hold the “Weekly Program“ button for 3 seconds while your Room Thermostat is on. The “Hour, Minute and Day” setting will appear. Press the “Heating & Cooling Option” button until the “Weekly Program” menu (P0) appears.
- Days of the week will be blinking on the screen. You can initiate the weekly program setting if you wish to set the same schedule for every day of the week.
- Press the “Up“ button once if you wish to set the same schedule for the weekdays. First five days of week will be blinking on the screen.
- Press the “Up“ button once more if you wish to set the same schedule only for the weekend. Last two days of the week will be blinking on the screen.
- Press the “Up“ button one more time if you wish to set the same schedule for every day of the week. 1st day of the week will be blinking on the screen. You can switch between the days by pressing the “Up“ button. Press the “Down“ button in order to switch to the previous day.
- Press the “Weekly Program“ button once to set a schedule.
- “P0” will be blinking on the screen. Set the temperature value of “P0” by pressing the “Weekly Program“ button once more. The hour setting of “P0” cannot be changed since it’s factory setting.
- Press the “Weekly Program” button again. Day indicator will be blinking. If you will not change the day, press the “Weekly Program” button again and switch to the “P1” setting by pressing the “Up” button.
- First, hour setting will appear on the screen. Once you complete the hour setting, adjust the minute setting by pressing the “Weekly Program” button. After the minute setting, press the “Weekly Program” button to set the temperature value.
- Follow the same steps for other schedule settings.
- Once all changes made, press and hold the “Weekly Program” button for 3 seconds to save.
Note: In order to check the weekly schedule which has been set without making any changes, press the “Weekly Program” button once while your Room Thermostat is on. Press the “Up” and “Down” buttons to see the days, press the “Mode” button to see the settings between “P0-P6”.
TPI ROOM THERMOSTAT WORKING LOGIC
Your Room Thermostat works with the TPI algorithm. Room Thermostats using TPI technology predict when the temperature of your home will rise above or below the set temperature and turn the heating / cooling unit on and off accordingly. This ensures that your home stays at the temperature you set without maximum deviations up and down.
- What is TPI?
TPI technology is designed to ensure that you get the best possible energy efficiency from your heating / cooling system. It measures and applies the best possible timings to deliver and maintain your home at the set temperature level. - How does TPI work?
Thanks to the advanced artificial intelligence technology found in the software, it adapts to the temperature change of the environment in which it is located. By creating a general temperature map of your home, it learns how long it takes to reach the desired room temperature and how to maintain this temperature. In this way, it provides minimum energy consumption by calculating how long your heating / cooling unit should work for. - What is the difference?
In non-TPI room thermostats, the heating / cooling unit works and stops continuously until it exceeds the set temperature value. If the set temperature drops below a certain amount, the heating / cooling unit will work again. This creates greater temperature fluctuations and less energy control. TPI Room Thermostats, on the other hand, provide higher savings and comfort compared to On/Off room thermostats with the advantages it has.
Heating Mode
Your room thermostat takes the average room temperature of last 40 seconds basis. With the TPI algorithm in the product by creating a general temperature map of your ome, it learns how long it takes to reach the desired room temperature and how this temperature is maintained. Thus, it ensures that the room temperature remains within a certain range.
TPI ROOM THERMOSTAT HEATING MODE WORKING GRAPHIC
TEMPERATURE (ºC) Desired Temperature TPI Room Thermostat

Cooling Mode
Your room thermostat takes the average room temperature of last 40 seconds as basis. With the TPI algorithm in the product by creating a general temperature map of your ome, it learns how long it takes to reach the desired room temperature and how this temperature is maintained. Thus, it ensures that the room temperature remains within a certain range.
TPI ROOM THERMOSTAT COOLING MODE WORKING GRAPHIC
TEMPERATURE (ºC) Desired Temperature TPI Room Thermostat

Your Room Thermostat sends the last status signal to the Receiver every 10 minutes. Thus, your Room Thermostat and Receiver work synchronously. If the signal cannot reach to the Receiver from the Room Thermostat for 22 minutes, it perceives that the connection is broken and stops the heating/cooling operation for safety reasons. Likewise, in cases where the electricity comes back after a power failure, the Receiver does not operate the heating/cooling unit until ‘operate’ signal reaches from the Room Thermostat. However, in this case, if the Room Thermostat continues to operate normally, it will continue to work properly without any need for intervention since it sends a status signal to the Receiver every 10 minutes.
WHAT TO KNOW ABOUT TPI ROOM THERMOSTAT
- If the placement of the TPI Room Thermostats is changed, the learning process will restart. The learning process should be considered as 7 days.
- If the TPI Room Thermostats are de-energized (battery replacement), the learning process will restart. The learning process should be considered as 7 days.
FREQUENTLY ASKED QUESTIONS
– If your heating/cooling unit has On-Off connections, your Room Thermostat is compatible. You can find information about your heating/cooling unit from your heating/cooling unit operating manual or from your heating/cooling unit service.
– We recommend that the connection between the Receiver and heating/cooling unit should be made by professionally qualified persons. 2×0.75 mm cable is sufficient for the Receiver – heating/cooling unit connection. Connect one end of the cable pair to the room thermostat connection terminals stated in the user manual of your heating/cooling unit. Connect the other end of the cable pair to COM and NO inputs of the terminal inside the Receiver as shown in the “RECEIVER WIRING DIAGRAM” section. The direction of the cable ends does not matter.

DECLARATION OF CONFORMITY
which Head Office and production site is located on Fatih Mah. confirms and declares that the product marked with CE and specifications below is covered by the provisions of the mentioned directive.
Brand :GENERAL Life
Product Name : ARUNA 301S RF
Product Type: Digital Room Thermostat
Compatible Directives: Radio and Telecommunications Terminal Equipment Regulation 2014/53/EU
(R&TTE/RED EN 301 489-1 V2.1.1:2017, EN 300 220-1 V3.1.1:2017, EN 301 489-3 V2.1.1:2017, EN 300 220-2 V3.1.1:2017, EN 62479: 2010)
Electromagnetic Compatibility Regulation 2014/30/EU
(EMC EN 61000-6-3: 2007 + A1: 2011, EN 61000-6-1: 2007)
Low Voltage Directive 2014/35/EU
(LVD EN 60730-2-9:2010, EN 60730-1:2011)
Additional Information: The mentioned product can be used with heating/cooling units with On-Off output and compliance with the directives only covers the product. SIPARK is not responsible for the entire system’s compliance with the directives. This statement is not valid if changes are made to the product withoutour approval.
WARRANTY CONDITIONS
- The warranty period starts from the invoice date and warranted against manufacturing defects for 5 years.
- Devices and apparatus are delivered to the customer in working condition in our company. On-site commissioning is subject to a service fee.
- The repair of the devices and apparatus covered by the warranty is carried out in our company factory and should send by contracted transportation company. In onsite services, the transportation and accommodation expenses of the service personnel belong to the customer. The shift fee during transportation is added to the service fee and collected in advance.
- The maintenance of devices and apparatus is done in our company. For the maintenance of the devices and apparatus, the round travel fares belong to the customer.
- In case of malfunctioning of the devices and apparatus whose warranty period continues, it is tested in our company whether the malfunction is caused by a customer or manufacturer fault, and it is reported with a report issued by our company.
- In case of detection of manufacturer-induced errors of devices and apparatus whose warranty period continues, the customer can request a replacement or repair of the devices and apparatus at full expense by the manufacturer, unless it’s higher than the product’s price.
- In the event that the faults of the devices and apparatus whose warranty period continues are determined as caused by the customer, all expenses would belong to the customer.
- Customers should be aware of damages (if there is any) of product and warn manufacturer since the day warranty duration starts. If customer do not warn manufacturer with knowledge of damage, customer lose the rights of article 6.
- Malfunctions resulting from the use of devices and apparatus contrary to the matters stated in the User Manual are not covered by the warranty.
- Devices and their apparatus are out of warranty if they are beaten, broken or scratched by the customer.
- Damages resulting from the use of devices and apparatus belonging to other brands and models without the approval of the manufacturer are not covered by the warranty.
- Battery leakage and errors due to rust, oxidation and liquid contact by working in acidic / humid environments are not covered by the warranty.
- When the product is not used for a long period (more than 15 days), remove the batteries. Otherwise, malfunctions that will occur are out of warranty.
- Damages that may occur during the transportation of devices and apparatus are not covered by the warranty. Customers can take transportation insurance.
- Damages caused by mains voltage / faulty electrical installation are not covered by the warranty.
- Devices and apparatuses are out of warranty for malfunctions caused by force majeure such as fire, flood, and earthquake etc.
- All of the devices and apparatuses, including all their parts, are under the warranty of our company.
- In case of malfunction of the devices and apparatuses within the warranty period, the time spent during repair period is added to the warranty period. The repair period of the product cannot exceed 20 working days. This period starts from the date of notification to the service station of the malfunction related to the product or, in the absence of a service station, to the seller, dealer, agency, representative, importer or manufacturer of the product. Consumer can report the problem by; phone, fax, e-mail, registered and reply paid letter or a similar way. However, in case of a conflict, responsibility of prove is belong to the customer. If the malfunction of the product is not repaired within 20 working days, the manufacturer-producer or importer; has to allocate another product with similar features to the use of the consumer until the repair of the product is completed,
- Although the consumer uses his/her repair rights, -If the product breaks down for 4 times in a year or 6 times in warranty duration and these problems effects main purpose of the product. (Starting from delivery time during warranty.) -Exceeding the maximum time required for repair, -In the event that the service station is not available, if it is determined that the repair of the defect is not possible with the report prepared (in order) by one of the seller, dealer, agency, representative, importer or manufacturer, a refund or a price discount at the rate of defect can be requested.
- The customer can make complaints and appeals to consumer courts or consumer arbitration committees.
- The warranty document must be kept by the customer during the warranty period. If the document is lost, a second document will not be issued. In case of loss, repair and replacement of devices and apparatus will be made for a fee.
WARRANTY CERTIFICATE
ManufacturerTitle: ISIPARK İÇ DIŞ TİC. A.Ş.
Adsress: Fatih Mah. 1188 Sk. No:13/A Sarnıç
Tel: +90 (232) 457 99 50
Fax: +90 (232) 457 91 22
E-Mail: [email protected]
Authorised Signatory:
Company Stamp:Product
Type: Digital Room Thermostat
Brand: GENERAL Life
Model: ARUNA 301S RF
Guarantee Period: 5 Years
Max. Time to Repair: 20 Days
Banderole and Serial Number:
VendorTitle:……………………
Address:…………..
Tel:…………………
Fax:…………………
E-Mail:…………………Invoice Date and Number:…..
Delivery Time and Place:……
Authorised Signatory:…….
Company Stamp:…..

Product
Type: Digital Room Thermostat
Brand: GENERAL Life
Model: ARUNA 301S RF
Isıpark reserves the rights of changing product specifications and user manuals.
*For all changes,you may visit generallife.com.tr

















